|
|
(21), (22) Заявка: 2004131128/06, 25.10.2004
(24) Дата начала отсчета срока действия патента:
25.10.2004
(45) Опубликовано: 10.03.2006
(56) Список документов, цитированных в отчете о поиске:
RU 2035623 C1, 20.05.1995. RU 2100646 C1, 27.12.1997. RU 2099597 C1, 20.12.1994. SU 1413267 A1, 30.07.1988. DE 19926965 A, 21.12.2000. DE 3889605 T, 01.09.1994.
Адрес для переписки:
620026, г.Екатеринбург, а/я 244, Г.Н. Шаховой
|
(72) Автор(ы):
Караваев Виктор Африканович (RU), Ковязин Леонид Федорович (RU), Калабин Сергей Григорьевич (RU), Павлов Анатолий Иванович (RU)
(73) Патентообладатель(и):
Открытое акционерное общество “Пневмостроймашина” (RU)
|
(54) ПОРШНЕВАЯ ГИДРОМАШИНА С РЕГУЛИРУЕМЫМ РАБОЧИМ ОБЪЕМОМ ПО РАБОЧЕМУ ДАВЛЕНИЮ
(57) Реферат:
Устройство предназначено для использования в объемных гидромашинах с регулируемым рабочим объемом. Поршневая гидромашина содержит корпус, линии высокого и низкого давления, регулируемое звено рабочего объема, кинематически связанное с дифференциальным поршнем посредством пальца, установленного в дифференциальном поршне. Дифференциальный поршень установлен в корпусе с образованием поршневой и штоковой полостей. Гидромашина содержит двуплечий рычаг, установленный на оси качания, подпружиненный золотник, размещенный в пальце и опирающийся на одно плечо рычага. Другое плечо подпружинено. Содержит плунжер с камерой управления, воздействующий на рычаг встречно пружине золотника. Камера плунжера соединена с линией высокого давления гидромашины. Упрощается конструкция и обеспечивается работа поршневой гидромашины в автоматическом режиме. 1 ил. 
Изобретение относится к объемным гидромашинам с регулируемым рабочим объемом.
Известен регулятор подачи аксиально-поршневого насоса, содержащий регулируемое звено рабочего объема насоса, линии высокого и низкого давления насоса, корпус, в котором с образованием поршневой и штоковой полостей установлен дифференциальный поршень с поперечной расточкой, в которой размещена кинематически связанная с регулируемым звеном подвижная гильза, имеющая внутреннюю кольцевую проточку, связанную с поршневой полостью корпуса, а также подпружиненный дифференциальный плунжер, размещенный в указанной гильзе с образованием камеры управления, соединенной со штоковой полостью корпуса, и установленный с возможностью перекрытия проточки гильзы и взаимодействия с одним из плеч поворотного двуплечего рычага, установленного в корпусе на оси качания, второе плечо которого оперто на подпружиненный толкатель. При этом регулятор снабжен двумя обратными клапанами, дополнительным источником давления и бустером с камерой управления, который оперт на второе плечо рычага встречно упомянутому толкателю, причем последний подпружинен в направлении образования на рычаге момента, совпадающего по направлению с моментом от взаимодействия рычага с дифференциальным плунжером, при этом обратные клапаны соединены выходами со штоковой полостью корпуса, один из обратных клапанов соединен входом с дополнительным источником давления, а другой – с линией нагнетания насоса. (RU 2035623 C1, 20.05.1995)
Недостатком известного регулятора является его сложность вследствие необходимости в дополнительном управляемом источнике давления; а также невозможность работы регулятора в автоматическом режиме, т.к. дополнительный источник давления работает по команде оператора.
Техническая задача, решаемая изобретением, – упрощение конструкции и обеспечение работы поршневой гидромашины в автоматическом режиме.
Поставленная задача решается за счет того, что в поршневой гидромашине с регулируемым рабочим объемом по рабочему давлению, содержащей корпус, линии высокого и низкого давления, регулируемое звено рабочего объема, кинематически связанное с дифференциальным поршнем посредством пальца, установленного в дифференциальном поршне; дифференциальный поршень установлен в корпусе с образованием поршневой и штоковой полостей, гидромашина содержит двуплечий рычаг, установленный на оси качания; подпружиненный золотник, размещенный в пальце и опирающийся на одно плечо рычага, другое плечо которого подпружинено; содержит плунжер с камерой управления, воздействующий на рычаг встречно пружине золотника, согласно изобретению камера плунжера соединена с линией высокого давления гидромашины.
Согласно изобретению источником давления управления является не внешний источник, а линия высокого давления самой гидромашины. Исключение из конструкции гидромашины дополнительного источника управляемого давления позволило упростить ее конструкцию и системы, в которых она применяется.
Использование в качестве источника давления управления линии высокого давления гидромашины (собственного давления гидромашины), а не дополнительного внешнего источника, работающего по команде оператора, позволило осуществить автоматизацию управления гидромашиной. Автоматизация управления гидромашиной обеспечена за счет того, что управляющим сигналом служит собственное давление (от линии высокого давления) гидромашины. Как только изменяется рабочее давление на выходе гидромашины (в линии высокого давления), соответственно изменяется давление на плунжер управления, который, воздействуя на плечо рычага, управляет подачей, величина которой изменяется соответственно величине давления управления.
Когда поток, создаваемый гидромашиной, не используется и давление на выходе отсутствует, соответственно отсутствует и давление в камере управления плунжера, при этом гидромашина автоматически устанавливается на минимальный рабочий объем, что приводит к устранению потерь мощности на холостом ходу машины. При возрастании давления в линии высокого давления соответственно возрастает давление в камере управления плунжера, как следствие – автоматически увеличивается рабочий объем гидромашины.
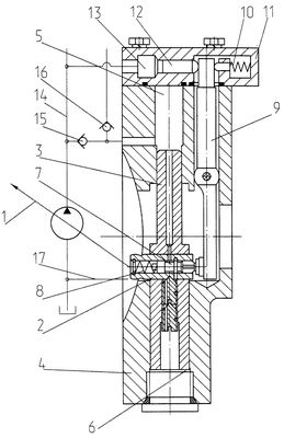
Изобретение поясняется чертежом, на котором изображена описываемая поршневая гидромашина с регулируемым рабочим объемом по рабочему давлению в разрезе.
Поршневая гидромашина с регулируемым рабочим объемом по рабочему давлению содержит регулируемое звено 1, связанное посредством пальца 2 с дифференциальным поршнем 3, расположенным в корпусе 4, с образованием штоковой полости 5 и поршневой полости 6. В пальце 2 установлен золотник 7 с пружиной 8, при этом золотник 7 опирается на рычаг 9. Другое плечо рычага 9 подпружинено пружиной 10, установленной в крышке 11. В крышке 11 встречно пружине 8 золотника установлен плунжер 12 с камерой управления 13. Камера управления 13 плунжера 12 соединена с линией высокого давления 14. Штоковая полость 5 соединена с линией высокого давления 14 через обратный клапан 15 и с не управляемым внешним источником через обратный клапан 16. Внутренняя полость корпуса 4 соединена дренажным каналом 17 со входом гидромашины.
Устройство работает следующим образом.
Рост давления в линии высокого давления 14 приводит к росту давления в штоковой полости 5 дифференциального поршня 3 и соответственно в камере управления 13 плунжера 12. Плунжер 12 воздействует на плечо рычага 9, возникающее усилие на рычаге перемещает золотник 7, который при этом соединяет поршневую полость 6 с дренажным каналом 17. Гидромашина устанавливается на максимальный рабочий объем.
В холостом режиме, когда поршневая гидромашина не загружена, нет давления в линии 14, нет соответственно давления в камере 13 плунжера 12. Пружина 10 поворачивает рычаг 9, золотник 7 перемещается и штоковая полость 5 соединяется с поршневой полостью 6. Т.к. поршневая полость 5 соединена с выходами обратных клапанов 15 и 16, последние закрывают отвод давления в линию 14 и в камеру управления 13. Дифференциальный поршень переводит рабочий объем гидромашины на минимальный рабочий объем.
При работе гидромашины на холостом режиме его рабочий объем минимальный, а следовательно, и подача рабочей жидкости минимальна. Это приводит к минимизации потерь мощности на холостом режиме работы машины. При этом управление гидромашиной осуществляется автоматически в соответствии с давлением в линии высокого давления 14.
Формула изобретения
Поршневая гидромашина с регулируемым рабочим объемом по рабочему давлению, содержащая корпус, линии высокого и низкого давления, регулируемое звено рабочего объема, кинематически связанное с дифференциальным поршнем посредством пальца, установленного в дифференциальном поршне, дифференциальный поршень установлен в корпусе с образованием поршневой и штоковой полостей, гидромашина содержит двуплечий рычаг, установленный на оси качания, подпружиненный золотник, размещенный в пальце и опирающийся на одно плечо рычага, другое плечо которого подпружинено, при этом гидромашина содержит плунжер с камерой управления, воздействующий на рычаг встречно пружине золотника, отличающаяся тем, что камера плунжера соединена с линией высокого давления гидромашины.
РИСУНКИ
|
|