|
|
(21), (22) Заявка: 2004131090/06, 25.10.2004
(24) Дата начала отсчета срока действия патента:
25.10.2004
(45) Опубликовано: 10.03.2006
(56) Список документов, цитированных в отчете о поиске:
SU 1590635 A1, 07.09.1990. RU 2100646 C1, 27.12.1997. RU 2099597 C1, 20.12.1994. SU 1413267 A1, 30.07.1988. DE 19926965 21.12.2000. DE 3889605 T, 01.09.1994.
Адрес для переписки:
620026, г.Екатеринбург, а/я 244, Г.Н. Шаховой
|
(72) Автор(ы):
Караваев Виктор Африканович (RU), Ковязин Леонид Федорович (RU), Калабин Сергей Григорьевич (RU), Якшин Дмитрий Владимирович (RU)
(73) Патентообладатель(и):
Открытое акционерное общество “Пневмостроймашина” (RU)
|
(54) ПОРШНЕВАЯ ГИДРОМАШИНА С РЕГУЛИРУЕМЫМ РАБОЧИМ ОБЪЕМОМ И ДОПОЛНИТЕЛЬНЫМ УПРАВЛЕНИЕМ
(57) Реферат:
Устройство предназначено для использования в объемных гидромашинах с регулируемым рабочим объемом. В поршневой гидромашине с регулируемым рабочим объемом и дополнительным управлением, содержащей корпус, линии высокого и низкого давления, регулируемое звено рабочего объема, кинематически связанное с дифференциальным поршнем посредством пальца, установленного в дифференциальном поршне, дифференциальный поршень установлен в корпусе с образованием поршневой и штоковой полостей. Штоковая полость сообщена с линией высокого давления как минимум одним каналом и через отверстие в дифференциальном поршне соединена с золотниковым распределителем, расположенным в пальце. В корпусе гидромашины на оси качания установлен двуплечий рычаг. На одно плечо рычага с возможностью перемещения вдоль него опирается золотниковый распределитель, а другое плечо рычага подпружинено. Гидромашина содержит поршень управления с камерой управления. Поршень управления установлен с возможностью воздействия на рычаг с противоположной стороны от пружины рычага. Гидромашина содержит второй поршень управления с соответствующей камерой управления, установленный последовательно относительно первого поршня управления с возможностью воздействия на него. Одна из камер управления соединена с линией высокого давления, в которой установлен клапан отсечки. Другая камера управления соединена с источником внешнего давления. Повышается стабильность и надежность работы поршневой гидромашины за счет обеспечения управляемой отсечки. 1 ил. 
Изобретение относится к объемным гидромашинам с регулируемым рабочим объемом.
Известен механизм регулирования подачи аксиально-поршневой гидромашины, содержащий поворотный распределитель, соединенный с дифференциальным поршнем, расположенным в корпусе, через палец, установленный в центральном отверстии распределителя, подпружиненный золотник с управляющим пояском, двуплечий рычаг с осью вращения и пружину двуплечего рычага, установленную в крышке корпуса и взаимодействующую с одним из плеч двуплечего рычага, другое плечо которого контактирует с золотником, причем пружины двуплечего рычага и золотника расположены по одну сторону от плоскостей плеч рычага. При этом механизм регулирования снабжен поршнем управления, опирающимся на рычаг в направлении действия пружины золотника(RU №1590636 A1, 07.09.1990).
Недостатком известного механизма регулирования является отсутствие управляемой отсечки подачи при увеличении нагрузки, например при наличии препятствия, что приводит к перегреву и старению рабочей жидкости.
Задача, решаемая настоящим изобретением, – расширение функциональных возможностей поршневой гидромашины с регулируемым рабочим объемом и дополнительным управлением.
Поставленная задача решается за счет того, что в поршневой гидромашине с регулируемым рабочим объемом и дополнительным управлением, содержащей корпус, линии высокого и низкого давления, регулируемое звено рабочего объема, кинематически связанное с дифференциальным поршнем посредством пальца, установленного в дифференциальном поршне, дифференциальный поршень установлен в корпусе с образованием поршневой и штоковой полостей, причем штоковая полость сообщена с линией высокого давления как минимум одним каналом и через отверстие в дифференциальном поршне соединена с золотниковым распределителем, расположенным в пальце; в корпусе гидромашины на оси качания установлен двуплечий рычаг, на одно плечо которого с возможностью перемещения вдоль него опирается золотниковый распределитель, а другое плечо рычага подпружинено; гидромашина содержит поршень управления с камерой управления, поршень управления установлен с возможностью воздействия на рычаг с противоположной стороны от пружины рычага, согласно изобретению гидромашина содержит второй поршень управления с соответствующей камерой управления, установленный последовательно относительно первого поршня управления с возможностью воздействия на него, при этом одна из камер управления соединена с линией высокого давления, в которой установлен клапан отсечки, а другая камера управления соединена с источником внешнего давления.
Клапан отсечки предназначен для уменьшения подачи рабочей жидкости в линии высокого давления при достижении заданного (критического) значения давления (при увеличении нагрузки) за счет уменьшения рабочего объема.
Источник внешнего давления, подключенный к камере управления одного из поршней управления, предназначен для обеспечения дополнительного внешнего воздействия на двуплечий рычаг с целью назначения необходимой характеристики гидромашины.
В предлагаемом изобретении каждый из поршней управления имеет соответствующую камеру управления. Одна из камер соединена с внешним источником давления, а другая при этом соединена с линией высокого давления через клапан отсечки. При такой компоновке гидромашины исключено взаимное влияние управляющих воздействий на первый и второй поршень, поэтому возможно осуществление четкого регулирования величины управляющего воздействия на двуплечий рычаг.
Кроме того, такая компоновка предоставляет возможность подключать к первой гидромашине дополнительную гидромашину (которая в этом случае будет являться для первой гидромашины источником внешнего давления) с возможностью согласования их работы.
Варианты подключения камер управления к источнику внешнего давления и к линии высокого давления через клапан отсечки определяются исключительно условиями эксплуатации гидромашины, определяющими ее компоновку.
При увеличении нагрузки при одновременном отсутствии полезного потребления (такая ситуация возможна, когда механизму, в котором используется гидромашина, противодействует какое-либо препятствие) в известных гидромашинах продолжается подача рабочей жидкости, которая не расходуется на полезное потребление, а сливается предохранительным клапаном и, как следствие, происходит нагрев и старение рабочей жидкости, что снижает срок службы рабочей жидкости и гидромашины.
В описываемой гидромашине при увеличении нагрузки при отсутствии полезного потребления клапан отсечки подает в камеру управления давление от линии высокого давления. При этом уменьшается рабочий объем гидромашины и соответственно снижается (прекращается) подача на потребление, следовательно не происходит перегрев и старение рабочей жидкости.
Функциональные возможности расширены за счет того, что за счет наличия второго плунжера обеспечивается как внешнее управление, так и работа функции отсечки.
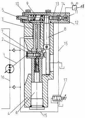
Изобретение поясняется чертежом, на котором изображена конструктивная схема поршневой гидромашины с регулируемым рабочим объемом и дополнительным управлением.
Поршневая гидромашина с регулируемым рабочим объемом и дополнительным управлением содержит регулируемое звено 1, связанное посредством пальца 2 с дифференциальным поршнем 3, расположенным в корпусе 4, с образованием штоковой полости 5 и поршневой полости 6. В пальце 2 установлен золотник 7, опирающийся на рычаг 8. С другой стороны рычаг 8 подпружинен пружиной 9, установленной в крышке 10. В крышке 10 со стороны, противоположной пружине рычага 9, установлен поршень управления 11 с камерой управления 12. Между поршнем управления 11 и рычагом 8 установлен дополнительный поршень 13. Между поршнем 13 и поршнем управления 11 образована камера управления 14, которая соединена каналом 15 с линией высокого давления 16. В канале 15 установлен клапан отсечки 17. Камера 12 соединена с источником внешнего давления 18.
Гидромашина работает следующим образом.
Рост давления в линии 16 нагнетания приводит к росту давления в штоковой полости 5 дифференциального поршня 3. За счет разницы диаметров поясков золотника 7 возникает усилие, смещающее золотник 7 вправо, при этом штоковая полость 5 соединяется с поршневой полостью 6. За счет разницы площадей поршневой и штоковой полостей дифференциальный поршень 3 перемещается совместно с пальцем 2 и регулируемым звеном машины 1. Рабочий объем гидромашины уменьшается, что приводит к снижению подачи гидромашины и поддержанию постоянной величины потребляемого момента. Движение дифференциального поршня 3 продолжается до тех пор, пока усилия, действующие на рычаг 8 от пружины 9 и от золотника 7, не уравновешиваются.
Усилия от управляющего поршня 11 и поршня 13 изменяют соотношение моментов на рычаге 8 и положение золотника 7 относительно пальца 2. Смещение золотника 7 от нейтрального положения вправо или влево вызывает изменение давления в поршневой полости дифференциального поршня 3 и перемещение последнего. Перемещение дифференциального поршня 3 изменяет положение регулируемого звена 1 и соответственно рабочий объем.
Наличие поршня 11 и поршня 13 позволяет изменять рабочий объем гидромашины, а значит и ее рабочие характеристики в соответствии с требованиями потребителя.
Клапан отсечки 17 используется для уменьшения рабочего объема при достижении установленного давления. Если работе механизма, работу которого обеспечивает заявляемая гидромашина, мешает какое-либо препятствие, в этом случае резко возрастает нагрузка (давление в линии высокого давления) вследствие отсутствия потребления. Клапан отсечки срабатывает и подает давление в камеру 14, что является командой на уменьшение рабочего объема машины.
Формула изобретения
Поршневая гидромашина с регулируемым рабочим объемом и дополнительным управлением, содержащая корпус, линии высокого и низкого давления, регулируемое звено рабочего объема, кинематически связанное с дифференциальным поршнем посредством пальца, установленного в дифференциальном поршне, дифференциальный поршень установлен в корпусе с образованием поршневой и штоковой полостей, причем штоковая полость сообщена с линией высокого давления как минимум одним каналом и через отверстие в дифференциальном поршне соединена с золотниковым распределителем, расположенным в пальце, в корпусе гидромашины на оси качания установлен двуплечий рычаг, на одно плечо которого с возможностью перемещения вдоль него опирается золотниковый распределитель, а другое плечо рычага подпружинено, гидромашина содержит поршень управления с камерой управления, поршень управления установлен с возможностью воздействия на рычаг с противоположной стороны от пружины рычага, отличающаяся тем, что гидромашина содержит второй поршень управления с соответствующей камерой управления, установленный последовательно относительно первого поршня управления с возможностью воздействия на него, при этом одна из камер управления соединена с линией высокого давления, в которой установлен клапан отсечки, а другая камера управления соединена с источником внешнего давления.
РИСУНКИ
|
|