|
(21), (22) Заявка: 2004110492/06, 08.04.2004
(24) Дата начала отсчета срока действия патента:
08.04.2004
(43) Дата публикации заявки: 20.10.2005
(45) Опубликовано: 10.03.2006
(56) Список документов, цитированных в отчете о поиске:
SU 388130 А, 21.06.1973. SU 979687 А, 07.12.1982. SU 1064037 А, 30.12.1983. RU 2157921 С2, 20.10.2000. US 4571155 A, 18.02.1986. US 5035575 A, 30.07.1991.
Адрес для переписки:
141980, Московская обл., г. Дубна, ул. Тверская, 9, кв.637, В.С. Лаврову
|
(72) Автор(ы):
Габченко Валерий Федорович (RU), Лавров Валерий Степанович (RU), Порхачев Виктор Николаевич (RU), Улановский Яков Бенедиктович (RU)
(73) Патентообладатель(и):
Общество с Ограниченной Ответственностью “СТРОЙИНЖИНИРИНГ СМ” (RU)
|
(54) ДЕМПФЕР РЫСКАНИЯ ВЕТРОКОЛЕСА
(57) Реферат:
Изобретение относится к ветроэнергетике, а точнее к устройствам регулирования, и предназначено для демпфирования движения рыскания головки с ветроколесом относительно башни ветроустановки горизонтально-осевого типа. Технический результат заключается в обеспечении необходимого качества регулирования ориентации на ветер и обеспечении заданной минимальной скорости рыскания ветроколеса. Кроме того, данное изобретение направлено на создание универсальной и надежной конструкции демпфера рыскания. Демпфер рыскания ветроколеса содержит как минимум один гидравлический амортизатор и устройство преобразования вращательных движений гондолы ветроколеса в поступательное движение поршня гидравлического амортизатора, при этом гидравлический амортизатор одним концом закреплен на башне, а вторым взаимодействует с устройством преобразования. Наилучшим вариантом устройства является его выполнение в виде расположенного на опорно-поворотном узле гондолы зигзагообразного паза с размещенным в нем роликом, соединенным со вторым концом амортизатора. 2 з.п. ф-лы, 2 ил. 
Изобретение относится к ветроэнергетике, а точнее к устройствам регулирования, и предназначено для демпфирования движения рыскания головки с ветроколесом относительно башни ветроустановки горизонтально-осевого типа.
Проблема демпфирования рыскания ветроколеса (гондолы ветроколеса) относительно башни ветроэнергетической установки (ВЭУ) возникает в связи с неоднородностью ветровой нагрузки – наличием порывов ветра, которые приводят к рысканию ветроколеса относительно основного направления ветра, что снижает характеристики вырабатываемой энергии, а в отдельных случаях может привести и к поломке ВЭУ.
В процессе поиска было выявлено только одно устройство аналогичного назначения – а.с. СССР №388130, в котором демпфирование осуществляется за счет подпружиненных тормозных накладок. Общим с предлагаемым техническим решением является только назначение данного устройства.
Недостатком известной конструкции является узкая область ее реализации – для ВЭУ с виндрозным механизмом, а также узкий диапазон демпфируемых нагрузок.
Технической задачей, на решение которой направлено предлагаемое изобретение, является обеспечение необходимого качества регулирования ориентации на ветер и обеспечение заданной минимальной скорости рыскания ветроколеса. Кроме того, данное изобретение направлено на создание универсальной и надежной конструкции демпфера рыскания.
Для решения данной технической задачи демпфер рыскания ветроколеса содержит как минимум один гидравлический амортизатор и устройство преобразования вращательных движений гондолы ветроколеса в поступательное движение поршня гидравлического амортизатора, при этом гидравлический амортизатор одним концом закреплен на башне, а вторым взаимодействует с устройством преобразования. Наилучшим вариантом выполнения устройства преобразования является его выполнение в виде расположенного на опорно-поворотном узле гондолы зигзагообразного паза с размещенным в нем роликом, соединенным со вторым концом амортизатора.
Устройство преобразования может иметь и другую конструкцию, например, оно может быть выполнено в виде зубчатой конической передачи, одно зубчатое коническое колесо которой жестко закреплено радиально горизонтально на гондоле, а второе зубчатое коническое колесо, соединенное со вторым концом амортизатора, закреплено перпендикулярно первому на башне с возможностью вращения относительно ее.
Благодаря существенным признакам предлагаемого технического решения достигается следующий технический результат – обеспечивается устойчивость движения рыскания при резких порывах ветра, при этом обеспечивается заданная угловая скорость рыскания, благодаря чему значительно улучшаются переходные процессы движения рыскания и снижаются гироскопические нагрузки.
В результате поиска по источникам патентной и научно-технической информации совокупность признаков, характеризующая предлагаемый демпфер рыскания ветроколеса, не была обнаружена. Таким образом, предлагаемое изобретение соответствует критерию охраноспособности “новое”.
На основании сравнительного анализа предложенного технического решения с известным уровнем техники по источникам научно-технической и патентной литературы можно утверждать, что между совокупностью признаков, в том числе и отличительных, и выполняемых ими функций, и достигаемых целей, существует неочевидная причинно-следственная связь. На основании вышеизложенного можно сделать вывод о том, что техническое решение в предложенном устройстве не следует явным образом из уровня техники и, следовательно, соответствует критерию охраноспособности «изобретательский уровень».
Предложенное техническое решение может найти применение в конструкции ветроэнергетических установок горизонтально-осевого типа с практически любым способом ориентации на ветер, а следовательно, данное решение соответствует критерию «промышленно применимо».
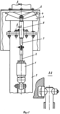
Конструкция предлагаемого демпфера рыскания ветроколеса поясняется чертежами фиг.1, 2.
На фиг.1 изображена конструкция демпфера рыскания ветроколеса по пункту 2 формулы.
На фиг.2 изображена конструкция демпфера рыскания ветроколеса по пункту 3 формулы.
Изображенный на фиг.1 демпфер рыскания ветроколеса содержит как минимум один гидравлический амортизатор 1 (для обеспечения наилучших условий эксплуатации их может быть несколько) и устройство преобразования вращательных движений гондолы ветроколеса в поступательное движение поршня 2 гидравлического амортизатора 1. Гидравлический амортизатор 1 выполнен, например, по типу автомобильного и содержит цилиндр с гидрожидкостью (на чертеже не обозначен), размещенный в нем поршень 2 с дросселем (на чертеже не приведен). Устройство преобразования выполнено в виде расположенного на опорно-поворотном узле 3 гондолы ветроколеса зигзагообразного паза 4. При этом гидравлический амортизатор 1 одним концом закреплен на башне 5, а вторым взаимодействует с устройством преобразования – в данном случае через размещенный в пазе 4 ролик 6 и тягу 7, расположенную в направляющей 8.
На фиг.2 устройство преобразования выполнено в виде расположенной на опорно-поворотном узле 3 гондолы зубчатой конической передачи, одно зубчатое коническое колесо 9 которой жестко закреплено радиально горизонтально на опорно-поворотном узле 3 гондолы, а второе зубчатое коническое колесо 10 закреплено перпендикулярно первому на башне с возможностью вращения относительно ее. При этом гидравлический амортизатор 1 одним концом закреплен на башне 5, а вторым взаимодействует с устройством преобразования – в данном случае с вторым зубчатым коническим колесом 10. При том на башне 5 и на колесе 10 амортизатор 1 закреплен шарнирно.
Демпфер рыскания ветроколеса (фиг.1) работает следующим образом.
При появлении на ветроколесе аэродинамического момента рыскания головка начинает вращаться относительно башни, при этом паз 4 начинает двигаться относительно ролика 6, который, вращаясь в пазу 4, начинает вытягивать или вталкивать через тягу 7 поршень 2 амортизатора 1 (естественно, что вертикальная составляющая паза 4 меньше величины свободного хода поршня 2). В гидроцилиндре амортизатора 1 поршень 2 движется в гидрожидкости за счет выполненного в нем дросселя. При этом в демпфере появляется момент, противодействующий аэродинамическому моменту рыскания ветроколеса. Момент демпфера является функцией угловой скорости рыскания. Сила, создаваемая гидравлическим демпфером, пропорциональна квадрату скорости перемещения при турбулентном потоке гидрожидкости. Тогда момент, создаваемый демпфером, будет пропорционален квадрату угловой скорости рыскания:

где – коэффициент пропорциональности. Найдем потребное значение этого коэффициента. Как показывают расчеты движения рыскания и практический опыт, для обеспечения ограничения по скорости рыскания и приемлемых характеристик переходных процессов по рысканию необходимо, чтобы момент демпфирования при максимальной скорости рыскания был равен максимальному аэродинамическому моменту при расчетной скорости ветра, а именно:

Здесь учтено, что моменты инерции гондолы и ветроколеса относительно оси башни малы, и динамической составляющей J в данном уравнении можно пренебречь.
Аэродинамический момент рыскания равен:

где mу – коэффициент аэродинамического момента рыскания, в большинстве случаев его значения находится в диапазоне 0.08…0.1;
– плотность воздуха, =1.225 кг/м3 по стандартной атмосфере на уровне моря;
Vp – расчетная скорость ветра, то есть такая скорость ветра, при которой ветроколесо выходит на номинальную мощность;
R – радиус ветроколеса.
Решая совместно уравнения (1), (2), (3), получим соотношение для вычисления потребного значения коэффициента :

где – максимально допустимая угловая скорость рыскания ветроколеса для ветроколес с диаметром не более 10 м , для больших ветроколес с диаметром более 20 м max<0.1 рад/с. Рассчитанное по формуле (4) значение коэффициента должно быть обеспечено через реализацию конкретной конструкции демпфера рыскания.
Демпфер рыскания ветроколеса (фиг.2) работает по аналогичному принципу. Различна лишь конструкция устройства преобразования вращательных движений гондолы ветроколеса в поступательное движение поршня 2 гидравлического амортизатора 1. В данном случае преобразование производится посредством зубчатой конической передачи.
Приведем пример расчета демпфера рыскания для ветроустановки со следующими параметрами:
– радиус ветроколеса R=2.25 м;
– расчетная скорость ветра Vp=9.5 м/с;
– допускаемая максимальная скорость рыскания ;
Тогда потребное значение коэффициента определится:

Для данной ветроустановки устройство преобразования вращательных движений гондолы ветроколеса в поступательное движение поршня гидравлического амортизатора обеспечивает следующую кинематическую связь а=28.65 мм/рад (поворот гондолы на 1 радиан вызывает перемещение штока амортизатора на 28.65 мм). Тогда скорость пермещения Vшт штока при максимальной угловой скорости рыскания будет равна
Vшт=28.65-0.25=7.16 мм/с
Из приведенных соотношений найдем потребные параметры амортизатора. Максимальное усилие, создаваемое амортизатором при скорости перемещения штока Vшт, равно:

Таким образом амортизатор при скорости перемещения его штока 7.16 мм/с должен создавать усилие 538 кГ. По этим данным производится подбор одного или нескольких амортизаторов по каталогам.
Формула изобретения
1. Демпфер рыскания ветроколеса, характеризующийся тем, что он содержит как минимум один гидравлический амортизатор и устройство преобразования вращательных движений гондолы ветроколеса в поступательное движение поршня гидравлического амортизатора, при этом гидравлический амортизатор одним концом закреплен на башне, а вторым взаимодействует с устройством преобразования.
2. Демпфер по п.1, отличающийся тем, что устройство преобразования выполнено в виде расположенного на опорно-поворотном узле гондолы зигзагообразного паза с размещенным в нем роликом, соединенным со вторым концом амортизатора.
3. Демпфер по п.1, отличающийся тем, что устройство преобразования выполнено в виде зубчатой конической передачи, одно зубчатое коническое колесо которой жестко закреплено радиально горизонтально на гондоле, а второе зубчатое коническое колесо, соединенное со вторым концом амортизатора, закреплено перпендикулярно первому на башне с возможностью вращения относительно нее.
РИСУНКИ
|