|
|
(21), (22) Заявка: 2001135798/06, 05.04.2001
(24) Дата начала отсчета срока действия патента:
05.04.2001
(30) Конвенционный приоритет:
08.04.2000 DE 10017543.0
(43) Дата публикации заявки: 10.08.2003
(45) Опубликовано: 10.03.2006
(56) Список документов, цитированных в отчете о поиске:
DE 19756081 A1, 24.06.1999. RU 2027051 С1, 20.01.1995. SU 1749514 A1, 23.07.1992. RU 2117798 С1, 20.08.1998. DE 4326498 A1, 24.03.1994. DE 19545649 A1, 04.07.1996. DE 19829621 A1, 20.01.2000.
(85) Дата перевода заявки PCT на национальную фазу:
08.01.2002
(86) Заявка PCT:
DE 01/01314 (05.04.2001)
(87) Публикация PCT:
WO 01/77511 (18.10.2001)
Адрес для переписки:
101000, Москва, М.Златоустинский пер., 10, кв.15, “ЕВРОМАРКПАТ”, пат.пов. И.А.Веселицкой, рег. №11
|
(72) Автор(ы):
ФРАНКЕ Штеффен (GB), ЭБЕРЛЕ Кристина (DE), КЛУТ Карстен (DE), ХАЙНРИХ Детлеф (DE), ЭДЕЛЬМАНН Томас (DE)
(73) Патентообладатель(и):
РОБЕРТ БОШ ГМБХ (DE)
|
(54) СПОСОБ ОБНАРУЖЕНИЯ И КОРРЕКЦИИ ОШИБОК ПРИ КОНТРОЛЕ РАБОЧИХ ПАРАМЕТРОВ ДВИГАТЕЛЯ ВНУТРЕННЕГО СГОРАНИЯ И УСТРОЙСТВО ДЛЯ ЕГО ОСУЩЕСТВЛЕНИЯ
(57) Реферат:
Изобретение относится к двигателестроению, в частности к способам обнаружения и коррекции ошибок при контроле рабочих параметров двигателя внутреннего сгорания. Изобретение позволяет обеспечить возможность особо надежного и эффективного распознавания ошибок и прежде всего в надежной коррекции ошибок, при которой исключена ошибочная коррекция. Способ обнаружения и коррекции ошибок при контроле рабочих параметров двигателя внутреннего сгорания (ДВС) осуществляют путем проверки параметров на достоверность в устройстве обработки с хранящейся в нем много- или однопараметровой характеристикой. Отсутствие достоверности классифицируют как наличие ошибки, а коррекцию ошибок осуществляют при соблюдении заданных условий. Осуществляют разделение, по меньшей мере, на два диапазона много- или однопараметровой характеристики и обнаружение ошибок осуществляют в каждом из диапазонов много- или однопараметровой характеристики, тогда как коррекцию ошибок осуществляют только в том диапазоне, в котором предварительно была выявлена ошибка. Устройство обнаружения и коррекции ошибок при контроле рабочих параметров двигателя внутреннего сгорания для осуществления способа имеет, по меньшей мере, одно вычислительное устройство. 2 н. и 4 з.п. ф-лы, 3 ил. 
Настоящее изобретение относится к способу обнаружения и коррекции ошибок при контроле рабочих параметров двигателя внутреннего сгорания (ДВС), прежде всего в устройстве диагностирования, взаимодействующем с системой регулирования по детонации ДВС.
Известно, что при диагностировании различных устройств их компоненты или сигналы, поступающие от этих компонентов, соответственно выдаваемые датчиками, проверяются на достоверность и на основании такой проверки на достоверность принимается решение о наличии или отсутствии ошибки или сбоя. При обнаружении ошибки вводится резервная мера либо вместо измеренного значения используется заменяющее значение. Помимо этого, однократно обнаруженная ошибка может расцениваться так же, как скорректированная, т.е. подобная ошибка была выявлена в более ранний момент времени, однако в данный момент она отсутствует. В этом случае обычно отменяют также резервную меру.
В известных методах диагностирования, алгоритмы которых заложены, например, в блок управления ДВС и выполняются в этом блоке управления, рабочие параметры, которые имеют важное значение для регулирования ДВС, контролируются на достоверность. Такими параметрами являются, например, сигналы, выдаваемые различными датчиками. Если уровень проверяемого сигнала или сформированного на его основании сигнала больше либо меньше некоторого порогового значения, то в этом случае выдается сообщение об ошибке. Если же уровень сигнала лежит в допустимых пределах, то это свидетельствует об отсутствии ошибки. При этом указанное пороговое значение необязательно должно быть постоянным, а может, например, выбираться по хранящейся в памяти блока управления многопараметровой либо однопараметровой характеристике в зависимости от различных рабочих точек (рабочих режимов) ДВС. В подобных процессах проверки на достоверность может возникнуть ситуация, при которой существующая ошибка поддается обнаружению в одной рабочей точке и не поддается обнаружению в другой рабочей точке. В результате обнаруженная фактическая ошибка будет расцениваться во второй рабочей точке как скорректированная, поскольку в этой рабочей точке она просто отсутствует. В этом случае введенная резервная мера вновь деактивизируется, хотя для первой рабочей точки эта ошибка продолжает существовать. Помимо этого, подобные методы проверки на достоверность не позволяют классифицировать ошибки по их типам.
Способ обнаружения и коррекции ошибок, в котором предусмотрен более глубокий анализ ошибок, известен из DE-P 19756081.4. Для обнаружения и коррекции ошибок при осуществлении этого известного способа, который относится к контролю исправности устройства распознавания детонационных стуков в ДВС, процесс распознавания детонационных стуков и коррекции ошибок основан на двух различных методах контроля. Первый из этих методов контроля предусматривает проведение так называемого 0-тестирования, при котором в схему обработки сигналы не подаются, а при тестировании вторым методом в эту схему подается контрольный импульс. В обоих методах контроля анализируется реакция системы. Если при диагностировании одним из этих двух методов возникает подозрение на наличие ошибки, то в этом случае вместо обычного попеременного повторения двух указанных методов контроля повторяют диагностирование методом, в котором была выявлена ошибка. При коррекции ошибок используется аналогичный подход, при этом прежде чем окончательно скорректировать ошибку сначала повторно осуществляют процесс, позволивший скорректировать обнаруженную ошибку.
В основу изобретения была положена задача создания такого способа обнаружения и коррекции ошибок, который обеспечивал бы возможность особо надежного и эффективного распознавания ошибок, и прежде всего в надежной коррекции ошибок, при которой исключена ошибочная коррекция.
Указанная задача решается с помощью предлагаемого в изобретении способа обнаружения и коррекции ошибок при контроле рабочих параметров ДВС, которые проверяют на достоверность в устройстве обработки с хранящейся в нем много- или однопараметровой характеристикой, при этом отсутствие достоверности классифицируют как наличие ошибки, а коррекцию ошибок осуществляют при соблюдении заданных условий. В соответствии с изобретением осуществляют разделение по меньшей мере на два диапазона много- или однопараметровой характеристики и обнаружение ошибок осуществляют в каждом из диапазонов диагностической много- или однопараметровой характеристики, тогда как коррекцию ошибок осуществляют только в том диапазоне указанной характеристики, в котором предварительно была выявлена ошибка.
В этом способе предусмотрено разделение либо анализируемого сигнала, либо характеристики, либо самой процедуры обнаружения и коррекции ошибок на различные диапазоны, при этом обнаружение ошибок может осуществляться во всех диапазонах, тогда как коррекция ошибок допустима только в том случае, если ошибка появилась и исчезла в одном и том же диапазоне. Предпочтительно с подобными диапазонами соотнести различные рабочие точки. В этом случае обнаружение ошибок может осуществляться в любой рабочей точке. Однако коррекция ошибок допустима только при условии, что вторая рабочая точка относится к тому же рабочему диапазону, что и первая рабочая точка.
Используемые в предлагаемом способе одно- или многопараметровые характеристики могут, например, устанавливать порог обнаружения ошибок, который задается в зависимости от рабочей точки, при этом рабочая точка в свою очередь зависит от различных рабочих параметров (величин) ДВС, таких, например, как частота вращения вала двигателя, нагрузка, температура и т.д.
На наличие ошибки может указывать отклонение рабочих параметров ДВС в большую (ошибка типа МАХ) или меньшую (ошибка типа MIN) сторону от некоторых заданных пороговых значений либо недостоверное положение нулевой точки. Например, на наличие ошибки может указывать, например, превышение сигналом датчика или сформированным на его основании сигналом порога обнаружения ошибок.
Еще одно особое преимущество изобретения состоит в возможности различать ошибки по их типам. Изобретением предусматривается возможность обнаружения ошибок различных типов, при этом коррекцию ошибок допускают только при условии, если в том же диапазоне была выявлена ошибка того же типа, а сама ошибка уже отсутствует. Поскольку коррекция ошибок допустима лишь при условии соответствия между типом ошибки и рабочей точкой, в которой была обнаружена, а затем исчезла ошибка, обеспечивается наиболее надежная коррекция ошибок, при которой практически полностью исключена вероятность не только ошибочного обнаружения, но и ошибочной коррекции ошибок. Кроме того, при наличии обнаруженной ошибки вместо измеряемой величины может использоваться заменяющая величина, которая остается активной до тех пор, пока не будет скорректирована ошибка.
Также в соответствии с изобретением может быть задан по меньшей мере один дополнительный диапазон, в котором не осуществляют ни обнаружение, ни коррекцию ошибок.
Объектом изобретения является также устройство для обнаружения и коррекции ошибок при контроле рабочих параметров ДВС, имеющее по меньшей мере одно вычислительное устройство для осуществления предлагаемого в изобретении способа.
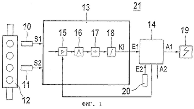
На прилагаемых к описанию чертежах показаны два варианта осуществления изобретения. Первый из этих вариантов относится к обнаружению и коррекции ошибок в устройстве распознавания детонационных стуков в ДВС, которое схематично показано на фиг.1. На фиг.2 для представленного на фиг.1 варианта показана характеристика, отражающая изменение допустимого диапазона сигнала, выдаваемого датчиком детонационного сгорания, соответственно, формируемых на основании этого сигнала допустимых величин (J) (например, опорного уровня) в зависимости от частоты вращения (n) вала двигателя. Подобную характеристику сигнала можно подвергать анализу в предлагаемом в изобретении способе обнаружения и коррекции ошибок. На фиг.3 представлен другой вариант осуществления изобретения, который относится к анализу положения распределительного вала ДВС и в котором в целях обнаружения и коррекции ошибок проверяется отклонение фактического углового положения распределительного вала от заданного значения. Используемые в этих вариантах подходы более подробно рассмотрены в последующем описании.
Предлагаемый в изобретении способ обнаружения и коррекции ошибок может осуществляться в показанном на фиг.1 устройстве распознавания детонационных стуков в ДВС. При этом диагностирование осуществляется в блоке управления ДВС.
В показанном на фиг.1 варианте в устройстве распознавания детонационных стуков в ДВС предусмотрено два датчика 10, 11 детонационного сгорания, которые относятся к определенным цилиндрам ДВС 12 и которые выдают сигналы S1 и S2. Эти датчики 10, 11 детонационного сгорания через схему 13 обработки соединены со входом Е1 вычислительного устройства (процессора) 14, который является компонентом не показанного на чертеже блока управления ДВС. Указанная схема 13 обработки также может являться компонентом этого блока управления. При этом предусмотренные предлагаемым в изобретении способом процессы протекают в блоке управления.
В показанном на фиг.1 варианте собственно процесс распознавания детонационных стуков осуществляется в вычислительном устройстве 14. Схема 13 обработки имеет усилитель 15 с регулируемым коэффициентом усиления, в который попеременно поступают сигналы S1 и S2 с выхода датчиков детонационного сгорания. С выходом усилителя соединен полосовой фильтр 16, который при фильтрации усиленных сигналов позволяет преимущественно выделять сигналы с типичными для детонации характеристиками. С выходом полосового фильтра соединен выпрямитель 17, выходные сигналы которого поступают на дальнейшую обработку, например, в интегратор 18. Интегрированные сигналы KI поступают в вычислительное устройство, в котором формируется опорный сигнал. Способ формирования такого опорного сигнала в настоящем описании подробно не рассматривается. Если при сравнении заданным образом интегрированный сигнал KI превышает опорный сигнал, то это свидетельствует о наличии детонационных стуков. При формировании опорного сигнала могут учитываться и иные сигналы, зависящие от режима работы ДВС.
В вычислительное устройство 14 через вход Е2 могут поступать и иные сигналы, характеризующие, например, режим работы ДВС. В качестве примера подобных сигналов можно назвать сигнал, пропорциональный частоте n вращения вала ДВС, сигнал, пропорциональный положению педали акселератора, сигнал, пропорциональный расходу воздуха, впускаемого в ДВС, и т.д. Эти сигналы формируются соответствующими датчиками 20 и после их соответствующей обработки используются в вычислительном устройстве 14 в целях распознавания детонационных стуков, а также обнаружения и коррекции ошибок. В зависимости от выходных сигналов схемы 13 обработки, а также от других поступающих на вход Е2 сигналов это вычислительное устройство 14 управляет работой электронного коммутатора 19 системы зажигания ДВС 12 и/или при необходимости работой иных систем ДВС, выдавая на выход А1 или А2 соответствующие управляющие сигналы. Вычислительное устройство 14 взаимодействует с не показанной в явном виде на чертежах необходимой для его работы памятью, в которой хранятся одно- или многопараметровые характеристики, необходимые для распознавания детонационных стуков. Обычно в процессе распознавания детонационных стуков создаваемый ДВС шум расценивается как детонация в том случае, если обработанный сигнал датчика детонационного сгорания превышает некоторое заданное, в частности переменное, пороговое значение, соответственно опорное значение.
При осуществлении дополнительной процедуры обнаружения ошибок на наличие ошибки указывает, например, тот факт, когда анализируемый сигнал, соответственно измеряемая величина или определяемая на ее основании величина, например опорное значение, выходит за пределы дополнительного порогового значения, например переходит за некоторое верхнее пороговое значение или за некоторое нижнее пороговое значение. Если же указанный сигнал лежит в допустимых пределах, то это свидетельствует об отсутствии ошибки. Указанное пороговое значение выбирается по одно- или многопараметровой характеристике в зависимости от конкретной рабочей точки, например в зависимости от частоты вращения вала двигателя, нагрузки, температуры и т.д. Пример изменяющегося в зависимости от частоты вращения вала двигателя допустимого диапазона, в котором может лежать сигнал датчика детонационного стука, показан на фиг.2. При этом такой допустимый диапазон ограничен верхним порогом ВП и нижним порогом НП.
В процессе обнаружения ошибок, соответственно в процессе последующей коррекции ошибок, предусмотрены описанные ниже дополнительные меры. При этом коррекция ошибок, на которую накладываются определенные ограничения, допустима лишь при наличии некоторых граничных условий. С этой целью много- и однопараметровые характеристики подразделяют на диапазоны B1, B2, В3, …, при этом коррекция ошибки допустима лишь для того диапазона, в котором была выявлена такая ошибка. В этом случае дополнительно может быть предусмотрена возможность учета типа ошибки. Иными словами, коррекция ошибки допустима только при условии совпадения и типа этой ошибки. Подобный подход позволяет избежать возникновения ситуации, при которой ошибка, правильно обнаруженная в рабочей точке, показанной на чертеже вертикальной линией РТ1, в рабочей точке РТ2 ошибочно будет рассматриваться как скорректированная или устраненная, что при определенных условиях может привести к отмене введенных ранее резервных мер. Тем самым предлагаемый в изобретении способ позволяет избежать возникновения ситуации, при которой ошибка, правильно обнаруженная в одной рабочей точке, в другой рабочей точке будет расцениваться как скорректированная или устраненная, поскольку в этой рабочей точке эта ошибка не проявляется. При осуществлении предлагаемого в изобретении способа обнаружения, соответственно коррекции ошибок, может использоваться не только сам выдаваемый датчиком сигнал, но и определяемые на его основании величины, например некоторое опорное значение.
Процесс обнаружения и коррекции ошибок более подробно рассмотрен ниже на конкретных примерах.
Пример 1
В этом примере предполагается, что фактически существующая ошибка может быть правильно обнаружена в рабочей точке 1 и в диапазоне 1 диагностической многопараметровой характеристики. Однако подобная фактически существующая ошибка не может быть обнаружена в рабочей точке 2 и в диапазоне 2 диагностической многопараметровой характеристики.
При указанных условиях ошибка проявляется в рабочей точке РТ1 и в соответствии с выявленной ошибкой активизируется некоторая резервная мера. В этом случае применительно к варианту, относящемуся к распознаванию детонационных стуков, при обнаружении, например, ошибки датчика детонационного сгорания угол опережения зажигания регулируется не на основании выходного сигнала этого датчика, а на основании некоторой заданной заменяющей величины. По завершении процесса обнаружения ошибок происходит смена рабочей точки. В рабочей точке РТ2 указанная ошибка не может быть обнаружена. При этом, однако, процесс коррекции ошибки заблокирован, поскольку эта ошибка была выявлена в диапазоне В1. Тем самым такая ошибка продолжает расцениваться как существующая и поэтому резервная мера остается активизированной. Даже если в процессе последующей работы ДВС ошибка исчезнет, она не сможет быть скорректирована в текущей рабочей точке РТ2, поскольку была обнаружена в диапазоне 1. Коррекция такой уже не существующей более ошибки и деактивизация соответствующей резервной меры возможны только после перехода к рабочей точке РТ1. Подобный подход можно распространить и на другие диапазоны. В этом случае для каждого диапазона может приниматься решение, выявлена ли в нем конкретная ошибка или нет. При положительном решении ошибка может также корректироваться только в этом диапазоне, где она была выявлена. Однако коррекция ошибки может осуществляться в любом из диапазонов, в котором была обнаружена ошибка, а не только в том диапазоне, в котором эта ошибка произошла и была обнаружена впервые.
Пример 2
В этом примере предполагается, что существующая ошибка может быть правильно выявлена в рабочих точках РТ1 и РТ3, т.е. в диапазонах В1 и В3 диагностической многопараметровой характеристики. Однако такая существующая ошибка не может быть обнаружена в рабочей точке РТ2 и в диапазоне В2 диагностической многопараметровой характеристики.
В этом случае ошибка проявляется в рабочей точке РТ1 и в соответствии с выявленной ошибкой активизируется некоторая резервная мера. После этого происходит переход к рабочей точке РТ2. В этой точке в соответствии с рассматриваемым примером ошибка не может быть выявлена. В результате процесс коррекции ошибки блокируется, поскольку ошибка была обнаружена в диапазоне В1. В результате эта ошибка продолжает расцениваться как распознанная и в рабочей точке РТ2 и поэтому введенная резервная мера продолжает оставаться активной. После последующего перехода к рабочей точке РТ3 в этой точке вновь становится возможным выявление ошибки. Поскольку, однако, эта ошибка уже была обнаружена в диапазоне В1, а соответствующая резервная мера уже активизирована, необходимо лишь сделать соответствующую отметку, что эта же ошибка была выявлена и в диапазоне В3 и что в этом диапазоне разрешена ее коррекция. Затем вновь происходит переход к рабочей точке РТ2. Даже если в процессе последующей работы ДВС ошибка и исчезнет, она не сможет быть скорректирована в текущей рабочей точке РТ2, поскольку была обнаружена в диапазоне 1. Поскольку, однако, ошибка была обнаружена и в диапазоне В3, она может быть скорректирована только после перехода к рабочей точке РТ1 или к рабочей точке РТ3, и только после перехода к одной из этих же рабочих точек может быть деактивизирована и введенная резервная мера. В данном примере ошибка может корректироваться в рабочей точке РТ3, поскольку она была выявлена в том числе и в этом рабочем диапазоне В3. Если же, однако, при существующей ошибке переход к рабочей точке РТ3 не осуществлялся бы, то в этом диапазоне была бы запрещена и коррекция ошибки.
Помимо диапазонов, при коррекции ошибок может учитываться и их тип. При этом коррекция ошибки в определенном диапазоне допустима только при условии, что выявленная в этом диапазоне ошибка имела тот же тип. В этом случае только обнаружение ошибки в данном диапазоне уже не является достаточным условием. Коррекция ошибки возможна лишь при совпадении не только диапазона, в котором была выявлена эта ошибка, но и ее типа, при этом в противном случае процесс коррекции ошибок блокируется, а введенная ранее резервная мера продолжает оставаться активной.
Пример 3
В примере 3 более подробно поясняется учет типа ошибок в процессе их коррекции. В этом примере 3 предполагается, что контролируемый сигнал лежит в диапазоне между двумя пороговыми значениями ВП и НП. Если сигнал выходит за верхний предел диапазона, то распознается ошибка типа МАХ. Если же сигнал выходит за нижний предел диапазона, то распознается ошибка типа MIN. В рабочей точке РТ1, т.е. в диапазоне В1, возможно обнаружение ошибок как типа MIN, так и типа МАХ. В отличие от этого в рабочей точке РТ2 возможно обнаружение только ошибки типа MIN.
Если в рабочей точке РТ1 сигнал выходит за нижний предел допустимого диапазона, то распознается ошибка типа MIN и активизируется соответствующая резервная мера. После этого происходит переход к рабочей точке РТ2. В этой рабочей точке ошибка также распознается как ошибка типа MIN. В результате ошибка продолжает расцениваться как выявленная и соответствующая резервная мера остается активной. При последующем переходе к рабочей точке РТ1 сигнал изменяется таким образом, что при этом он выходит за верхний предел допустимого диапазона. В этом случае в этой рабочей точке также выявляется ошибка, которая, однако, уже имеет тип МАХ. При последующем переходе к рабочей точке РТ2 эта ошибка уже не может быть выявлена, однако в этой рабочей точке не происходит и ее коррекция, поскольку эта ошибка была выявлена в диапазоне В1 как ошибка типа МАХ. Однако в рабочей точке РТ2 ранее была выявлена только ошибка типа MIN и поэтому ее коррекция невозможна. Даже если в процессе последующей работы ДВС ошибка и исчезнет, она не сможет быть скорректирована в текущей рабочей точке РТ2 из-за несоответствия ее типа. Коррекция ошибки и отмена введенной ранее резервной меры возможны только после перехода к рабочей точке 1.
Выше изобретение было рассмотрено на примере устройства распознавания детонационных стуков, однако предлагаемый в изобретении способ может использоваться и в других системах обнаружения ошибок. Применительно к обнаружению и коррекции ошибок в ДВС предусмотренные предлагаемым в изобретении способом операции выполняются в вычислительном устройстве блока управления ДВС.
Показанный на фиг.3 вариант выполнения системы зависящей от рабочих точек коррекции ошибок в различных компонентах в принципе соответствует рассмотренному выше примеру 3. Этот вариант относится к анализу положения распределительного вала ДВС. При подобном анализе в случае обнаружения сбоя в одном из компонентов ошибку сохраняют в памяти для соответствующей рабочей точки, например, как заданное значение относящегося к этому компоненту параметра в виде ошибки типа МАХ, MIN или НТ, а сам этот компонент классифицируют как неисправный. В данном случае ошибка типа МАХ или MIN означает отклонение соответственно в верхнюю или нижнюю сторону от допустимого значения, а ошибка типа НТ означает ошибку из-за смещения нулевой точки.
Очевидно, что при выходе из рабочей точки вновь возможна коррекция ошибки, хотя сам компонент и будет оставаться неисправным. В качестве примера при этом можно назвать запаздывание в срабатывании кулачков распределительного вала в результате его заедания.
С целью эффективно предотвратить при такой ситуации ошибочную коррекцию ошибки при обнаружении неисправности одного из компонентов соответствующая такому сбою ошибка сохраняется в памяти для конкретной рабочей точки в виде ошибки типа MAX, MIN или НТ. Кроме того, в памяти сохраняется и сама эта рабочая точка, а соответствующий компонент классифицируется как неисправный. Информация о такой ошибке должна удаляться из памяти только при одновременном соблюдении двух условий, а именно во-первых, режим работы ДВС должен совпадать с той же рабочей точкой, в которой была обнаружена ошибка, а, во-вторых, должно отсутствовать неисправное состояние, приведшее к появлению этой ошибки. При этом для коррекции ошибки прежде всего необходимо, чтобы исчезнувшая ошибка имела тот же тип (MIN, MAX или НТ).
При практической реализации подобной зависящей от рабочих точек коррекции возникающих в различных компонентах ошибок заданное значение (ЗЗ) сравнивается в блоке 30 с фактическим значением (ФЗ), а полученный при таком сравнении результат в свою очередь сравнивается с пороговым значением (ПЗ). Если разница между фактическим и заданным значениями превышает пороговое значение (ПЗ), то это указывает на наличие ошибки и на S-вход триггера 31 выдается соответствующий управляющий сигнал. Одновременно при наличии обнаруженной ошибки заданное значение (ЗЗ), находящееся в этот момент в звене выборки и хранения, передается далее на обработку в результате срабатывания триггера 33. Это заданное значение сравнивается затем в компараторе 34 с фактическим значением измеренного углового положения распределительного вала. На основании полученных при таком сравнении результатов в формирователе 35 формируется абсолютное значение, которое затем сравнивается в компараторе 36 с дополнительным пороговым значением (ДПЗ). Если в результате этого сравнения будет установлено, что разница по абсолютной величине между заданным значением и фактическим значением углового положения распределительного вала превышает пороговое значение ПЗ, то в этом случае ошибка продолжает существовать и далее, и на R-вход триггера 31 подается соответствующий сигнал, который указывает на дальнейшее наличие выявленной ошибки. Если же указанная разница не превышает порогового значения ДПЗ, то происходит коррекция ошибки, т.е. на выходе триггера 31 сигнал ошибки пропадает.
Формула изобретения
1. Способ обнаружения и коррекции ошибок при контроле рабочих параметров двигателя внутреннего сгорания (ДВС), которые проверяют на достоверность в устройстве обработки с хранящейся в нем много- или однопараметровой характеристикой, при этом отсутствие достоверности классифицируют как наличие ошибки, а коррекцию ошибок осуществляют при соблюдении заданных условий, отличающийся тем, что осуществляют разделение, по меньшей мере, на два диапазона много- или однопараметровой характеристики и обнаружение ошибок осуществляют в каждом из диапазонов много- или однопараметровой характеристики, тогда как коррекцию ошибок осуществляют только в том диапазоне, в котором предварительно была выявлена ошибка.
2. Способ по п.1, отличающийся тем, что на наличие ошибки указывает отклонение рабочих параметров ДВС в большую (ошибка типа МАХ) или меньшую (ошибка типа MIN) сторону от некоторых заданных пороговых значений либо недостоверное положение нулевой точки.
3. Способ по п.1 или 2, отличающийся тем, что предусмотрена возможность обнаружения ошибок различных типов, при этом коррекцию ошибок допускают только при условии, если в том же диапазоне была выявлена ошибка того же типа, а сама ошибка уже отсутствует.
4. Способ по любому из предыдущих пунктов, отличающийся тем, что при наличии обнаруженной ошибки вместо измеряемой величины используют заменяющую величину, которая остается активной до тех пор, пока не будет скорректирована ошибка.
5. Способ по любому из предыдущих пунктов, отличающийся тем, что задают, по меньшей мере, один дополнительный диапазон, в котором не осуществляют ни обнаружение, ни коррекцию ошибок.
6. Устройство обнаружения и коррекции ошибок при контроле рабочих параметров двигателя внутреннего сгорания, имеющее, по меньшей мере, одно вычислительное устройство для осуществления способа обнаружения и коррекции ошибок по любому из пп.1-5.
РИСУНКИ
|
|