|
|
(21), (22) Заявка: 2004116041/06, 25.05.2004
(24) Дата начала отсчета срока действия патента:
25.05.2004
(45) Опубликовано: 10.03.2006
(56) Список документов, цитированных в отчете о поиске:
RU 2211336 C1, 27.03.2003. RU 2177063 C1, 20.12.2001. RU 2043521 C1, 10.09.1995. RU 2054122 C1, 10.02.1996. US 6457451 B1, 01.10.2002. US 6321693 B1, 27.11.2001.
Адрес для переписки:
625000, г.Тюмень, ул. Володарского, 38, ТюмГНГУ, патентно-информационный отдел, Л.С. Ивановой
|
(72) Автор(ы):
Стариков Валерий Александрович (RU)
(73) Патентообладатель(и):
Государственное образовательное учреждение высшего профессионального образования Тюменский государственный нефтегазовый университет (RU)
|
(54) РОТОРНАЯ МАШИНА
(57) Реферат:
Изобретение относится к объемным роторным машинам и может быть использовано в компрессорах, насосах и двигателях внутреннего сгорания. Роторная машина содержит два корпуса с торцевой перегородкой, с двумя торцевыми крышками и двумя торцевыми пустотелыми цилиндрическими крышками, каждая из которых снабжена первыми крышками, боковые диски, выходной вал, механизм преобразования движения с эллиптическими шестернями, поворотные лопасти, промежуточные валы, цилиндрические шестерни и вторые крышки. В корпусах соосно установлены на подшипниках по паре пустотелых валов с монолитными боковыми дисками, к которым жестко закреплены лопасти в диаметрально-симметричном направлении и зафиксированы вторыми крышками, и две пары эллиптических шестерен. Каждая пара жестко установлена на концах пустотелых валов с дисками с обеих сторон торцевых крышек и входит в зацепление с другой парой эллиптических шестерен, жестко установленных на промежуточных валах в диаметрально-симметричном направлении на подшипниках между торцевой и торцевой пустотелой цилиндрическими крышками. На каждом промежуточном валу жестко закреплены по цилиндрической шестерне, входящей в зацепление с такой же парой шестерней, жестко закрепленной на концах установленного на подшипниках выходного вала, проходящего через пустотелые валы с дисками, торцевую перегородку, торцевые и торцевые пустотелые цилиндрические крышки и фиксированного первыми крышками. Обеспечивается возможность устранения инерционной неуравновешенности при вращении соосных поворотных лопастей. 3 ил. 
Изобретение относится к машиностроению, в частности к объемным роторным машинам, и может быть использовано в компрессорах, насосах и двигателях внутреннего сгорания.
Известна роторно-объемная машина, содержащая полый цилиндрический корпус, внутри которого установлены две пары лопастей, жестко соединенные с двумя соосными валами и механизмом синхронизации движения лопастей, последний выполнен в виде двух шестерен соосных валов, входящих в зацепление с двумя шестернями, одна из которых жестко связана с кривошипом, а другая с кулисой, в пазу которой помещается палец, установленный на средней части шатуна кривошипно-ползунного механизма, причем направляющая ползуна установлена на корпусе с возможностью поворота (АС. 973878, F 01 С 5/00, 1982).
Недостатком известной роторной машины объемного типа является наличие возвратно-поступательных движений кривошипно-ползунного механизма, что снижает кпд и надежность машины.
Известен роторно-лопастной двигатель, содержащий цилиндрический корпус с всасывающими и выхлопными окнами, торцевую крышку, центральный вал и два лопастных ротора, валы которых установлены на центральном валу соосно. Периодичность изменения скоростей вращения роторов осуществляется механизмом связи, установленным эксцентрично с наружной стороны торцевой крышки, с возможностью его вращения вокруг своей оси на опорных подшипниках. Два водила попарно жестко закреплены на концах валов каждого ротора, а свободные концы водил шарнирно связаны посредством тяг с полуосью, которая входит в радиальный паз третьего ведомого водила (патент 2054122, F 01 С 1/00, F 04 С 2/00, 1994).
Причиной, препятствующей достижению требуемого результата, известного роторно-лопастного двигателя, является то, что тяги, соединяющие водила лопастных роторов, периодически изменяют свое направление на противоположное при вращении, что приводит к значительным инерционным нагрузкам и уменьшает надежность двигателя.
Наиболее близкой по существенным признакам к заявляемому устройству является выбранная в качестве прототипа, роторная машина (патент 2211336 RU, F 01 C 1/063, опубл. 2003), содержащая цилиндрический пустотелый корпус с двумя торцевыми крышками и торцевыми пустотелыми цилиндрическими крышками с крышками, боковые диски, выходной вал, пустотелые валы, механизм преобразования движения с эллиптическими шестернями и поворотные лопасти, установленные в корпусе.
Причиной, препятствующей достижению требуемого технического результата данной роторной машины, является значительные неуравновешенные инерционные нагрузки, возникающие при неравномерном вращении в одном направлении соосных поворотных лопастей, через эллипсовидные шестерни жестко связанных с аналогичными шестернями на выходном валу, что приводит к повышенной вибрации и к снижению надежности работы двигателя.
Задачей, на решение которой направлено заявляемое изобретение, является возможность устранения инерционной неуравновешенности при вращении соосных поворотных лопастей.
При осуществлении изобретения поставленная задача решается за счет достижения технического результата, который заключается в устранении инерционной неуравновешенности соосных поворотных лопастей при вращении.
Указанный технический результат достигается тем, что роторной машине, содержащей цилиндрический пустотелый корпус с двумя торцевыми крышками и двумя торцевыми пустотелыми цилиндрическими крышками, каждая из которых снабжена первыми крышками, боковые диски, выходной вал, пустотелые валы, механизм преобразования движения с эллиптическими шестернями и поворотные лопасти, установленные в корпусе, особенностью является то, что она снабжена дополнительным цилиндрическим пустотелым корпусом с торцевой перегородкой, промежуточными валами, цилиндрическими шестернями и вторыми крышками, при этом в корпусах соосно установлены на подшипниках по паре пустотелых валов с монолитными боковыми дисками, к которым жестко закреплены лопасти в диаметрально-симметричном направлении и зафиксированы вторыми крышками, и две пары эллиптических шестерен, каждая пара жестко установлена на концах пустотелых валов с монолитными боковыми дисками с обеих сторон торцевых крышек и входит в зацепление с другой парой эллиптических шестерен, жестко установленных на промежуточных валах в диаметрально-симметричном направлении на подшипниках между торцевой и торцевой пустотелой цилиндрическими крышками, причем на каждом промежуточном валу жестко закреплены по цилиндрической шестерне, входящей в зацепление с такой же парой шестерней, жестко закрепленной на концах установленного на подшипниках выходного вала, проходящего через пустотелые валы с монолитными боковыми дисками, торцевую перегородку, торцевые и торцевые пустотелые цилиндрические крышки и фиксированного первыми крышками.
Анализ прототипа показывает, что заявляемая роторная машина отличается конструкцией и механизмом связи соосных пустотелых валов с монолитными дисками, выходящих с обеих сторон торцевых крышек, который обеспечивает строго противоположное вращение симметрично-однотипных лопастей.
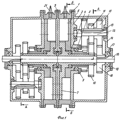
На фиг.1 представлена роторная машина, продольный разрез, на фиг.2 – разрез А-А на фиг.1, на фиг.3 – разрез Б-Б на фиг.1.
Роторная машина содержит два цилиндрических пустотелых корпуса 1 с двумя торцевыми крышками 2 и торцевой перегородкой 3, в которых установлены на подшипниках 4, 5 соосно по паре пустотелых валов с монолитными боковыми дисками 6, 7, к которым жестко закреплены лопасти 8 в диаметрально-противоположном направлении и зафиксированы вторыми крышками 9, и две пары эллиптических шестерен 10, каждая пара жестко установлена на концах пустотелых валов с монолитными боковыми дисками 6, 7 с обеих сторон торцевых крышек 2 и входят в зацепление с другой парой эллиптических шестерен 11, жестко установленных на промежуточных подвижных валах 12 в диаметрально-противоположном направлении на подшипниках 13 между торцевой и торцевой пустотелой цилиндрическими крышками 2, первыми крышками 14, причем на промежуточных валах 12 жестко закреплена цилиндрическая шестерня 15, входящая в зацепление с такой же шестерней 16, жестко закрепленной на концах подвижно установленного на подшипниках 17 выходного вала 18, проходящего через пустотелые валы с монолитными боковыми дисками 6, 7, торцевую перегородку 3, торцевые и торцевые пустотелые цилиндрические крышки 2, первые крышки 14 и фиксированного крышками 19.
Внутренние цилиндрические поверхности корпусов 1, торцевых крышек 2 и торцевой перегородки 3 с лопастями 8 образуют рабочие камеры 20 переменного объема. В роторной машине предусмотрены свечи зажигания 21, 22, всасывающие и выхлопные окна 23, 24.
В режиме двигателя внутреннего сгорания машина работает следующим образом. В рабочих камерах 20 протекают термодинамические циклы, в результате которых лопастям 8 жестко закрепленных с монолитными боковыми дисками пустотелых валов 6, 7 сообщается неравномерное вращение, преобразующееся через две пары жестко закрепленных эллиптических шестерен 10 на концах пустотелых валов с монолитными дисками 6, 7, входящих в зацепление с парой жестко установленных эллиптических шестерен 11 и с одной цилиндрической шестерней 15 на промежуточных подвижных валах 12, на которых так же жестко установлены по одной цилиндрические шестерни, входящие в зацепление в диаметральном направлении с шестернями 16 с обеих сторон торцевых крышек 2, обеспечивающие передачу постоянного момента на выходной вал 18.
Таким образом, конструкция двигателя и механизма связи соосных лопастей 8 с эллиптическими шестернями 10, 11 и двумя парами цилиндрических шестерен 15, жестко закрепленных на промежуточных подвижных валах, расположенных по обе стороны торцевых крышек 2 в диаметрально-противоположном направлении между торцевыми пустотелыми крышками, входящими в зацепление с цилиндрическими шестернями 16, закрепленными на концах подвижного выходного вала 18, обеспечивавших синхронизацию и вращение симметричных пар лопастей 8 в противоположных направлениях, что обеспечивает сбалансированность инерционных нагрузок при вращении лопастей и дает возможность как в осевом, так и в диаметральном направлении увеличивать объем двигателя и повысить его надежность и кпд. Данную роторную машину можно использовать как насос, компрессор и ДВС.
Формула изобретения
Роторная машина, содержащая цилиндрический пустотелый корпус с двумя торцевыми крышками и двумя торцевыми пустотелыми цилиндрическими крышками, каждая из которых снабжена первыми крышками, боковые диски, выходной вал, пустотелые валы, механизм преобразования движения с эллиптическими шестернями и поворотные лопасти, установленные в корпусе, отличающаяся тем, что она снабжена дополнительным цилиндрическим пустотелым корпусом с торцевой перегородкой, промежуточными валами, цилиндрическими шестернями и вторыми крышками, при этом в корпусах соосно установлены на подшипниках по паре пустотелых валов с монолитными боковыми дисками, к которым жестко закреплены лопасти в диаметрально-симметричном направлении и зафиксированы вторыми крышками, и две пары эллиптических шестерен, каждая пара жестко установлена на концах пустотелых валов с монолитными боковыми дисками с обеих сторон торцевых крышек и входит в зацепление с другой парой эллиптических шестерен, жестко установленных на промежуточных валах в диаметрально-симметричном направлении на подшипниках между торцевой и торцевой пустотелой цилиндрическими крышками, причем на каждом промежуточном валу жестко закреплено по цилиндрической шестерне, входящей в зацепление с такой же парой шестерней, жестко закрепленной на концах установленного на подшипниках выходного вала, проходящего через пустотелые валы с монолитными боковыми дисками, торцевую перегородку, торцевые и торцевые пустотелые цилиндрические крышки и фиксированного первыми крышками.
РИСУНКИ
MM4A – Досрочное прекращение действия патента СССР или патента Российской Федерации на изобретение из-за неуплаты в установленный срок пошлины за поддержание патента в силе
Дата прекращения действия патента: 26.05.2009
Извещение опубликовано: 10.07.2010 БИ: 19/2010
NF4A Восстановление действия патента СССР или патента Российской Федерации на изобретение
Дата, с которой действие патента восстановлено: 27.07.2010
Извещение опубликовано: 27.07.2010 БИ: 21/2010
|
|