|
(21), (22) Заявка: 2004105812/03, 26.02.2004
(24) Дата начала отсчета срока действия патента:
26.02.2004
(43) Дата публикации заявки: 10.08.2005
(45) Опубликовано: 10.03.2006
(56) Список документов, цитированных в отчете о поиске:
RU 2002058 С1, 30.10.1993. SU 404759 А, 22.10.1973. SU 1158736 А, 30.05.1985. SU 1458589 А1, 15.02.1989. SU 1564355 А1, 15.05.1990.
Адрес для переписки:
301650, Тульская обл., г. Новомосковск, ул. Комсомольская, 34а, ОАО “ПНИУИ”, патентное бюро
|
(72) Автор(ы):
Волков Евгений Александрович (RU), Меркулов Станислав Дмитриевич (RU), Потапенко Вячеслав Алексеевич (RU), Голуб Валерий Павлович (RU), Николаев Станислав Васильевич (RU)
(73) Патентообладатель(и):
Открытое Акционерное Общество “Подмосковный научно-исследовательский и проектно-конструкторский угольный институт” (ОАО “ПНИУИ”) (RU)
|
(54) УСТАНОВКА МОНТАЖНАЯ
(57) Реферат:
Изобретение относится к горному делу и может быть использовано при подземной добыче полезных ископаемых для монтажа секций механизированной крепи, ее составных частей, а также составных частей лавного конвейера и очистного комбайна. Обеспечивает оперативный монтаж и автономное перемещение монтажной установки в монтажной камере шахты без применения маневровых лебедок и блоков, являющихся потенциальными источниками травматизма. Установка включает основание, поворотную колонну, верхняк. На основании установлено распорное устройство. Поворотная колонна связана гидроцилиндром подъема стрелы с телескопической стрелой. На одном её конце закреплена концевая стрела с грузозахватным приспособлением. Установка снабжена гидроцилиндрами подъема и передвижения установки. Основание оснащено балками коробчатого сечения, установленными с возможностью перемещения в боковых полостях рамы основания с помощью двух гидроцилиндров передвижения. Они закреплены осями в кронштейнах, которыми снабжены передние концы балок и верхняя плоскость основания. На боковинах балок с обеих сторон выполнены отверстия для крепления посредством осей корпусов гидроцилиндров подъема. Верхняя плоскость балки в процессе перемещения служит опорной поверхностью для перекатывания закрепленных в кронштейнах основания роликов. 6 ил. 
Изобретение относится к горному делу и может быть использовано при подземной добыче полезных ископаемых для монтажа секций механизированной крепи, ее составных частей, а также составных частей лавного конвейера и очистного комбайна.
Известны машины (установки, станки), которые используются в монтажных камерах для разгрузки секций крепи с грузовых тележек и доставки их к месту монтажа.
Например, усовершенствованный монтажный кран МТК-3 (Рационализаторские предложения и изобретения, рекомендуемые министерством для внедрения в угольной промышленности, Научн. – реф.сб. – ЦНИЭИуголь. – М. – 1987. – №7. – С.3,4).
Монтажный кран включает основание, на котором закреплены подъемные и концевые стрелы с прицепным и поворотным устройствами, распорное устройство, домкраты подъема и поворота стрелы.
Эффективность известного монтажного крана невелика из-за недостаточной грузоподъемности, вылета стрелы, продольной и поперечной неустойчивости.
Известен демонтажно-монтажный агрегат для тяжеловесных секций механизированных крепей угледобывающих комплексов, оборудованный дополнительной секцией крепи для устойчивости, основание которой связано с гидроцилиндрами – передвижки дополнительной телескопической штангой, на конце которой установлена дополнительная грузозахватная головка.
Эффективность крана ограничивается его большими габаритными размерами для монтажной камеры и необходимостью передвижки дополнительными средствами.
Наиболее близким к предложенному по технической сущности и достигаемому результату является устройство для монтажа секций механизированной крепи (патент РФ №2002058, кл. Е 21 D 23/00, 1993) – принято за прототип.
Устройство снабжено установленным на основании распорным устройством, поворотной колонной, связанной гидродомкратом подъема стрелы с телескопической стрелой, на одном конце которой закреплена концевая стрела с грузозахватным приспособлением, верхняком.
Основным недостатком прототипа является то, что с помощью доставочных средств его передвигают на новое место для монтажа последующей секции механизированной крепи, т.е. прототип смонтирован стационарно и не может передвигаться самостоятельно.
Изобретением решается задача проведения оперативного монтажа и автономного перемещения монтажной установки в монтажной камере шахты без применения маневровых лебедок и блоков, являющихся потенциальными источниками травматизма.
Предлагаемая конструкция монтажной установки компактна и эффективна в применении.
Указанный технический результат достигается тем, что монтажная установка, содержащая основание, на котором установлено распорное устройство, поворотную колонну, связанную гидроцилиндром подъема стрелы с телескопической стрелой, на одном конце которой закреплена концевая стрела с грузозахватным приспособлением, верхняк, снабжается гидроцилиндрами подъема и передвижения установки, основание оснащено балками коробчатого сечения, установленными с возможностью перемещения в боковых полостях рамы основания с помощью двух гидроцилиндров передвижения, закрепленных осями в кронштейнах, которыми снабжены передние концы балок и верхняя плоскость основания, на боковинах балок с обеих сторон выполнены отверстия для крепления посредством осей корпусов гидроцилиндров подъема, при этом верхняя плоскость балки в процессе перемещения служит опорной поверхностью для перекатывания закрепленных в кронштейнах основания роликов.
Причинно-следственная связь между совокупностью заявляемых существенных признаков изобретения и достигаемым техническим результатом следующая.
Признак «основание оснащено балками коробчатого сечения, установленными с возможностью перемещения в боковых полостях рамы основания с помощью двух гидроцилиндров передвижения» позволяет в раме основания, являющейся корпусом монтажной установки, расположить две балки, осуществляющие передвижение всей машины, а также получить компактную конструкцию.
Признак «закрепленных осями в кронштейнах, которыми снабжены передние концы балок и верхняя плоскость основания» является конструктивным и объясняет места закрепления гидроцилиндров передвижения на балках и основании.
Признак «на боковинах балок с обеих сторон выполнены отверстия для крепления посредством осей корпусов гидроцилиндров подъема» является основополагающим в этой конструкции, так как оснащение переднего и заднего торца каждой балки коробчатого сечения отверстиями для осей позволяет устанавливать на их торцах четыре гидроцилиндра подъема, которые приподнимают всю установку монтажную над почвой штрека.
Признак «при этом верхняя плоскость балки в процессе перемещения служит опорной поверхностью для перекатывания закрепленных в кронштейнах основания роликов» позволяет осуществить перемещение установки монтажной вдоль по штреку относительно вывешенных на гидроцилиндрах подъема балках.
При подаче жидкости в гидроцилиндры передвижения, основание, на котором эти гидроцилиндры закреплены при помощи кронштейнов своей поршневой полостью, начинает двигаться относительно вывешенных балок на гидроцилиндрах подъема. Перекатывание по балкам, являющимся в этом случае неподвижными, роликов, закрепленных в кронштейнах основания, облегчает движение основания.
Анализ показывает, что совокупность признаков заявленного технического решения отвечает цели изобретения.
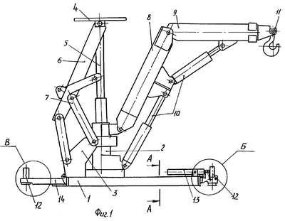
Предлагаемая установка иллюстрируется чертежами, представленными на фиг.1-6.
На фиг.1 показан общий вид установки монтажной. На фиг.2 – сечение А-А по основанию на фиг.1. На фиг.3 – вид Б на конец балки с гидроцилиндрами передвижения и гидроцилиндрами подъема установки на фиг.1. На фиг.4 показан вид сверху по стрелке Г на фиг.3. На фиг.5 показан другой конец балки, а именно вид В на фиг.1. На фиг.6 показан вид сверху по стрелке Д на фиг.5.
Установка монтажная состоит из основания 1, поворотной колонны 2, распорного устройства 3, установленного на основании, верхняка 4, поднимаемого гидростойкой 5 и удерживаемым ограждением 6 с траверсами 7. Груз перемещается телескопической стрелой 8 и концевой стрелой 9, удерживаемыми гидроцилиндрами подъема стрелы 10. Груз подвешивается на грузозахватном приспособлении, например, крюке 11. Подъем установки монтажной осуществляется четырьмя гидроцилиндрами подъема 12, а передвижение установки выполняют два гидроцилиндра передвижения 13, закрепленные на балках 14 и на верхней плоскости основания 1.
В боковых полостях 15 рамы 16, принадлежащих основанию 1, двигаются балки 14. На передних концах балок 14 имеются кронштейны 17 с осями 18 для крепления штоковой полости гидроцилиндров передвижения 13. Поршневые части закреплены в кронштейнах 19 осями 20, расположенными на верхней плоскости основания 1.
На боковинах 21 балки 14 с обеих сторон имеются отверстия 22 с осями 23 для крепления корпусов гидроцилиндров подъема 12. Опорные поверхности 24 балок 14 во время движения опираются на ролики 25, закрепленные в кронштейнах 26 осями 27.
Процесс автономного перемещения установки монтажной осуществляется следующим образом.
Перед перемещением установки с гидростойки 5 снимается давление и верхняк 4 опускается в транспортное положение за счет ограждения 6 и траверс 7. Затем подается давление в гидроцилиндры подъема 12, расположенные в боковинах 21 балки 14, и – установка монтажная висит на четырех гидроцилиндрах подъема 12.
Далее давление подается в гидроцилиндры передвижения 13 и, отталкиваясь от подвешенных на четырех гидроцилиндрах подъема 12 балок 14, установка перемещается двумя гидроцилиндрами передвижения 13, пока не выберет ход цилиндра. При движении опорные поверхности 24 балок 14 скользят по роликам 25, закрепленным в кронштейнах 26 осями 27, облегчая передвижение установки монтажной, а рама 16 основания 1 своими боковыми полостями 15 движется по опорным поверхностям балок 14.
После того как гидроцилиндры передвижения 13 выберут полностью ход, убирается давление из гидроцилиндров подъема 12 и установка монтажная опускается основанием 1 на почву. При этом гидростойкой 5 распирается верхняк 4 в кровлю – установка расперта и можно выполнять монтажные работы.
При этом необходимо гидроцилиндр передвижения 13 с балкой 14 вернуть в первоначальное положение, подготовив тем самым установку монтажную к возможности нового передвижения.
Таким маневром можно передвинуть установку на два хода гидроцилиндра передвижения 13.
Формула изобретения
Установка монтажная, включающая основание, на котором установлено распорное устройство, поворотную колонну, связанную гидроцилиндром подъема стрелы с телескопической стрелой, на одном конце которой закреплена концевая стрела с грузозахватным приспособлением, верхняк, отличающаяся тем, что установка монтажная снабжена гидроцилиндрами подъема и передвижения установки, основание оснащено балками коробчатого сечения, установленными с возможностью перемещения в боковых полостях рамы основания с помощью двух гидроцилиндров передвижения, закрепленных осями в кронштейнах, которыми снабжены передние концы балок и верхняя плоскость основания, на боковинах балок с обеих сторон выполнены отверстия для крепления посредством осей корпусов гидроцилиндров подъема, при этом верхняя плоскость балки в процессе перемещения служит опорной поверхностью для перекатывания закрепленных в кронштейнах основания роликов.
РИСУНКИ
MM4A – Досрочное прекращение действия патента СССР или патента Российской Федерации на изобретение из-за неуплаты в установленный срок пошлины за поддержание патента в силе
Дата прекращения действия патента: 27.02.2008
Извещение опубликовано: 27.02.2010 БИ: 06/2010
|