|
|
(21), (22) Заявка: 2004108497/03, 24.03.2004
(24) Дата начала отсчета срока действия патента:
24.03.2004
(43) Дата публикации заявки: 20.10.2005
(45) Опубликовано: 10.03.2006
(56) Список документов, цитированных в отчете о поиске:
ДУЛАЕВ В.Х.-М. и др. Усовершенствованное автономное устройство для одновременной регистрации температуры и давления в скважине. Геофизическая аппаратура. Вып.73.- Л.: Недра, 1981, с.129-132. SU 1330306 A1, 15.08.1987. SU 796398 A, 15.01.1981. SU 1470944 A1, 07.04.1989. RU 2096609 C1, 20.11.1997. RU 2149993 C1, 27.05.2000.
Адрес для переписки:
452614, Республика Башкортостан, г. Октябрьский, ул. Горького, 1, ОАО НПП “ВНИИГИС”, отдел промышленной собственности
|
(72) Автор(ы):
Шакиров Альберт Амирзянович (RU), Чупров Василий Прокопьевич (RU)
(73) Патентообладатель(и):
Общество с ограниченной ответственностью Научно-производственная фирма “ВНИИГИС-Забойные телеметрические системы” (ООО НПФ “ВНИИГИС-ЗТС”) (RU)
|
(54) СПОСОБ ИЗМЕРЕНИЯ ДАВЛЕНИЯ В ПРОЦЕССЕ БУРЕНИЯ
(57) Реферат:
Изобретение относится к области исследования скважин в процессе бурения, а именно к устройствам для измерения дифференциального давления при бурении скважин в балансном режиме или на депрессии. Техническим результатом изобретения является повышение чувствительности датчика дифференциального давления и надежности проведения измерений. Для определения дифференциального давления измеряют избыточное давление внутри бурильной трубы и в затрубье в статическом режиме датчиками избыточного давления, сообщающимися через каналы подвода давления с промывочным отверстием и с затрубным пространством. Принимают большее или меньшее избыточное давление за истинное давление. Определяют разницу между большим и меньшим давлениями и в динамическом режиме указанную разницу учитывают в канале подвода давления с меньшим статическим давлением при выборе в качестве истинного значения большего избыточного давления, и в канале подвода давления с большим статическим давлением – при выборе в качестве истинного давления меньшего избыточного давления. 1 ил. 
(56) (продолжение):
CLASS=”b560m”US 3616689 A, 02.11.1971. FR 1584976 A, 09.01.1970. АБДРАХМАНОВ Г.С. Контроль технологических процессов в бурении. – М.: Недра, 1974, с.165-174.
Изобретение относится к области исследования скважин в процессе бурения, а именно к устройствам для измерения дифференциального давления при бурении скважин в балансном режиме или на депрессии.
Известны датчики для измерения перепада давлений общего назначения, например, Метран-43-ДД (Номенклатурный каталог “Средства автоматизации. Концерн “Метран”, Челябинск, 1995 г., стр.1.1.1/7-5). Здесь разность давлений вызывает деформацию чувствительного элемента, прочно скрепленного с мембраной тензопреобразователя. Тензорезисторы соединены в мостовую схему.
Геометрические размеры этих датчиков не соответствуют требованиям к скважинной аппаратуре и эти датчики непригодны для работы в условиях высокого избыточного давления
Известны датчики, которые используются для измерения давления при геофизических исследованиях скважин (Геофизическая аппаратура. Вып.73, 1981 г., стр.129). Конструкция датчика предусматривает помещение его в прибор, опускаемый на каротажном кабеле в скважину, где он измеряет давление.
Этими датчиками возможно измерение дифференциального давления на основе измерения избыточного давления в двух точках и вычисления искомого дифференциального давления путем алгебраического вычитания одного измеренного значения давления из другого.
Однако этот способ измерения дифференциального давления имеет низкую чувствительность, следствием чего является недостаточное разрешение.
Предлагаемое изобретение решает задачу повышения чувствительности датчика дифференциального давления и надежности проведения измерений.
Поставленная цель достигается тем, что согласно способу измерения давления в процессе бурения, включающему измерение избыточного давления внутри бурильной трубы и в затрубье и вычисление дифференциального давления путем алгебраического вычитания одного измеренного значения давления из другого, избыточное давление внутри бурильной трубы и в затрубье измеряют в статическом режиме датчиками избыточного давления, сообщающимися через каналы подвода давления с промывочным отверстием и с затрубным пространством, и принимают большее или меньшее избыточное давление за истинное давление, определяют разницу между большим и меньшим давлениями и при работе в динамическом режиме указанную разницу учитывают в канале подвода давления с меньшим статическим давлением при выборе в качестве истинного значения большего избыточного давления, и в канале подвода давления с большим статическим давлением – при выборе в качестве истинного давления меньшего избыточного давления.
Существенным отличием предлагаемого способа измерения давления от известных способов является следующее. Измерение дифференциального давления при бурении производится на фоне большого гидростатического давления, поэтому приходится использовать датчики давления с большим верхним пределом измерения с известной точностью. Пусть измерение избыточного давления проводится датчиком с верхним пределом 60 МПа. Перепад давления, измеряемый наддолотным модулем, между затрубьем и внутри трубы может составлять от 0 до 500 кПа. Точность лучших серийных датчиков избыточного давления составляет ±0,25% или для датчиков с верхним пределом 60 МПа, если один ушел в минус, а другой в плюс, область неточности будет составлять 300 кПа, что сравнима с измеряемым дифференциальным давлением. Но разрешающая способность этих датчиков составляет 1,2 кПа. Поэтому, если перед началом бурения (динамический режим) в статическом режиме (когда давления в затрубье и внутри трубы равны) измеряют давления в затрубье и внутри трубы, большее давление принимают за истинное давление, определяют разницу между большим и меньшим давлениями, при работе в динамическом режиме разницу давления учитывают в канале с меньшим статическим давлением, а в другом случае, меньшее давление принимают за истинное давление, определяют разницу между большим и меньшим давлениями при работе в динамическом режиме, разницу давления учитывают в канале подвода давления с большим статическим давлением, то дифференциальное давление измеряется с точностью не хуже 0,25%.
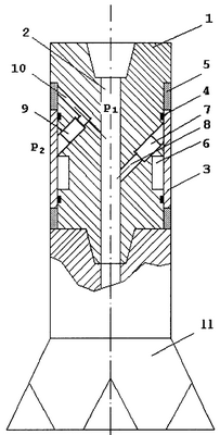
На чертеже представлен общий вид устройства для реализации предлагаемого способа.
Устройство состоит из корпуса 1 (переводник бурильной трубы) со сквозным каналом 2 для промывочной жидкости и содержит долото 11. На корпусе 1 расположен баростойкий кожух 3 с уплотнительными элементами 4 и изоляторами 5, в выемках 6 корпуса 1 расположены электрические схемы. Первый датчик избыточного давления 7 через канал подвода давления 8 сообщается с промывочным отверстием 2 с давлением Р1, второй датчик избыточного давления 9 через канал подвода давления 10 сообщается с затрубным пространством с давлением Р2.
Устройство работает следующим образом.
В составе бурильной компоновки устройство спускается в интервал бурения. В статическом режиме, когда давления внутри трубы и в затрубье одинаковы, производится измерение давлений датчиками 8 и 9 внутри трубы и в затрубье соответственно. Пусть давление, измеренное внутри трубы, равно P1с, a давление, измеренное в затрубье, равно Р2с. При этом P1с>Р2с и считается, что P1с – истинное давление, определяется Рс=P1с-Р2с. В динамическом режиме, когда идет бурение, P1>Р2. Пусть давление, измеренное внутри трубы, равно Р1д, а давление, измеренное в затрубье, равно Р2д. При этом дифференциальное давление будет равно Рд=Р1д-(Р2д+ Рс). В случае, когда за истинное давление принимается Р2с, то – Рс=Р2с-P1с, при этом дифференциальное давление будет равно Рд=Р1д-(Р2д– Рс). Если P1с<Р2с и считается, что P1с – истинное давление, то – Рс=P1с-Р2с. При этом дифференциальное давление будет равно Рд=Р1д-(Р2д– Рс). В случае, когда за истинное давление принимается Р2с, то Рс=Р2с-P1с, при этом дифференциальное давление будет равно Рд=Р1д-(Р2д+ Рс). Все измерения и вычисления производятся электрическими схемами, расположенными в выемках 6 корпуса 1.
Формула изобретения
Способ измерения давления в процессе бурения, включающий измерение избыточного давления внутри бурильной трубы и в затрубье и вычисление дифференциального давления путем алгебраического вычитания одного измеренного избыточного давления из другого, отличающийся тем, что избыточное давление внутри бурильной трубы и в затрубье измеряют в статическом режиме датчиками избыточного давления, сообщающимися через каналы подвода давления с промывочным отверстием и с затрубным пространством, и принимают большее или меньшее избыточное давление за истинное давление, определяют разницу между большим и меньшим давлениями и в динамическом режиме указанную разницу при вычислении дифференциального давления учитывают в канале подвода давления с меньшим статическим давлением при выборе в качестве истинного значения большего избыточного давления и в канале подвода давления с большим статическим давлением – при выборе в качестве истинного давления меньшего избыточного давления.
РИСУНКИ
|
|