|
(21), (22) Заявка: 2004123244/03, 29.07.2004
(24) Дата начала отсчета срока действия патента:
29.07.2004
(45) Опубликовано: 10.03.2006
(56) Список документов, цитированных в отчете о поиске:
DE 3301806 A1, 22.09.1983. SU 231494 A, 28.11.1968. SU 628282 A, 15.10.1978. SU 973799 A, 15.11.1982. SU 1760079 A1, 07.09.1992. RU 2192536 C1,11.10.2002.
Адрес для переписки:
390048, г.Рязань, ул. Новоселов, 54/2, кв.292, В.А. Керимову
|
(72) Автор(ы):
Башкатов Алексей Дмитриевич (RU), Керимов Ваид Амирджанович (RU), Башкатов Дмитрий Николаевич (RU)
(73) Патентообладатель(и):
Башкатов Алексей Дмитриевич (RU), Керимов Ваид Амирджанович (RU)
|
(54) УСТРОЙСТВО ДЛЯ БУРЕНИЯ СКВАЖИН
(57) Реферат:
Изобретение относится к области горного дела, в частности к бурению скважин с прямой и обратной промывками, и может быть использовано также при ремонте скважин. Обеспечивает повышение производительности пульпоподъема за счет интенсификации процесса смешивания пульпы со сжатым воздухом. Сущность изобретения: устройство для бурения скважин включает двойную колонну труб с кольцевой полостью между ними, струйное устройство с обратным клапаном. Струйное устройство выполнено в виде соединенного с внутренней колонной труб корпуса с радиальными каналами и комплектом кольцевых сопел с приемными каналами, совмещенными с радиальными каналами корпуса струйного устройства для подачи сжатого воздуха через кольцевые сопла в кольцевую полость под углом к оси струйного устройства. 3 з.п. ф-лы, 1 ил. 
Настоящее изобретение относится к области горного дела, в частности к бурению скважин с прямой и обратной промывками, и может быть использовано также при ремонте, очистке от песчаных пробок скважин.
Известно устройство для бурения скважин с эрлифтным смесителем, состоящим из перфорированной внутренней колонны труб, установленной концентрично относительно наружной колонны труб [1].
Недостатком известного устройства является заклинивание твердыми частицами пульпы кольцевой полости между наружной и внутренней колоннами труб в процессе обратной промывки.
Известно также устройство для бурения с обратной промывкой, включающее двойную колонну труб с кольцевой полостью между ними, перфорированной в нижней части внутренней трубой и эластичной муфтой [2].
Недостатком известного устройства является низкая эффективность пульпоподъема в связи с подачей сжатого воздуха через перфорированную трубу и необеспечения оптимального смешивания сжатого воздуха с пульпой.
Наиболее близким по числу совпадающих существенных признаков является устройство для бурения скважин, включающее двойную колонну труб с кольцевой полостью между ними, струйное устройство с корпусом и обратным клапаном [3].
В известном устройстве использование струйного устройства позволяет несколько повысить производительность пульпоподъема, однако оптимальное смешивание сжатого воздуха с пульпой не обеспечивается.
В задачу настоящего изобретения ставится повышение производительности пульпоподъема за счет интенсификации процесса смешивания пульпы со сжатым воздухом.
Поставленная задача решается тем, что в устройстве для бурения скважин, включающем двойную колонну труб с кольцевой полостью между ними, струйное устройство с обратным клапаном, струйное устройство выполнено в виде соединенного с внутренней колонной труб корпуса с радиальными каналами и комплектом кольцевых сопел с приемными каналами, совмещенными с радиальными каналами корпуса струйного устройства для подачи сжатого воздуха через кольцевые сопла в кольцевую полость под углом к оси струйного устройства.
Кроме того, комплект кольцевых сопел включает, по меньшей мере, три кольцевых сопла.
Также кольцевые сопла снабжены разделительными лопастями. А также разделительные лопасти кольцевых сопел размещены под углом к оси струйного устройства.
Сущность изобретения поясняется чертежом.
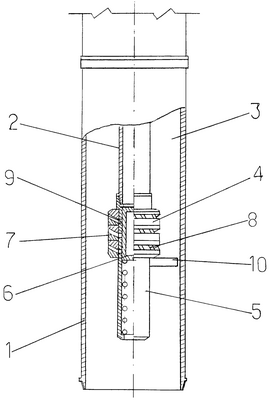
Устройство включает двойную колонну труб 1, 2 с кольцевой полостью 3 между ними. К внутренней колонне 2 присоединено струйное устройство 4 с корпусом 5, с обратным клапаном 6.
Струйное устройство 4 выполнено в виде комплекта кольцевых сопел 7, по меньшей мере трех кольцевых сопл.
Кольцевые сопла снабжены разделительными лопастями 8, размещенными под углом к оси струйного устройства.
Корпус 5 струйного устройства 3 выполнен с радиальными каналами 9, с которыми совмещены приемные каналы кольцевых сопел 7.
Внутренняя колонна труб 2 снабжена центраторами 10.
Работа устройства заключается в следующем.
Бурение скважин с использованием устройства преимущественно производится с прямой промывкой и избирательно с обратной промывкой, при прямой промывке промывочная жидкость подается через кольцевую полость 3 , а пульпа выносится через затрубное пространство скважины.
Обратная промывка используется при необходимости бурения в осложненных гидрогеологических условиях, при очистке забоя скважины периодически или окончательной промывке скважины. Для этого подается сжатый воздух через внутреннюю колонну труб 2 в струйное устройство 4. Под действием сжатого воздуха обратный клапан 6 перемещается в нижнее положение, поочередно открываются радиальные каналы 9 корпуса 5 и сжатый воздух через кольцевые сопла 7 под углом к оси струйного устройства поступает в кольцевую полость 3. В кольцевой полости 3 происходит интенсивное смешивание сжатого воздуха с пульпой.
В дальнейшем за счет разности давлений в кольцевых полостях между стенкой скважины и колонны двойных труб и между колоннами труб происходит пульпоподъем через кольцевую полость 3.
Интенсификация процесса смешивания за счет многоструйного и скручивающего эффекта позволяет повысить производительность пульпоподъема на 25-30%.
Источники информации
1. Авторское свидетельство СССР №231494, кл. Е 21 В 21/00, 1966.
2. Авторское свидетельство СССР №1760079, Е 21 В 21/10
3. Патент DE 3301806 С2, Е 21 В 21/10, Е 21 В 21/12, 20.12.84.
Формула изобретения
1. Устройство для бурения скважин, включающее двойную колонну труб с кольцевой полостью между ними, струйное устройство с обратным клапаном, отличающееся тем, что струйное устройство выполнено в виде соединенного с внутренней колонной труб корпуса с радиальными каналами и комплектом кольцевых сопел с приемными каналами, совмещенными с радиальными каналами корпуса струйного устройства для подачи сжатого воздуха через кольцевые сопла, в кольцевую полость под углом к оси струйного устройства.
2. Устройство по п.1, отличающееся тем, что комплект кольцевых сопел выполнен, по меньшей мере, с тремя кольцевыми соплами.
3. Устройство по п.1, отличающееся тем, что кольцевые сопла снабжены разделительными лопастями.
4. Устройство по п.3, отличающееся тем, что разделительные лопасти кольцевых сопел размещены под углом к оси струйного устройства.
РИСУНКИ
PC4A – Регистрация договора об уступке патента Российской Федерации на изобретение
(73) Патентообладатель(и):
Керимов Ваид Амирджанович, Башкатов Алексей Дмитриевич
(73) Патентообладатель:
Закрытое акционерное общество “Русбурмаш”
Дата и номер государственной регистрации перехода исключительного права: 17.04.2007 № РД0020952
Извещение опубликовано: 27.05.2007 БИ: 15/2007
RH4A – Выдача дубликата патента Российской Федерации на изобретение
Дата выдачи дубликата: 15.10.2010
Наименование лица, которому выдан дубликат:
Закрытое акционерное общество “Русбурмаш”
Извещение опубликовано: 20.11.2010 БИ: 32/2010
|