|
| На основании пункта 3 статьи 13 Патентного закона Российской Федерации от 23 сентября 1992 г. № 3517-I патентообладатель обязуется передать исключительное право на изобретение (уступить патент) на условиях, соответствующих установившейся практике, лицу, первому изъявившему такое желание и уведомившему об этом патентообладателя и федеральный орган исполнительной власти по интеллектуальной собственности, – гражданину РФ или российскому юридическому лицу. |
|
(21), (22) Заявка: 2004129470/03, 07.10.2004
(24) Дата начала отсчета срока действия патента:
07.10.2004
(45) Опубликовано: 10.03.2006
(56) Список документов, цитированных в отчете о поиске:
RU 2136840 С1, 10.09.1999. SU 581244 А, 25.11.1977. RU 2002026 С1, 30.10.1993. RU 2058471 С1, 20.04.1996. RU 2197595 C2, 27.01.2003.
Адрес для переписки:
123182, Москва, ул. Авиационная, 68, кв.490, Н.М. Панину
|
(72) Автор(ы):
Панин Николай Митрофанович (RU), Богомолов Родион Михайлович (RU)
(73) Патентообладатель(и):
Панин Николай Митрофанович (RU), Богомолов Родион Михайлович (RU)
|
(54) РАЗЪЕДИНИТЕЛЬНОЕ УСТРОЙСТВО
(57) Реферат:
Изобретение относится к области бурения и эксплуатации скважин, а именно к устройствам, предназначенным для отсоединения свободной части колонны труб от прихваченной в скважине. Обеспечивает повышение надежности работы, сокращение непроизводительных затрат времени на освобождение проходного канала колонны, сокращение материальных затрат, связанных с ликвидацией аварий. Устройство включает составной корпус, который состоит из верхней и нижней частей, соединенных между собой посредством шарового затвора, и седло под бросовый клапан. Затвор размещен в радиальном канале корпуса и зафиксирован посредством пробки. Седло под бросовый клапан снабжено контейнером, имеющим удельный вес меньше удельного веса промывочной или продавочной жидкости. Наружный диаметр седла меньше внутреннего диаметра проходного канала части корпуса, расположенной выше седла. Пробка шарового затвора выполнена полой. 2 з.п. ф-лы, 1 ил. 
Изобретение относится к противоаварийному инструменту, а именно к разъединительным устройствам, предназначенным для отсоединения свободной части колонны труб от прихваченной в скважине.
Известно разъединительное устройство, включающее корпус, верхний и нижний переходники, последний из которых соединен с корпусом посредством левой резьбы и стопорных пальцев, и подвижный шток с поршнем, установленный в корпусе с возможностью взаимодействия со стопорными пальцами (см. авт. св. СССР №438774, кл. 21 В 17/06, 1973 г.).
Недостатком известного устройства является сложность конструкции и оставление в скважине значительного количества деталей после разъединения колонны.
Наиболее близким к предложенному по технической сущности и достигаемому результату является разъединительное устройство, включающее составной корпус, состоящий из верхней и нижней частей, телескопически соединенных между собой посредством шарового затвора, размещенного в радиальном канале корпуса и зафиксированного посредством пробки и седла под бросовый клапан (см. патент России №2136840, кл. Е 21 В 17/06, 1999 г.).
Данное устройство имеет более простую конструкцию по сравнению с аналогом, что значительно упрощает технологию его изготовления и снижает стоимость затрат на проведение работ по разъединению колонны.
К отрицательным сторонам прототипа можно отнести недостаточную надежность из-за определенной сложности определения времени срабатывания шарового затвора и необходимость проведения дополнительных работ для освобождения проходного канала колонны от продавочной пробки и шарового затвора с целью проведения дальнейших работ. Эти недостатки особо проявляются в случае использования разъединительного устройства при бурении скважин для освобождения прихваченной части колонны.
В связи с изложенным технической задачей изобретения является повышение надежности работы и сокращение непроизводительных затрат времени на освобождение проходного канала колонны и, как следствие этого, сокращение материальных затрат, связанных с ликвидацией аварий.
Указанная техническая задача решается тем, что в разъединительном переходнике, включающем составной корпус, состоящий из верхней и нижней частей, соединенных между собой посредством шарового затвора, размещенного в радиальном канале корпуса и зафиксированного посредством пробки, и седло под бросовый клапан, согласно изобретению седло под бросовый клапан снабжено контейнером, имеющим удельный вес меньше удельного веса промывочной или продавочной жидкости, а его наружный диаметр меньше внутреннего диаметра проходного канала части корпуса, расположенной выше седла, причем пробка шарового затвора выполнена полой.
Решению поставленной задачи способствует также и то, что:
– радиальный канал под шаровой затвор в корпусе выполнен наклонным от наружной поверхности корпуса в сторону его нижней части;
– контейнер соединен с седлом разъемно и расположен в его нижней части.
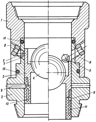
На чертеже изображен общий вид разъединительного устройства (на левой половине – в исходном положении, на правой – после срабатывания).
Разъединительный переходник содержит составной корпус, состоящий из верхней и нижней частей 1 и 2 соответственно, и седло 3 под бросовый шаровой клапан 4. Верхняя и нижняя части 1 и 2 корпуса соединены между собой посредством шарового затвора 5, размещенного в совмещенных радиальных каналах 6 и 7 соответственно верхней и нижней частей 1 и 2 корпуса и зафиксированного в исходном положении с наружной стороны резьбовой пробкой 8, а с внутренней стороны – седлом 3 клапана 4. Седло 3 имеет наружный диаметр меньше внутреннего диаметра корпуса по всей его длине. Радиальные каналы 6 и 7 корпуса выполнены наклонными от наружной поверхности в сторону его нижнего торца, что обеспечивает гарантированное срабатывание шарового затвора 5. Резьбовая пробка 8 выполнена полой. В рабочем положении седло 3 фиксируется относительно нижней части 2 корпуса срезным элементом 9. Разъединительное устройство снабжено уплотнениями 10 и контейнером 11, который разъемно соединен с нижней частью седла 3 клапана 4. Контейнер 10 выполнен из легкого материала с целью обеспечения “плавучести” седла 3 вместе с клапаном 4 и шаровым затвором 5. Это означает, что после срабатывания устройства седло 3 вместе с клапаном 4 и шаровым затвором 5 должно всплыть на поверхность. С этой целью все указанные элементы выполняются из материала, удельный вес которых меньше удельного веса промывочной или продавочной жидкости, а контейнер 10 может выполняться с полостью 12 (показана пунктиром), заполняемой пенопластом, газом или другим материалом с малым удельным весом. В зависимости от условий эксплуатации каждое уплотнение 9 может содержать одно или несколько колец из соответствующего материала, обеспечивающих надежную герметизацию корпуса разъединительного устройства. Количество шаровых затворов 5 также выбирается в зависимости от условий работы.
Монтаж устройства осуществляют в следующей последовательности.
После соединения верхней и нижней частей 1 и 2 совмещают их радиальные каналы 6 и 7. Затем устанавливают в нужном положении седло 3 с контейнером 11, а в совмещенных каналах 6 и 7 размещают шаровой затвор 5, который фиксируют резьбовой пробкой 8. В собранном виде разъединительное устройство включают в состав компоновки бурового инструмента над турбобуром, колонковым снарядом или другой частью компоновки, имеющей наибольший диаметр. В процессе бурения крутящий момент и осевая нагрузка передаются через шаровой затвор 5. В случае необходимости разъединения свободной части колонны от прихваченной сбрасывают клапан 4 и начинают прокачивать промывочную жидкость при бурении или цементный раствор при цементировании скважин. Под давлением промывочной жидкости или раствора седло 3 клапана 4 опускается вниз, срезая штифты 9. В результате этого седло 3 опускается и после прохождения радиального канала 7 происходит расфиксация шарового затвора 5. Шаровой затвор 5 попадает в полость седла 3 благодаря наклонному выполнению радиальных каналов 6. Этот момент фиксируется на поверхности резким падением давления, вызванным открытием радиальных каналов 6 и 7 и благодаря выполнению пробок 8 полыми. После этого при приложении осевой нагрузки вверх происходит разъединение колонны, что определяется уменьшением веса на крюке. При этом благодаря установке седла 3 с возможностью свободного осевого перемещения вверх и его “плавучести” клапан 4 и шаровые затворы 5 всплывают вместе с седлом 3 на поверхность и тем самым освобождают проходной канал колонны для проведения дальнейших работ. В скважине же остается только нижняя часть 2 устройства.
Предложенная конструкция разъединительного устройства повышает надежность работы и значительно сокращает непроизводительные затраты времени на освобождение проходного канала колонны, а следовательно, и материальные затраты на ликвидацию аварий.
Формула изобретения
1. Разъединительный переходник, включающий составной корпус, состоящий из верхней и нижней частей, соединенных между собой посредством шарового затвора, размещенного в радиальном канале корпуса и зафиксированного посредством пробки, и седло под бросовый клапан, отличающийся тем, что седло под бросовый клапан снабжено контейнером, имеющим удельный вес меньше удельного веса промывочной или продавочной жидкости, а его наружный диаметр меньше внутреннего диаметра проходного канала части корпуса, расположенной выше седла, причем пробка шарового затвора выполнена полой.
2. Разъединительный переходник по п.1, отличающийся тем, что радиальный канал под шаровой затвор в корпусе выполнен наклонным от наружной поверхности корпуса в сторону его нижней части.
3. Разъединительный переходник по любому из пп.1 и 2, отличающийся тем, что контейнер соединен с седлом разъемно и расположен в его нижней части.
РИСУНКИ
|
|