|
| На основании пункта 3 статьи 13 Патентного закона Российской Федерации от 23 сентября 1992 г. № 3517-I патентообладатель обязуется передать исключительное право на изобретение (уступить патент) на условиях, соответствующих установившейся практике, лицу, первому изъявившему такое желание и уведомившему об этом патентообладателя и федеральный орган исполнительной власти по интеллектуальной собственности, – гражданину РФ или российскому юридическому лицу. |
|
(21), (22) Заявка: 2004129469/03, 07.10.2004
(24) Дата начала отсчета срока действия патента:
07.10.2004
(45) Опубликовано: 10.03.2006
(56) Список документов, цитированных в отчете о поиске:
SU 899833 А, 23.01.1982. RU 2070957 C1, 27.12.1996. SU 1146399 A, 23.03.1985. SU 414400 А, 05.02.1974. SU 438774 A, 05.08.1974. SU 2002026 С1, 30.10.1993.
Адрес для переписки:
123182, Москва, ул. Авиационная, 68, кв.490, Н.М. Панину
|
(72) Автор(ы):
Ясашин Виталий Анатольевич (RU), Сериков Дмитрий Юрьевич (RU), Панин Николай Митрофанович (RU)
(73) Патентообладатель(и):
Ясашин Виталий Анатольевич (RU), Сериков Дмитрий Юрьевич (RU), Панин Николай Митрофанович (RU)
|
(54) РАЗЪЕДИНИТЕЛЬНЫЙ ПЕРЕХОДНИК
(57) Реферат:
Изобретение относится к противоаварийному инструменту, а именно к разъединительным устройствам, предназначенным для отсоединения свободной части колонны труб от прихваченной в скважине. Обеспечивает повышение надежности работы и упрощение технологии изготовления разъединительного переходника. Устройство включает составной корпус, состоящий из верхней и нижней частей, между которыми расположен уплотнительный узел, размещенный над узлом передачи крутящего момента, соединяющим между собой части корпуса и выполненным в виде шлицевого соединения, и седло под бросовый клапан. Устройство снабжено узлом передачи осевой нагрузки в виде цанги с выступами на наружной поверхности пружинных лепестков. Неразрезной конец цанги соединен с верхней частью корпуса. Выступы цанги размещены в кольцевой расточке, выполненной на внутренней поверхности нижней части корпуса. Выступы цанги зафиксированы в рабочем положении седлом под бросовый клапан, зафиксированным в свою очередь пружиной сжатия, установленной на стопорном кольце, жестко соединенном с нижней частью корпуса. Разрезная часть цанги выполнена с внутренней конической поверхностью, а седло под бросовый клапан с ответной наружной поверхностью. 2 ил. 
Изобретение относится к противоаварийному инструменту, а именно к разъединительным устройствам, предназначенным для отсоединения свободной части колонны труб от прихваченной в скважине.
Известно разъединительное устройство, включающее корпус, верхний и нижний переходники, последний из которых соединен с корпусом посредством левой резьбы и стопорных пальцев, и подвижный шток с поршнем, установленный в корпусе с возможностью взаимодействия со стопорными пальцами (см. авт. св. СССР N438774, кл. 21 В 17/06, 1973 г.)
Недостатком известного устройства является сложность конструкции и оставление в скважине значительного количества деталей после разъединения колонны.
Известно разъединительное устройство, разъединительный переходник, включающий составной корпус, состоящий из верхней и нижней частей, соединенных между собой посредством узлов передачи крутящего момента осевой нагрузки, и седло под бросовый клапан (см. патент России №2002026, кл. Е 21 В 17/06, 1991 г.)
Данное устройство имеет более простую конструкцию по сравнению с аналогом и после его срабатывания в скважине остается только нижний переходник с клапаном, что значительно упрощает проведение дальнейших ловильных работ.
Наиболее близким к предложенному по технической сущности и достигаемому результату является разъединительный переходник, включающий составной корпус, состоящий из верхней и нижней частей, между которыми расположен уплотнительный узел, размещенный над узлом передачи крутящего момента, соединяющим между собой части корпуса и выполненным в виде шлицевого соединения (см. авт. св. СССР N899833, кл. 21 В 17/06, 1982).
К отрицательным сторонам прототипа можно отнести недостаточную надежность из-за невозможности использования стопорных пальцев необходимого размера, что имеет особое значение при бурении скважин малого диаметра, а также определенную сложность изготовления, связанную с необходимостью точного совмещения осевых отверстий для стопорных пальцев трех сопрягаемых деталей: поршня, корпуса и нижнего переходника.
В связи с изложенным технической задачей изобретения является повышение надежности работы и упрощение технологии изготовления разъединительного переходника.
Указанная техническая задача решается тем, что в разъединительном переходнике, включающем составной корпус, состоящий из верхней и нижней частей, между которыми расположен уплотнительный узел, размещенный над узлом передачи крутящего момента, соединяющим между собой части корпуса и выполненным в виде шлицевого соединения, и седло под бросовый клапан, согласно изобретению устройство снабжено узлом передачи осевой нагрузки в виде цанги с выступами на наружной поверхности пружинных лепестков, при этом неразрезной конец цанги соединен с верхней частью корпуса, а выступы цанги размещены в кольцевой расточке, выполненной на внутренней поверхности нижней части корпуса, и зафиксированы в рабочем положении седлом под бросовый клапан, зафиксированным в свою очередь пружиной сжатия, установленной на стопорном кольце, жестко соединенном с нижней частью корпуса, причем разрезная часть цанги выполнена с внутренней конической поверхностью, а седло под бросовый клапан с ответной наружной поверхностью.
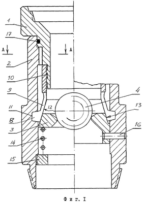
На фиг.1 изображен общий вид разъединительного устройства; на фиг.2 – сечение А-А на фиг.1.
Разъединительный переходник содержит составной корпус (см. фиг.1), состоящий из верхней и нижней частей 1 и 2 соответственно, и седло 3 под бросовый клапан преимущественно в виде шара 4. Верхняя и нижняя части 1 и 2 корпуса соединены между собой посредством узлов передачи крутящего момента и осевой нагрузки. Узел передачи крутящего момента выполнен в виде шлицевого соединения (см. фиг.2), образованного шлицами 5 и 6 соответственно на внутренней и наружной поверхностях нижней 2 и верхней частей 1 корпуса. Узел передачи осевой нагрузки выполнен в виде цанги 7 с выступами 8 на наружной поверхности пружинных лепестков 9. Неразрезной конец цанги 7 разъемно посредством резьбы 10 соединен с верхней частью 1 корпуса, а выступы 8 цанги 7 размещены в кольцевой расточке 11, выполненной на внутренней поверхности нижней части 2 корпуса, и зафиксированы в рабочем положении седлом 3 под бросовый клапан. С этой целью разрезная часть цанги 7 выполнена с внутренней конической поверхностью 12, а седло 3 под бросовый клапан – с ответной конической наружной поверхностью 13. В рабочем положении контактирующие поверхности 12 и 13 удерживаются или пружиной 14, размещенной между нижним торцом седла 3 и верхним торцом стопорного кольца 15, жестко соединенного с нижней частью 2 корпуса, или срезным элементом 16 (см. правую часть фиг.1), посредством которого седло 3 фиксируется относительно нижней части 2 корпуса. Верхняя 1 и нижняя 2 части корпуса снабжены узлом уплотнения 17, расположенным над узлом передачи крутящего момента. Узел уплотнения 17 в зависимости от условий эксплуатации может содержать одно или несколько колец из соответствующего материала, обеспечивающих надежную герметизацию корпуса переходника.
Монтаж устройства осуществляют в следующей последовательности. После монтажа узла уплотнения 17 к верхней части 1 корпуса присоединяют цангу 7. Затем верхнюю часть 1 корпуса вместе с цангой 7, вводя в полость нижней части 2 корпуса до совмещения выступов 8 цанги 7 с кольцевой расточкой 11 нижней части 2 корпуса и при одновременном совмещении шлицев 5 и 6. После этого выступы 8 цанги 7 фиксируют седлом 3 клапана 4.
В собранном виде разъединительное устройство включают в состав компоновки бурового инструмента над турбобуром, колонковым снарядом или другой частью компоновки, имеющей наибольший диаметр. В процессе бурения крутящий момент передается через шлицы 5 и 6, а осевая нагрузка вниз через контактные торцевые поверхности верхней и нижней частей 1 и 2 корпуса. При подъеме осевая нагрузка передается через цангу 7. В случае прихвата снаряда сбрасывают клапан 4 и начинают прокачивать промывочную жидкость. Под давлением промывочной жидкости седло клапана 3 опускается вниз, сжимая пружину 14 или срезая штифты 16. В результате этого цанга 7 освобождается и при приложении осевой нагрузки вверх происходит разъединение колонны, что определяется уменьшением веса на крюке. При этом верхняя часть 1 корпуса вместе с цангой 7 извлекаются на поверхность.
Предложенная конструкция разъединителя имеет более простую конструкцию и повышает надежность его работы.
Формула изобретения
Разъединительный переходник, включающий составной корпус, состоящий из верхней и нижней частей, между которыми расположен уплотнительный узел, размещенный над узлом передачи крутящего момента, соединяющим между собой части корпуса и выполненным в виде шлицевого соединения, и седло под бросовый клапан, отличающийся тем, что устройство снабжено узлом передачи осевой нагрузки в виде цанги с выступами на наружной поверхности пружинных лепестков, при этом неразрезной конец цанги соединен с верхней частью корпуса, а выступы цанги размещены в кольцевой расточке, выполненной на внутренней поверхности нижней части корпуса, и зафиксированы в рабочем положении седлом под бросовый клапан, зафиксированным, в свою очередь, пружиной сжатия, установленной на стопорном кольце, жестко соединенном с нижней частью корпуса, причем разрезная часть цанги выполнена с внутренней конической поверхностью, а седло под бросовый клапан – с ответной наружной поверхностью.
РИСУНКИ
|
|