|
|
(21), (22) Заявка: 2003127862/03, 15.09.2003
(24) Дата начала отсчета срока действия патента:
15.09.2003
(43) Дата публикации заявки: 10.04.2005
(45) Опубликовано: 10.03.2006
(56) Список документов, цитированных в отчете о поиске:
RU 2170322 C1, 10.07.2001. SU 1070294 А, 30.01.1984. SU 1768744 А1, 15.10.1992. RU 2103472 С1, 27.01.1998. RU 2126482 С1, 20.02.1999. RU 2211909 C2, 10.09.2003. US 4842059 А1, 27.06.1989.
Адрес для переписки:
628481, Тюменская обл., г. Когалым, ул. Дружбы Народов, 15, ООО “КогалымНИПИнефть”, патентоведу
|
(72) Автор(ы):
Газаров Аленик Григорьевич (RU), Никитин Вячеслав Михайлович (BY), Эпштейн Аркадий Рувимович (RU)
(73) Патентообладатель(и):
Общество с ограниченной ответственностью Когалымский научно-исследовательский и проектный институт нефти (ООО “КогалымНИПИнефть”) (RU)
|
(54) МУФТА СОЕДИНИТЕЛЬНАЯ НАСОСНО-КОМПРЕССОРНЫХ ТРУБ
(57) Реферат:
Изобретение относится к нефтегазодобывающей промышленности, в частности к защите насосно-компрессорных труб (НКТ), обсадной и штанговой колонны и снижению упругих деформаций в опасных сечениях спускаемой установки погружного центробежного насоса (УПЦН) в интенсивно искривленных скважинах. Обеспечивает повышение эффективности работы глубинно-насосного оборудования (ГНО), снижение изгибающих усилий в НКТ, муфт и участков обсадной колонны в интервале глубин набора кривизны, улучшение динамических характеристик ГНО, его долговечности, предупреждение усталостной коррозии и упрощение конструкции муфты соединительной. Сущность: муфта содержит корпус, неподвижную полумуфту и подвижную относительно корпуса полумуфту, имеющую внешнюю сферическую поверхность. Неподвижная полумуфта имеет внутреннюю сферическую поверхность и ввернута в корпус. В нижней части корпуса выполнена внутренняя сферическая поверхность, сопрягаемая с нижней частью сферической поверхности подвижной полумуфты. На сферической части подвижной полумуфты выполнены канавки под уплотнения и сквозные отверстия, соединяющие их с внутренней поверхностью подвижной полумуфты. В корпусе размещены установочные винты, входящие в выполненные в подвижной полумуфте глухие гладкие отверстия, диаметр которых обеспечивает возможность перемещения подвижной полумуфты в азимутальной плоскости, не препятствуя ее угловому перемещению относительно поперечной оси. Кольцевое пространство между корпусом и сферическими поверхностями полумуфт заполнено графитовой смазкой, а в верхней части подвижной полумуфты выполнена фаска. 1 ил. 
Изобретение относится к нефтегазодобывающей промышленности, в частности к защите насосно-компрессорных труб (НКТ), обсадной и штанговой колонны и снижению упругих деформаций в опасных сечениях спускаемой установки погружного центробежного насоса (УПЦН) в интенсивно искривленных скважинах.
Известна соединительная муфта, предназначенная для жесткого и герметичного соединения насосно-компрессорных труб без взаимного смещения осей [1].
Недостатком известного устройства является низкая эффективность в условиях сильного искривления ствола добывающих скважин и в основном решает задачу герметичности соединения НКТ в вертикальных скважинах и скважинах малой кривизны.
Наиболее близким по технической сущности к предлагаемому изобретению является шарнирное устройство для соединения труб [2] – прототип.
Недостатком известного устройства является сложность конструкции узла углового перемещения из-за размещения в полом корпусе втулки со сферическим фланцем и тем самым значительного снижения проходного сечения и невозможности использования конструкции в интенсивно искривленных скважинах, оснащенных установками штанговых глубинных насосов (УШГН) и вооруженных штанговыми колоннами со скребками-центраторами.
Целью изобретения является повышение эффективности работы глубинно-насосного оборудования (ГНО), снижение изгибающих усилий в НКТ, муфт и участков обсадной колонны в интервале глубин набора кривизны, улучшение динамических характеристик ГНО, его долговечности, предупреждение усталостной коррозии и упрощение конструкции муфты соединительной.
Поставленная цель достигается тем, что муфта соединительная насосно-компрессорных труб, содержащая корпус, неподвижную полумуфту и подвижную относительно корпуса полумуфту, имеющую внешнюю сферическую поверхность, согласно изобретению неподвижная полумуфта имеет внутреннюю сферическую поверхность и ввернута в корпус, в нижней части которого выполнена внутренняя сферическая поверхность, сопрягаемая с нижней частью сферической поверхности подвижной полумуфты, а на сферической части подвижной полумуфты выполнены канавки под уплотнения и сквозные отверстия, соединяющие их с внутренней поверхностью подвижной полумуфты, при этом в корпусе размещены установочные винты, входящие в выполненные в подвижной полумуфте глухие гладкие отверстия, диаметр которых обеспечивает возможность перемещения подвижной полумуфты в азимутальной плоскости, не препятствуя ее угловому перемещению относительно поперечной оси, причем кольцевое пространство между корпусом и сферическими поверхностями полумуфт заполнено графитовой смазкой, а в верхней части подвижной полумуфты выполнена фаска.
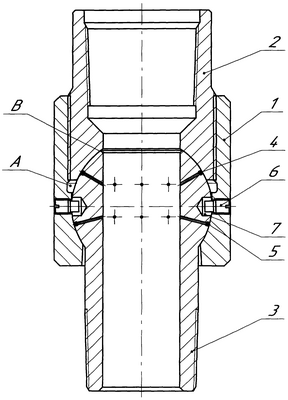
На чертеже изображена муфта соединительная насосно-компрессорных труб. Муфту соединительную насосно-компрессорных труб располагают сразу после установки погружного центробежного насоса, а также между трубами НКТ, в местах интенсивного искривления обсадной колонны (скважины). Муфта соединительная содержит корпус 1, неподвижную полумуфту 2, подвижную полумуфту 3, уплотнительные кольца 4 и 5, установочные винты 6 в корпусе 1 и глухие гладкие отверстия 7, выполненные диаметром с возможностью перемещения подвижной полумуфты в азимутальной плоскости, не препятствуя ее угловому перемещению относительно поперечной оси. Кольцевое пространство А между корпусом и сферическими поверхностями полумуфт при сборке заполняют графитовой смазкой, обеспечивая улучшение антифрикционных свойств материала муфты соединительной и предотвращая износ контактируемых поверхностей. Фаска В в верхней части подвижной полумуфты предотвращает «зацепы» при проведении геофизических и ремонтных работ (разрушение сбивного клапана) в НКТ.
Устройство работает следующим образом. При возникновении на участках искривления ствола скважины изгибающих усилий подвижная полумуфта 3 смещается относительно корпуса 1 и неподвижной полумуфты 2, центрируя колонну НКТ в обсадной колонне, тем самым снимая напряжения в теле насосно-компрессорных труб от изгибающих нагрузок в искривленных скважинах. Сквозные отверстия, соединяющие внутреннюю полость подвижной полумуфты 3 с канавками уплотнительных колец 4 и 5, позволяют обеспечить дополнительную герметизацию трубного пространства муфтового соединения.
Использование предлагаемой муфты соединительной насосно-компрессорных труб позволит «исправить» форму ствола скважины, а также улучшить технологический режим эксплуатации насосного оборудования.
Поскольку значение напряжений от изгиба насосно-компрессорных труб сопоставимо со значением напряжений от растяжений, предотвращение напряжений от изгиба ведет также к снижению частоты обрыва насосно-компрессорных труб в наклонных и спиралевидных скважинах, созданию благоприятных условий работы УПЦН, предотвращению отворота и обрыва штанг УСШН и тем самым к увеличению времени наработки скважинного оборудования на отказ.
Источники информации
1. Трубы нефтяного сортамента: Справочник. Под общей ред. А.Е.Сарояна. – 3-е изд., перераб. и доп. – М.: Недра, 1987, 488 с.
2. Патент RU 2170322, Е 21 В 17/05.
Формула изобретения
Муфта соединительная насосно-компрессорных труб, содержащая корпус, неподвижную полумуфту и подвижную относительно корпуса полумуфту, имеющую внешнюю сферическую поверхность, отличающаяся тем, что неподвижная полумуфта имеет внутреннюю сферическую поверхность и ввернута в корпус, в нижней части которого выполнена внутренняя сферическая поверхность, сопрягаемая с нижней частью сферической поверхности подвижной полумуфты, а на сферической части подвижной полумуфты выполнены канавки под уплотнения и сквозные отверстия, соединяющие их с внутренней поверхностью подвижной полумуфты, при этом в корпусе размещены установочные винты, входящие в выполненные в подвижной полумуфте глухие гладкие отверстия, диаметр которых обеспечивает возможность перемещения подвижной полумуфты в азимутальной плоскости, не препятствуя ее угловому перемещению относительно поперечной оси, причем кольцевое пространство между корпусом и сферическими поверхностями полумуфт заполнено графитовой смазкой, а в верхней части подвижной полумуфты выполнена фаска.
РИСУНКИ
|
|