|
|
(21), (22) Заявка: 2004107859/03, 17.03.2004
(24) Дата начала отсчета срока действия патента:
17.03.2004
(43) Дата публикации заявки: 27.09.2005
(45) Опубликовано: 10.03.2006
(56) Список документов, цитированных в отчете о поиске:
ГРУЗДИЛОВИЧ и др. Бурение скважин с применением колтюбинга. «Бурение. Специальное приложение к журналу «Нефть и Капитал». №2, ноябрь 2001, с.32-35. SU 1774985 A3, 07.11.1992. RU 2061834 С1, 10.06.1996. RU 2144976 C1, 27.01.2000. US 3724567 A, 03.04.1973. US 4585061 A, 29.04.1986. US 5195591 A, 23.05.1993. US 6318480 B1, 20.11.2001.
Адрес для переписки:
123423, Москва, ул. Народного Ополчения, 11, корп.4, кв.57, С.С. Яковлеву
|
(72) Автор(ы):
Яковлев Сергей Сергеевич (RU), Яковлев Александр Сергеевич (RU)
(73) Патентообладатель(и):
Яковлев Сергей Сергеевич (RU)
|
(54) КОМПОНОВКА БУРИЛЬНОЙ КОЛОННЫ ДЛЯ БУРЕНИЯ ПРОДУКТИВНЫХ ОТЛОЖЕНИЙ НА ДЕПРЕССИИ
(57) Реферат:
Изобретение относится к бурению нефтяных и газовых скважин и может использоваться для разбуривания продуктивных отложений на депрессии с промывкой скважины облегченными растворами и газожидкостными системами. Компоновка бурильной колонны для бурения на депрессии включает безмуфтовую длинномерную гибкую трубу, замковые трубы, соединяемые между собой посредством резьбы, и забойный инструмент. Безмуфтовая длинномерная гибкая труба расположена в верхней части бурильной колонны между замковыми трубами и устьем скважины. Длина рабочей части гибкой трубы, сматываемой с барабана и подаваемой в скважину в процессе бурения, имеет длину, по крайней мере, не меньшую, чем проектная длина интервала бурения на депрессии. Снижается стоимость применяемого оборудования и повышается технологичность разбуривания. 1 ил. 
Изобретение относится к бурению нефтяных и газовых скважин и может использоваться для разбуривания продуктивных отложений на депрессии с промывкой скважины облегченными растворами и газожидкостными системами.
Известна компоновка бурильной колонны, применяемая при бурении на депрессии, состоящая из замковых труб, соединяемых друг с другом посредством резьбы, и забойного инструмента (Л.Груздилович и др. Бурение скважин с применением колтюбинга, “Бурение” – Специальное приложение к журналу “Нефть и капитал”; №2, ноябрь 2001, с.32-35).
Недостатком такой компоновки является то, что при наращивании инструмента по мере углубления скважины необходимо каждый раз разгерметизировать бурильную колонну и прерывать промывку скважины.
Известна компоновка бурильной колонны (прототип) для бурения на депрессии, состоящая из безмуфтовой длинномерной гибкой трубы (БДГТ), сматываемой при бурении с барабана (система колтюбинг), и забойного инструмента, позволяющая бурить весь необходимый интервал без разгерметизации устья и прерывания промывки скважины (Л.Груздилович и др. Бурение скважин с применением колтюбинга, “Бурение” – Специальное приложение к журналу “Нефть и капитал”, №2, ноябрь 2001, с.32-35).
Такая компоновка обладает следующими недостатками:
– невозможность использования утяжеленных бурильных труб (УБТ);
– потеря устойчивости бурильной колонны и интенсивное ее скручивание по всей длине и низкая, в этой связи, технологичность бурения;
– большая масса барабана с гибкой трубой и необходимость использования большегрузных дорогостоящих транспортных средств для транспортирования колтюбинговых установок для бурения скважин.
Задачей изобретения является снижение стоимости оборудования и повышение технологичности бурения по сравнению с прототипом при разбуривании продуктивных отложений на депрессии.
Поставленная задача решается за счет того, что компоновка бурильной колонны для бурения на депрессии включает безмуфтовую длинномерную гибкую трубу, замковые трубы, соединяемые между собой посредством резьбы, и забойный инструмент, при этом безмуфтовая длинномерная гибкая труба расположена в верхней части бурильной колонны между замковыми трубами и устьем скважины, а длина рабочей части гибкой трубы, сматываемой с барабана и подаваемой в скважину в процессе бурения, имеет длину, по крайней мере, не меньшую, чем проектная длина интервала бурения на депрессии.
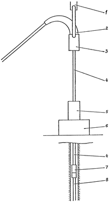
Схема компоновки бурильной колонны и устьевого оборудования для разбуривания продуктивных отложений на депрессии (вариант) приведена на чертеже, где 1 – элемент талевой системы буровой установки, 2 – направляющий гусак гибкой трубы, 3 – клиновой элеватор, 4 – БДГТ, 5 – инжектор, 6 – ротор, 7 – стыковочная муфта, 8 – НКТ или бурильные трубы.
Разбуривание продуктивных отложений предлагаемой компоновкой бурильной колонны осуществляется следующим образом (вариант). Перед вскрытием продуктивных отложений скважину оборудуют легким буровым станком (например, А-50) и колтюбинговой установкой с намотанным на барабан фрагментом БДГТ необходимой длины, при этом верхний конец гибкой трубы закреплен на барабане и имеет гидравлическую связь с системой закачивания промывочной жидкости в скважину. На устье скважины монтируется инжектор и герметизатор (на схеме не показан). Инжектор служит для затаскивания нижнего конца БДГТ от барабана по технологическому тракту к устью скважины, центровки БДГТ, относительно оси скважины, удержания БДГТ при движении клинового элеватора относительно гибкой трубы. Герметизатор обеспечивает уплотнение БДГТ в процессе бурения на депрессии всего необходимого интервала. Бурильная колонна, состоящая из замковых труб, наращивается гибким хвостовиком 4 посредством стыковочной муфты 7, не требующей взаимного вращения соединяемых труб. При бурении бурильная колонна (гибкий хвостовик с подвешенной на ней колонной замковых труб и забойным инструментом) удерживается на весу талевой системой с помощью клинового элеватора 3, расположенного на некотором расстоянии над ротором. По мере углубления скважины при разгружении части веса бурильной колонны на забой и дохождения клинового элеватора до ротора бурильная колонна перевешивается на клинья ротора, а клиновой элеватор, освобожденный от веса бурильной колонны, приподнимается на определенную высоту и на него снова перегружается бурильная колонна, после чего бурение продолжается.
Предлагаемая компоновка бурильной колонны может использоваться для вскрытия продуктивных отложений в вертикальных и наклонных скважинах, а также при бурении горизонтальных участков боковых стволов.
Наиболее рациональным является применение предлагаемого технического решения при бурении на депрессии небольших горизонтальных окончаний боковых стволов с малым радиусом кривизны с использованием компоновки с нижним гибким хвостовиком (заявка 2002111838/03(012853) от 07.05.2002, решение о выдаче патента на изобретение от 03.02.2004). При этом набор кривизны по малому радиусу до выхода на горизонтальное направление осуществляется компоновкой без верхнего фрагмента БДГТ с промывкой обычным буровым раствором согласно заявке 2002111838/03(012853), а бурение горизонтального окончания в пределах продуктивного пласта осуществляется на депрессии с включением в компоновку дополнительно верхнего фрагмента БДГТ согласно данной заявке.
При бурении горизонтальных окончаний боковых стволов ориентирование забойного инструмента для поддержания горизонтального направления бурения осуществляется методами, применяемыми при бурении колтюбингом. В этом случае при использовании кабельной связи устьевого оборудования с забойным инструментом кабель может быть составным, т.е. сращиваться при наращивании колонны замковых труб гибким хвостовиком посредством стыковочной муфты, которая в этом случае должна обеспечивать как механическое, так и электрическое сочленение элементов компоновки.
Положительный эффект по сравнению с прототипом при использовании заявляемой компоновки бурильной колонны для бурения продуктивных отложений на депрессии достигается за счет снижения стоимости применяемого оборудования и повышения технологичности бурения.
Формула изобретения
Компоновка бурильной колонны для бурения на депрессии, включающая безмуфтовую длинномерную гибкую трубу, замковые трубы, соединяемые между собой посредством резьбы, и забойный инструмент, отличающаяся тем, что безмуфтовая длинномерная гибкая труба расположена в верхней части бурильной колонны между замковыми трубами и устьем скважины, а длина рабочей части гибкой трубы, сматываемой с барабана и подаваемой в скважину в процессе бурения, имеет длину, по крайней мере, не меньшую, чем проектная длина интервала бурения на депрессии.
РИСУНКИ
MM4A – Досрочное прекращение действия патента СССР или патента Российской Федерации на изобретение из-за неуплаты в установленный срок пошлины за поддержание патента в силе
Дата прекращения действия патента: 18.03.2008
Извещение опубликовано: 27.03.2010 БИ: 09/2010
|
|