|
|
(21), (22) Заявка: 2002111438/63, 30.04.2002
(24) Дата начала отсчета срока действия патента:
30.04.2002
(45) Опубликовано: 10.03.2006
(56) Список документов, цитированных в отчете о поиске:
RU 2145013 C1, 01.04.2000. RU 2132575 C1, 27.06.1999. RU 2147088 C1, 27.03.2000. RU 2156388 C1, 22.12.1999. RU 2109185 C1, 20.04.1998. US 5222776 A, 29.06.1993.
Адрес для переписки:
113035, Москва, ул. Садовническая, 67, стр.2, руководителю ООО “ТРАНС-ПЛОМБИР”
|
(72) Автор(ы):
Лажинцев Олег Аркадьевич (RU)
(73) Патентообладатель(и):
Общество с ограниченной ответственностью “ТРАНС-ПЛОМБИР” (RU)
|
(54) ТРОСОВОЕ ЗАПОРНО-ПЛОМБИРОВОЧНОЕ УСТРОЙСТВО
(57) Реферат:
Изобретение относится к области скобяных изделий и касается тросового запорно-пломбировочного устройства, содержащего трос, жестко закрепленный одним концом, и надеваемый на свободный конец троса запирающий механизм, состоящий из корпуса с внутренней поверхностью, дна, крышки, подпружиненного сепаратора и размещенных в посадочных гнездах сепаратора и выступающих из него фиксирующих элементов, выполненных в виде роликов, взаимодействующих при запирании с внутренней поверхностью корпуса и тросом. Дно, крышка и сепаратор имеют отверстия под трос. Отверстие в сепараторе со стороны передней стенки выполнено с двумя симметричными диаметрально расположенными перпендикулярно осям вращения роликов выступами. Посадочные гнезда в сепараторе выполнены таким образом, что ролики не разворачиваются в сепараторе, при этом в нижней части гнезда выполнены трапецеидальными. Две противоположные грани внутренней поверхности корпуса выполнены параллельными, а две другие противоположные грани расположены под углом. 2 з.п. ф-лы, 7 ил. 
Изобретение относится к запирающим устройствам, предназначенным для защиты дверей контейнеров, железнодорожных вагонов, люков цистерн, штурвалов хоппер-зерновозов и т.п. от проникновения к перевозимым в них грузам посторонних лиц или злоумышленников.
Известно тросовое запорно-пломбировочное устройство (1), содержащее трос, жестко закрепленный одним концом, и надеваемый на свободный конец троса запирающий механизм, состоящий из корпуса с внутренней полостью, состоящей из участков с конической и цилиндрической поверхностями, крышки, неразъемно-соединенной с корпусом, подпружиненного сепаратора и размещенных в сепараторе и выступающих из него фиксирующих элементов, взаимодействующих при запирании с внутренней конической поверхностью и тросом.
Недостатком известного устройства является его недостаточно высокая стойкость к несанкционированному вскрытию. Так, при неоднократных подергиваниях троса не исключается проскальзывание троса в зоне контакта с шариками. А это, в конечном итоге, может привести к вытягиванию троса из запирающего механизма, т.е. не исключается возможность несанкционированного вскрытия устройства. Кроме того, устройство имеет относительно большое количество деталей, т.к. кроме трех шариков, смонтированных в сепараторе, оно имеет толкатель, упор и т.п.
Известно устройство (2), содержащее трос и запирающий механизм, надеваемый на свободный конец троса. В стенках корпуса со стороны его конической поверхности по образующей корпуса выполнен паз, который предназначен для размещения в нем фиксирующего трос элемента. Этот элемент зажимает один конец троса между конической поверхностью корпуса и размещенным в нем сепаратором. Паз в корпусе препятствует проворачиванию сепаратора относительно корпуса при попытке сворачивания устройства.
Тем не менее устройство не гарантирует от несанкционированного вскрытия из-за радиального зазора между тросом и цилиндрическими образующими отверстия под трос в сепараторе. Дополнительное изготовление пазов в корпусе, обеспечение их параллельности между собой во избежание заклинивания роликов также следует отнести к недостаткам устройства.
Техническим результатом устройства является создание, с одной стороны, надежного, а, с другой стороны, простого в конструктивном отношении и недорого с экономической точки зрения запирающего устройства, поскольку оно не подлежит вторичному использованию. Последнее требование исключает возможность подлога и вторичного использования элементов устройства недобросовестными лицами.
Указанный технический результат достигается тем, что в тросовом запорно-пломбировочном устройстве, содержащем трос, жестко закрепленный одним концом, и надеваемый на свободный конец троса запирающий механизм, состоящий из корпуса с внутренней поверхностью, дна, крышки, подпружиненного сепаратора и размещенных в посадочных гнездах сепаратора фиксирующих элементов, выполненных в виде роликов, взаимодействующих при запирании с внутренней поверхностью корпуса и тросом, при этом дно, крышка и сепаратор с передней и задней стенками имеют отверстия под трос, отверстие в сепараторе со стороны передней стенке выполнено с двумя симметричными диаметрально расположенными перпендикулярно осям вращения роликов выступами, при этом посадочные гнезда в сепараторе выполнены таким образом, что ролики не разворачиваются в сепараторе, при этом в нижней части гнезда выполнены трапецеидальными, причем две противоположные грани внутренней поверхности корпуса выполнены параллельными, а две другие противоположные грани расположены под углом.
Кроме того, расстояние между выступами равно или немногим меньше расстояния между противоположно расположенными впадинами троса.
Кроме того, сами фиксирующие элементы, выполненные в виде роликов, могут быть снабжены кольцевыми, призматической формы выступами.
Анализ известных технических решений в исследуемой области позволяет сделать вывод об отсутствии в них признаков, сходных с существенными отличительными признаками в заявляемом устройстве, и признать заявляемое решение соответствующим критерию «изобретательский уровень».
Ниже изобретение поясняется на примере выполнения:
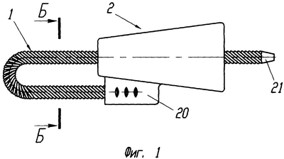
на фиг.1 изображен общий вид устройства;
на фиг.2 – запирающий механизм без троса, продольный разрез;
на фиг.3 – разрез по А-А на фиг.2;
на фиг.4 – вид со стороны дна;
на фиг.5 – вид со стороны крышки;
на фиг.6 – сечение троса по Б-Б на фиг.1;
на фиг.7 – увеличенный вид передней части сепаратора.
Тросовое запорно-пломбировочное устройство состоит из отрезка троса 1 и надеваемого на свободный конец троса запирающего механизма 2, состоящего из корпуса 3 с внутренней поверхностью, закрытого крышкой 4 и имеющего дно 5, причем крышка и дно неразъемно соединены с корпусом, например, путем завальцовки. Внутренняя поверхность корпуса 3 выполнена с четырьмя гранями (согласно графическому изображению на чертежах), причем две противоположные грани 6 выполнены параллельными, а другие две противоположные грани 7 расположены под углом, при этом угол составляет между ними 18-30°. Грани 7 являются рабочими.
Внутри корпуса 3 размещен сепаратор 8, подпружиненный со стороны крышки 4 с помощью пружины 9. В дне 5, сепараторе 8, имеющем переднюю 10 и заднюю 11 стенки и крышки 4, выполнены соосные отверстия 12, 13 и 14 соответственно. При этом со стороны передней стенки 10 в сепараторе отверстие 13 выполнено с двумя диаметрально расположенными перпендикулярно осям вращения О-О роликов 15 выступами 16. Расстояние между выступами lвыс равно или немногим меньше расстояния между противоположно расположенными впадинами lвп троса, т.е. lвыс lвп. Выступы 16, таким образом, практически полностью перекрывают радиальный зазор между тросом 1 и отверстием 13 в передней стенке 10 сепаратора 8 и тем самым предотвращают проникновение какого-либо предмета к роликам 15. Т.е. исключается возможность проникновения предметов небольшой толщины, но сравнительно достаточной жесткости между тросом и образующими поверхностями выступов, а следовательно, между тросом и роликами. В обратном случае указанные предметы, воспринимающие нагрузку роликов, освобождают трос от проникновения в его пряди роликов, и при неоднократном подергивании запирающего механизма с последующей прокруткой не исключается возможность скручивания запирающего механизма с троса.
В сепараторе 8 выполнены посадочные гнезда, при этом в нижней части 17 роликов 15 гнезда выполнены трапецеидальными, а в верхней части 18 они выполнены таким образом, что ролики не разворачиваются в сепараторе. Такое комбинированное использование гнезд исключает возможность разворота ролика в посадочном гнезде и в то же время позволяет цилиндрические образующие роликов приблизить к тросу.
Один конец троса закреплен в отверстии 19, выполненном в приливе 20 корпуса 3. Крепление выполнено преимущественно путем обжатия. Свободный конец троса 1 имеет рабочий заостренный конец 21 для более удобной заправки его в отверстия.
Тросовое запорно-пломбировочное устройство используется следующим образом: трос 1 пропускается сквозь проушины узла запирания и на его свободный конец надевается запирающий механизм 2. Заостренный конец 21 троса, проходящий через отверстие в дне 5 корпуса 3 и отверстие 13 передней стенке 10 сепаратора, упирается в находящееся в этом отверстии фиксирующие элементы-ролики. Сепаратор 8 под действием этого усилия сжимает пружину 9 и передвигается во внутренней полости корпуса 3 из участка 22 с меньшим поперечным сечением в участок 23 с большим, при этом сепаратор боковыми гранями контактирует с параллельными гранями 6. Фиксирующие элементы-ролики 15 при этом выходят из отверстия в сепараторе, освобождая проход троса 1 в отверстие 14 крышки 4. Причем ролики не разворачиваются в сепараторе, что обеспечивает легкое перемещение роликов вдоль рабочих граней 7 внутренней поверхности корпуса.
После того как будет выбрана петля троса и запирающий механизм 2 подойдет к проушинам, последний слегка оттягивают назад. Кольцевые выступы 24 призматической формы, которыми снабжены ролики 15, слегка погружаются в трос. При попытке силового извлечения троса 1 из запирающего механизма 2 он под действием сил трения захватывает ролики, которые вместе с сепаратором 8, переходя из участка 23 с большим поперечным сечением внутренней полости корпуса в участок 22 с меньшим поперечным сечением, начинают с большей силой стопорить трос 1. Причем, чем больше усилие, прикладываемое к тросу 1, тем дальше фиксирующие элементы-ролики вместе с сепаратором перемещаются в сторону с меньшим поперечным сечением внутренней полости корпуса 3, тем ниже опускаются ролики внутрь отверстия сепаратора 8 и тем сильнее они стопорят трос.
Исключение отжима роликов, т.е. несанкционированное открывание устройства, обеспечивается, как уже упоминалось ранее, выступами 16, которые выполнены со стороны передней стенки 10 сепаратора 8 в отверстии 13, которые перекрывают радиальный зазор между тросом 1 и упомянутым отверстием.
В предпочтительный пример осуществления изобретения могут быть внесены различные изменения, касающиеся формы, размеров, типа и расположения элементов в пределах сущности, а также объема данного изобретения, определенного формулой. В частности, корпус может быть выполнен цельнометаллическим (в виде стакана), ролики – рифлеными, а отрезок троса жестко скреплен с наконечником (дополнительная деталь на чертежах не указана), на котором может быть нанесена информация с индивидуальным номером устройства, кодом железной дороги, годом выпуска и товарным знаком.
Источники информации
1. Патент США №3994521.
2. Патент РФ №2132575.
Формула изобретения
1. Тросовое запорно-пломбировочное устройство, содержащее трос, жестко закрепленный одним концом, и надеваемый на свободный конец троса запирающий механизм, состоящий из корпуса с внутренней поверхностью, дна, крышки, подпружиненного сепаратора и размещенных в посадочных гнездах сепаратора и выступающих из него фиксирующих элементов, выполненных в виде роликов, взаимодействующих при запирании с внутренней поверхностью корпуса и тросом, при этом дно, крышка и сепаратор с передней и задней стенками имеют отверстия под трос, отличающееся тем, что отверстие в сепараторе со стороны передней стенки выполнено с двумя симметричными диаметрально расположенными перпендикулярно осям вращения роликов выступами, при этом посадочные гнезда в сепараторе выполнены таким образом, что ролики не разворачиваются в сепараторе, при этом в нижней части гнезда выполнены трапецеидальными, причем две противоположные грани внутренней поверхности корпуса выполнены параллельными, а две другие противоположные грани расположены под углом.
2. Устройство по п.1, отличающееся тем, что расстояние между выступами равно или меньше расстояния между противоположно расположенными впадинами троса.
3. Устройство по п.1, отличающееся тем, что ролики снабжены кольцевыми призматической формы канавками.
РИСУНКИ
MM4A – Досрочное прекращение действия патента СССР или патента Российской Федерации на изобретение из-за неуплаты в установленный срок пошлины за поддержание патента в силе
Дата прекращения действия патента: 01.05.2007
Извещение опубликовано: 27.07.2008 БИ: 21/2008
|
|