|
(21), (22) Заявка: 2004124699/03, 16.08.2004
(24) Дата начала отсчета срока действия патента:
16.08.2004
(45) Опубликовано: 10.03.2006
(56) Список документов, цитированных в отчете о поиске:
RU 2158336 С1, 27.10.2000. SU 1502732 A1, 23.08.1989. RU 2090708 C1, 20.09.1997. RU 2116408 C1, 27.07.1998. RU 2209274 C2, 27.07.2003. GB 2397634 A, 28.07.2004.
Адрес для переписки:
105062, Москва, ул. Покровка, 37, кв.44, В.П. Румянцеву
|
(72) Автор(ы):
Румянцев Валентин Павлович (RU), Левшуков Вячеслав Николаевич (RU), Левшуков Максим Вячеславович (RU)
(73) Патентообладатель(и):
Румянцев Валентин Павлович (RU), Левшуков Вячеслав Николаевич (RU)
|
(54) ЗАПОРНЫЙ МЕХАНИЗМ ПРЕИМУЩЕСТВЕННО ДЛЯ ВОДОСЛИВНОГО БАЧКА УНИТАЗА
(57) Реферат:
Изобретение относится к области санитарно-гигиенических устройств, а именно водосливным бачкам унитазов кнопочного типа. Техническим результатом является уменьшение весовых и габаритных размеров запорного узла водосливного бачка с одновременным повышением его живучести и надежности. Запорный механизм преимущественно для водосливного бачка унитаза содержит стойку с направляющими для трубки перелива, трубку перелива с соосно закрепленной на ней манжетой, узлы поднятия манжеты и удержания ее при сливе воды, причем узел удержания манжеты при сливе воды выполнен в виде установленного внутри трубки перелива и подпружиненного относительно нее клапана, нормально закрытого при заполненном водой бачке унитаза. Клапан установлен в нижней части трубки перелива с возможностью контакта своей рабочей кромкой с фаской, выполненной на торцевой части трубки перелива. 1 з.п.ф-лы, 1 ил. 
Предлагаемое изобретение относится преимущественно к области санитарно-гигиенических устройств, а именно водосливным бачкам унитазов.
Возможно также использование данного запорного механизма в автоматизированных системах полива и орошения открытого и закрытого типа, а также в жидкостных дозаторах, применяемых, например, в развлекательной индустрии воды и виноделии.
Несмотря на появление множества новых, перспективных с точки зрения экологии, экономии воды направлений в области создания механизмов для регулирования слива воды из водосливных бачков унитазов (например, вакуумного типа), запорные устройства манжетного типа по-прежнему являются самыми распространенными и постоянно совершенствуются.
Известен запорный механизм (1) для сливного бачка манжетного типа, в котором регулировка времени слива обеспечивается формой манжеты, выполненной в виде колокола, внутри которого находится воздух, обеспечивающий плавучесть подъемному узлу с манжетой в течение определенного времени, достаточного для слива порции воды без удержания кинематических элементов привода рукой.
Недостатком данной конструкции являлась невозможность использования ее без переделок в бачках с кнопочным нажимного типа приводом подъемного узла манжеты.
Известен запорный механизм водосливного бачка унитаза, содержащий стойку с направляющими для трубки перелива, трубку перелива с соосно закрепленной на ней манжетой, узлы поднятия манжеты и удержания ее при сливе воды, (2) с кнопочным приводом узла подъема манжеты.
Недостатком данного устройства является необходимость введения в его конструкцию специального элемента – поплавка для обеспечения функции плавучести узла подъемной манжеты, т.к. манжета установлена на подъемной сливной трубке, что привело к существенному увеличению веса и габаритов запорного узла в целом.
Вышеуказанное устройство выбрано автором в качестве прототипа предложенного, как наиболее близкое по технической сущности и достигаемому эффекту.
Задачей, которую автор ставил при разработке данного изобретения, являлось уменьшение весовых и габаритных размеров запорного узла с одновременным повышением его живучести и надежности.
Эта задача решена в конструкции запорного механизма преимущественно для водосливного бачка унитаза, содержащего стойку с направляющими для трубки перелива, трубку перелива с соосно закрепленной на ней манжетой, узел поднятия манжеты и узел удержания ее при сливе воды в виде установленного внутри трубки перелива и подпружиненного относительно нее клапана, нормально закрытого при заполненном водой бачке унитаза.
В варианте выполнения запорного механизма клапан установлен в нижней части трубки перелива с возможностью контакта своей рабочей кромкой с фаской, выполненной на торцевой части трубки перелива (сливной трубки).
Новыми существенными признаками устройства является выполнение узла удержания манжеты при сливе в виде подпружиненного клапана, установленного внутри трубки перелива и нормально закрытого при заполненном водой сливном бачке унитаза.
Новыми существенными признаками в варианте выполнения запорного механизма является установка клапана в нижней части трубки перелива с возможностью контакта рабочей кромкой с фаской, выполненной на торцевой части трубки перелива (сливной трубки).
Несмотря на общеизвестность стравливающих клапанов в технике (например, клапаны для стравливания воздуха в ресиверах и т.п.), в данной конструкции клапан, обеспечивая слив воды при переполнении бачка (известная функция), образует воздушный пузырь под манжетой, что увеличивает выталкивающую силу и не позволяет манжете резко закрыться после снятия усилия с кнопки спуска, удерживая узел поднятия манжеты на плаву при сливе воды из бачка.
По моему мнению, с такими функциями в других механизмах клапан еще не работал и поэтому считаю вышеуказанные отличия существенными.
В результате установки клапана в запорном механизме сливного бачка с вышеуказанными функциями значительно снижаются весовые и габаритные параметры механизма, а вследствие уменьшения в несколько раз площадей трения в кинематических парах механизма повышается живучесть и надежность его.
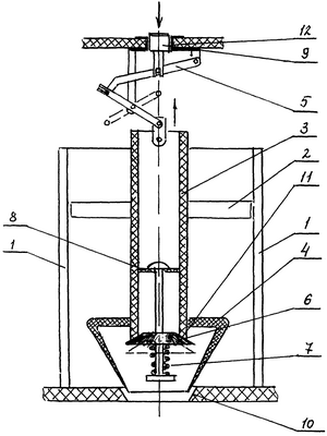
Предлагаемая конструкция изображена на прилагаемом чертеже, где:
1 – стойка;
2 – направляющие для трубки перелива;
3 – трубка перелива;
4 – манжета;
5 – узел подъема манжеты;
6 – клапан с рабочей кромкой;
7 – пружина клапана;
8 – направляющие клапана;
9 – кнопка слива;
10 – отверстие водосливного бачка (сливного бака);
11 – фаска на трубке перелива.
Работа механизма заключается в следующем.
При заполненном водой бачке манжета 4 прилегает к поверхности спускного отверстия 10 водосливного бачка и вода не имеет возможности сливаться из бачка.
При этом излишки воды, если они имеют место, переливаются через верхний край трубки 3 перелива, а клапан 6 не препятствует ее сливу, т.к. усилие столба воды выше, чем установленное усилие пружины 7 клапана 6.
При нажатии на кнопку 9 слива усилие через элементы узла 5 подъема манжеты передается на трубку 3 перелива, обеспечивая ее подъем вместе с манжетой 4 из отверстия 10 сливного бака и возможность слива воды из него.
При этом пружина 7 преодолевает давление уменьшившегося столба воды и закрывает клапан 6, обеспечивая прилегание его рабочей кромки к фаске 11 трубки перелива 3, в результате чего под манжетой 4 образуется воздушный пузырь, препятствующий резкому опусканию манжеты при снятии усилия с кнопки пуска 10 и обеспечивающий удержание узла поднятия манжеты на плаву при сливе воды из бака.
В результате бак постепенно опоражнивается полностью и далее процесс может быть повторен.
Автором изготовлен опытный образец запорного механизма из традиционных материалов для данного вида продукции с использованием известных технологий изготовления и сборки и испытан в реальных условиях с положительным эффектом, указанным в материалах заявки.
В настоящее время проводится работа по промышленной реализации устройства на одном из московских предприятий.
Литература.
1. А.С. №2090708 от 01.12.1993 г. МПК: Е 03 D, 1/34.
2. Патент РФ №2158336 от 12.11.1999 г. МПК: Е 03 D, 1/34.
Формула изобретения
1. Запорный механизм преимущественно для водосливного бачка унитаза, содержащий стойку с направляющими для трубки перелива, трубку перелива с соосно закрепленной на ней манжетой, узлы поднятия манжеты и удержания ее при сливе воды, отличающийся тем, что в нем узел удержания манжеты при сливе воды выполнен в виде установленного внутри трубки перелива и подпружиненного относительно нее клапана, нормально закрытого при заполненном водой бачке унитаза.
2. Запорный механизм преимущественно для водосливного бачка унитаза по п.1, отличающийся тем, что клапан установлен в нижней части трубки перелива с возможностью контакта своей рабочей кромкой с фаской, выполненной на торцевой части трубки перелива.
РИСУНКИ
MM4A – Досрочное прекращение действия патента СССР или патента Российской Федерации на изобретение из-за неуплаты в установленный срок пошлины за поддержание патента в силе
Дата прекращения действия патента: 17.08.2008
Извещение опубликовано: 20.07.2010 БИ: 20/2010
|