|
|
(21), (22) Заявка: 2002101261/03, 08.01.2002
(24) Дата начала отсчета срока действия патента:
08.01.2002
(43) Дата публикации заявки: 10.09.2003
(45) Опубликовано: 10.03.2006
(56) Список документов, цитированных в отчете о поиске:
RU 2145991 C1, 27.02.2000. SU 2005139 C1, 30.12.1993. SU 94587 A, 14.03.1959. SU 345310 A, 27.07.1972. SU 237188 A, 11.08.1969. SU 177355 A, 31.01.1966. SU 393520 A, 27.12.1973. DE 4121850 A1, 14.01.1993.
Адрес для переписки:
620017, г.Екатеринбург, пр. Космонавтов, 18, ОКБ “Новатор”, отдел 42, Л.А. Каргаеву
|
(72) Автор(ы):
Каргаев Леонид Александрович (RU)
(73) Патентообладатель(и):
Каргаев Леонид Александрович (RU)
|
(54) СМЕСИТЕЛЬ
(57) Реферат:
Изобретение относится к санитарно-техническому оборудованию и может быть использовано в системах водоснабжения, в частности кранах-смесителях. Техническим результатом является улучшение эксплуатационных характеристик смесителя и экономия воды. Смеситель содержит бачок, размещенный в виде насадки на конце горизонтального участка сливной трубки и состоящий из корпуса с седлом, дренажную систему бачка, выполненную в виде изолированной воздушной полости, сообщающей верхнюю часть внутренней полости бачка с пространством атмосферы, расположенным вне потока воды в зоне ее истечения из бачка, клапан с выступающим наконечником, имеющим суммарно с ним положительную плавучесть, и емкость в виде горизонтально расположенного патрубка, соединяющего конец горизонтального участка сливной трубки с бачком. Внутренняя полость патрубка сообщается с внутренней полостью бачка и ее нижний край расположен выше зоны контакта клапана с седлом корпуса бачка, ее верхний край не выше верхнего края корпуса бачка. Поперечное сечение внутренней полости патрубка не меньше поперечного сечения сливного отверстия бачка. Длина патрубка выбирается из расчета суммарного объема накопления воды в бачке и в патрубке, в 1,5-2 раза большего объема воды в бачке. Изобретение развито в зависимых пунктах. 2 з.п. ф-лы, 7 ил. 
Изобретение относится к санитарно-техническому оборудованию и может быть использовано в системах водоснабжения, в частности в кранах-смесителях.
Известно сливное устройство, используемое в смесителях, содержащее бачок с седлом и выходным отверстием и размещенное внутри бачка дозирующее устройство, выполненное в виде сферического клапана положительной плавучести и Г-образного поплавка, связанных между собой гибкой тягой (RU 2005140 C1, E 03 С 1/04, 30.12.93).
Основным недостатком указанного устройства является неустойчивая работа из-за отсутствия дренажирования воздуха, неопределенная ориентация клапана относительно седла и увеличение габаритов крана.
Известен смеситель, в котором сливное устройство выполнено в виде бачка с седлом и выходным отверстием и размещено внутри бачка для дозирования и автоматического открывания и закрывания выходного отверстия устройства, выполненного в виде сферического клапана положительной плавучести и сифонной трубки с дренажным отверстием на вершине изгиба, при этом сливной конец сифонной трубки связан с каналом в корпусе бачка, сообщающимся с выходным отверстием под клапаном (RU 2005139 C1, Е 03 С 1/04, 30.12.93).
Основным недостатком указанного крана-смесителя являются ограниченные возможности дренажирования воздуха, связанные с тем, что дренажирование осуществляется вовнутрь потока сливаемой воды, что затрудняет свободный (залповый) слив накопленной в бачке воды, а также автоматический слив в непотребный момент, сложность конструкции, невозможность использования один к одному у существующих смесителей различных конструкций.
Наиболее близким по технической сущности к достигаемому эффекту является известный смеситель (патент RU 2145991 C1), содержащий бачок, размещенный в виде насадки на конце горизонтального участка сливной трубки и состоящий из корпуса с седлом, дренажную систему бачка, выполненную в виде изолированной воздушной полости, сообщающей верхнюю часть внутренней полости бачка с пространством атмосферы, расположенным вне потока воды в зоне ее истечения из бачка, клапан с выступающим наконечником, имеющим суммарно с ним положительную плавучесть.
Основным недостатком указанного смесителя является невозможность увеличения объема накопления воды в случае затянувшегося технологического перерыва в водопотреблении, вследствие чего после заполнения бачка вода будет перетекать впустую (хоть и тонкой струйкой) в канализацию.
Исключается также возможность уменьшения размеров бачка при заданных объемах накопления и порционного залпового слива воды. Сочетание же сливной трубки (наружный 16) с резко выступающим на конце бачком ухудшает внешний вид устройства.
Задачей изобретения является улучшение эксплуатационных характеристик, экономия воды и обеспечение эстетического внешнего вида (дизайна).
Техническое решение этой задачи состоит в том, что в смесителе, содержащем бачок, размещенный в виде насадки на конце горизонтального участка сливной трубки и состоящий из корпуса с седлом, дренажную систему бачка, выполненную в виде изолированной воздушной полости, сообщающей верхнюю часть внутренней полости бачка с пространством атмосферы, расположенным вне потока воды в зоне ее истечения из бачка, клапан с выступающим наконечником, имеющим суммарно с ним положительную плавучесть, бачок снабжен дополнительной емкостью в виде горизонтально расположенного патрубка, соединяющего конец горизонтального участка сливной трубки с бачком, внутренняя полость патрубка, соединяющего конец горизонтального участка сливной трубки с бачком, сообщается с внутренней полостью бачка и ее нижний край расположен выше зоны контакта клапана с седлом корпуса бачка, ее верхний край не выше верхнего края корпуса бачка, а поперечное сечение внутренней полости патрубка не меньше поперечного сечения сливного отверстия бачка, при этом длина патрубка выбирается из расчета суммарного объема накопления воды в бачке и в патрубке, в 1,5-2 раза большего объема воды в бачке.
При этом верхняя часть клапана, начиная от зоны возможного контакта его с седлом корпуса бачка, выполнена усеченной, например в виде конуса, сливная трубка снабжена присоединительными элементами для отбора воды, например, в виде наружной резьбовой поверхности на бачке в зоне слива или в виде крана, установленного на трубке, например, перед патрубком. Патент RU №2145991 принят за ближайший прототип.
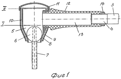
На фиг.1 изображена в разрезе сливная часть смесителя, на фиг.2 изображен клапан с усеченной верхней частью, выполненной в виде конуса. На фиг.3 изображен вариант компановки смесителя для мойки с вертикальным (нижним)подводом воды, на фиг.4 – вариант компановки смесителя с верхним подводом воды для ванны и мойки одновременно, на фиг.5 показан присоединительный элемент для отбора воды, выполненный на бачке в виде наружной резьбовой поверхности, а на фиг.6 изображен элемент для отбора воды в виде крана, установленный на трубке перед патрубком; на фиг.7 представлен один из вариантов внешнего вида бачка, выполненного с элементами полусферической формы.
Смеситель состоит из корпуса 1 (см. фиг.3, 4), снабженного вентильными головками 2 холодной и горячей воды, сливной трубки 3 с горизонтальной частью на конце, выполненной в виде резьбовой поверхности 4 (см. фиг.1), бачка 5, снабженного внутри клапаном 6 с наконечником 7, имеющим совместно положительную плавучесть. Бачок 5 состоит из корпуса 8, являющегося емкостью для накопления воды, кожуха 9, охватывающего корпус 8 с образованием изолированной полости 10 между ними для дренажирования воздуха из верхней части полости корпуса 8 в атмосферу в зоне слива воды вне ее потока. Кожух 9 герметично закрыт сверху крышкой 11, запирая возможность слива воды сверху. Корпус 8 бачка 5 снабжен горизонтально расположенным патрубком 12 с внутренней полостью 13, сообщающейся с полостью корпуса 8. Патрубок 12 с одной стороны соединен с горизонтальным резьбовым концом 4 сливной трубки 3 и законтрен гайкой 14, а с другой стороны проходит через кожух 9 с уплотнением по конусу и соединен с корпусом 8 при помощи резьбы. Полость 13 в поперечном сечении выполняется максимальной, но из условия, чтобы нижний край полости 13 располагался выше зоны контакта клапана с полостью (с седлом) корпуса 8, а верхний край полости 13 располагался не выше уровня II (верхнего края корпуса 8). Во всех случаях поперечное сечение полости 13 должно быть не менее поперечного сечения сливного отверстия бачка для обеспечения залпового перелива воды из полости 13 в бачок 5. Длина патрубка 12 выбирается из расчета увеличения суммарного объема накопления воды в бачке и в патрубке (исходя из возможности накопления воды в объеме большем, чем объем залпового слива из одного бачка с пригоршню рук (примерно в 1,5-2 раза большем объема воды в бачке)). Практически речь идет о накоплении воды с пригоршню крупных мужских рук. В этом случае бачок можно выполнить в меньшем объеме воды, а необходимую дополнительную потребность обеспечивать за счет емкости в патрубке. Для уменьшения габаритов клапана 6 и соответственно увеличения объема накопления воды в бачке верхняя часть клапана выполнена усеченной по размеру, например в виде конуса 15, желательно с тупым углом при вершине конуса. В случае отсутствия в корпусе 1 смесителя отводного штуцера для отбора воды (например, к стиральным автоматам) и для исключения необходимости снятия патрубка 12 с бачком со сливной трубки на кожухе 9 выполнено утолщение с резьбовой поверхностью 16 для подсоединения штуцера шлангов, либо на сливной трубке 3 устанавливается, например, перед патрубком кран 17 известной конструкции со штуцером 18.
Работа смесителя осуществляется следующим образом. При работе в водоэкономном режиме при поступлении воды тонкой струей (за счет перекрытия вентилей 2) сначала заполняется водой бачок 5 до уровня I, а затем идет заполнение водой одновременно в полостях бачка и в полости 13 патрубка 12. После заполнения патрубка вода достигает уровня II, соответствующего верхнему краю корпуса 8 (при невостребованности воды она будет перетекать тонкой струей через дренажную систему 10 на слив). В таком положении накапливается вода в бачке и в патрубке суммарно в объеме, превышающем объем емкости бачка (примерно в 1,5-2 раза). При подъеме клапана осуществляется залповый слив воды из бачка 5 и патрубка 12.
Большое сечение полости 13 патрубка 12 обеспечивает беспрепятственный перелив воды в бачок 5 и залповый слив ее из бачка без какого-либо длительного удержания рук под сливом, т.к. заполнение рук водой происходит так же быстро, как это осуществляется у смесителей с обычной сливной трубкой при широко открытых кранах. При малом объеме пригоршни или при досрочном опускании клапана вниз часть воды остается в бачке (и даже в патрубке), обеспечивая более быстрое очередное заполнение бачка до уровня II и возможность очередного водопотребления уже через меньший промежуток времени водопотребления. Работа смесителя в режиме непрерывного интенсивного слива выполняется также, как и в известном смесителе-прототипе без какого-либо воздействия на клапан, бачок или на патрубок с регулированием потока кранами, как это делается в существующих смесителях с обычной (общепринятой) сливной трубкой. При этом такой слив можно выполнить и с разовым подъемом клапана вверх, который будет оставаться наверху, пока не закроют кран. В этом случае непрерывный слив происходит через центральное отверстие и через дренажную полость одновременно.
Для отбора воды, например, к стиральным автоматам подсоединяют шланги через штуцеры (на фигурах не показаны) к присоединительным местам на сливной трубке 3, расположенным либо на кожухе 9 бачка в виде наружной резьбы 16 в зоне слива, либо на известном кране 17 с резьбовым штуцером 18.
Наличие патрубка 12 с дополнительной полостью 13 для накопления воды позволяет не только увеличить суммарный объем накопляемой воды, но и уменьшить размеры бачка. Сочетание бачка 5 с уменьшенными размерами и патрубка 12 обеспечивает более эстетический внешний вид за счет создания более плавных перепадов соединяемых элементов к сливной трубке 3. Представленная на фиг.7 насадка в виде бачка, выполненного с элементами сферической поверхности, плавно сопрягаемого с патрубком 12, создает еще более эстетический внешний вид сливной трубке.
Для обеспечения гарантированной экономии воды в местах общего пользования рекомендуется устанавливать в подводящих к смесителям трубопроводах краны с регулированием потока воды, независимо от воли потребителя, на заданную струю.
Таким образом, предложенная конструкция смесителя позволяет улучшить эксплуатационные характеристики, снизить расход воды и придать более эстетический внешний вид смесителю.
Учитывая то, что в процессе умывания технологические перерывы в водопотреблении составляют 90-95% и более общего времени работы смесителя и за это время насадка (бачок и патрубок) успевает заполняться к очередному полезному водопользованию (заполнению рук под сливом) даже при поступлении воды в бачок тонкой струей, потребление воды при умывании будет в 5-10 раз меньше, чем у существующих смесителей. При этом время накапливания воды в бачке и патрубке составит всего лишь 2-4 с, которые обеспечат комфортные условия умывания из-за исключения необходимости длительного удерживания рук под слив воды.
Формула изобретения
1. Смеситель, содержащий бачок, размещенный в виде насадки на конце горизонтального участка сливной трубки и состоящий из корпуса с седлом, дренажную систему бачка, выполненную в виде изолированной воздушной полости, сообщающей верхнюю часть внутренней полости бачка с пространством атмосферы, расположенным вне потока воды в зоне ее истечения из бачка, клапан с выступающим наконечником, имеющим суммарно с ним положительную плавучесть, отличающийся тем, что бачок снабжен дополнительной емкостью в виде горизонтально расположенного патрубка, соединяющего конец горизонтального участка сливной трубки с бачком, внутренняя полость патрубка сообщается с внутренней полостью бачка и ее нижний край расположен выше зоны контакта клапана с седлом корпуса бачка, ее верхний край – не выше верхнего края корпуса бачка, а поперечное сечение внутренней полости патрубка не меньше поперечного сечения сливного отверстия бачка, при этом длина патрубка выбирается из расчета суммарного объема накопления воды в бачке и в патрубке, в 1,5-2 раза большем объема воды в бачке.
2. Смеситель по п.1, отличающийся тем, что верхняя часть клапана, начиная от зоны контакта клапана с седлом корпуса бачка, выполнена усеченной, например, в виде конуса.
3. Смеситель по любому из пп.1 или 2, отличающийся тем, что сливная трубка снабжена присоединительными элементами для отбора воды, например, в виде наружной резьбовой поверхности на бачке в зоне слива или в виде крана, установленного на трубке, например, перед патрубком.
РИСУНКИ
MM4A – Досрочное прекращение действия патента СССР или патента Российской Федерации на изобретение из-за неуплаты в установленный срок пошлины за поддержание патента в силе
Дата прекращения действия патента: 09.01.2008
Извещение опубликовано: 27.07.2009 БИ: 21/2009
|
|