|
|
(21), (22) Заявка: 2004119678/04, 28.06.2004
(24) Дата начала отсчета срока действия патента:
28.06.2004
(45) Опубликовано: 10.03.2006
(56) Список документов, цитированных в отчете о поиске:
SU 1752188 A3, 30.07.1992. SU 1752189 A3, 30.07.1992. RU 2197677 C2, 27.01.2001. RU 2200184 C2, 10.03.2003. US 5308516 A, 03.05.1994. US 4787993 A, 29.11.1988.
Адрес для переписки:
674673, Читинская обл., г. Краснокаменск, ОАО “Приаргунское производственное горно-химическое объединение”
|
(72) Автор(ы):
Баженов Михаил Иванович (RU), Литвиненко Валерий Григорьевич (RU), Шелудченко Владимир Георгиевич (RU), Широглазов Владимир Викторович (RU), Кавинин Игорь Алексеевич (RU), Бугаев Алексей Иванович (RU)
(73) Патентообладатель(и):
Открытое акционерное общество “Приаргунское производственное горно-химическое объединение” (RU)
|
(54) СПОСОБ ИЗГОТОВЛЕНИЯ СМАЗОЧНОГО СТЕРЖНЯ
(57) Реферат:
Использование: на железнодорожном транспорте и в грузоподъемных механизмах для лубрикации пар трения “колесо – рельс”. Сущность: смазочный стержень изготавливают путем смешения графита и/или дисульфида молибдена со связующим с последующим прессованием композита, приданием ему формы цилиндра и формированием у последнего оболочки путем нанесения пропитанной эпоксидным клеем бумаги или пористой хлопчатобумажной ткани. В качестве связующего используют битум или его смесь с минеральным маслом. Содержание графита и/или дисульфида молибдена составляет 50-70 мас.%, связующего – остальное. При использовании смеси битума с минеральным маслом его содержание в битуме составляет 5-15 мас.%. Технический результат: снижение износа рельсовых путей и гребней колес подвижного состава и крановой техники за счет применения изделия, получаемого предлагаемым способом. 2 з. п. ф-лы, 1 табл., 1 ил. 
Изобретение относится к области производства смазочных изделий, которые могут быть использованы для лубрикации пар трения «колесо – рельс» железнодорожного транспорта и грузоподъемных механизмов.
Известна система смазки, в которой твердую смазку аккумулирует стаканообразный элемент, стенки которого способны изнашиваться при трении его кромки о смазываемую поверхность и выполнены из полиэтилена, или капрона, или поливинилхлорида, или политетрафторэтилена, или целлюлозы (патент RU 2197677, 27.01.2003).
К ее недостаткам относится неравномерный износ кромок стаканообразного элемента и нестабильное расходование твердой смазки, его заполняющей, что при осуществлении лубрикации пар трения «колесо -рельс» приводит к высокому расходу смазочных стержней и низким показателям снижения износа взаимодействующих поверхностей трения.
Известен также принятый за прототип способ изготовления смазочного стержня, заключающийся в смешении графита или дисульфида молибдена, эпоксидного клея, пропиленгликоля – 1,2 и дибутилфталата, с последующим прессованием композита и приданием ему формы стержня или бруска (патенты СССР 1752188 и 1752189, 30. 07. 1992). Диапазон граничных значений содержаний в применяемых смесях графита составлял 59-75 мас.%, дисульфида молибдена – 66-82 мас.%.
Основным недостатком получаемых известным способом смазочных стержней при их использовании на железнодорожном транспорте и крановой технике является весьма низкая смазывающая способность, что не позволяет достигать приемлемых показателей по снижению износа пар трения «колесо – рельс».
Техническим результатом изобретения является повышение смазывающих свойств изделия, получаемого предлагаемым способом и обеспечивающего эффективное снижение износа рельсовых путей, гребней колес подвижного состава и грузоподъемных механизмов.
Данный технический результат достигается применением смазочных стержней, изготовленных способом, включающим смешение графита и/или дисульфида молибдена со связующим, последующее прессование композита с приданием ему формы цилиндра и формирование у последнего оболочки, отличие которого состоит в том, что в качестве связующего используют битум или его смесь с минеральным маслом, а оболочку стержня формируют путем пропитки эпоксидным клеем бумаги или пористой хлопчатобумажной ткани с нанесением пропитанного клеем материала на сформированный в форме цилиндра композит;
содержание графита и/или дисульфида молибдена в последнем составляет 50-70 мас.%, битума или его смеси с минеральным маслом – остальное;
при использовании смеси битума с минеральным маслом его содержание в битуме составляет 5-15 мас.%.
Высокая эффективность применения получаемых предлагаемым способом смазочных стержней обусловлена прежде всего тем, что формируемая у стержня оболочка позволяет вводить в его состав достаточное количество пластичного, высокоадгезионного по отношению к защищаемым поверхностям материала, например битума или его смеси с минеральным маслом, обеспечивая при этом сохранение заданной формы смазочного изделия. За счет того, что толщина клеевой – тканевой либо бумажной оболочки стержня минимальна – не превышает 250 мкм, изнашиваясь, она не препятствует заданному расходу антифрикционного композита.
Практика проведения испытаний по сравнению образцов смазочных стержней, изготовленных различными способами, показала высокую степень корреляции данных, полученных на экспериментальной установке их тестирования, и результатов опробования изделий в промышленных условиях.
В основе установки тестирования смазочных стержней, позволяющей одновременно осуществлять оценку эффективности их применения и собственную износостойкость, задействована система, состоящая из вращающегося с заданной скоростью металлического диска и прижимаемых к нему определенными усилиями испытуемого смазочного стержня и эталонного металлического круга.
В качестве основных показателей тестирования апробируемых смазочных образцов установлены: убыль весов эталонного круга и смазочного стержня в единицу времени.
Изменение веса эталонного круга является величиной, характеризующей эффективность работы смазочного образца – чем меньше убыль веса эталона, тем выше смазочные свойства стержня. Износостойкость последнего определяется по снижению веса в процессе применения. Исходя из этой величины и линейной скорости вращения радиальной зоны взаимодействия диска с эталоном и смазочным стержнем, рассчитывается длительность работы изделия. Расход стержня при его эксплуатации должен обеспечивать нанесение смазки на пути не менее 2000 км.
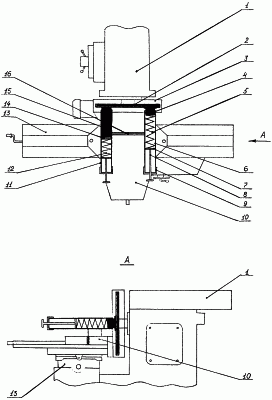
Применяемая установка тестирования смазочных композитов изображена на чертеже. Она выполнена с использованием фрезерного станка 1 (6Р81Г), на вращающемся валу которого закреплен съемный металлический диск 2(ст. 3), с ограждением 3. Металлический эталонный круг (эталон) 4 (ст. 3, d = 30 мм, вес = 100 г) прижимается к диску пружиной 5 с усилием 17 кгс. Указанные элементы помещены в цилиндрический корпус 6, на который резьбовым соединением закреплена накидная гайка 9, в ней установлен регулировочный болт 8, последний, посредством шайбы 7, воздействует на пружину и через нее на металлический круг, контактирующий с диском.
Апробируемый смазочный стержень 15 помещают в корпус 11 и посредством пружины 12 и шайбы 14 заданным усилием (3 кгс) прижимают к диску.
Корпуса 11 и 6, закрепленные фиксатором 16, устанавливают в тисы 10, размещенные на движущемся столе 13, что позволяет осуществлять их продольное и поперечное перемещение.
Тестирование смазочных стержней, изготовленных по различным технологиям, производили установкой эталонного круга и испытуемого смазочного образца на расстоянии 105 мм от центра диска, вращающегося со скоростью 1250 об/мин, при этом линейная скорость вращения радиальной зоны взаимодействия диска с металлического кругом и смазочным стержнем составляла 50 км/час, аналогично средней скорости движения локомотивов и подвижного состава.
Смазочные стержни, изготовленные по известной технологии, получали смешением при температуре 60°С графита или дисульфида молибдена, эпоксидного клея (эпоксидная смола и малеиновый ангидрид) пропиленгликоля – 1,2 и дибутилфталата, с последующим прессованием композита в стержень, его нагревом до температуры 140-150°С и выдержкой 24 часа.
Габаритные размеры выполненных по известной технологиии изделий составляли: длина – 165 мм, диаметр – 30 мм.
Предлагаемый способ изготовления смазочных стержней заключался в смешении графита и/или дисульфида молибдена с битумом или его смесью с минеральным маслом, прессовании композита с приданием ему формы цилиндра и формированием у последнего оболочки путем пропитки эпоксидным клеем (эпоксидная смола и отвердитель в пропорции 10-15:1) фильтровальной бумаги или пористой хлопчатобумажной ткани (марли), с нанесением пропитанного клеем материала на спрессованный композит; содержание графита и/или дисульфида молибдена в последнем составляло от 50 до 70 мас.%, битума или его смеси с минеральным маслом – остальное; при использовании смеси битума с минеральным маслом его содержание в битуме поддерживали 5-15 мас.%.
Граничные значения содержаний компонентов были определены, исходя из критериев получения однородной консистенции и цельности формируемых стержней. Смешение ингредиентов осуществляли при нагреве до 200°С. Прессование вели с использованием гидравлической системы посредством продавливания помещенных в цилиндрический патрубок смесей через фильеру. Габаритные размеры полученных по предлагаемой технологии изделий составляли: длина – 165 мм, диаметр – 30 мм.
При проведении тестирования изготовленных различными способами смазочных стержней температуру вращающегося диска, при необходимости, понижали подачей охлажденной воды на его поверхность со стороны неконтактирующей с образцами. Усилие прижатия к диску эталонных металлических кругов и испытуемых смазочных стержней поддерживали соответственно 17 и 3 кгс. Длительность тестирования каждого смазочного изделия составляла 20 минут. Износ эталонных кругов и смазочных образцов определялся весовым методом. Исходя из полученных данных, рассчитывались часовые показатели убыли веса эталона и смазочного стержня (% к исходному весу).
Полученные результаты представлены в таблице.
Из них следует, что смазочные изделия, выполненные по предлагаемой технологии, значительно превосходят известные композиты по основному показателю, характеризующему эффективность их применения, – снижению уровня износа защищаемых поверхностей трения, в данном случае определяемому по износу эталонного металлического круга.
Так, использование известных смазочных стержней – с эпоксидным связующим, позволило снизить убыль веса эталона, контактирующего с вращающимся диском, с 0,4 до 0,20-0,24% в час, а применение образцов, изготовленных по предлагаемому способу, обеспечило снижение данного показателя до уровня 0,06-0,08% в час.
Таблица Результаты тестирования смазочных стержней |
| №п/п |
Способ получения смазочного стержня |
Содержание ингредиентов,% мас. |
Весовой износ эталонного круга, % / час |
Весовой износ смазочного стержня, % / час |
| Графит |
Дисульфид молибдена |
Смола эпоксидно-диановая |
Малеиновый ангидрид |
Дибутил фталат |
Пропилен гликоль |
Битум |
Минеральное масло, % к битуму |
| 1 |
Известный |
74 |
– |
20 |
3 |
1 |
2 |
– |
– |
0,24 |
1,90 |
| 2 |
– |
80 |
12 |
3 |
2 |
3 |
– |
– |
0,20 |
1,87 |
| 3 |
Предлагаемый |
50 |
|
– |
– |
– |
– |
50 |
5 |
0,08 |
1,85 |
| 4 |
70 |
|
– |
– |
– |
– |
30 |
15 |
0,07 |
1,80 |
| 5 |
|
50 |
– |
– |
– |
– |
50 |
– |
0,07 |
1,78 |
| 6 |
|
70 |
– |
– |
– |
– |
30 |
10 |
0,06 |
1,75 |
| 7 |
30 |
20 |
– |
– |
– |
– |
50 |
– |
0,08 |
1,82 |
| 8 |
40 |
30 |
– |
– |
– |
– |
30 |
12 |
0,07 |
1,77 |
Примечания: 1. Показатели сняты при температуре в радиальной зоне взаимодействия вращающегося диска с эталонным кругом и смазочньм стержнем 20-25°С. 2. Убыль веса эталонного металлического круга без применения смазочных стержней (при сухом трении) составляла 0.4% в час. 3. В опытах 3 – 6 в качестве материала для формирования оболочки стержня использовали бумагу, в опытах 7 и 8 – пористую хлопчатобумажную ткань. |
Износостойкость смазочных стержней, выполненных предлагаемым способом, также превышает показатели, полученные при тестировании известных композитов – убыль веса первых при тестировании составила 1,75-1,85% в час против 1,87-1,90% в час – для образцов с эпоксидным связующим. Исходя из данных результатов, полученных при линейной скорости вращения радиальной зоны взаимодействия диска со смазочным стержнем 50 км/час, изделия, выполненные по предлагаемой технологии, способны обеспечить лубрикацию системы «колесо – рельс» на длине железнодорожного пути 2700-2900 км. Это подтвердили промышленно-экспериментальные работы, проведенные на Забайкальской железной дороге.
Для изготовления опытных партий изделий использовали графит и/или дисульфид молибдена (50-70 мас.%), в качестве связующего (30-50 мас.%) применяли битум или его смесь с минеральным маслом.
При эксплуатации данных образцов износ гребней колесных пар магистральных локомотивов снизился на 0,15 мм /10 тыс. км, в то время как применение известных смазочных изделий – с использованием эпоксидного связующего – обеспечивало величину данного показателя на уровне 0,05 мм / 10 тыс. км.
Положительные результаты по использованию выполненных по новой технологии смазочных стержней (длиной 210 мм, диаметром 20 мм) получены при их применении на мостовых кранах Челябинского трубопрокатного завода – по сравнению с показателями, которые достигались установкой изделий, выпускаемых по известному способу, на основе дисульфида молибдена и эпоксиднго клея, износ защищаемых поверхностей был снижен более чем в 2,0 раза.
Таким образом, применение смазочных стержней, изготовленных по предлагаемому способу, показало их высокую эксплутационную эффективность придубрикации пар трения «колесо – рельс».
Формула изобретения
1. Способ изготовления смазочного стержня, включающий смешение графита и/или дисульфида молибдена со связующим, прессование композита с приданием ему формы цилиндра и формирование у последнего оболочки, отличающийся тем, что в качестве связующего используют битум или его смесь с минеральным маслом, а оболочку стержня формируют путем пропитки эпоксидным клеем бумаги или пористой хлопчатобумажной ткани с нанесением пропитанного клеем материала на сформированный в форме цилиндра композит.
2. Способ по п.1, отличающийся тем, что содержание графита и/или дисульфида молибдена составляет 50-70 мас.%, битума или его смеси с минеральным маслом – остальное.
3. Способ по п.2, отличающийся тем, что при использовании смеси битума с минеральным маслом его содержание в битуме составляет 5-15 мас.%.
РИСУНКИ
|
|