|
|
(21), (22) Заявка: 2001130767/03, 14.11.2001
(24) Дата начала отсчета срока действия патента:
14.11.2001
(30) Конвенционный приоритет:
15.11.2000 US 09/713,430
(43) Дата публикации заявки: 20.09.2003
(45) Опубликовано: 10.03.2006
(56) Список документов, цитированных в отчете о поиске:
US 5776221 A, 07.07.1998. SU 195602 A1, 01.01.1967. SU 90325 A1, 01.01.1950. US 5935286 A,10.08.1999. US 5855640 A, 05.01.1999. US 4740401 A, 26.04.1988.
Адрес для переписки:
103735, Москва, ул. Ильинка, 5/2, ООО “Союзпатент”, пат.пов. Ю.В.Пинчуку, рег.№ 656
|
(72) Автор(ы):
ЧИРИНЧОНЕ Рональд А. (US), СКОТТ Гарретт Л. (US)
(73) Патентообладатель(и):
ОУЭНС-БРОКВЭЙ ГЛАСС КОНТЕЙНЕР ИНК. (US)
|
(54) УЗЕЛ КОЛЬЦА ДИАФРАГМЫ В СБОРЕ, ПРЕДНАЗНАЧЕННЫЙ ДЛЯ ПРИМЕНЕНИЯ В УСТРОЙСТВЕ ДЛЯ ФОРМИРОВАНИЯ ЗАКЛЮЧЕННОГО В ОБОЛОЧКУ ПОТОКА СТЕКЛА
(57) Реферат:
Использование: при подаче потока стекла на формирование порций или капель стекломассы в производстве стеклянных изделий, в частности, для подачи заключенного в оболочку потока стекла, в котором внутренне стекло заключено в оболочковое стекло. Изобретение позволяет исключить вероятность протечки стекла. Устройство для подачи заключенного в оболочку потока стекла, имеющего внутреннее сердцевинное стекло, заключенное в наружное оболочковое стекло, включает в себя первое кольцо диафрагмы, имеющее, по меньшей мере, одно отверстие диафрагмы, предназначенное для приема сердцевинного стекла, и второе, или нижнее, кольцо диафрагмы, закрепленное ниже первого кольца диафрагмы и имеющее второе отверстие диафрагмы, находящееся на одной линии с каждым из первых отверстий диафрагмы. Камера для приема оболочкового стекла образована между первым и вторым кольцами диафрагмы. Втулка вставлена в отверстие во втором кольце диафрагмы. Втулка имеет первый, простирающийся в радиальном направлении фланец, опирающийся на верхнюю поверхность второго кольца диафрагмы, второй фланец, расположенный на одном из упомянутых концов упомянутой втулки с промежутком в верхнем направлении относительно первого фланца, что обеспечивает поступление оболочкового стекла из камеры к второму отверстию диафрагмы. Фланец находится в плотно прилегающем положении своей торцевой поверхностью по отношению к соответствующей поверхности второго кольца диафрагмы. 1 з.п. ф-лы, 6 ил. 
Область техники, к которой относится изобретение
Настоящее изобретение относится к подаче потока стекла на формирование порций или капель стекломассы в производстве стеклянных изделий, а более конкретно касается способа и устройства для подачи, так называемого, заключенного в оболочку потока стекла, в котором внутреннее, или сердцевинное, стекло заключено в наружное, или оболочковое, стекло.
Уровень техники
В патенте США №4740401 было предложено обеспечить получение заключенного в оболочку потока стекла для формирования стеклянных изделий, имеющих слоистые участки стенок. В патентах США №№5776221 и 5855640 раскрываются технические средства для подачи такого заключенного в оболочку потока стекла, при помощи которых сердцевинное стекло из первого источника подается, по меньшей мере, через одну первую диафрагму. Вторая диафрагма расположена с промежутком в вертикальном направлении ниже и на одной линии с каждой первой диафрагмой и заключена в камеру, которая сообщается со второй диафрагмой через промежуток между первой и второй диафрагмами. По обогреваемой трубке осуществляется подача оболочкового стекла из второго источника стекла в эту камеру, которая расположена вокруг второй диафрагмы. Стекло вытекает под действием силы тяжести через диафрагмы из первого и второго источников таким образом, что на выходе из второй диафрагмы получают заключенный в оболочку поток стекла. Этот заключенный в оболочку поток стекла можно затем резать при помощи обычных технических средств, формируя отдельные заключенные в оболочку комки стекла, предназначенные для подачи в обычные раздельно-секционные формовочные машины для стеклянных изделий.
Несмотря на то, что технические средства, раскрываемые в указанных патентах, направлены на решение проблем, существовавших до той поры в данной области техники, и в какой-то мере их устраняют, тем не менее желательны все же дальнейшие улучшения. Например, в системах раскрываемых в указанных патентах, нижняя диафрагма образована металлической втулкой, вставленной в отверстие керамического кольца нижней диафрагмы. Втулка имеет верхний фланец, который опирается на керамическую стойку, отходящую вверх от поверхности кольца диафрагмы, и которая фактически приподнимает фланец над поверхностью кольца. Фланец, имеющийся на втулке, должен быть приподнят над поверхностью кольца диафрагмы, потому что оболочковое стекло стекает по этой поверхности к задней стороне промежутка между верхней и нижней диафрагмами, образуя слой вокруг сердцевинного стекла. Однако было установлено, что эта стойка, выполненная из керамического материала, подвержена эрозии под воздействием высокотемпературного потока оболочкового стекла, образующегося вокруг стойки, что в конечном итоге приводит к протечке стекла между наружной поверхностью втулки и окружающим ее керамическим материалом кольца диафрагмы.
Сущность изобретения
Общей целью настоящего изобретения является создание способа и устройства для подачи заключенного в оболочку потока стекла, в котором выпускной конец металлической втулки приподнят над поверхностью кольца диафрагмы, обеспечивая возможность стекания стекла по этой поверхности под втулку, но которое при этом способствует уменьшению эрозии керамического материала и протечки стекла между втулкой и стенкой отверстия в кольце диафрагмы.
Устройство для формирования заключенного в оболочку потока стекла, имеющего внутреннее сердцевинное стекло, заключенное в наружное оболочковое стекло, в соответствии с одной из особенностей предпочтительного на данный момент варианта осуществления настоящего изобретения, включает в себя первое, или верхнее, кольцо диафрагмы, имеющее, по меньшей мере, одно отверстие диафрагмы для приема сердцевинного стекла, и второе, или нижнее, кольцо диафрагмы, закрепленное ниже первого кольца диафрагмы и имеющее второе отверстие диафрагмы, находящееся на одной линии с каждым из первых отверстий диафрагмы. Камера для приема оболочкового стекла образована между первым и вторым кольцами диафрагмы, располагаясь вокруг второго отверстия диафрагмы. Втулка вставлена в отверстие во втором кольце диафрагмы, определяя при этом каждое из вторых отверстий диафрагмы во втором кольце диафрагмы. Втулка имеет первый, простирающийся в радиальном направлении фланец, опирающийся на верхнюю поверхность второго кольца диафрагмы, а конец втулки расположен с промежутком в верхнем направлении относительно первого фланца, что обеспечивает поступление оболочкового стекла из камеры к второму отверстию диафрагмы. Таким образом, первый фланец фактически обеспечивает расположение конца втулки с промежутком над поверхностью второго кольца диафрагмы, благодаря чему отпадает необходимость в применении керамической стойки, которая может подвергаться эрозии под воздействием потока оболочкового стекла, проходящего вдоль поверхности второго кольца диафрагмы. Фланец находится в плотно прилегающем положении своей поверхностью по отношению к соответствующей поверхности второго кольца диафрагмы, что способствует уменьшению протечки оболочкового стекла между втулкой и прилегающей к ней поверхностью второго кольца диафрагмы.
В предпочтительном варианте осуществления изобретения, второе кольцо диафрагмы выполнено из керамического материала, а втулка выполнена из металла. Втулка содержит цилиндрический корпус, имеющий первый фланец, закрепленный в промежуточном положений между концами корпуса, и второй фланец, простирающийся в радиальном направлении наружу относительно конца втулки, расположенного с промежутком по отношению к поверхности кольца диафрагмы. Противоположный конец корпуса втулки пропущен через отверстие в кольце диафрагмы и крепится к кольцу диафрагмы при помощи уплотнительного кольца, закрепленного на корпусе втулки. Нижняя поверхность кольца диафрагмы, располагающаяся вокруг отверстия втулки, предпочтительно выполняется на конус и утопленной, а уплотнительное кольцо имеет соответствующую коническую поверхность, находящуюся в скользящем контакте с выполненной на конус утопленной поверхностью кольца диафрагмы. Таким образом, уплотнительное кольцо находится в плотно прилегающем положении по отношению к противолежащей поверхности, выполненной на конус, утопленной в кольце диафрагмы, при тепловом расширении металлической втулки в осевом и радиальном направлениях при нагревании ее потоком стекла, проходящим через втулку.
В соответствии с еще одной особенностью настоящего изобретения, предлагается узел кольца диафрагмы в сборе, предназначенный для применения его в составе устройства для формирования заключенного в оболочку стекла, и который включает в себя керамическое нижнее кольцо диафрагмы, имеющее карман с проходящим в поперечном направлении каналом для приема оболочкового стекла и, по меньшей мере, одним сквозным отверстием, проходящим через кольцо диафрагмы из кармана. В каждом таком отверстии закреплена металлическая втулка. Эта втулка имеет цилиндрический корпус с противоположными концами, первый фланец, отходящий от корпуса втулки, находящийся в промежуточном положении между концами корпуса и входящий в контакт своей торцевой поверхностью с прилегающей к нему верхней поверхностью кармана кольца диафрагмы, и второй фланец, расположенный на одном конце втулки с промежутком по отношению к поверхности кармана. Второй конец втулки расположен вблизи от нижней поверхности кольца диафрагмы, и к этому другому концу крепится уплотнительное кольцо, поверхность которого примыкает к нижней поверхности кольца диафрагмы. В предпочтительном исполнении, нижняя поверхность кольца диафрагмы имеет коническую утопленную часть, располагающуюся вокруг каждого отверстия, а каждое уплотнительное кольцо имеет соответствующую коническую поверхность, находящуюся в плотно прилегающем положении по отношению к конической утопленной части для обеспечения плотного прилегания к конической утопленной части поверхности при тепловом расширении втулки.
Перечень фигур чертежей
Наилучшее понимание существа изобретения вместе с дополнительными его целями, признаками и преимуществами может быть достигнуто при рассмотрении следующего ниже описания, прилагаемой формулы изобретения и прилагаемых чертежей.
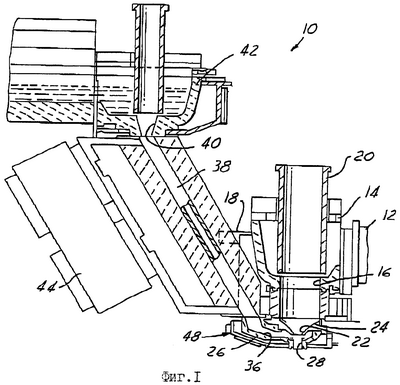
Фиг.1 – представленное в вертикальном разрезе частичное схематическое изображение системы подачи заключенного в оболочку стекла, в соответствии с предпочтительным на данный момент вариантом осуществления настоящего изобретения.
Фиг.2 – представленный в поперечном разрезе и в увеличенном масштабе вид колец диафрагмы с дозирующим промежутком, применяемых в системе, показанной на фиг.1.
Фиг.3 – представленный в поперечном разрезе и в увеличенном масштабе частичный вид узла нижнего кольца диафрагмы с втулкой в сборе, применяемого в системе, показанной на фиг.1 и 2.
Фиг.4 – представленный в увеличенном масштабе частичный вид участка фиг.3, обведенного кружком 4.
Фиг.5 – представленное в поперечном разрезе изображение в разобранном виде металлической втулки кольца диафрагмы, применяемой в устройстве, показанном на фиг.1-4.
Фиг.6 – представленное в виде снизу в плане уплотнительное кольцо, предназначенное для крепления втулки к нижнему кольцу диафрагмы, в соответствии с предпочтительным на данный момент вариантом осуществления настоящего изобретения.
Сведения, подтверждающие возможность осуществления изобретения
На фиг.1-2 показана система 10 для подачи потока заключенного в оболочку стекла. Первый канал питателя 12 обеспечивает подачу сердцевинного стекла в переливной брус 14, который имеет отверстие 16 на нижнем своем конце. Переливной брус 14 заключен в защитный кожух 18, выполненный предпочтительно из немагнитного металла, например из нержавеющей стали. Труба 20 регулирует подачу сердцевинного стекла из переливного бруса 14 через отверстие 16, поступающего, по меньшей мере, к одному и проходящего сквозь это, по меньшей мере, одно первое отверстие 22 диафрагмы, выполненное в верхнем кольце 24 диафрагмы, расположенном под переливным брусом 14. В нижнем кольце 26 диафрагмы выполнено, по меньшей мере, одно второе отверстие 28 диафрагмы, расположенное под первым(-и) отверстием(-ями) 22 диафрагмы на одной осевой линии(-ях) с ним(-и). Отверстие 28 диафрагмы заключено по своей окружности в кольцевую камеру 30, образованную между кольцами 26, 28 диафрагмы карманом 32 в нижнем кольце 26 диафрагмы. Камера 30 сообщается с нижним отверстием 28 диафрагмы при помощи поперечного дозирующего промежутка, или зазора, 34 между отверстиями 22, 28 диафрагмы. Проходящий сбоку канал 36 в нижнем кольце 26 диафрагмы соединен подающей трубой 38 с отверстием 40 на нижнем конце переднего бруса 42, предназначенного для подачи оболочкового стекла. Подающая труба 38 имеет электрический обогрев с электронным блоком управления 44, поддерживающий поток оболочкового стекла в камеру 30. Верхнее и нижнее кольца 24, 26 диафрагмы выполнены из теплостойкого керамического материала. Верхнее кольцо 24 диафрагмы имеет покрытие 46 из платины или аналогичного материала, предотвращающее эрозию керамического материала. Предпочтительно, чтобы верхнее и нижнее кольца 24, 26 диафрагмы выполнялись в виде узла 48 колец диафрагмы в сборе.
Каждое отверстие 28 диафрагмы, имеющееся в нижнем кольце 26 диафрагмы, образовано цилиндрическим отверстием 50 (фиг.2-4), которое проходит насквозь через кольцо 26 диафрагмы. Верхняя поверхность 52 кольца 26 диафрагмы, расположенная вокруг каждого отверстия 50, является, по существу, плоской, в отличие от приподнятой стойки, формируемой согласно рассмотренному здесь выше предшествующему уровню техники. Нижняя поверхность 54 кольца 26 диафрагмы имеет выполненную на конус утопленную часть 56, расположенную вокруг каждого отверстия 50. Металлическая втулка 58 крепится к кольцу 26 диафрагмы внутри каждого отверстия 50 под диафрагму. Каждая втулка 58 содержит цилиндрический корпус 60 с противоположными один относительно другого в осевом направлении концами. Сплошной в окружном направлении первый фланец 62 приваривается или каким-нибудь иным способом крепится к наружной поверхности корпуса 60 втулки, выступая в радиальном направлении наружу относительно этой поверхности в плоскости, расположенной перпендикулярно по отношению к оси втулки, занимая на ней положение с промежутком относительно верхнего конца корпуса втулки и под этим концом. Сплошной в окружном направлении второй фланец 64 простирается в радиальном направлении наружу относительно верхнего конца корпуса 60 втулки, располагаясь с промежутком по отношению к фланцу 62 и параллельно ему и предпочтительно представляя собой единое целое с корпусом втулки, формируемое вместе с ним. Каждый фланец 62, 64 имеет один и тот же свой радиальный размер по всей окружности втулки 58. Разрезное уплотнительное кольцо 66 приваривается или каким-нибудь иным способом неподвижно крепится к нижнему концу корпуса 60 втулки. Уплотнительное кольцо 66 имеет соответствующую коническую поверхность 68, занимающую плотно прилегающее положение по отношению к противолежащей утопленной части 56 нижней поверхности 54 корпуса диафрагмы. Таким образом, втулка 58 прочно крепится к кольцу 26 диафрагмы при помощи фланца 62 втулки, находящегося в плотно прилегающем положении по отношению к противолежащей поверхности 52, и поверхности 68 уплотнительного кольца, находящейся в плотно прилегающем положении по отношению к противолежащей утопленной части 56 нижней поверхности.
При осуществлении сборки нижнее кольцо 26 диафрагмы изготавливают методом литья из пригодного для использования с этой целью теплостойкого керамического материала, а соответствующее(-ие) отверстие(-ия) формируется(-ются) в этом кольце диафрагмы либо непосредственно во время литья, либо при последующем сверлении. Предпочтительно, чтобы фланец 64 сформирован был как единое целое вместе с корпусом 60 втулки, а фланец 62 приваривался или каким-нибудь иным способом крепился к корпусу втулки, как показано на фиг.5. Затем нижним концом корпус 60 втулки вставляют в сквозное отверстие 50 кольца 26 диафрагмы, после чего приваривают уплотнительное кольцо 66 или каким-нибудь иным способом крепят его к нижнему концу корпуса втулки. Как лучше всего это видно на фиг.3 и 4, наружная поверхность корпуса 60 втулки в радиальном направлении располагается с промежутком по отношению к противолежащей поверхности отверстия 50, когда узел нижнего кольца диафрагмы с втулкой в сборе находится в холодном состоянии с тем, чтобы обеспечить возможность компенсации на тепловое расширение в процессе эксплуатации. Противолежащие конические поверхности 56, 68 в стыке с уплотнительным кольцом 66 обеспечивают возможность компенсации на тепловое расширение корпуса 60 втулки и уплотнительного кольца 66 в осевом и радиальном направлениях с сохранением при этом скользящего контакта между противолежащими поверхностями 56, 68. В процессе эксплуатации оболочковое стекло, поступающее в камеру 30 по каналу 36, свободно стекает по верхней поверхности кармана 32, расположенного вокруг каждой втулки 28, образуя при этом равномерный слой оболочкового стекла вокруг потока сердцевинного стекла. Таким образом, сердцевинное стекло течет через отверстие(-ия) 22 диафрагмы из канала питателя 12 и переливного бруса 14, тогда как оболочковое стекло течет из переливного бруса 42 по трубе 38, каналу 36 и через камеру 30 и промежуток 34 вытекает по окружности потока сердцевинного стекла, в результате чего на выходе из нижнего отверстия 28 диафрагмы получают заключенный в оболочку поток стекла. Устранение керамических стоек, поддерживающих втулку 58 в отверстии диафрагмы, позволяет устранить и саму проблему эрозии, связанную с применением таких стоек, а также исключить вероятность протечки стекла через промежуток между втулкой и стенкой отверстия 50 в нижнем кольце 26 диафрагмы. Напротив, фланец 62 сохраняет плотный контакт с поверхностью 52, что в значительной мере уменьшает всякую протечку стекла.
Таким образом, здесь были раскрыты способ и устройство для формирования заключенного в оболочку потока стекла, которые полностью соответствуют всем целям и замыслам, которые изложены в приведенном выше описании. Раскрыты также многочисленные изменения и дополнения. Рядовыми специалистами в данной области техники могут легко быть предложены на основании приведенного здесь выше описания также и другие изменения и дополнения. В рамках настоящего изобретения предполагается охватить все такие изменения и дополнения, которые находятся в пределах существа, а также широкого объема данного изобретения, определенного прилагаемой формулой изобретения.
Формула изобретения
1. Узел кольца диафрагмы в сборе, предназначенный для применения его в составе устройства для формирования заключенного в оболочку потока стекла, содержащий кольцо диафрагмы, выполненное из керамического материала и имеющее карман с плоской поверхностью, канал, проходящий в поперечном направлении от упомянутого кармана для приема оболочкового стекла, и, по меньшей мере, одно сквозное отверстие, проходящее через упомянутое кольцо от упомянутой плоской верхней поверхности, металлическую втулку, закрепленную в упомянутом, по меньшей мере, одном отверстии, причем упомянутая втулка имеет цилиндрический корпус с противоположными концами, и первый фланец, отходящий от упомянутого корпуса упомянутой втулки, находящийся в промежуточном положении между упомянутыми концами корпуса и входящий в соприкосновение своей торцевой поверхностью с упомянутой плоской верхней поверхностью, отличающийся тем, что упомянутая втулка включает второй фланец, расположенный на одном из упомянутых концов упомянутой втулки с промежутком по отношению к упомянутой плоской верхней поверхности, обеспечивая свободный ток стекла вдоль упомянутой плоской верхней поверхности под упомянутым вторым фланцем, причем другой конец упомянутого корпуса упомянутой втулки расположен вблизи от нижней поверхности упомянутого кольца диафрагмы и уплотнительное кольцо, которое крепится к упомянутому другому концу упомянутой втулки, торцевая поверхность которого примыкает к упомянутой нижней поверхности и плотно зажимает упомянутое кольцо диафрагмы между упомянутым уплотнительным кольцом и упомянутым первым фланцем.
2. Узел в сборе по п.1, в котором упомянутая нижняя поверхность имеет коническую утопленную часть, располагающуюся вокруг упомянутого отверстия, а упомянутое уплотнительное кольцо имеет соответствующую коническую поверхность, находящуюся в плотно прилегающем положении по отношению к упомянутой конической утопленной части для обеспечения плотного прилегания к упомянутой конической утопленной части упомянутой поверхности при тепловом расширении упомянутой втулки.
РИСУНКИ
MM4A – Досрочное прекращение действия патента СССР или патента Российской Федерации на изобретение из-за неуплаты в установленный срок пошлины за поддержание патента в силе
Дата прекращения действия патента: 15.11.2008
Извещение опубликовано: 20.09.2010 БИ: 26/2010
|
|