|
|
(21), (22) Заявка: 2003114416/03, 17.10.2001
(24) Дата начала отсчета срока действия патента:
17.10.2001
(30) Конвенционный приоритет:
18.10.2000 FR 0013308
(43) Дата публикации заявки: 27.11.2004
(45) Опубликовано: 10.03.2006
(56) Список документов, цитированных в отчете о поиске:
FR 2559734 A1, 23.08.1985. RU 2090523 C1, 20.09.1997. BE 894795 A, 14.02.1983. GB 850269 A, 05.10.1960. EP 0231516 B1, 12.08.1987.
(85) Дата перевода заявки PCT на национальную фазу:
19.05.2003
(86) Заявка PCT:
FR 01/03204 (17.10.2001)
(87) Публикация PCT:
WO 02/32819 (25.04.2002)
Адрес для переписки:
129010, Москва, ул. Б. Спасская, 25, стр.3, ООО “Юридическая фирма Городисский и Партнеры”, пат.пов. Ю.Д.Кузнецову, рег.№ 595
|
(72) Автор(ы):
КОТОННЕК Эрве (FR), ДЕЛААЛЛЕ Жерар (FR)
(73) Патентообладатель(и):
СЭН-ГОБЭН ИЗОВЕР (FR)
|
(54) СТЕКЛОПЛАВИЛЬНАЯ ЭЛЕКТРОПЕЧЬ С ПОВОРОТНЫМИ ПЕРЕГОРОДКАМИ
(57) Реферат:
Изобретение относится к технологии получения стекла с использованием электроварки. Техническая задача изобретения – осуществление выборочной и управляемой изоляции печи. Стеклоплавильная электропечь содержит под, четыре боковые перегородки или опоры, свод, приспособление для подачи шихты, желоб для вывода стекломассы. Печь содержит также комплект поворотных элементов, выполненных с возможностью поворота вокруг горизонтальных осей и расположенных по периметру печи между, по меньшей мере, одной боковой перегородкой и сводом. Печь содержит также кабели, блоки, лебедки для выполнения поворотных элементов. 9 з.п. ф-лы, 6 ил. 
Настоящее изобретение касается технологий выплавки стекла с использованием электричества, в частности технологий, согласно которым проводимость расплавленного стекла используют для высвобождения энергии, необходимой для плавления сырья.
В течение долгого времени предприятия по производству стекла, перерабатывающие большие объемы сырья, не были оснащены плавильными печами, работающими на природном топливе, в частности на газе. В данном случае речь идет о предприятиях непрерывного производства больших объемов, например листового стекла или стекла для производства бутылок. Когда в работе указанных больших печей применяли электроэнергию, то использовали в основном локальный источник энергии для регулировки температуры стекла в наименее горячих зонах или вне печи при прохождении стекла к месту его формирования, а также для выполнения некоторых операций, связанных с конвекцией, которые, как предполагают, способствуют гомогенизации, утоньшению или транспортировке выплавленного материала.
Электрическая печь, как таковая, появилась вначале на небольших предприятиях, для которых было необходимо иметь очень гибкие условия эксплуатации. Колебания цен на электроэнергию и постоянно повышающийся уровень решаемых технологических задач привели, в дальнейшем, к развитию крупных производственных объединений, в которых комплекс операций, связанных с процессом выплавки, исключая ввод в эксплуатацию, осуществляют с использованием электроэнергии, что предполагает необходимость решения исключительно сложных технологических проблем.
В данном контексте, именно с целью избежать процесса окисления электродов, расположенных на поверхности электролизного расплава, было предложено погружать их полностью. Данное решение было, в частности, заявлено в заявке на выдачу патента Франции, опубликованной под №FR-A-2552073. Согласно этому документу электроды в электролизном расплаве располагают вертикально по отношению к поду печи. Встречаются другие варианты выполнения, где электроды проходят сквозь боковые стенки печи.
Помимо преимуществ, связанных с решением проблем коррозии, способ погружения электродов позволяет также осуществить удобную и равномерную подачу смеси сырья на поверхность электролизного расплава. Структура относительно толстого слоя состава для выплавки, плавающего на поверхности электролизного расплава, является предпочтительной по многим параметрам. Такая структура обеспечивает формирование в местах контакта с электролизным расплавом постоянного запаса сырья, необходимого для непрерывной работы. Кроме того, указанная структура предохраняет электролизный расплав от существенной потери тепла из-за конвенции при контакте с атмосферой и, особенно, из-за излучения.
Несмотря на то, что печи, аналогичные упомянутым выше, находят широкое промышленное применение, они не отвечают всем требованиям, встречающимся на практике. В частности, в некоторых случаях, в целях сокращения капиталовложений, представляется предпочтительным преобразовать предприятия, работающие с использованием горелок, сохранив как можно большего числа имеющихся в настоящее время элементов и особенно огнеупорных материалов, из которых состоит ванна. Такое преобразование не всегда возможно, когда речь идет о размещении электродов в поде или в боковых стенках печи.
Печи, в которых электроды встроены в под или в стенки ванны, обладают ограниченными возможностями регулировки электродов. Если они и дают возможность поддерживать рабочие характеристики, которые полностью удовлетворяют требованиям некоторого режима, то их не так легко можно подвергнуть частым и/или существенным модификациям данного технологического режима.
Поэтому таким печам иногда предпочитают печи с так называемыми «погружающимися электродами». Так, во французском патенте FR 2559734 приведено описание печи указанного типа, в которой электроды расположены и распределены таким образом, чтобы получить оптимальный КПД печи и особенно максимально улучшить гибкость ее использования.
Печи указанного типа содержат, в классическом варианте, под, выполненный из огнеупорного материала, четыре боковые перегородки или опоры, верхний свод, приспособление для подачи стекольной смеси и желоб для вывода расплавленного стекла.
Печи могут также содержать боковые панели, перемещающиеся в вертикальном направлении, предназначенные для изоляции электролизного расплава от атмосферы окружающей среды в некоторые моменты процесса формирования стекла.
Обеспечение термоизоляции электролизного расплава для изготовления стекла является основной задачей для печей для выплавки стекла.
В настоящем изобретении предлагается новое и оригинальное решение этой задачи.
Оно позволяет осуществить выборочную и управляемую изоляцию печи, которая, кроме того, может изменяться, и оставаясь эффективной.
Указанные характеристики не известны из уровня техники, который не предполагает определенной гибкости, когда речь идет о системе изоляции печи. Кроме того, как показывает опыт, при закрытых боковых панелях, перемещаемых в вертикальном направлении, не обеспечивается необходимая изоляция печи, именно из-за зазоров между панелями.
Согласно изобретению обеспечивается абсолютная герметичность печи.
Таким образом, предметом изобретения является электропечь для выплавки стекла, содержащая под, выполненный из огнеупорного материала, четыре боковые перегородки или опоры, верхний свод, приспособление для подачи стекольной смеси, желоб для вывода расплавленного стекла.
Согласно изобретению печь дополнительно содержит комплект элементов, выполненных с возможностью поворота вокруг горизонтальных осей и расположенных по периметру печи между, по меньшей мере, одной из боковых перегородок и сводом.
Таким образом, модульность изоляции печи состоит в том, что имеется комплект поворотных элементов, а не один с каждой стороны.
Кроме того, элементами, участвующими в процессе плавления, являются прилежащие друг к другу плоские панели, рассеченные вертикально по толщине с возможностью создания идеальной герметичности между соприкасающимися панелями.
Такое расположение гарантирует герметичность между всеми панелями и, следовательно, общую герметичность, которую можно сравнить с герметичностью, полученной при использовании единой панели.
Согласно еще одному аспекту изобретения печь содержит комплект кабелей, блоков и лебедок, предназначенных для поворота указанных выше поворотных элементов по одному или группой.
Таким образом, в зависимости от выбранного типа применения в рассматриваемый момент процесса изготовления стекла существенное число поворотных элементов могут быть открытыми, что позволяет обеспечивать термоизоляцию печи.
Согласно другому аспекту изобретения печь дополнительно содержит механизм блокировки поворотных элементов в открытом положении.
Печь может также включать в себя систему разблокировки поворотных элементов, что обеспечивает идеальную надежность функционирования поворотных элементов и обеспечение общей изоляции печи.
Согласно еще одному аспекту изобретения поворотные элементы механически усилены такими стержнями, размещенными в их толщине. Преимущественно используют металлические стержни.
Согласно заявленному способу поворотные элементы располагают, по меньшей мере, на трех сторонах печи.
Настоящее изобретение может быть использовано в печи типа печи с погружающимися электродами. В этом случае можно предусмотреть размещение, по меньшей мере, одного поворотного элемента на каждый погруженный электрод.
В соответствии с изобретением печь содержит также измерительные датчики, размещаемые внутри печи на, по меньшей мере, одной боковой стенке, а также, по меньшей мере, один поворотный элемент, расположенный параллельно, по меньшей мере, одному измерительному датчику.
Кроме того, печь содержит систему, предназначенную для одновременного подъема всех поворотных элементов, расположенных на, по меньшей мере, одной из этих сторон.
Такая возможность, свойственная преимущественно стороне, называемой загрузочной, на которой располагают распределитель вводимой смеси, обеспечивает необходимую скорость выполнения движений панелей, что особенно важно для потребителя.
В дальнейшем изобретение поясняется описанием неограничительного варианта его осуществления со ссылками на фигуры сопровождающих чертежей, в числе которых:
Фиг.1 изображает схему общего элемента печи для выплавки металла;
Фиг.2 – частный вид и схему поворотного элемента, взаимодействующего со средством подъема;
Фиг.3 – частный вид и схему другого поворотного элемента, взаимодействующего со средством подъема;
Фиг.4 – в упрощенном варианте горизонтальный разрез крайней зоны на уровне поворотных элементов;
Фиг.5 – одну деталь фиг.4;
Фиг.6А, 6В и 6С изображает разрезы по толщине поворотных элементов различных видов.
На фиг.1 схематически изображена печь для выплавки стекла (в поперечном разрезе), оснащенная поворотными элементами.
Основные элементы печи имеют следующие обозначения: 1 – обозначает под, который выполнен горизонтальным или квазигоризонтальным; 2 – обозначает боковые перегородки или опоры, выполненные из огнеупорных материалов. Под 1 и боковые перегородки 2 по классической технологии образуют ванну В для выплавляемого стекла, выполненную из огнеупорных материалов. Размеры ванны В могут меняться.
Поворотные элементы, подробное описание которых будет приведено ниже, обозначены цифрой 3, а горизонтальный свод обозначен цифрой 4.
Кроме того, используют элементы арматуры, в частности печь устанавливают на основании 5, которое поддерживает вертикальные опоры 6, на которые опирается (помимо других элементов) верхняя арматура 7, на которой предпочтительно закрепляют элементы 8, необходимые для движения поворотных элементов 3, а также купола 4.
Поворотные элементы 3 располагают, таким образом, по периметру печи над зафиксированными боковыми перегородками 2. Они могут поворачиваться вокруг горизонтальных осей 9, находящихся строго на уровне горизонтального свода 4.
Нагревание стекла в ванне В может быть выполнено различными способами: различают нагревание с помощью электричества через электроды, встроенные в под 1, или через электроды, которые называют погружающимися, как, например, описано в патенте FR 2599734. Могут быть рассмотрены комбинированные решения.
В то же время могут быть предусмотрены дополнительные средства, такие как горелка (не показана), для дополнительного нагрева либо в начале процесса, либо дискретно по времени и/или в пространстве.
Настоящее изобретение применяют предпочтительно, но не исключительно к печам, оборудованным погружающимися электродами. Именно в этом контексте оно имеет большое число преимуществ, которые будут показаны ниже.
В классическом варианте электролизный расплав стекла в ванне В равномерно покрывают сырьем, которое образует изолирующий слой. Подача и распределение сырья могут выполняться через погрузочный люк и/или транспортер, который движется над ванной В заполняя как можно более равномерно верхнюю поверхность электролизного расплава стекла, находящегося в ванне В.
Такой способ подачи смеси должен выполняться между верхней поверхностью электролизного расплава стекла и нижней поверхностью свода 4.
До настоящего времени на этом уровне предусматривали либо постоянные отверстия, либо, в случае необходимости, сдвигающиеся устройства, которые освобождали одну из боковых сторон печи: такой способ выполнения описан в патенте FR 2599734.
Однако постоянное отверстие неудобно тем, что оно постоянно выпускает тепло в большом количестве, что приводит к нарушению теплового баланса.
Одна или несколько перемещающихся панелей, аналогичных рассмотренным в указанном выше патенте, дают некоторое улучшение с точки зрения тепла, которое является относительным, поскольку панель со стороны подачи сырья, на практике по существу всегда находится в поднятом положении, так как она должна быть всегда в верхнем положении, в период действия механизма подачи сырья, то есть большую часть времени. Только в так называемом режиме «бодрствования» панель или панели опускаются.
В то же время, в случае применения печи с погружающимися электродами должны быть предусмотрены выемки в верхних подвижных перегородках, чтобы дать возможность опорным кронштейнам электродов передвигаться сбоку. Указанные отверстия должны обязательно быть постоянными, что вызывает существенные потери энергии.
Настоящее изобретение позволяет сглаживать эти несоответствия и дает значительное улучшение в плане теплового баланса: оно действительно ограничивает тепловые потери над ванной В.
Таким образом, в настоящем изобретении предполагается оборудовать печь комплектом поворотных панелей 3, расположенных по периметру печи. Некоторое количество панелей располагают на каждой из сторон печи, по меньшей мере, на стороне, называемой загрузочной, где встроен механизм подачи стекольной смеси. Панели 3 могут поворачиваться вокруг горизонтальной оси 9, как показано на фиг.2 и на фиг.3.
На противоположном конце оси 9 предусмотрен элемент крепления 10 на внешней панели ванны В. Кабель 11 взаимодействует с элементом крепления 10 для выполнения поворота панели 3 вокруг оси 9. Кабель 11 приводят в действие, например, при помощи комплекта блоков 12, 13, 14, закрепленных на одной или нескольких опорах 8 и уже упомянутых ранее.
Кроме того, когда панели 3 находятся в горизонтальном положении, соответственно обеспечивая сообщение между внутренним пространством печи и внешней окружающей средой, они могут быть зафиксированы в этом положении с помощью крючков 15, которые взаимодействуют с кольцом 16, связанным с панелью 3.
Согласно способу осуществления изобретения существует отдельная команда для перемещения каждой панели, имеющейся на трех сторонах печи. На четвертой стороне, там, где механизм подачи стекольной смеси встроен в печь, панели могут перемещаться вместе или по отдельности.
Такая конструкция позволяет, с одной стороны, только одному оператору, который выполняет эту операцию, быстро открывать и закрывать сторону, называемую загрузочной.
Кроме того, если погружающиеся электроды встроены в четвертую перегородку, то можно ее закрыть только с помощью этих погружающихся электродов.
Помимо этого, на трех других сторонах размещение отверстий панелей 3 позволяет, например, воздействовать на такой элемент, как электрод, расположенный внутри печи, не нарушая нормальную работу других элементов печи. В печи с погружающимися электродами удачно предусмотрено размещение панели 3 напротив каждого погружающегося электрода и элемента индивидуального подъема для каждой из панелей 3, указанных выше.
Предусмотрена также система тяг и рычагов, позволяющая дистанционно отсоединять системы безопасности 15,16.
Система тяг и рычагов предназначена предпочтительно для панелей 3 с загрузочной стороны, в то время как несколько систем тяг и рычагов предусмотрены для того, чтобы отсоединять различные панели 3, расположенные соответственно на трех других сторонах.
В то же время, как показано на фиг.4, панели 3 рассечены наискось по толщине. Это позволяет улучшить герметичность между упомянутыми панелями, что является важным преимуществом по сравнению с известным уровнем техники. Такое рассечение позволяет особым образом манипулировать некоторыми панелями 3 и/или некоторыми группами панелей. Например, отверстие панели 31 может быть выполнено индивидуально: это будет панель, расположенная предпочтительно параллельно с электродом. В то же время открытие панели 32 повлечет за собой открытие соседних панелей 33 и 34.
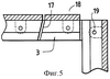
На фиг.5 показаны более подробно обеспечение герметичности и прилегания панелей. Наличие прокладки 17, обеспечивающей герметичность, предусмотрено предпочтительно между каждой панелью 3. Внешняя поверхность панелей может быть покрыта пластиной 18, выполненной из материалов с очень высокой степенью термоизоляции.
В то же время герметичность согласно изобретению позволяет избежать возникновения проблемы, присущей известному уровню техники; а именно частого появления пламени между негерметично соединяющимися панелями, повреждающего внутреннее пространство печи, что являлось неприемлемым для потребителя.
Кроме того, внутрь панелей 3 могут быть помещены укрепляющие элементы. На фиг.6А, 6В и 6С показаны возможные случаи размещения элементов 19 для трех вариантов выполнения панелей 3.
Прочное прилегание панелей 3 позволяет регулировать степень открытия верхней части печи в зависимости от размещения электродов, а также других элементов, таких как датчики и другие приспособления для измерения. Можно также предусмотреть отверстия справа от датчиков, встроенных в печь, которые будут постоянно информировать о состоянии внутренних перегородок. Если один из датчиков будет признан дефектным, то можно открыть ближайшую панель и извлечь дефектный(ые) датчик(и).
Обычно датчики устанавливают в некоторых точках печи для того, чтобы провести, например, измерения степени износа. Учитывая конфигурацию поворотных элементов согласно изобретению, имеется возможность выбрать место для установления одного или нескольких датчиков, затем поднять одну или несколько панелей, расположенных в выбранной зоне, чтобы поместить туда датчик.
Замена и/или ремонт внутренних элементов печи становятся, таким образом, легковыполнимыми действиями, оперативными и не нарушающими основной режим работы печи.
Простота конструкции комплекта панелей является очевидным преимуществом изобретения. Панелями можно манипулировать не только легко, но и надежно.
В качестве материала для изготовления панелей 3 используют термоизолирующий материал, который оказывает сопротивление при температурах порядка 1500°C (во время остановок работы печи). Он должен быть относительно легким.
Панели 3 могут быть, например, выполнены из силлиманита; их толщина может быть порядка 100 мм; высота – порядка 1100, 1200 мм или даже в два раза меньше; и ширина – между 300 и 8-мм, и более.
Настоящее изобретение позволяет существенно уменьшить выбросы пыли, возникающие при работе печи за счет высокой герметичности между панелями.
Трубы, предусмотренные обычно для вытяжки пыли, таким образом, менее нагружены, так как расходуется меньше сырья. Кроме того, большую часть времени три верхние стороны печи остаются закрытыми. В случае возникновения проблемы согласно изобретению можно легко закрыть четвертую сторону благодаря комплекту средств, описанных выше.
Формула изобретения
1. Стеклоплавильная электропечь, содержащая под (1), выполненный из огнеупорных материалов, четыре боковые перегородки (2) или опоры, верхний свод (4), приспособление для подачи стекольной смеси, желоб для вывода стекла, отличающаяся тем, что она дополнительно содержит комплект поворотных элементов (3), выполненных с возможностью поворота вокруг горизонтальных осей (9) и расположенных по периметру печи между, по меньшей мере, одной боковой перегородкой (2) и сводом (4).
2. Электропечь по п.1, отличающаяся тем, что поворотные элементы (3) выполнены в виде плоских плотно прилегающих панелей, рассеченных вертикально по толщине с возможностью обеспечения герметичности между двумя соприкасающимися панелями (3).
3. Электропечь по любому из предыдущих пунктов, отличающаяся тем, что дополнительно содержит кабели (11), блоки (12-14), лебедки, предназначенные для выполнения поворота поворотных элементов (3) по отдельности или группой.
4. Электропечь по любому из предыдущих пунктов, отличающаяся тем, что дополнительно содержит механизм блокировки (15, 16) поворотных элементов (3) в открытом положении.
5. Электропечь по п.4, отличающаяся тем, что дополнительно содержит систему разблокировки поворотных элементов (3).
6. Электропечь по любому из предыдущих пунктов, отличающаяся тем, что поворотные элементы (3) механически усилены элементами (19), в частности стержнями, размещенными в их толще.
7. Электропечь по любому из предыдущих пунктов, отличающаяся тем, что поворотные элементы (3) располагают на, по меньшей мере, трех боковых сторонах печи.
8. Электропечь по любому из предыдущих пунктов, отличающаяся тем, что содержит погружающиеся электроды, причем, по меньшей мере, один поворотный элемент (3) расположен параллельно каждому погружающемуся электроду.
9. Электропечь по любому из предыдущих пунктов, отличающаяся тем, что дополнительно содержит измерительные датчики, встраиваемые внутри печи на, по меньшей мере, одной боковой перегородке (2), при этом, по меньшей мере, один поворотный элемент (3) располагают параллельно, по меньшей мере, одному измерительному датчику.
10. Электропечь по любому из предыдущих пунктов, отличающаяся тем, что дополнительно содержит систему, предназначенную для одновременного подъема всех поворотных элементов (3), расположенных на, по меньшей мере, одной из сторон печи.
РИСУНКИ
|
|