|
|
(21), (22) Заявка: 2004120059/11, 05.07.2004
(24) Дата начала отсчета срока действия патента:
05.07.2004
(45) Опубликовано: 10.03.2006
(56) Список документов, цитированных в отчете о поиске:
DE 19618080 A1, 13.11.1997. DE 1295780 A1, 22.05.1969. DE 4122855 A1, 20.08.1992. SU 848465 A, 23.07.1981.
Адрес для переписки:
241012, г.Брянск, ул. Камозина, 43, кв.7, А.И. Карпенкову
|
(72) Автор(ы):
Карпенков Алексей Иванович (RU)
(73) Патентообладатель(и):
Карпенков Алексей Иванович (RU)
|
(54) ПОДЪЕМНИК
(57) Реферат:
Изобретение относится к грузоподъемным устройствам. Согласно изобретению привод вращения ведущих роликов снабжен, по крайней мере, одним смонтированным в корпусе барабаном, в осевом отверстии которого расположена грузонесущая штанга. Барабан через упомянутую передачу соединен с упомянутым двигателем для вращения в корпусе вокруг оси охватываемой им грузонесущей штанги, а также установлен с возможностью ограниченного осевого перемещения относительно корпуса. Оси ведущих роликов на своих концах имеют шарниры, установленные в барабане с возможностью исключения их осевого смещения относительно барабана, при этом один из шарниров оси каждого ведущего ролика установлен с возможностью радиального смещения относительно оси грузонесущей штанги, а второй шарнир установлен с возможностью перемещения по криволинейной траектории и с возможностью синхронного ограниченного поворота осей ведущих роликов для отклонения от положения, параллельного оси грузонесущей штанги, при сохранении в любой момент такого поворота прижатия ведущих роликов к этой штанге посредством управляемого привода. Оси ведущих роликов при упомянутом повороте располагаются в плоскостях, параллельных оси грузонесущей штанги. Подъемник снабжен приводами изменения усилия прижатия ведущих роликов к грузонесущей штанге пропорционально весу транспортируемого груза и, по крайней мере, одной направляющей штангой для взаимодействия с направляющими роликами, а в полости грузонесущей штанги расположен противовес, соединенный посредством гибких связей и блоков с корпусом для уравновешивания веса корпуса и грузовой платформы. Изобретение обеспечивает повышение долговечности подъемника. 2 з.п. ф-лы, 9 ил. 
Изобретение относится к грузоподъемным устройствам и может быть использовано для подъема людей и грузов в жилых и производственных зданиях.
Известен подъемник, содержащий корпус, неподвижно закрепленные, параллельные полую, круглого сечения грузонесущую и направляющую штанги, грузовую платформу, соединенную с корпусом, содержащим два цанговых зажима, надетых своими осевыми отверстиями на грузонесущую штангу, гидравлический привод цанговых зажимов и систему управления, причем на корпусе и грузовой платформе укреплены направляющие ролики, контактирующие с направляющей штангой. Система управления обеспечивает поочередное срабатывание цанговых зажимов. Работа зажимов сопровождается их осевым смещением относительно грузонесущей штанги. Это и приводит к перемещению корпуса грузовой платформы вдоль грузонесущей штанги [1].
Недостаток подъемника в наличии трения скольжения между рабочими поверхностями цанговых зажимов и грузонесущей штанги. Значительные силы трения и отсутствие противовеса, способного снизить тормозящее действие сил тяжести, требуют мощного гидравлического привода. Кроме этого, характерное для цанговых зажимов проскальзывание при высоких контактных давлениях приводит к значительному износу как цанговых зажимов, так и грузонесущей штанги. Это снижает долговечность подъемника.
Недостаток данного подъемника заключается и в том, что контактные давления, развиваемые цветовыми зажимами, постоянны и не зависят от веса поднимаемого груза. В этих условиях износ цанговых зажимов и грузонесущей штанги не уменьшается при малой загрузке и холостых перемещениях подъемника. Это также снижает долговечность подъемника.
Известен подъемник, содержащий корпус, параллельно расположенные, неподвижно закрепленные грузонесущую круглого сечения с винтовой нарезкой и гладкую направляющую штанги, грузовую платформу, соединенную с корпусом, содержащим сопряженную с грузонесущей штангой гайку с возможностью ее вращения от размещенного в корпусе привода с ограничением ее осевого перемещения относительно корпуса. Подъемник содержит направляющие ролики, укрепленные на корпусе и грузовой платформе, контактирующие с направляющей штангой. При вращении гайки от привода она перемещается вдоль оси грузонесущей штанги, увлекая за собой корпус с укрепленной на нем грузовой платформой [2].
Недостаток указанного подъемника заключается в том, что его работа сопровождается энергоемким трением скольжения. Приведение во вращение гайки перед подъемом груза требует преодоления значительных сил трения покоя. Это требует применения привода и пускового оборудования большой мощности.
Недостаток подъемника заключается и в том, что он не содержит противовеса, компенсирующего тормозящее действие весовых нагрузок. Это дополнительно увеличивает требуемую мощность привода и пускового электрооборудования.
Наиболее близким аналогом является подъемник, содержащий корпус, по крайней мере, одну полую, круглого сечения грузонесущую штангу, грузовую платформу, соединенную с корпусом, ведущие ролики, прижимающиеся к наружной поверхности упомянутой штанги, закрепленный на корпусе привод вращения ведущих роликов, включающий в себя двигатель и механическую передачу, направляющие ролики, закрепленные на корпусе и грузовой платформе [3].
Недостатком известного подъемника является неудобство эксплуатации подъемника и увеличение нагрузки на привод, пусковое электрооборудование подъемника повышенной мощности.
Техническим результатом заявленного изобретения является повышение удобства эксплуатации, уменьшение требуемой мощности привода и пускового электрооборудования, повышение долговечности подъемника.
Этот технический результат достигается тем, что в подъемнике, содержащем корпус, по крайней мере, одну полую, круглого сечения грузонесущую штангу, грузовую платформу, соединенную с корпусом, ведущие ролики, прижимающиеся к наружной поверхности упомянутой штанги, закрепленный на корпусе привод вращения ведущих роликов, включающий в себя двигатель и механическую передачу, а также направляющие ролики, закрепленные на корпусе и грузовой платформе, привод вращения ведущих роликов снабжен, по крайней мере, одним смонтированным в корпусе барабаном, в осевом отверстии которого расположена грузонесущая штанга, барабан через упомянутую передачу соединен с упомянутым двигателем для вращения в корпусе вокруг оси охватываемой им грузонесущей штанги, а также установлен с возможностью ограниченного осевого перемещения относительно корпуса, оси ведущих роликов на своих концах имеют шарниры, установленные в барабане с возможностью исключения их осевого смещения относительно барабана, при этом один из шарниров оси каждого ведущего ролика установлен с возможностью радиального смещения относительно оси грузонесущей штанги, а второй шарнир установлен с возможностью перемещения по криволинейной траектории и с возможностью синхронного ограниченного поворота осей ведущих роликов для отклонения от положения параллельного оси грузонесущей штанги при сохранении в любой момент такого поворота прижатия ведущих роликов к этой штанге посредством управляемого привода, причем оси ведущих роликов при упомянутом повороте располагаются в плоскостях, параллельных оси грузонесущей штанги, подъемник снабжен приводами изменения усилия прижатия ведущих роликов к грузонесущей штанге пропорционально весу транспортируемого груза и, по крайней мере, одной направляющей штангой для взаимодействия с направляющими роликами, а в полости грузонесущей штанги расположен противовес, соединенный посредством гибких связей и блоков с корпусом для уравновешивания веса корпуса и грузовой платформы.
На противовесе закреплены ролики с осями вращения, перпендикулярными осям грузонесущих штанг и прижимающимися к поверхности полости последней.
На корпусе закреплены ролики, имеющие оси вращения, перпендикулярные осям грузонесущих штанг и контактирующие с наружной поверхностью упомянутой штанги.
Конструкция подъемника позволяет перед началом перемещения подъемника обеспечить обкатывающее движение ведущих роликов в начале окружности на поверхности грузонесущей штанги, а затем, наклоняя их, по винтовой линии с плавным увеличением хода. Это снижает требуемый пусковой момент, мощность привода и пускового электрооборудования.
Противовес позволяет исключить энергозатраты на преодоление сил тяжести, а его ролики – энергоемкое трение скольжения противовеса по стенкам полостей грузонесущих штанг. Все это позволит дополнительно снизить требуемую мощность привода и пускового электрооборудования.
Предлагаемый подъемник снабжен размещенными в корпусе датчиком величины груза на грузовой платформе, а также управляемыми вышеуказанным датчиком приводами изменения усилия прижатия ведущих роликов к грузонесущей штанге пропорционально весу транспортируемого груза. Это позволит снижать давление ведущих роликов в контакте с грузонесущей штангой, уменьшать их износ при малой загруженности и холостых ходах и, следовательно, обеспечит увеличение долговечности подъемника.
Повышение долговечности подъемника обеспечивает и то, что на его корпусе укреплены ролики, имеющие оси вращения, перпендикулярные осям грузонесущих штанг, контактирующие с наружной поверхностью грузонесущих штанг и предотвращающие перекосы ведущих роликов и повышенный их износ.
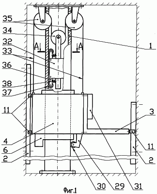
На фиг.1 изображен общий вид подъемника. На фиг.2 – разрез А-А на фиг.1. На фиг.3 – общий вид корпуса. На фиг.4 – разрез А-А на фиг.3. На фиг.5 – вид Б на фиг.3. На фиг.6 – вид В на фиг.3. На фиг.7 – вид Г на фиг.3. На фиг.8 – разрез Д-Д на фиг.3. На фиг.9 – вид Е на фиг.3.
Подъемник содержит параллельно расположенные, неподвижно закрепленные грузонесущую 1 и направляющие 2 штанги, грузовую платформу 3, соединенную с корпусом 4, ведущие ролики 5, размещенный в корпусе привод 6 вращения ведущих роликов, содержащий электродвигатель 7, зубчатую передачу 8 и барабан 9. Барабан имеет опоры вращения в корпусе 4 в виде подшипников скольжения 10.
Ведущие ролики целесообразно изготовить из полиуретана с высоким коэффициентом трения по стали, а заготовкой для грузонесущей штанги может служить стальной прокат.
Подъемник содержит укрепленные на корпусе и грузовой платформе направляющие ролики 11, контактирующие с направляющими штангами 2. Оси 12 ведущих роликов снабжены сферическими шарнирами 13 и 14. Шарниры 14 расположены в радиальных отверстиях барабана 9 и способны к смещению вдоль осей указанных отверстий. В корпусе на барабане 9 смонтирован управляемый привод поворота осей 12 ведущих роликов, состоящий из дисков 15, соединенных стаканом 16 и способных к одновременному повороту вокруг оси барабана. Каждый из вышеуказанных дисков имеет 4 сквозных отверстия, выполненных на равном расстоянии по окружности. В этих отверстиях расположены шарниры 13 осей ведущих роликов. Помимо дисков 15 стакана 16 привод поворота осей ведущих роликов содержит винтовой механизм 17 с гайкой, приводимой во вращение от встроенного электродвигателя. Питание указанного электродвигателя и управление режимом его работы осуществляется с помощью токосъемного устройства 18. Электрические провода, соединяющие клеммы электродвигателя винтового механизма и токосъемное устройство, размещены в канале К, образованном отверстиями в барабане 9. Винтовой механизм 17 посредством шарниров 19 и 20 соединен с барабаном 9 и одним из дисков 15. Кроме того, корпус 4 подъемника снабжен датчиком величины груза на грузовой платформе, выполненным в виде пружин растяжения 21, установленных между опорным 22 и нажимным 23 дисками корпуса. Причем оси пружин параллельны оси грузонесущей штанги. Кожух 24 корпуса на внутренней своей поверхности имеет пазы кольцевой формы прямоугольного сечения, открытые в сторону оси грузонесущей штанги. Кроме этого, для каждого ведущего ролика имеется привод изменения силы его прижатия к грузонесущей штанге. Указанные приводы состоят из поворотных рычагов 25, шарнирно закрепленных на барабане 9 с возможностью поворота в плоскости, радиальной по отношению к грузонесущей штанге. На одном конце поворотных рычагов установлены ролики 26, расположенные в кольцевых пазах кожуха корпуса с возможностью их качения по верхней или нижней стенкам кольцевых пазов. На другом конце каждого поворотного рычага выполнено резьбовое отверстие, в котором расположен нажимной винт 27. Нажимные винты обеспечивают натяг пружин 28 и усилие прижатия ведущих роликов к грузонесущей штанге. На опорном диске 22 корпуса подъемника равномерно по окружности укреплены кронштейны 29 с роликами 30, контактирующими с наружной поверхностью грузонесущей штанги. Оси вращения вышеуказанных роликов перпендикулярны оси грузонесущей штанги. Кроме этого, подъемник снабжен электрической системой пуска и управления 31 и содержит противовес 32, свободно размещенный в полости грузонесущей штанги и соединенный стальными канатами 33 через уравнивающий 34 и опорные 35 блоки с корпусом подъемника. В верхней и нижней частях противовеса на равном расстоянии по окружности шарнирно укреплены рычаги 36 с роликами 37. Оси вращения указанных рычагов и роликов перпендикулярны оси грузонесущей штанги. Ролики 37 прижимаются к цилиндрической поверхности полости грузонесущей штанги за счет пружин 38, установленных между рычагами 36 и противовесом 32. Натяг пружин таков, что при пусках, движении и остановках подъемника исключается раскачивание противовеса и его касание поверхности полости грузонесущей штанги. Противовес уравновешивает суммарный вес корпуса и грузовой платформы подъемника.
Подъемник работает следующим образом. В исходном неподвижном положении подъемника ведущие ролики 5 своими осями 12 расположены параллельно оси грузонесущей штанги 1. Ведущие ролики прижимаются к наружной поверхности грузонесущей штанги за счет натяга пружин 28, созданного нажимными винтами 27. Причем натяг пружин создается таким, что исключается проскальзывание ведущих роликов при движении незагруженного подъемника вверх.
При загрузке подъемника его корпус смещается вниз относительно неподвижных ведущих роликов и барабана, преодолевая сопротивление пружин 21. Это перемещение корпуса оказывается пропорциональным загрузке подъемника. Так как ролики 26 размещены в кольцевом пазу кожуха 24, осевое смещение корпуса приводит в движение поворотные рычаги 25. При этом нажимные винты 27, перемещаясь в сторону пружин 28, увеличивают их натяг и тем самым усиливают прижатие ведущих роликов к грузонесущей штанге. Причем жесткость пружин 21 и 28, размеры поворотных рычагов 25, а также фрикционные характеристики материалов таковы, что приращение сил трения в контакте ведущих роликов и грузонесущей штанги всегда превышает вес груза, размещенного на грузовой платформе. За счет этого подъемник не смещается вниз при его загрузке и не пробуксовывает при движении вверх.
Для приведения подъемника в движение с помощью системы пуска и управления 31 включают электродвигатель 7, который через зубчатую передачу 8 приводит во вращение барабан 9. Ведущие ролики, расположенные своими осями параллельно оси грузонесущей штанги, начинают перекатываться по ее поверхности. Причем траектория их обкатки представляет окружность, лежащую в плоскости, перпендикулярной оси грузонесущей штанги. При этом ведущие ролики и вращающийся барабан не смещаются вдоль оси грузонесущей штанги. Остаются неподвижными корпус и грузовая платформа подъемника. Далее включают встроенный электродвигатель винтового механизма 17 и постепенно увеличивают расстояние между шарнирами 19 и 20, посредством которых указанный механизм соединен с барабаном 9 и диском 15. Это вызывает одновременный поворот двух жестко связанных дисков 15 относительно барабана 9. Шарниры 13 осей ведущих роликов, будучи размещенными в отверстиях дисков 15, смещаются по криволинейной траектории, в горизонтальной проекции представляющей собой окружность. В результате такого перемещения шарниров 13 оси ведущих роликов, поворачиваясь вокруг шарниров 14, начинают отклоняться от своего исходного положения, параллельного оси грузонесущей штанги. Причем обеспечивается синхронный, одинаковый по величине и направлению поворот осей всех ведущих роликов. В любой момент такого поворота сохраняется прижатие роликов к грузонесущей штанге, а их оси располагаются в плоскостях, параллельных оси грузонесущей штанги. При этом траектория обкатки ведущими роликами поверхности грузонесущей штанги приобретает форму винтовой линии с плавным увеличением ее хода. В результате этого ведущие ролики, барабан, корпус и грузовая платформа начинают смещаться вдоль оси грузонесущей штанги. Требуемую скорость движения подъемника обеспечивают наклоном осей ведущих роликов при соответствующей частоте вращения барабана. Регулировка скорости перемещения подъемника осуществляется автоматически или оператором с помощью системы пуска и управления 31. При достижении необходимой скорости движения отключается питание электродвигателя винтового механизма 17. Оси ведущих роликов сохраняют свой наклон, а подъемник движется с постоянной скоростью.
Перед остановкой подъемника включают реверсивное вращение встроенного электродвигателя винтового механизма 17 и осуществляют постепенный поворот дисков 15 в обратном направлении и тем самым уменьшают угол наклона осей ведущих роликов. Уменьшается ход винтовой траектории обкатки ведущих роликов поверхности грузонесущей штанги. Подъемник плавно замедляет свое движение и останавливается, когда оси ведущих роликов оказываются параллельными оси грузонесущей штанги.
После операции загрузки-выгрузки при вращающемся барабане, включив привод поворота осей ведущих роликов и наклоняя их, возобновляют движение подъемника. При необходимости смены направления движения подъемника после его остановки включают реверсивное вращение электродвигателя 7 привода вращения ведущих роликов.
Отсутствие перекосов, заклинивания ведущих роликов и плавность движения подъемника обеспечивают ролики 30, контактирующие с грузонесущей штангой.
Направляющие ролики 11, перекатывающиеся по направляющим штангам 2, предотвращают поворот подъемника вокруг оси грузонесущей штанги.
При осуществлении изобретения могут быть достигнуты технические результаты, связанные с уменьшением требуемой мощности привода и пускового электрооборудования, а также с увеличением долговечности подъемника.
ИСТОЧНИКИ ИНФОРМАЦИИ.
1. Патент ФРГ DE 4118134 С1, МКИ В 66 в 9/04.
2. Патент ФРГ DE 2746268 A1, МКИ В 66 в 9/08.
3. DE 19618080 А1, В 66 В 9/02, 13.11.1997.
Формула изобретения
1. Подъемник, содержащий корпус, по крайней мере, одну полую, круглого сечения грузонесущую штангу, грузовую платформу, соединенную с корпусом, ведущие ролики, прижимающиеся к наружной поверхности упомянутой штанги, закрепленный на корпусе привод вращения ведущих роликов, включающий в себя двигатель и механическую передачу, направляющие ролики, закрепленные на корпусе и грузовой платформе, отличающийся тем, что привод вращения ведущих роликов снабжен, по крайней мере, одним смонтированным в корпусе барабаном, в осевом отверстии которого расположена грузонесущая штанга, барабан через упомянутую передачу соединен с упомянутым двигателем для вращения в корпусе вокруг оси охватываемой им грузонесущей штанги, а также установлен с возможностью ограниченного осевого перемещения относительно корпуса, оси ведущих роликов на своих концах имеют шарниры, установленные в барабане с возможностью исключения их осевого смещения относительно барабана, при этом один из шарниров оси каждого ведущего ролика установлен с возможностью радиального смещения относительно оси грузонесущей штанги, а второй шарнир установлен с возможностью перемещения по криволинейной траектории и с возможностью синхронного ограниченного поворота осей ведущих роликов для отклонения от положения, параллельного оси грузонесущей штанги, при сохранении в любой момент такого поворота прижатия ведущих роликов к этой штанге посредством управляемого привода, причем оси ведущих роликов при упомянутом повороте располагаются в плоскостях, параллельных оси грузонесущей штанги, подъемник снабжен приводами изменения усилия прижатия ведущих роликов к грузонесущей штанге пропорционально весу транспортируемого груза и, по крайней мере, одной направляющей штангой для взаимодействия с направляющими роликами, а в полости грузонесущей штанги расположен противовес, соединенный посредством гибких связей и блоков с корпусом для уравновешивания веса корпуса и грузовой платформы.
2. Подъемник по п.1, отличающийся тем, что на противовесе закреплены ролики с осями вращения, перпендикулярными осям грузонесущих штанг и прижимающимися к поверхности полости последней.
3. Подъемник по п.1, отличающийся тем, что на корпусе закреплены ролики, имеющие оси вращения, перпендикулярные осям грузонесущих штанг и контактирующие с наружной поверхностью упомянутой штанги.
РИСУНКИ
|
|