|
|
(21), (22) Заявка: 2004115388/12, 15.10.2002
(24) Дата начала отсчета срока действия патента:
15.10.2002
(30) Конвенционный приоритет:
23.10.2001 (пп.1-15) US 10/047602
(43) Дата публикации заявки: 10.03.2005
(45) Опубликовано: 10.03.2006
(56) Список документов, цитированных в отчете о поиске:
US 6056147 А, 02.05.2000. US 3279008 А, 18.10.1966. US 1260434 А, 26.03.1918. US 5232118 А, 03.08.1993. US 5556063 А, 17.09.1996.
(85) Дата перевода заявки PCT на национальную фазу:
24.05.2004
(86) Заявка PCT:
US 02/32746 (15.10.2002)
(87) Публикация PCT:
WO 03/042047 (22.05.2003)
Адрес для переписки:
191002, Санкт-Петербург, а/я 5, ООО “Ляпунов и партнеры”, пат.пов. В.В.Дощечкиной
|
(72) Автор(ы):
РОСКОУ Роберт Ф. (US)
(73) Патентообладатель(и):
РОСКОУ Роберт Ф. (US)
|
(54) РЕГУЛИРУЕМЫЙ ФИКСАТОР ВКЛАДЫША КОНТЕЙНЕРА
(57) Реферат:
Система регулируемой фиксации вкладыша, содержащая контейнер, имеющий отверстие, верхнюю кромку и наружную поверхность, а также вкладыш, находящийся в указанном контейнере. Причем верхний участок указанного вкладыша выходит из отверстия контейнера, перегибается через его верхнюю кромку и частично свешивается ниже верхней кромки контейнера рядом с наружной поверхностью контейнера. При этом регулируемый фиксатор вкладыша, который натянут вокруг верхней части указанного контейнера, прижимая свешивающийся верхний участок вкладыша к наружной поверхности контейнера, представляет собой полоску материала, имеющею первый конец, второй конец, первую и вторую стороны. Причем, по меньшей мере, часть указанной полоски материала является эластомерным материалом, что позволяет создать натяжение для прижима вкладыша к наружной поверхности контейнера. Причем к первому концу указанной полоски на ее первой стороне прикреплен участок с “крючками” застежки-липучки, а ко второму концу указанной полоски на ее второй стороне прикреплен участок с “петлями” застежки-липучки. Причем указанная застежка-липучка обеспечивает скрепление указанных первого и второго концов полоски с возможностью их разъединения. Предложенное изобретение обеспечивает создание фиксатора вкладыша, обеспечивающего надежное закрепление вкладыша на контейнере. 3 н. и 12 з.п. ф-лы, 8 ил. 
Область техники
Настоящее изобретение относится к фиксатору вкладыша, предотвращающему постепенное соскальзывание в контейнер вкладышей типа мешков для мусора в процессе их заполнения материалом и обеспечивающему гораздо лучшее уплотнение материала внутри контейнера. Кроме того, благодаря такому фиксатору контейнеры с вкладышами приобретают более привлекательный вид и становятся пригодными для размещения на них самой разнообразной информации и маркировки.
Известный уровень техники
В настоящее время для многих видов контейнеров используются различные вкладыши, главным образом мешки, выполненные из тонкой пластмассовой пленки или бумаги, которые служат либо как уплотнители для гигиенических целей, либо просто для удобства. По этой причине они приобрели очень широкую популярность и стали применяться повсеместно. Благодаря вкладышам устраняется необходимость в очистке контейнеров для мусора или отходов, а также намного облегчается и становится безопасной операция удаления их содержимого. При этом не приходится каким бы то ни было образом соприкасаться с содержимым контейнера или переносить используемый на данном участке контейнер на общую сборную площадку, достаточно лишь плотно герметизировать вкладыш с его содержимым. Герметизация легко выполняется с помощью проволочных стяжек, внутренних натяжных тесемок или путем завязывания вручную в узел верхнего края вкладыша. Вкладыши стали неотъемлемой частью нашего быта и, кроме того, широко используются для хранения в контейнерах иных материалов, нежели отходы.
Для того чтобы можно было использовать вкладыши с имеющимися на рынке контейнерами самых разных размеров и форм, необходимо изготавливать вкладыши различных размеров. Однако на практике вкладыши производят с довольно ограниченным набором размеров, так что в большинстве случаев оказывается невозможно плотно пригнать их к контейнеру при перегибе верхнего края вкладыша через верх контейнера с целью закрепления. Поскольку не удается надежно удержать вкладыш в нужном положении, происходит его соскальзывание в контейнер, что создает значительные неудобства и, соответственно, снижает эффективность применения вкладышей. Вкладыши практически никогда не заполняются до конца, в соответствии с емкостью контейнера, для работы с которым они предназначены.
В патентах США №№5740939 и 5518136 предложены фиксаторы вкладышей контейнеров. В каждом из них описан эластичный фиксирующий элемент, выполненный в виде замкнутой петли, а также прикрепленные к нему соединительный и крепежный элементы. Фиксирующий элемент удерживает вкладыш на контейнере, тогда как соединительный и крепежный элементы обеспечивают прикрепление к контейнеру самого фиксирующего элемента.
В патенте США №4822178 описан мешок, имеющий расположенные вокруг его верхнего отверстия полоски с застежками типа “липучка”, которые обеспечивают надежное закрытие мешка. При установке на стойке для корзины верхняя часть мешка вместе с указанными полосками перегибается через верх стойки. Имеющиеся в верхней части мешка полоски с липучками могут быть прикреплены к лепесткам с липучками, которые пришиты по наружной стороне мешка, что обеспечивает закрепление мешка на стойке.
В патенте США №3927445 описана эластичная фиксирующая петля для удержания вывернутой наружу верхней кромки вкладыша типа мешка прижатой к наружной поверхности жесткого контейнера с отходами со средством регулировки периферийного размера фиксатора в расчете на возможность работы с контейнерами разных размеров. Сходная конструкция описана в патенте США №5556063 применительно к эластичной фиксирующей ленте для мешка с мусором. Таким образом, желательно иметь простую эластичную полоску, которую можно было бы легко разместить по периферии кромочного участка или перегнуть через верх вложенного в контейнер мешка, плотно натянуть вокруг контейнера с разными поперечными сечениями, соответствующими размеру используемого вкладываемого мешка, и затем надежно закрепить с помощью “липучек”, прикрепленных по концам полосы. Кроме того, желательно предусмотреть средство для маскировки участка прикрепления полоски или для нанесения на этой полоске нужной информации или маркировки.
Краткое изложение сущности изобретения
Таким образом, целью изобретения является создание регулируемого фиксатора вкладыша для предотвращения его соскальзывания в контейнер, что позволит добиться гораздо более надежного уплотнения, а также экономии при использовании и замене вкладышей.
Другая цель изобретения – создание простого средства для маскировки элементов присоединения фиксатора не только по эстетическим соображениям, но и для нанесения нужной информации.
Еще одна цель изобретения – создание фиксатора вкладыша, который имел бы конструкцию, позволяющую работать с широким диапазоном размеров вкладышей и контейнеров, и мог бы прикрепляться и отделяться за один прием.
Для достижения указанных выше и других целей предлагается система регулируемой фиксации вкладыша, содержащая контейнер, имеющий отверстие, верхнюю кромку и наружную поверхность, и вкладыш, находящийся в контейнере, причем верхний участок вкладыша выходит из отверстия, перегибается через верхнюю кромку и, по меньшей мере, частично свешивается ниже верхней кромки рядом с наружной поверхностью контейнера. Предусмотрен регулируемый фиксатор вкладыша, который натянут вокруг верхней части контейнера, прижимая свешивающийся верхний участок вкладыша к наружной поверхности контейнера. Регулируемый фиксатор вкладыша представляет собой полоску материала, по меньшей мере, часть которого является эластомерным материалом, что позволяет создать натяжение для прижима вкладыша к наружной поверхности контейнера. К первому и второму концам полоски прикреплены участок с “крючками” липучки и участок с “петлями” застежки-липучки. Эта липучка обеспечивает скрепление указанных первого и второго концов указанной полоски с возможностью их разъединения.
Целесообразно, чтобы фиксатор вкладыша содержал также орнаментальную деталь, прикрепленную к полоске на противоположной стороне, по меньшей мере, одного из указанных участков с “крючками” и “петлями” липучки. Согласно другому варианту выполнения фиксатор вкладыша может иметь, вместо орнаментальной детали или в дополнение к ней, накладную пластинку с какой-либо информацией. Целесообразно в качестве эластомерного материала фиксатора вкладыша использовать какой-либо текстильный материал типа спандекса. Фиксатор вкладыша может также содержать по петле на каждом из концов полоски для облегчения манипуляций с застежкой-липучкой.
Сущность изобретения, его конкретные признаки и преимущества явствуют из приведенного ниже подробного описания со ссылками на прилагаемые чертежи.
Краткое описание чертежей
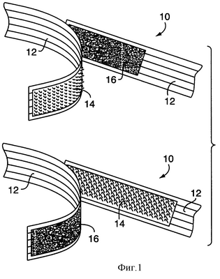
Фиг.1 представляет собой изображение в перспективе регулируемого фиксатора вкладыша согласно изобретению, на котором показаны застежки типа “липучка” и продемонстрирована возможность их перестановки.
Фиг.2 – изображение в перспективе точек прикрепления “липучки” фиксатора вкладыша по фиг.1 с демонстрацией отклонения от расположения на одной линии.
Фиг.3 – изображение в перспективе прикрепления орнаментальной детали к точкам прикрепления фиксатора вкладыша по фиг.1.
Фиг.4 – изображение в перспективе прикрепления информативной накладки к точкам прикрепления фиксатора вкладыша по фиг.1.
Фиг.5 – изображение в перспективе фиксатора вкладыша по фиг.1, используемого на прямоугольном контейнере открытого типа.
Фиг.6 – изображение в перспективе фиксатора вкладыша по фиг.1, используемого на круглом контейнере с ручками возле кромки.
Фиг.7 – изображение в перспективе фиксатора вкладыша по фиг.1, используемого на круглом контейнере с ручками возле кромки и с крышкой.
Фиг.8 – изображение в перспективе фиксатора вкладыша возле ручки по фиг.6.
Подробное описание вариантов выполнения, показанных на чертежах
На фиг.1-8 показан регулируемый фиксатор 10 вкладыша согласно изобретению. Этот фиксатор представляет собой полоску 12 из эластомерного материала, имеющую первый конец и второй конец, а также первую сторону и вторую сторону с фиксирующими полосками 14, 16 типа “липучка”, прикрепленными на каждом из концов на противоположных сторонах полоски 12. Так, например, полоска 14 с “крючками” липучки может быть прикреплена к первому концу полоски 12 на первой стороне, а полоска 16 с “петлями” липучки может быть прикреплена ко второму концу полоски 12 на второй стороне. В результате, как видно на фиг.1 и 2, когда полоска 12 обернута вокруг контейнера 18, полоски с “крючками” и с “петлями” фиксирующих полосок 14, 16 оказываются рядом друг с другом, так что предотвращается малейшее нежелательное перекручивание полоски 12 и она ровно прилегает к контейнеру 18. Кроме того, в данной конструкции обеспечивается возможность перестановки прикрепляемых концов фиксатора вкладыша, как показано на тех же фиг.1 и 2. Так в фиксаторе 10 вкладыша можно поменять местами концы или стороны, то есть перевернуть его. Правильное прикрепление фиксатора обеспечивается в любом случае, лишь бы он прилегал к контейнеру 18 в практически плоском положении.
В качестве материала липучки можно использовать любой материал из выпускаемых нидерландской компанией Velcro Industries B.V. под товарным знаком VELCRO®. В качестве эластомерного материала полоски 12 можно применить любой эластичный материал. Рекомендуется использовать для этого какой-либо стандартный эластичный текстильный материал типа тканого или вязаного материала на основе полиэфира/хлопка с прорезиненной или иной эластичной пряжей, например спандекс. Благодаря использованию стандартных эластичных текстильных материалов обеспечивается возможность промывки фиксатора; кроме того, они имеются на рынке с различными цветовыми оттенками, рисунками и в разных сочетаниях. Однако в отдельных особых случаях можно, конечно, пользоваться и другими материалами, например плоскими резиновыми лентами. Полоску 12, как и полоски-липучки 14, 16, можно изготавливать с разной шириной и длиной, в зависимости от размеров контейнера 18, на котором предстоит помещать фиксатор 10, и от требуемой степени регулировки. Совершенно очевидно, что для выполнения фиксатора можно использовать комбинацию полосок из эластомерного материала с полосками из неэластомерного материала, в той мере, в какой допускается их удлинение, достаточное для натяжения фиксатора и его беспрепятственной регулировки.
Длина полоски 12 и полосок-липучек 14, 16 выбирается так, чтобы она соответствовала контейнерам с разными поперечными сечениями, для которых используются такие же вкладыши 20, например мешки для мусора емкостью тринадцать галлонов, благодаря чему удается использовать фиксатор 10 для контейнеров любых размеров с вкладываемыми в них мешками данного конкретного размера или емкости. При этом обеспечивается также возможность легкой, не требующей усилий регулировки фиксатора 10 без нарушения натяжения или предварительной регулировки. Для прикрепления фиксатора 10 к контейнеру 18 надо поместить вкладыш 20 в контейнер 18 таким образом, чтобы верхний край 22 вкладыша 20 выходил из отверстия контейнера 18 и перегибался через верхнюю кромку контейнера, свисая рядом с его наружной поверхностью; затем следует обернуть фиксатор 10 вокруг загнутого на контейнере 18 верхнего края 22 вкладыша 20, после чего скрепить друг с другом соответствующие полоски-липучки 14, 16. Эластомерная полоска 12 обеспечивает возможность регулировки растяжением, но возможность регулировки обеспечивается также полосками-липучками 14, 16, поскольку оказывается необходимо, чтобы лишь небольшая зона одной из застегивающихся полосок, то есть стороны с “крючками”, была прикреплена ко второй полоске, то есть к стороне с “петлями”. Кроме того, для достижения скрепления не требуется, чтобы фиксатор 10 был установлен в каком-либо определенном направлении или с какой-либо конкретной стороны, поскольку благодаря механизму фиксации липучек такая необходимость отсутствует. Более того фиксатор 10 может быть даже немного перекручен и будет при этом продолжать выполнять свою функцию, поскольку полоски-липучки 14, 16 расположены на одной линии. Следует, однако, понимать, что для получения надежного соединения на мешке-вкладыше 20 идеальное расположение на одной линии не является необходимым как следует из фиг.2. На фиг.2 видно, что хотя полоска 16 с “петлями” частично отошла и не лежит на одной линии со стороной 14 с “крючками”, получаемого здесь соединения вполне достаточно для закрепления вкладыша 20 в контейнере 18.
Освобождение фиксатора легко осуществляется, если расцепить полоски-липучки. Облегчить операцию его освобождения можно также, предусмотрев на каждом конце полоски 12 лепесток или петлю из ткани или другого материала. В любом варианте выполнения конструкции обеспечивается беспрепятственное отсоединение полосок-липучек 14, 16. После этого можно отложить фиксатор в сторону, герметизировать (завязать) и вынуть вкладыш 20, а затем вложить новый мешок. Можно также временно хранить фиксаторы 10, прикрепив их к контейнерам 18 полосками-липучками, а также прикреплять на липучках к ремням персонала или к хозяйственным тележкам.
Фиксатор 10 вкладыша создает достаточное трение в результате прижима вкладыша 20 к наружной поверхности контейнера 18, благодаря чему преодолевается трение, создаваемое при укладке в контейнер различных предметов и/или при уплотнении отходов внутри контейнера. Фиксатор способен также обеспечить неразрывный контакт вкладыша 20 с кромкой 24, выполняемой обычно в верхней части контейнера 18 по периферии его отверстия. Хотя в некоторых контейнерах поперечное сечение кромки 24 может быть довольно небольшим, важно поддерживать такую периферийную полосу контакта, чтобы рассеивались любые неравномерные усилия, оказываемые уплотняемыми материалами на внутреннюю сторону контейнера 18 и вкладыша 20. Кроме того, прямоугольные контейнеры часто выполняются вогнутыми по своей более длинной стороне под кромкой 24, при этом лишь небольшая часть сторон отогнутого верхнего участка вкладыша 20 может находиться в непосредственном соприкосновении с контейнером 18. В этих условиях тем более важно, чтобы отогнутый верхний участок 22 вкладыша 20 был постоянно натянут на кромку 24. Фиксатор 10 благодаря трению обоих типов, обеспечивающих контакт, дает возможность значительно более прочного закрепления вкладыша 20, нежели в случае, когда он не используется, что позволяет предотвратить соскальзывание вкладыша. Следует также иметь в виду, что сам вкладыш 10 имеет очень невысокую прочность, поэтому устойчивость к усилиям, необходимым для деформации уплотняемых отходов, обеспечивается жесткостью контейнера 18. В конечном счете, вследствие уплотнения отходов вкладыш 20 приобретает форму контейнера 18. Если типовой мешок-вкладыш из тонкого пластика использовать сам по себе, без контейнера 18, то часто случается, что его хватает очень ненадолго, так как такие мешки имеют тенденцию разрываться под действием давления и образовывать острые кромки.
К фиксатору 10 напротив полосок 14, 16 могут быть приклеены или пришиты язычки или короткие полоски для закрепления орнаментальных деталей или ярлыков с целью размещения какой-либо информации или маскировки наружной стороны полосок-липучек 14, 16. Как правило, верхние части вкладышей 20 завязывают узлом, с тем чтобы они были лучше пригнаны к контейнеру, в который их помещают. Эта операция не только неэффективна в смысле предотвращения соскальзывания вкладыша в контейнер, но и оставляет впечатление неопрятности, особенно при использовании контейнеров в местах большого скопления людей, в офисах, в номерах гостиниц и мотелей. После прикрепления фиксатора 10 вкладыша к контейнеру 18 на нем можно быстро и с легкостью закрепить, например, логотип компании, бант, табличку с кодом, штриховой код, табличку с именем и т.п. Хотя вкладыши 20 используются, главным образом, в качестве емкости для отходов, их в последнее время стали также широко применять для разделения разных видов содержимого контейнера, особенно в тех случаях, когда пользователь не желает перед повторным использованием контейнера вычищать остатки его предыдущего содержимого.
На фиг.3 продемонстрирован способ прикрепления орнаментальной детали или таблички с информацией поверх фиксирующих концов 14, 16 фиксатора 10 вкладыша. Показанная здесь орнаментальная деталь типа декоративного банта, снабженная липучкой, может быть закреплена по сторонам фиксатора 10 напротив полосок 14, 16. Облегчить прикрепление орнаментальной детали 26 к фиксатору 10 можно с помощью небольших кусочков 28 липучки одного или обоих типов, закрепляемых на орнаментальной детали и на сторонах концов фиксатора 10, где нет застежек. Орнаментальная деталь 26 просто прикрепляется и отстегивается при замене вкладыша или же остается прикрепленной к одному концу. На фиг.4 иллюстрируется способ выполнения накладной пластинки 29 из изогнутого пластика, ткани, бумаги или иного гибкого материала с возможностью нанесения на него печати и ее прикрепления по концам фиксатора 10 вкладыша. На передней стороне этой гибкой пластинки 29 могут быть помещены реклама, паспортные данные, штриховые коды, этикетки или любая другая нужная информация. На ее складке можно выполнить изгиб 30, так чтобы пластинка 29 постоянно поддерживалась в изогнутом состоянии, либо можно прикрепить к внутренней поверхности передней стороны и к внутренней поверхности задней стороны кусочки липучек. Накладную пластинку 29 можно либо полностью снимать всякий раз при замене вкладыша 20, либо сделать такой, чтобы она при замене сдвигалась в сторону. Разумеется орнаментальную деталь 26 или накладную пластинку 29 можно также прикрепить к фиксатору 10 несъемным образом, например приклеить или пришить, а также прикрепить к нему на других его участках.
Применение фиксатора 10 не ограничивается какими-либо конкретными размерами или формой контейнера 18. На фиг.5 показан регулируемый фиксатор 10 вкладыша, используемый с прямоугольным контейнером 18, в который помещают мешок-вкладыш 20. Здесь вкладыш 20 полностью задвинут внутрь контейнера 18. Фиксатор 10 вкладыша охватывает отогнутую верхнюю часть вкладыша 20 и закреплен в месте расположения его фиксирующих полосок 14, 16. Вкладыш 20 натянут, образуя сплошной контакт с кромкой 24 контейнера, а также с его боковыми сторонами. На фиг.6 показан регулируемый фиксатор 10 вкладыша, используемый с круглым контейнером 18, который имеет ручки 32, выполненные как одно целое с кромкой 24. Фиксатор 10 помещен под кромкой 24 контейнера 18 и свешивается на ручки 32. В этом положении фиксатор 10 сохраняет способность с достаточной силой натягивать отогнутую часть 22 вкладыша 20, прижимая ее к сторонам контейнера 18 и к его кромке 24. Можно также поместить фиксатор под ручками 32 круглого контейнера 18, показанного на фиг.7. В этой конструкции крышка 34 контейнера полностью отделена от фиксатора 10 и от ручек 32. Доступ к застегивающимся концам 14, 16 по-прежнему свободен. На фиг.8 в увеличенном масштабе приведено изображение фиксатора 10 вкладыша, который плотно надет на ручку 32 круглого контейнера 18, показанного также на фиг.6. Отогнутая часть 22 вкладыша 20 над ручкой 32 захвачена фиксатором 10 и, кроме того, непрерывно натянута вдоль кромки 24. Фиксирующие полоски 14, 16 можно беспрепятственно расположить даже в этом месте.
Несмотря на то, что выше изобретение было описано применительно к отдельной конкретной комбинации узлов, признаков и т.п., их не следует рассматривать как исчерпывающий перечень всех возможных конструкций и признаков, так что на практике специалисты вполне могут предусмотреть любые другие модификации.
Формула изобретения
1. Система регулируемой фиксации вкладыша, содержащая контейнер, имеющий отверстие, верхнюю кромку и наружную поверхность; вкладыш, находящийся в указанном контейнере, причем верхний участок указанного вкладыша выходит из отверстия контейнера, перегибается через его верхнюю кромку и, по меньшей мере, частично свешивается ниже верхней кромки контейнера рядом с наружной поверхностью контейнера; регулируемый фиксатор вкладыша, который натянут вокруг верхней части указанного контейнера, прижимая свешивающийся верхний участок вкладыша к наружной поверхности контейнера, представляющий собой полоску материала, имеющую первый конец, второй конец, первую и вторую стороны, причем, по меньшей мере, часть указанной полоски материала является эластомерным материалом, что позволяет создать натяжение для прижима вкладыша к наружной поверхности контейнера, причем к первому концу указанной полоски на ее первой стороне прикреплен участок с “крючками” застежки-липучки, а ко второму концу указанной полоски на ее второй стороне прикреплен участок с “петлями” застежки-липучки, причем указанная застежка-липучка обеспечивает скрепление указанных первого и второго концов полоски с возможностью их разъединения.
2. Система по п.1, где фиксатор вкладыша дополнительно содержит орнаментальную деталь, прикрепленную к указанной полоске материала либо на указанной первой стороне, либо на указанной второй стороне, которая является противоположной по меньшей мере одному из указанных участков с “крючками” и “петлями” застежки-липучки.
3. Система по п.1, где фиксатор вкладыша дополнительно содержит накладную пластинку, прикрепленную к указанной полоске материала либо на указанной первой стороне, либо на указанной второй стороне, которая является противоположной, по меньшей мере, одному из указанных участков с “крючками” и “петлями” застежки-липучки.
4. Система по п.1, где фиксатор вкладыша в качестве эластомерного материала содержит текстильный материал.
5. Система по п.1, где фиксатор вкладыша дополнительно содержит петлю на каждом из концов указанной полоски для облегчения манипуляций с застежкой-липучкой.
6. Регулируемый фиксатор вкладыша, содержащий полоску материала, имеющую первый конец, второй конец, первую сторону и вторую сторону, в виде ленты, причем, по меньшей мере, часть указанной полоски материала является эластомерным материалом; участок с “крючками” застежки-липучки, прикрепленный к первому концу указанной полоски на ее первой стороне; участок с “петлями” застежки-липучки, прикрепленный ко второму концу указанной полоски на ее второй стороне.
7. Регулируемый фиксатор вкладыша по п.6, дополнительно содержащий орнаментальную деталь, прикрепленную к указанной полоске материала либо на указанной первой стороне, либо на указанной второй стороне, которая является противоположной, по меньшей мере, одному из указанных участков с “крючками” и “петлями”.
8. Регулируемый фиксатор вкладыша по п.6, дополнительно содержащий накладную пластинку, прикрепленную к указанной полоске либо на указанной первой стороне, либо на указанной второй стороне, противоположной, по меньшей мере, одному из указанных участков с “крючками” и “петлями”.
9. Регулируемый фиксатор вкладыша по п.6, в котором в качестве эластомерного материала использован текстильный материал.
10. Регулируемый фиксатор вкладыша по п.6, дополнительно содержащий петлю на каждом из концов указанной полоски для облегчения манипуляций с застежкой-липучкой.
11. Регулируемый фиксатор вкладыша, содержащий полоску эластомерного материала в виде ленты, имеющую первый конец и второй конец, а также первую сторону и вторую сторону; участок с “крючками” застежки-липучки, прикрепленный к указанному первому концу указанной полоски на указанной первой стороне; участок с “петлями” указанной застежки-липучки, прикрепленный к указанному второму концу указанной полоски на указанной второй стороне.
12. Регулируемый фиксатор вкладыша по п.11, дополнительно содержащий орнаментальную деталь, прикрепленную к указанной полоске материала либо на указанной первой стороне, либо на указанной второй стороне, которая является противоположной, по меньшей мере, одному из указанных участков с “крючками” и “петлями”.
13. Регулируемый фиксатор вкладыша по п.11, дополнительно содержащий накладную пластинку, прикрепленную к указанной полоске материала либо на указанной первой стороне, либо на указанной второй стороне, противоположной, по меньшей мере, одному из указанных участков с “крючками” и “петлями”.
14. Регулируемый фиксатор вкладыша по п.11, в котором в качестве указанного эластомерного материала использован текстильный материал.
15. Регулируемый фиксатор вкладыша по п.11, дополнительно содержащий петлю на каждом из указанных первом и втором концов указанной полоски для облегчения манипуляций с застежкой-липучкой.
РИСУНКИ
MM4A – Досрочное прекращение действия патента СССР или патента Российской Федерации на изобретение из-за неуплаты в установленный срок пошлины за поддержание патента в силе
Дата прекращения действия патента: 16.10.2009
Извещение опубликовано: 27.09.2010 БИ: 27/2010
|
|