|
|
(21), (22) Заявка: 2003101328/12, 18.06.2001
(24) Дата начала отсчета срока действия патента:
18.06.2001
(30) Конвенционный приоритет:
20.06.2000 (пп.1-16) US 09/597,427
(43) Дата публикации заявки: 20.05.2004
(45) Опубликовано: 10.03.2006
(56) Список документов, цитированных в отчете о поиске:
US 6003712 А, 21.12.1999. US 5108029 А, 28.04.1992. RU 2170198 С2, 10.07.2001.
(85) Дата перевода заявки PCT на национальную фазу:
20.01.2003
(86) Заявка PCT:
US 01/41025 (18.06.2001)
(87) Публикация PCT:
WO 01/98168 (27.12.2001)
Адрес для переписки:
129010, Москва, ул. Б.Спасская, 25, стр.3, ООО “Юридическая фирма Городисский и Партнеры”, пат.пов. С.А.Дорофееву
|
(72) Автор(ы):
ГРОСС Ричард А. (US)
(73) Патентообладатель(и):
СИКВИСТ КЛОУЖЕРЗ ФОРИН, ИНК. (US)
|
(54) УКУПОРОЧНОЕ УСТРОЙСТВО ДЛЯ СОСУДА (ВАРИАНТЫ)
(57) Реферат:
Изобретение относится к укупорочным устройствам для сосудов. Устройство содержит корпус (26) с охватывающей стенкой (36 и 48), расходное отверстие (56), проходящее сквозь охватывающую стенку, крышку (24), соединенную с охватывающей стенкой (36 и 48), элемент (94) индикации вскрытия, включающий вдавливаемую часть (116), соединенную с корпусом (26), причем вдавливаемая часть (116) соединена с фиксирующей частью (120) хрупким соединением (124), при этом вдавливаемая часть (116) выполнена с возможностью перемещения в радиальном направлении внутрь относительно фиксирующей части (120) путем надавливания на вдавливаемую часть (116) для отделения вдавливаемой части (116) от фиксирующей части (120), при этом вдавливаемая часть (116) остается прикрепленной к фиксирующей части (120) для предотвращения образования отдельного кусочка отходов. Также предложены варианты этого укупорочного устройства. Предложенное решение позволяет экономически эффективно изготавливать и устанавливать укупорочное устройство на сосуде. 5 н. и 11 з.п. ф-лы, 13 ил. 
Настоящее изобретение относится к укупорочным устройствам для сосуда, содержащим приспособления индикации вскрытия, которые должны быть каким-либо образом видоизменены для получения доступа к содержимому сосуда, причем изменение должно стать очевидным признаком того, что сосуд был ранее вскрыт. Настоящее изобретение особенно подходит для приспособлений индикации вскрытия, в которых для вскрытия сосуда должна быть оторвана или отделена панель.
Ранее были разработаны или предложены различные укупорочные устройства для сосудов, в которых первое открывание (вскрытие) крышки или расходного горлышка обеспечивает визуальное подтверждение такого события (даже если после вскрытия крышку или горлышко затем вновь закрывают). В патентах США №4487324 и №4941592 описаны укупорочные устройства, которые включают отрывные кольцо или язычок, прикрепленные к крышке или корпусу укупорочного устройства с множеством хрупких перепонок для того, чтобы в исходном положении удерживать крышку укупорочного устройства на корпусе в закрытом состоянии. Для того чтобы вскрыть укупорочное устройство, потребитель должен сломать хрупкие перепонки на язычке или кольце посредством нажима или оттягивания.
В патенте США №5201440 описано укупорочное устройство для сосуда, которое включает корпус для установки на сосуде. В корпусе имеется расходное отверстие. Крышка расположена на корпусе так, чтобы ее можно было перемещать из положения «Закрыто» в положение «Открыто» и наоборот относительно расходного отверстия. Элемент индикации вскрытия выполнен в виде выступающей части крышки. Элемент соединен с крышкой первой хрупкой перепонкой. Фиксирующее средство соединено второй хрупкой перепонкой с другой частью элемента индикации вскрытия, и фиксирующее средство удерживают с помощью корпуса укупорочного устройства. Элемент индикации вскрытия включает отрывной язычок, который можно потянуть до полного разрыва хрупких перепонок, соединяющих элемент индикации вскрытия с крышкой и фиксирующим средством. Это позволяет открыть крышку, в то же время обеспечивая наглядность вскрытия укупорочного устройства.
В патенте США №5875907 описано укупорочное устройство для сосуда, содержащее корпус и крышку. Укупорочное устройство включает элемент индикации вскрытия, соединенный с корпусом укупорочного устройства посредством фиксирующего элемента, вставленного в отверстие для введения фиксирующего элемента, выполненного в корпусе укупорочного устройства. Элемент индикации вскрытия также соединен посредством хрупкого соединения с крышкой укупорочного устройства. Из элемента индикации вскрытия выступает пробка, и ее можно вставлять в отверстие для введения пробки, выполненное в корпусе. Когда надавливают на элемент индикации вскрытия, чтобы понудить пробку войти в отверстие для введения пробки, хрупкое соединение ломается и элемент индикации вскрытия удерживается в его вдавленном положении. Это служит указанием того, что укупорочное устройство, возможно, ранее было вскрыто.
В патенте США №6003712 раскрыто укупорочное устройство для сосуда, содержащее корпус с охватывающей стенкой для укупорки сосуда и расходным отверстием, проходящим сквозь охватывающую стенку, крышку, оперативно соединенную с охватывающей стенкой, для закрывания расходного отверстия в закрытом положении и открывания расходного отверстия при выведении крышки из закрытого положения, элемент индикации вскрытия, включающий вдавливаемую часть, соединенную шарниром с крышкой, и фиксирующую часть, соединенную с корпусом. Вдавливаемая часть соединена с фиксирующей частью хрупким соединением, в результате чего вдавливаемая часть способна перемещаться вокруг шарнира относительно фиксирующей части для отделения вдавливаемой части от фиксирующей части.
Хотя описанные выше укупорочные устройства могут удовлетворительно выполнять функции, которые на них возлагали, было бы желательным создание усовершенствованного укупорочного устройства для индикации вскрытия, которое можно было бы легко изготавливать с определенными типами крышек или элементов для контроля потока и которые до вскрытия могли бы сочетаться с / или улучшать (косметически) внешний вид укупорочного устройства. Было бы также желательно, чтобы такое укупорочное устройство для индикации вскрытия можно было легко формовать как одно целое, включая крышку, корпус и часть для индикации вскрытия, и после формования легко переводить в состояние готовности для индикации вскрытия и передавать для пользования потребителю.
Кроме того, было бы полезным, если бы такое усовершенствованное укупорочное устройство потребитель мог бы относительно легко вскрыть. После того как усовершенствованное укупорочное устройство было вскрыто и затем вновь закрыто, укупорочное устройство должно обеспечивать очень четкую индикацию того, что оно было ранее вскрыто. Было бы также желательно создать усовершенствованное укупорочное устройство для индикации вскрытия, включающее элемент индикации вскрытия, при видоизменении которого во время вскрытия укупорочного устройства не образовывался бы отдельный обрывок, который следовало бы отдельно направить в отходы.
В соответствии с настоящим изобретением создано усовершенствованное укупоривающее устройство для индикации или наглядной демонстрации вскрытия, которое может включать решения, обладающие описанными выше преимуществами и отличительными особенностями.
Согласно изобретению создано укупорочное устройство для сосуда, содержащее корпус с охватывающей стенкой для укупорки сосуда и расходным отверстием, проходящим сквозь охватывающую стенку, крышку, оперативно соединенную с охватывающей стенкой, для закрывания расходного отверстия в закрытом положении и открывания расходного отверстия при выведении крышки из закрытого положения, элемент индикации вскрытия, включающий вдавливаемую часть, соединенную шарниром с крышкой, и фиксирующую часть, соединенную с корпусом, причем вдавливаемая часть соединена с фиксирующей частью хрупким соединением, в результате чего вдавливаемая часть способна перемещаться вокруг шарнира относительно фиксирующей части для отделения вдавливаемой части от фиксирующей части, при этом вдавливаемая часть выполнена с возможностью перемещения в радиальном направлении внутрь относительно фиксирующей части путем надавливания на вдавливаемую часть для отделения вдавливаемой части от фиксирующей части, при этом вдавливаемая часть остается прикрепленной к фиксирующей части для предотвращения образования отдельного кусочка отходов.
Вдавливаемая часть может быть выполнена отделяемой от фиксирующей части по хрупкому соединению при смещении вдавливаемой части в направлении корпуса и образовании в результате этого вдавливаемой частью выступа относительно корпуса, зацепляемого пальцем потребителя.
Корпус может образовать фиксирующий элемент, и фиксирующая часть может образовать отверстие для введения в него фиксирующего элемента для прикрепления элемента индикации вскрытия к корпусу.
Укупорочное устройство может быть сформовано как составная часть сосуда или как отдельная часть, присоединяемая к сосуду.
Охватывающая стенка может содержать выборку с размерами, обеспечивающими размещение фиксирующей части, при котором фиксирующая часть и смежные области охватывающей стенки по существу располагаются заподлицо с ней.
В другом варианте выполнения укупорочное устройство для сосуда содержит корпус с охватывающей стенкой для укупорки сосуда и расходным отверстием, проходящим сквозь охватывающую стенку, крышку, оперативно соединенную с охватывающей стенкой, для закрывания расходного отверстия в закрытом положении и открывания расходного отверстия при выведении крышки из закрытого положения, элемент индикации вскрытия, включающий вдавливаемую часть, соединенную шарниром с крышкой, и фиксирующую часть, соединенную с корпусом, причем вдавливаемая часть соединена с фиксирующей частью хрупким соединением, в результате чего вдавливаемая часть способна перемещаться вокруг шарнира относительно фиксирующей части для отделения вдавливаемой части от фиксирующей части, при этом хрупкое соединение содержит зазор, отделяющий вдавливаемую часть от фиксирующей части, и элементы в виде «мостиков», перекинутых через зазор и расположенных между вдавливаемой частью и фиксирующей частью.
В еще одном варианте выполнения укупорочное устройство для сосуда содержит корпус с охватывающей стенкой для укупорки сосуда и расходным отверстием, проходящим сквозь охватывающую стенку, крышку, оперативно соединенную с охватывающей стенкой, для закрывания расходного отверстия в закрытом положении и открывания расходного отверстия при выведении крышки из закрытого положения, элемент индикации вскрытия, включающий вдавливаемую часть, соединенную шарниром с крышкой, и фиксирующую часть, соединенную с корпусом, причем вдавливаемая часть соединена с фиксирующей частью хрупким соединением, в результате чего вдавливаемая часть способна перемещаться вокруг шарнира относительно фиксирующей части для отделения вдавливаемой части от фиксирующей части, при этом крышка включает буртики, расположенные вблизи вдавливаемой части на расстоянии друг от друга для взаимодействия посредством сил трения с вдавливаемой частью при ее достаточном смещении для отделения от фиксирующей части и удерживания вдавливаемой части, отделенной от фиксирующей части.
В следующем варианте выполнения укупорочное устройство для сосуда содержит корпус, имеющий перекрытие, имеющее горлышко, выступающее из него и образующее расходное отверстие, крышку для закрывания расходного отверстия в закрытом положении и открывания расходного отверстия при выведении крышки из закрытого положения и имеющую уплотнительную конструкцию, выполненную с возможностью закрывания расходного отверстия и окруженную боковой стенкой, содержащей выборку, элемент индикации вскрытия, включающий вдавливаемую часть, присоединенную шарниром в выборке в боковой стенки, и фиксирующую часть, соединенную с корпусом, причем вдавливаемая часть соединена с фиксирующей частью хрупким соединением, в результате чего вдавливаемая часть способна перемещаться вокруг шарнира относительно фиксирующей части для отделения вдавливаемой части от фиксирующей части, причем боковая стенка предназначена для примыкания к перекрытию корпуса, и вдавливаемая часть выполнена с возможностью смещения внутрь пространства между горлышком и выборкой в боковой стенке при отделении вдавливаемой части от фиксирующей части.
Крышка может включать буртики, расположенные на противоположных сторонах выборки в боковой стенке и имеющие направленное внутрь продолжение для обеспечения при перемещении вдавливаемой части для ее отделения от фиксирующей части взаимодействия буртиков посредством сил трения с вдавливаемой частью и удерживания вдавливаемой части в отведенном положении.
Согласно еще одному варианту выполнения укупорочное устройство для сосуда содержит корпус с охватывающей стенкой для укупорки сосуда и расходным отверстием, проходящим сквозь охватывающую стенку, крышку, оперативно соединенную с охватывающей стенкой, для закрывания расходного отверстия в закрытом положении и открывания расходного отверстия при выведении крышки из закрытого положения, элемент индикации вскрытия, включающий вдавливаемую часть и фиксирующую часть, имеющую сквозное отверстие, при этом корпус содержит головку, выступающую в радиальном направлении из него, а сквозное отверстие выполнено с размерами, позволяющими застегивать его со щелчком на головке, для прикрепления фиксирующей части к корпусу, и вдавливаемая часть соединена хрупким соединением с крышкой или с фиксирующей частью и шарнирно соединена соответственно с фиксирующей частью или с крышкой для соединения крышки с корпусом посредством элемента индикации вскрытия, причем вдавливание вдавливаемой части приводит к разрушению хрупкого соединения для отсоединения крышки от корпуса в области элемента индикации вскрытия.
Хрупкое соединение может быть расположено между вдавливаемой частью и фиксирующей частью, а шарнир расположен между вдавливаемой частью и крышкой.
Хрупкое соединение может быть расположено между вдавливаемой частью и крышкой, а шарнир расположен между фиксирующей частью и вдавливаемой частью.
Корпус может быть выполнен как составная часть сосуда.
Корпус может быть выполнен отдельно от сосуда и может включать резьбовую часть для установки укупорочного устройства на горловине сосуда.
Корпус может быть выполнен отдельно от сосуда и может включать соединительные средства для присоединения укупорочного устройства к сосуду.
В соответствии с настоящим изобретением создано новое укупорочное устройство для сосуда со средствами индикации вскрытия, которое хорошо сочетается и/или позволяет улучшить косметически внешний вид сосуда, и потребитель может легко манипулировать им для открывания сосуда и расходования его содержимого. Конструкция согласно изобретению обеспечивает возможность четкой индикации первоначального вскрытия устройства. Конструкции, если она выполнена в виде укупорочного устройства, может быть придана такая форма, при которой можно легко формовать ее как единый узел, который может быть установлен на сосуде сразу в состоянии, готовом к индикации вскрытия, т.е. первоначального вскрытия потребителем. Отличительные особенности изобретения могут быть предназначены для применения в сочетании с рядом конструкций расходных сосудов или укупорочных средств. Укупорочное устройство можно экономически эффективно изготавливать и устанавливать на сосуде.
Ряд других преимуществ или отличительных особенностей настоящего изобретения станут более понятными при ознакомлении с последующим подробным описанием изобретения, формулой изобретения и прилагаемыми чертежами, на которых изображено следующее:
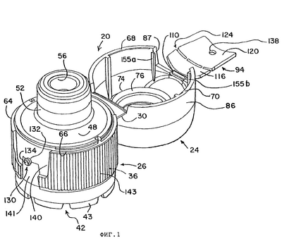
фиг.1 изображает вид первого варианта выполнения укупорочного устройства согласно настоящему изобретению в несобранном открытом состоянии, в котором оно находится после формования;
фиг.2 – вид сбоку укупорочного устройства, представленного на фиг.1;
фиг.3 – вид сверху укупорочного устройства, представленного на фиг.1;
фиг.4 – вид сбоку укупорочного устройства, представленного на фиг.1, в частично собранном состоянии с закрытой крышкой;
фиг.5 – разрез укупорочного устройства, представленного на фиг.4;
фиг.6 – частичный разрез укупорочного устройства, представленного на фиг.5, в полностью собранном состоянии, или в готовом состоянии, установленного на горловине сосуда;
фиг.7 – разрез укупорочного устройства, представленного на фиг.6, после того как часть для индикации вскрытия была вдавлена так, чтобы можно было открыть крышку укупорочного устройства;
фиг.8 – вид в перспективе укупорочного устройства в закрытом и готовом собранном состоянии, соответствующий конфигурации, показанной на фиг.6;
фиг.9 – вид в перспективе укупорочного устройства, представленного на фиг.8, после того как элемент для индикации вскрытия отломан;
фиг.10 – вид в перспективе альтернативного варианта выполнения укупорочного устройства в полностью собранном состоянии;
фиг.11 – вид в перспективе укупорочного устройства, представленного на фиг.10, после того как элемент для индикации вскрытия отломан;
фиг.12 – разрез укупорочного устройства, представленного на фиг.10, в полностью собранном состоянии;
фиг.13 – разрез укупорочного устройства, представленного на фиг.12, после того как часть для индикации вскрытия была вдавлена так, чтобы можно было открыть крышку укупорочного устройства.
Хотя настоящее изобретение может быть выполнено в виде ряда вариантов во множестве различных форм, в настоящей заявке и на прилагаемых иллюстрациях описаны и показаны только специальные формы, приведенные в качестве примеров осуществления изобретения. Изобретение не ограничено вариантами выполнения, описанными здесь, а объем изобретения определен в прилагаемой формуле изобретения.
Для облегчения представления конструкции расходного устройства согласно настоящему изобретению она описана в различных рабочих состояниях. Следует иметь в виду, однако, что расходное устройство согласно настоящему изобретению может быть изготовлено, его можно хранить, транспортировать, использовать и продавать в состояниях, отличных от описанных здесь.
На Фиг.1-9 показан один предпочтительный в настоящее время вариант исполнения расходного устройства согласно изобретению, в форме расходного укупорочного устройства, обозначенного в общем позицией 20. Расходное устройство, или укупорочное устройство, 20 выполнено в виде отдельно изготовленного узла для установки на верху сосуда 22, например на горловине 22а сосуда (см. фиг.6). Следует, однако, иметь в виду, что в некоторых случаях применения может быть желательным изготавливать расходное устройство 20 как часть, или продолжение, сосуда 22.
В представленном варианте выполнения укупорочное устройство 20 сформовано как единый узел из термопластичного материала, например полиэтилена или полипропилена. Обычно укупорочное устройство 20 формуют в открытом состоянии, как показано на фиг.1 и 2.
Как показано на фиг.1 и 2, расходное устройство, или укупорочное устройство, 20 включает крышку 24 и корпус 26. Крышка 24 соединена шарниром 30 с корпусом 26. Предпочтительно, чтобы шарнир 30 был выполнен в виде фиксируемой петли, изготовленной вместе с крышкой 24 и корпусом 26 в виде единой формованной конструкции. Показанный здесь фиксируемый шарнир 30 имеет обычную форму, соответствующую шарниру, описанному в патенте США №5642824. Фиксируемый шарнир хорошо поддерживает крышку 24 в открытом положении во время расходования содержимого сосуда при применении. В альтернативном варианте исполнения крышка 24 может быть привязана или полностью отделена от корпуса 26 укупорочного устройства.
Корпус 26 укупорочного устройства включает юбку 36, в которой образовано нижнее отверстие 42 для взаимодействия с горловиной 22а сосуда 22 (см. фиг.6). Юбка 36 предназначена для охвата и взаимодействия с горловиной 22а сосуда 22. Юбка 36 может содержать обычную резьбу 44, посредством которой она взаимодействует с обычной резьбой 22b на сосуде для фиксации корпуса 26 укупорочного устройства на горловине 22а сосуда 22.
Обычное отрывное кольцо 43 индикации вскрытия формуют вокруг отверстия 42. На Фиг.1, 2, 4, 5, 10-13 отрывное кольцо 43 индикации вскрытия показано в предварительном состоянии до соответствующего формования для взаимодействия с сосудом. На фиг.6-9 отрывное кольцо 43 индикации вскрытия показано в полностью сформованном виде. На фиг.6 отрывное кольцо 43 индикации вскрытия показано в полностью сформованном виде и во взаимодействии с горловиной 22а сосуда.
Радиально внутрь от верхнего края юбки 36 направлено перекрытие 48 (см. фиг 1). Перекрытие 48 несет направленную вверх цилиндрическую стенку или горлышко 52, образующие расходное отверстие 56. В направлении наружу от перекрытия 48 верхний край юбки 36 образует боковые заплечики, или боковые бортики, 64, 66.
Крышка 24 включает нижние поверхности 68, 70, которые упираются в боковые заплечики 64, 66, когда крышка 24 находится в закрытом состоянии относительно корпуса 26. Крышка 24 также содержит позиционирующее кольцо 74 со скошенным краем 76, которому приданы такие размеры, чтобы оно проскальзывало вниз вокруг цилиндрической стенки, или горлышка 52 (см. фиг.5 и 6). Кольцо 74 содержит радиальный уплотнительный буртик 74а, который плотно прижимают к наружной поверхности горлышка 52. Крышка 24 дополнительно содержит опорное кольцо 153 на внутренней ее поверхности (см. фиг.5 и 6). Опорное кольцо 153 поддерживает крышку так, чтобы она противостояла направленным вниз силам, создаваемым при формировании отрывного кольца 43 индикации вскрытия.
Крышка 24 содержит наружную периферийную стенку 86. Стенка включает по существу прямоугольную выборку 87 на ее передней стороне («передняя сторона» образуется, когда крышка находится в готовом состоянии для индикации вскрытия, как показано на фиг.6). Язычок, или элемент 94 индикации вскрытия, проходит от верхнего края выборки 87 («верхний край» определяется, когда крышка находится в готовом состоянии для индикации вскрытия, как показано на фиг.6). Элемент 94 индикации вскрытия присоединен к крышке 24 у верхнего ее края пленочным шарниром 110 и включает вдавливаемую часть 116 и фиксирующую часть 120.
Элемент 94 индикации вскрытия предпочтительно изогнут так, чтобы он согласовывался по форме с наружным контуром корпуса 26 и крышки 24 (как показано на фиг.8). Шарнир 110 предпочтительно формуют вместе с укупорочным устройством 20 из того же материала с уменьшенной толщиной в сечении.
В юбке 36 на передней ее стороне выполнена выборка 140 в стенке. Выборка 140 имеет такие размеры, чтобы в ней размещалась фиксирующую часть 120 элемента 94 индикации вскрытия, когда фиксирующую часть 120 поворачивают в ее положение, готовое к индикации вскрытия. Выборку предпочтительно выполняют таких размеров и формы, чтобы фиксирующая часть 120 в ней располагалась по плотной посадке. Это обеспечивает возможность расположения наружных поверхностей элемента 94 индикации вскрытия и юбки 36 по существу заподлицо (см. фиг.6 и 8). Вторая смежная выборка 141 предназначена для формования в ней фиксирующего элемента 130 (описанного более подробно ниже) в форме без действующих с боковых сторон частей формы. Юбке 36 придана рельефная ребристая форма поверхности 143 вокруг корпуса, кроме выборок 140, 141, для обеспечения удобства удерживания поверхности.
Как показано на фиг.3, вдавливаемая часть 116 и фиксирующая часть 120 соединены между собой хрупким соединением 124. Хрупкое соединение 124 может быть сформовано с укупорочным устройством 20 в виде уменьшения толщины сечения материала, образованного внутренней насечкой или канавкой. Хрупкое соединение 124 может также быть намеренно ослабленным соединением, образованным путем частичного надрезания по толщине хрупкого соединения 124 с использованием перфорации, зарубок, вырезов или путем подбора материалов, зауживанием или другими способами для создания легко разрушаемого соединения между вдавливаемой частью 116 и фиксирующей частью 120. В соответствии с предпочтительным вариантом выполнения изобретения хрупкое соединение включает по существу линейный зазор 125, через который перекинуты «мостики» в виде двух перепонок 124а, 124b, как показано на фиг.3. Мостики могут быть относительно легко сломаны силами, воздействующими на хрупкое соединение.
В области юбки выступает фиксирующий элемент 130. Фиксирующий элемент 130 имеет шейку 132, которая оканчивается у скругленной цилиндрической головки 134 (см. фиг.1 и 4). Фиксирующий элемент 130 выступает в центральной зоне выборки 140.
Фиксирующая часть 120 элемента 94 содержит отверстие 138 для введения в него фиксирующего элемента. Отверстие 138 имеет диаметр, значительно меньший диаметра головки 134.
При сборке крышку 24 первоначально закрывают на корпусе 26 путем поворота на 180° в положение, показанное на фиг.4 и 5. В этом положении крышки 24 элемент 94 индикации вскрытия все еще находится в его исходном, или первоначальном, сформованном состоянии, выступая наружу из передней стороны периферической стенки 86 крышки. Элемент 94 индикации вскрытия затем силой поворачивают относительно шарнира 110 вниз на 90° в направлении стрелки А (см. фиг.4 и 5) и затем застегивают со щелчком на фиксирующем элементе 130. Отверстие 138 для введения фиксирующего элемента в фиксирующей части 120 захватывает фиксирующий элемент 130, как показано на фиг.6 и 8.
Когда элемент 94 индикации вскрытия поворачивают и прижимают в положение готовности индикации вскрытия, головке 134 придают такие размеры, чтобы ее можно было протолкнуть сквозь отверстие 138 благодаря упругой деформации головки и/или упругого растяжения фиксирующей части 120 вокруг отверстия 138. Таким образом, контурная поверхность головки 134 может временно растянуть отверстие 138 до увеличенного диаметра и/или головка может быть временно деформирована так, чтобы обеспечить введение головки. Отверстие 138 и/или головка 134 принимают вновь свои первоначальные формы сразу же после того, как головка проходит сквозь фиксирующую часть 120 к переднему краю отверстия 138 так, чтобы удерживать фиксирующую часть 120 в застегнутом состоянии на фиксирующем элементе 130. Отверстие 138 затем охватывает шейку 132.
На фиг.6 показано укупорочное устройство 20 после того, как элемент 94 индикации вскрытия повернут вниз и прикреплен к юбке 36 корпуса. Укупорочное устройство 20 находится теперь в состоянии готовности индикации вскрытия, в котором оно подготовлено к индикации вскрытия потребителем. Головку 134, после того как она была введена путем застегивания со щелчком в отверстие 138, придавливают, или расплющивают, таким образом, чтобы фиксирующая часть 120 не могла быть стянута наружу с головки 134 без поломки или отрыва либо головки 134, либо юбки 36. Фиксирующим элементом 130 прикрепляют фиксирующую часть 120 элемента 94 индикации вскрытия к корпусу 26 в месте, которое расположено ниже, но рядом с пространством 148 для вдавливания. Пространство 148 для вдавливания обычно образуют внутри крышки 24 между горлышком 52 и вдавливаемой частью 116. Вдавливаемая часть 116 элемента 94 индикации вскрытия образует безопорный пролет от хрупкого соединения 124 до шарнира 110 в пространстве 148 для вдавливания.
Как показано на фиг.5 и 6, горлышко 52 может нести узел 147 управления потоком, посредством которого регулируют поток при вытекании его из полости сосуда наружу через отверстие 56. Узел 147 может включать гибкий клапан 148, заключенный между внутренним ободком 149 горлышка 52 и держателем 151 вставленного клапана. Кольцевое гибкое уплотнение 145 в виде «клешни краба» выступает от нижней поверхности перекрытия 48 корпуса укупорочного устройства для уплотнения верхней поверхности горловины 22а сосуда так, чтобы обеспечить герметичное уплотнение между корпусом 26 укупорочного устройства и горловиной 22а сосуда. Конечно, можно использовать и другие типы уплотнений между укупорочным устройством и сосудом.
Резьба 44 юбки 36 взаимодействует с резьбой 22b горловины 22а сосуда для разъемного соединения укупорочного устройства 20 с сосудом 22. Корпус 26 укупорочного устройства может быть также разъемно присоединен к сосуду 22 посредством зацепляемых со щелчком кольцевого выступа и канавки или другими способами. В альтернативном варианте выполнения корпус 26 укупорочного устройства может быть постоянно присоединен к сосуду путем соответствующей посадки со щелчком или посредством индукционного плавления, ультразвукового плавления, приклеивания и т.п., в зависимости от материалов, использованных при изготовлении сосуда и укупорочного устройства. Помимо этого, укупорочное устройство 20 может при определенных применениях быть сформовано как составная часть или продолжение сосуда 22.
Сосуд 22 (см. фиг.6), как правило, имеет обычную горловину или отверстие 22с, которое обеспечивает доступ к внутренней полости сосуда и продукту, содержащемуся в нем. Продукт может быть, например, жидким пищевым продуктом. Продукт может быть также любым другим твердым, жидким или газообразным веществом, включая, но не ограничивая этим, пищевые продукты, средства личной гигиены, вещества для чистки, применяемые в промышленных условиях или в домашнем хозяйстве, краски, материалы для местного ремонта стен или другие химические соединения (например, для использования в областях, включающих производство, коммерческую деятельность, ведение домашнего хозяйства, строительство, реконструкцию и сельское хозяйство) и т.д.
В проиллюстрированном варианте выполнения (см. фиг.6) горловина 22а сосуда отходит от полого тела 22 и образует горловину сосуда или отверстие 22с. Горловина сосуда может иметь (но не обязательно) круглое по форме поперечное сечение, а корпус 22d сосуда 22 может иметь другую форму поперечного сечения, например овальное поперечное сечение. Сосуд 22 может, с другой стороны, иметь по существу одинаковую форму по всей его длине, или высоте, без какой-либо горловинной части уменьшенного размера или отличающейся формы поперечного сечения.
Сосуд 22 может быть сжимаемым сосудом, имеющим гибкие стенки или стенки, которые могут быть сжаты потребителем для повышения внутреннего давления в сосуде так, чтобы выдавливать продукт из сосуда через укупорочное устройство 20, когда укупорочное устройство 20 открыто. Такой сосуд обычно обладает эластичностью, достаточной для того, чтобы, когда силы сжатия снимают, стенки сосуда принимали их нормальную несжатую форму. Такая конструкция предпочтительна во многих случаях применения, но может не быть необходимой или предпочтительной в других случаях применения, где их делают по существу жесткими. В таких жестких сосудах может быть установлен поршень для обеспечения выдавливания продукта, особенно сравнительно вязкого продукта.
Как показано на фиг.7, когда укупорочное устройство 20 должно быть открыто в первый раз, вдавливаемую часть 116 силой вдавливают внутрь в направлении, указанном стрелкой В. Вдавливаемая часть 116 поворачивается вокруг шарнира 110, и хрупкое соединение 124 таким образом ломают и отделяют друг от друга свободные края 150а и 150b. Вдавливаемую часть отгибают в пространство 148 для вдавливания. Предпочтительно, чтобы мостики 124а, 124b отламывались у нижнего края 150b и уносились вдавливаемой частью 116, чтобы поверхность края 150b осталась относительно гладкой. Одно примерное применение укупорочного устройства предназначено для использования на бутылке для напитков. Для удобства потребителя предпочтительно, чтобы край 150b был гладким, когда потребитель прикасается губами к горлышку 52.
Вдавливаемую часть 116 удерживают в отведенном положении, показанном на фиг.1, с помощью буртиков 155а, 155b (см. фиг.1). Вдавливаемую часть 116 плотно вдавливают между буртиками 155а, 155b, и она удерживается в таком положении между ними благодаря действию сил трения.
Крышку 24 в первый раз можно отвести от корпуса 26 в открытое положение путем отжима ее вверх пальцем, нажимая на отогнутую вдавливаемую часть 116, причем палец помещают в наружное пространство 157, образующееся при перемещении вдавливаемой части 116 в пространство 148 для вдавливания. Наружное пространство 157 образовано выборкой 87 (см. фиг.1) в боковой стенке 86 и вдавливаемой частью 116.
На фиг.8 показано укупорочное устройство 20 в полностью собранном состоянии.
Фиксирующая часть 120 повернута и посажена по плотной посадке в выборку 140. Головка 134 фиксирующего элемента 130 расплющена сдавливанием так, чтобы она расположилась заподлицо с фиксирующей частью 120.
На фиг.9 показано укупорочное устройство 20 в положении сразу же после того, как вдавливаемая часть 116 была вдавлена внутрь так, чтобы сломалось хрупкое соединение 124 (см. фиг.1). Выборка 87 в боковой стенке 86 крышки (см. фиг.9) и вдавливаемая часть 116 образует наружное пространство 157, предназначенное для расположения пальца потребителя для первого вскрытия крышки 24 и отвода ее от корпуса 26.
На фиг.10-13 показан альтернативный вариант выполнения укупорочного устройства 20′, которое по существу идентично укупорочному устройству 20, за исключением того, что изменена конструкция измененного элемента 94′ индикации вскрытия. Идентичные элементы обозначены одинаковыми ссылочными позициями.
На фиг.10 и 12 показано модифицированное укупорочное устройство 20′ в полностью собранном виде. На фиг.11 и 13 показано укупорочное устройство 20′, представленное на фиг.10, после того как воздействовали на элемент 94′ индикации вскрытия, чтобы обеспечить возможность подъема измененной крышки 24′ и отвода ее от корпуса 26 в открытое положение.
Элемент 94′ индикации вскрытия содержит такие же вдавливаемую 116 и фиксирующую 120 части, как и ранее описанный. Измененный шарнир 110′, однако, перенесен так, чтобы он соединял вдавливаемую часть 116 с фиксирующей частью 120. Измененный шарнир 110′ может быть ослабленным соединением, которое способствует сгибанию. Показанное соединение сформовано в виде по существу линейного сквозного паза 160, пересеченного двумя сгибаемыми мостиками 162а, 162. Хрупкое соединение 124 соединяет вдавливаемую часть 116 со стенкой 86 крышки. Хрупкое соединение 124 предпочтительно формовать путем образования зазора 125 (см. фиг.10) и двух мостиков 124а, 124b, как и ранее описанную часть со ссылкой на первый вариант выполнения, показанный на фиг.1-9. При воздействии достаточной направленной внутрь силой на вдавливаемую часть 116 вдавливаемая часть поворачивается вокруг шарнира 110′ так, что хрупкое соединение 124 ломается.
В этом варианте выполнения, как показано на фиг.12 и 13, хрупкое соединение 124 ломается так, что крышка 24′ отделяется от элемента 94′ индикации вскрытия. Как вдавливаемая часть 116, так и фиксирующая часть 120 остаются с корпусом 26, когда крышку 24′ поднимают в открытое положение (не показано).
В результате разламывания соединительной части 124 образуются свободные края 150а’, 150b’ между вдавливаемой частью 116 и крышкой 24′ соответственно. Предпочтительно, чтобы мостики 124а, 124b отламывались, оставаясь с крышкой 24′, чтобы край 150а’ (см. фиг.13) был по существу гладким. Одним из примерных применений укупорочного устройства является использование его на бутылке для напитков. Для удобства потребителя предпочтительно, чтобы край 150а’ был гладким, когда он прижимает к губам горлышко 52. Чтобы удерживать вдавливаемую часть 116 в ее отведенном положении, показанном на фиг.13, могут быть выполнены буртики 155а, 155b, например, описанные выше со ссылкой на первый вариант выполнения, изображенный на фиг.1-9, но перенесенные на корпус 26 или выполненные так, как представлено в патенте США №5875907.
Хотя в представленных вариантах выполнения показан один фиксирующий элемент 130, под объем изобретения подпадают устройства с множеством фиксирующих элементов, которые могут быть, например, идентичны фиксирующему элементу 130. Фиксирующая часть 120 в этом случае должна содержать множество соответствующих отверстий для введения в них фиксирующих элементов. Множеством фиксирующих элементов можно обеспечить более надежное присоединение фиксирующей части 120 к юбке 36.
В альтернативном варианте выполнения описанные выше устройства с одним или с множеством фиксирующих элементов 130 могут быть заменены одним или большим числом выступающих в поперечном направлении элементов в виде стенок, где каждый элемент в виде стенки имеет увеличенный удаленный край в форме непрерывной головки с увеличенным поперечным сечением. Такие элементы в виде стенок имеют поперечное сечение, соответствующее поперечному сечению фиксирующей части 130, как показано на фиг.2, но каждый элемент в виде стенки был бы удлинен в поперечном направлении вглубь и наружу от плоскости фиг.2. В фиксирующей части 120 были бы выполнены удлиненные пазы для размещения увеличенных крайних частей элементов в виде стенок, которые действовали бы как фиксирующие элементы.
Как можно понять из приведенного выше описания различных вариантов выполнения, в соответствии с изобретением создано устройство для индикации вскрытия, в котором с успехом сохраняется элемент 94, 94′ индикации вскрытия в необычном положении на устройстве без образования отдельного кусочка отходов. Корпус 26, крышка 24, 24′ и элемент 94, 94′ индикации вскрытия могут быть с успехом сформованы из термопластичного материала в виде единого узла. Шарнир 110, 110′ и хрупкое соединение 124 могут быть созданы в процессе формования или после процесса формования другими способами.
В изобретении можно также использовать другие формы перемещения элемента 94, 94′ индикации вскрытия, например скольжение или кручение, для того чтобы сломать хрупкое соединение 124.
Из приведенного выше подробного описания изобретения и из приложенных иллюстраций можно легко понять, что может быть предложен ряд других вариантов и модификаций без отступления от существа и объема новой концепции или новых принципов настоящего изобретения.
Формула изобретения
1. Укупорочное устройство для сосуда, содержащее корпус с охватывающей стенкой для укупорки сосуда и расходным отверстием, проходящим сквозь охватывающую стенку, крышку, оперативно соединенную с охватывающей стенкой для закрывания расходного отверстия в закрытом положении и открывания расходного отверстия при выведении крышки из закрытого положения, элемент индикации вскрытия, включающий вдавливаемую часть, соединенную шарниром с крышкой, и фиксирующую часть, соединенную с корпусом, причем вдавливаемая часть соединена с фиксирующей частью хрупким соединением, в результате чего вдавливаемая часть способна перемещаться вокруг шарнира относительно фиксирующей части для отделения вдавливаемой части от фиксирующей части, при этом вдавливаемая часть выполнена с возможностью перемещения в радиальном направлении внутрь относительно фиксирующей части путем надавливания на вдавливаемую часть для отделения вдавливаемой части от фиксирующей части, при этом вдавливаемая часть остается прикрепленной к фиксирующей части для предотвращения образования отдельного кусочка отходов.
2. Укупорочное устройство по п.1, в котором вдавливаемая часть выполнена отделяемой от фиксирующей части по хрупкому соединению при смещении вдавливаемой части в направлении корпуса и образовании в результате этого вдавливаемой частью выступа относительно корпуса, зацепляемого пальцем потребителя.
3. Укупорочное устройство по п.1, в котором корпус образует фиксирующий элемент и фиксирующая часть образует отверстие для введения в него фиксирующего элемента для прикрепления элемента индикации вскрытия к корпусу.
4. Укупорочное устройство по п.1, которое сформовано как составная часть сосуда.
5. Укупорочное устройство по п.1, которое сформовано как отдельная часть, присоединяемая к сосуду.
6. Укупорочное устройство по п.1, в котором охватывающая стенка содержит выборку с размерами, обеспечивающими размещение фиксирующей части, при котором фиксирующая часть и смежные области охватывающей стенки, по существу, располагаются заподлицо с ней.
7. Укупорочное устройство для сосуда, содержащее корпус с охватывающей стенкой для укупорки сосуда и расходным отверстием, проходящим сквозь охватывающую стенку, крышку, оперативно соединенную с охватывающей стенкой для закрывания расходного отверстия в закрытом положении и открывания расходного отверстия при выведении крышки из закрытого положения, элемент индикации вскрытия, включающий вдавливаемую часть, соединенную шарниром с крышкой, и фиксирующую часть, соединенную с корпусом, причем вдавливаемая часть соединена с фиксирующей частью хрупким соединением, в результате чего вдавливаемая часть способна перемещаться вокруг шарнира относительно фиксирующей части для отделения вдавливаемой части от фиксирующей части, при этом хрупкое соединение содержит зазор, отделяющий вдавливаемую часть от фиксирующей части, и элементы в виде «мостиков», перекинутых через зазор и расположенных между вдавливаемой частью и фиксирующей частью.
8. Укупорочное устройство для сосуда, содержащее корпус с охватывающей стенкой для укупорки сосуда и расходным отверстием, проходящим сквозь охватывающую стенку, крышку, оперативно соединенную с охватывающей стенкой для закрывания расходного отверстия в закрытом положении и открывания расходного отверстия при выведении крышки из закрытого положения, элемент индикации вскрытия, включающий вдавливаемую часть, соединенную шарниром с крышкой, и фиксирующую часть, соединенную с корпусом, причем вдавливаемая часть соединена с фиксирующей частью хрупким соединением, в результате чего вдавливаемая часть способна перемещаться вокруг шарнира относительно фиксирующей части для отделения вдавливаемой части от фиксирующей части, при этом крышка включает буртики, расположенные вблизи вдавливаемой части на расстоянии друг от друга для взаимодействия посредством сил трения с вдавливаемой частью при ее достаточном смещении для отделения от фиксирующей части и удерживания вдавливаемой части, отделенной от фиксирующей части.
9. Укупорочное устройство для сосуда, содержащее корпус, имеющее перекрытие, имеющее горлышко, выступающее из него и образующее расходное отверстие, крышку для закрывания расходного отверстия в закрытом положении и открывания расходного отверстия при выведении крышки из закрытого положения и имеющую уплотнительную конструкцию, выполненную с возможностью закрывания расходного отверстия и окруженную боковой стенкой, содержащей выборку, элемент индикации вскрытия, включающий вдавливаемую часть, присоединенную шарниром в выборке в боковой стенки, и фиксирующую часть, соединенную с корпусом, причем вдавливаемая часть соединена с фиксирующей частью хрупким соединением, в результате чего вдавливаемая часть способна перемещаться вокруг шарнира относительно фиксирующей части для отделения вдавливаемой части от фиксирующей части, причем боковая стенка предназначена для примыкания к перекрытию корпуса и вдавливаемая часть выполнена с возможностью смещения внутрь пространства между горлышком и выборкой в боковой стенке при отделении вдавливаемой части от фиксирующей части.
10. Укупорочное устройство по п.9, в котором крышка включает буртики, расположенные на противоположных сторонах выборки в боковой стенке и имеющие направленное внутрь продолжение для обеспечения при перемещении вдавливаемой части для ее отделения от фиксирующей части взаимодействия буртиков посредством сил трения с вдавливаемой частью и удерживания вдавливаемой части в отведенном положении.
11. Укупорочное устройство для сосуда, содержащее корпус с охватывающей стенкой для укупорки сосуда и расходным отверстием, проходящим сквозь охватывающую стенку, крышку, оперативно соединенную с охватывающей стенкой для закрывания расходного отверстия в закрытом положении и открывания расходного отверстия при выведении крышки из закрытого положения, элемент индикации вскрытия, включающий вдавливаемую часть и фиксирующую часть, имеющую сквозное отверстие, при этом корпус содержит головку, выступающую в радиальном направлении из него, а сквозное отверстие выполнено с размерами, позволяющими застегивать его с щелчком на головке для прикрепления фиксирующей части к корпусу, и вдавливаемая часть соединена хрупким соединением с крышкой или с фиксирующей частью и шарнирно соединена соответственно с фиксирующей частью или с крышкой для соединения крышки с корпусом посредством элемента индикации вскрытия, причем вдавливание вдавливаемой части приводит к разрушению хрупкого соединения для отсоединения крышки от корпуса в области элемента индикации вскрытия.
12. Укупорочное устройство по п.11, в котором хрупкое соединение расположено между вдавливаемой частью и фиксирующей частью, а шарнир расположен между вдавливаемой частью и крышкой.
13. Укупорочное устройство по п.11, в котором хрупкое соединение расположено между вдавливаемой частью и крышкой, а шарнир расположен между фиксирующей частью и вдавливаемой частью.
14. Укупорочное устройство по п.11, в котором корпус выполнен как составная часть сосуда.
15. Укупорочное устройство по п.11, в котором корпус выполнен отдельно от сосуда и включает резьбовую часть для установки укупорочного устройства на горловине сосуда.
16. Укупорочное устройство по п.11, в котором корпус выполнен отдельно от сосуда и включает соединительные средства для присоединения укупорочного устройства к сосуду.
РИСУНКИ
|
|