|
|
(21), (22) Заявка: 2003107045/12, 27.07.2001
(24) Дата начала отсчета срока действия патента:
27.07.2001
(30) Конвенционный приоритет:
17.08.2000 US 09/640,614
(43) Дата публикации заявки: 10.08.2004
(45) Опубликовано: 10.03.2006
(56) Список документов, цитированных в отчете о поиске:
US 3690524 А, 12.09.1972. US 5971613 А, 26.10.1999. SU 309499 A, 09.09.1971.
(85) Дата перевода заявки PCT на национальную фазу:
17.03.2003
(86) Заявка PCT:
US 01/41449 (27.07.2001)
(87) Публикация PCT:
WO 02/14169 (21.02.2002)
Адрес для переписки:
129010, Москва, ул. Б.Спасская, 25, стр.3, ООО “Юридическая фирма Городисский и Партнеры”, пат.пов. С.А.Дорофееву
|
(72) Автор(ы):
ГРОСС Ричард А. (US), ШАНЦ Дэниел Дж. (US)
(73) Патентообладатель(и):
СИКВИСТ КЛОУЖЕРЗ ФОРИН, ИНК. (US)
|
(54) ВЫЛИВНОЕ УСТРОЙСТВО ДЛЯ ОТВЕРСТИЯ МЕШКА
(57) Реферат:
Изобретение относится к упаковке напитков, хозяйственных и пищевых товаров. Выливное устройство, прикрепленное к сжимаемому мешку, имеет корпус, имеющий боковые стеночные участки с разнесенными уступами, образующими разнесенные заплечики, внутренний конец и наружный конец. Диапазон периферических размеров, каждый из которых измерен вокруг одного из разнесенных уступов или вокруг одного из разнесенных заплечиков, возрастает от наименьшего размера на одном конце или ближе к нему через промежуточные размеры, которые не уменьшаются после возрастания. Предпочтительно, корпус имеет форму лодки, образующую два боковых стеночных участка и ребра, выступающие от каждого противоположного края. Каждый заплечик имеет поверхность прикрепления, сужающуюся наружу или внутрь от одного конца выливного устройства к другому концу. Выливное устройство легко изготавливать и надежно в использовании. 8 з.п. ф-лы, 14 ил. 
Изобретение относится к выливному устройству для прикрепления к сжимаемому мешку. Выливное устройство имеет новую конфигурацию, позволяющую формовать выливное устройство из полимерного материала, который может быть сварен с сжимаемым мешком, в простой форме, состоящей из двух частей и открываемой посредством простых, направленных по одной оси, прямых перемещений частей формы друг от друга, при действии, перпендикулярном границе разделения частей формы, и без какого-либо бокового действия формы.
Обычно сжимаемый мешок для любого из множества пищевых продуктов, напитков, предметов личной гигиены, хозяйственных товаров или других подобных и иных продуктов в жидкой или в пастообразной форме выполняют из гибкого, термосвариваемого, полимерного листа, или из гибкого картонного листа, или из листа металлической фольги, имеющего термосвариваемое полимерное покрытие, и он имеет два противоположных гибких участка полотна, приваренных друг к другу с образованием внутренней области, приспособленной для размещения такого продукта, и отверстия, открытого во внутреннюю область. Это отверстие приспособлено для приема выливного устройства, которое может содержать выдачной клапан, удаляемую крышку или другие подобные им или иные средства и которое формуют из полимерного материала, способного термосвариваться с участками полотна сжимаемого мешка.
Пример такого выливного устройства, содержащего выдачной клапан и удаляемую крышку, описан в патенте США 6050451, AptarGroup Inc. Of Crystal Lake, Иллинойс. Как описано в нем, основание выливного устройства имеет две боковые стенки, которые сходятся на двух противоположных концах выливного устройства и которые ориентированы вертикально при вертикальном положении выливного устройства. Кроме того, каждая боковая стенка имеет несколько разнесенных ребер, выступающих от нее, с которыми может быть термосварен соответствующий участок полотна сжимаемого мешка.
Другой пример такого выливного устройства, имеющего несколько разнесенных ребер, выступающих от боковых стенок, которые ориентированы вертикально при вертикальном положении выливного устройства и с которыми могут быть термосварены участки полотна сжимаемого мешка, описан в патенте США №5823383 (Georg Menshen GmbH & Co.KG of Finnentrop, Германия).
Вследствие разнесенных ребер, выступающих от боковых стенок, формование выливного устройства по патенту США №6050451 или по патенту США №5823383 требует использования сложной формы, состоящей из нескольких частей и требующей сложных многоосевых перемещений для открывания формы.
Для прикрепления к сжимаемому мешку, как описано выше, было бы предпочтительно обеспечить выливное устройство, имеющее неизвестную до сих пор конфигурацию, позволяющую формовать выливное устройство в простой форме, состоящей из двух частей, которую можно открывать простыми одноосевыми перемещениями частей формы относительно друг друга, при действии, перпендикулярном границе разделения частей формы, и без какого-либо бокового действия формы.
Данное изобретение предлагает выливное устройство для прикрепления к сжимаемому мешку, имеющему два противоположных участка гибкого полотна, приваренных друг к другу с образованием внутренней области и отверстия, открытого во внутреннюю область и приспособленного для приема выливного устройства, когда выливное устройство прикрепляют к сжимаемому мешку, причем выливное устройство имеет корпус с по меньшей мере одним боковым стеночным участком, снабженным уступами с заплечиками, причем корпус имеет внутренний конец, обращенный внутрь сжимаемого мешка, когда выливное устройство прикреплено к сжимаемому мешку, а также наружный конец и образует базовую плоскость, при этом корпус имеет ряд периферических размеров, каждый из которых измерен вокруг одного из указанных уступов или вокруг одного из указанных заплечиков, в плоскости, расположенной на внутреннем или наружном конце или между внутренним и наружным концами, и которая совпадает с базовой плоскостью или параллельна ей, причем периферические размеры возрастают от наименьшего размера на одном указанном конце или ближе к нему через промежуточные размеры, которые не уменьшаются после возрастания между внутренним и наружным концами, до наибольшего диаметра на другом конце или ближе к нему, при этом некоторые или каждый из заплечиков имеют поверхность для прикрепления полотна мешка, расположенную между смежной поверхностью бокового стеночного участка и поверхностью смежного уступа и сужающуюся от одного конца выливного устройства к другому его концу, причем по отношению к измерениям через указанный корпус вдоль плоскостей сечения, перпендикулярных указанной базовой плоскости, определены следующие соотношения:
указанная сужающаяся поверхность прикрепления указанных некоторых или каждого заплечиков имеет максимальный боковой размер на указанной смежной поверхности и минимальный боковой размер на смежном уступе,
указанная смежная поверхность имеет минимальный боковой размер, по меньшей мере равный максимальному боковому размеру указанной сужающейся поверхности прикрепления,
указанный минимальный боковой размер указанной сужающейся поверхности прикрепления по меньшей мере равен максимальному боковому размеру указанного смежного уступа, и
указанные сужающиеся поверхности прикрепления отделены указанными уступами для ограничения прикрепления указанного полотна к указанному боковому стеночному участку корпуса только на указанных сужающихся поверхностях прикрепления.
Корпус выливного устройства предлагаемой конфигурации может формоваться в простой форме, состоящей из двух частей, которую можно открыть посредством простых, одноосевых, прямых перемещений частей формы друг относительно друга, при действии, перпендикулярном границе разделения, без какого-либо бокового действия формы.
Предпочтительно, при виде от внутреннего либо от наружного конца корпус выливного устройства имеет периферию в форме лодки, образующую два противоположных края и два противоположных боковых стеночных участка, каждый из которых имеет уступы, образующие заплечики. Предпочтительно, кроме того, корпус выливного устройства имеет ребро, выступающее от каждого из противоположных краев. Выступающие ребра, если они имеются, исключают из периферических измерений, описанных выше.
Другие задачи, признаки и преимущества изобретения будут понятны из нижеследующего подробного описания.
Позиции на сопровождающих чертежах использованы по всему описанию для обозначения одинаковых частей. На чертежах:
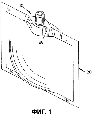
Фиг.1 – упрощенный вид в перспективе сжимаемого мешка, снабженного выливным устройством согласно первому варианту выполнения изобретения; вид сверху, спереди, с наклоном вправо;
Фиг.2 – упрощенный вид сбоку мешка и выливного устройства по Фиг.1, причем мешок частично разорван, чтобы показать внутреннюю область;
Фиг.3 – упрощенный вид сверху мешка и выливного устройства по Фиг.1 и 2;
Фиг.4 – подробный вид в перспективе выливного устройства по Фиг.1, 2 и 3; вид сверху, спереди, с наклоном вправо;
Фиг.4А – аналогичный вид в перспективе подобного выливного устройства, снабженного необязательным отламываемым язычком;
Фиг.5 – вид спереди выливного устройства по Фиг.3 и 4;
Фиг.6 – вид сбоку выливного устройства по Фиг.3, 4 и 5;
Фиг.7 – подробный вид сверху выливного устройства по Фиг.3, 4, 5 и 6;
Фиг.8 – подробный вид фрагмента сечения по линии А на Фиг.3 в направлении, указанном стрелкой в большем масштабе, чем на Фиг.3-7, чтобы показать уплотнения между мешком и выливным устройством, а также внутренний выдачной клапан щелевого типа, содержащийся в выливном устройстве;
Фиг.9 – подробный вид в перспективе выливного устройства согласно второму варианту выполнения изобретения; вид сверху, спереди, с наклоном вправо;
Фиг.10 – вид спереди выливного устройства по Фиг.9;
Фиг.11 – вид сбоку выливного устройства по Фиг.9 и 10;
Фиг.12 – вид сверху выливного устройства по Фиг.9, 10 и 11;
и
Фиг.13 – подробный вид фрагмента сечения, аналогично Фиг.8, в большем масштабе, чем на Фиг.9, 10, 11 и 12, но через участки сжимаемого мешка и выливного устройства по Фиг.9, 10, 11 и 12, чтобы показать уплотнение между мешком и выливным устройством и показать внутренний клапан щелевого типа, содержащийся в выливном устройстве.
Хотя данное изобретение может выполняться во многих формах, это описание и сопровождающие чертежи описывают только некоторые конкретные варианты выполнения в качестве примеров выливных устройств по изобретению. Однако данное изобретение не ограничивается описанными вариантами выполнения. Объем изобретения определен прилагаемой формулой изобретения.
Для облегчения описания вариантов они показаны и описаны в выбранных положениях. Будет понятно, однако, что выливное устройство, составляющее изобретение, может изготавливаться, храниться, транспортироваться, использоваться и продаваться в положениях, отличающихся от описанных.
Как показано на Фиг.1, 2 и 3, выливное устройство 10 для прикрепления к сжимаемому мешку 20 для содержания любого из множества пищевых продуктов, напитков, предметов личной гигиены, хозяйственных товаров или других подобных им или иных продуктов в жидкой, гелеобразной, сухой порошкообразной, гранулированной либо в пастообразной форме составляет первый вариант выполнения изобретения.
Сжимаемый мешок 20, который является традиционным, выполнен предпочтительно из гибкого термосвариваемого полимерного листа, или из гибкого картонного листа, или гибкого листа металлической фольги, имеющего термосвариваемое полимерное покрытие, чтобы обеспечить два противоположных гибких участка 22 полотна, как показано на Фиг.2 и 3. Участки 22 полотна приварены друг к другу с образованием внутренней области 24, как показано на Фиг.2, и с образованием отверстия 26, открывающегося во внутреннюю область 24 и способного принимать выливное устройство 10, когда выливное устройство 10 прикрепляют к сжимаемому мешку 20.
Как показано на Фиг.4, 5, 6 и 7, выливное устройство 10 отформовано из полимерного материала, предпочтительно полиэтилена высокой плотности (HDPE), пригодного для приваривания к участкам 22 полотна сжимаемого мешка 20 ультразвуковой сваркой, которая является предпочтительной, прикрепления адгезивным или иным способом. Выливное устройство 10 отформовано с образованием корпуса 30 чашеобразной формы, открывающейся вниз, который имеет два противоположных боковых стеночных участка 32, как показано на Фиг.4, а также внутренний конец 34 и наружный конец 44, как показано на Фиг.5. Внутренний конец 34, имеющий наружную периферию 36, обращен к внутренней области 24 сжимаемого мешка 20, когда выливное устройство 10 прикреплено к сжимаемому мешку 20. Наружный конец 44 имеет наружную периферию 46. Наружная периферия 36 внутреннего конца 34 выливного устройства 10 образует ссылочную плоскость PR. Выливное устройство 10 отформовано так, чтобы обеспечить внутреннюю унитарную трубку 48, как показано на Фиг.8. Трубка 48 выступает вниз в корпус 30 при исходном формовании выливного устройства 10, а затем деформируется (посредством процесса, описанного здесь далее) в изогнутую форму на Фиг.8.
Как показано на Фиг.6, каждый стеночный участок 32 имеет разнесенные уступы 50, 52, 54 и заплечики 62, 64, 66, 68. Эти заплечики, как показано на Фиг.8, имеют поверхности, соответственно 72, 74, 76 и 78, для прикрепления к полотну мешка. Каждая поверхность 72, 74, 76, 78 прикрепления расположена между смежной поверхностью бокового стеночного участка и поверхностью смежного уступа 50, 52, 54 и при этом сужается в направлении от внутреннего конца 34 к наружному концу 44 выливного устройства.
Когда мешок 20 прикреплен к выливному устройству 10 посредством ультразвуковой сварки, которая является предпочтительной, адгезивным или иным способом, то разнесенные области на внутренних стенках участков 22 полотна прикреплены к поверхностям 72, 74, 76, 78 прикрепления на разнесенных заплечиках 62, 64, 66, 68 выливного устройства 10. Известно, что прикрепление вдоль разнесенных областей может быть особенно эффективным; см., например, патент США 6050451, столбец 7, строки 25-28.
Как видно от внутреннего либо от наружного концов 34, 44, корпус 30 выливного устройства 10 имеет периферию в форме лодки, образующую два противоположных края 80 и образующую противоположные боковые стеночные участки 32. См. Фиг.3 и 7. Кроме того, отформованное, выливное устройство имеет ребро 82, выступающее от каждого из противоположных краев 80. Когда мешок 20 прикрепляют к выливному устройству 10, участки 22 полотна и ребра 82 стремятся сплавиться вместе. Кроме того, выливное устройство 10 имеет унитарный трубчатый выливной носик 90, выступающий внутрь от наружного конца 44 корпуса 30 и образующий проход 92 (Фиг.7), который продолжается через выливной носик 90 и открыт в мешок 20, когда мешок 20 прикреплен к выливному устройству 10. Возможно, как показано на Фиг.4А, выливной носик 90 снабжен унитарным (выполненным за одно целое) отламываемым ушком 93, который закрывает проход 92 до отламывания ушка 93 от выливного носика 90.
Корпус 30 выливного устройства 10 образует некоторый диапазон периферических размеров, каждый из которых измерен вокруг одного из разнесенных уступов 50, 52, 54 или вокруг одного из разнесенных заплечиков 62, 64, 66, 68 в плоскости, расположенной на внутреннем или наружном конце 34, 44 или между внутренним и наружным концами 34, 44, и которая совпадает со ссылочной плоскостью PR или параллельна ей. Выступающие ребра 82 не включают в периферические размеры, то есть периферические измерения выполняют так, как будто выступающие ребра 82 отсутствуют.
Периферические размеры возрастают от наименьшего диаметра на наружном конце 44 через промежуточные диаметры, которые не уменьшаются после возрастания между внутренним и наружным концами 34, 44, до наибольшего диаметра на внутреннем конце 34. Поэтому корпус 30 выливного устройства 10 может быть отформован в простой форме, состоящей из двух частей, которые образуют границу разделения и которые можно открывать путем простых, одноосевых, прямых перемещений частей формы друг от друга, при действии, перпендикулярном границе разделения, и без какого-либо бокового действия формы.
Предпочтительно, как показано на Фиг.8, выливное устройство 10 снабжено внутренним клапаном 100 щелевого типа, который установлен в выливном устройстве 10. Клапан 100 структурно и функционально подобен клапану, описанному в патентах США №5439143 и №6050451, описания которых включены сюда путем ссылки в уместной и целесообразной степени. Клапан 100 выполнен из эластомерного материала, такого как силиконовая резина. Клапан 100 имеет наружный фланец 102. Как отмечено выше, выливное устройство 10 имеет внутреннюю унитарную трубку 48, которая выступает вниз (в трубчатой форме) при исходном формовании выливного устройства 10. Затем клапан 100 устанавливают в выливное устройство 100. После ультразвуковой сварки или прикрепления иным способом трубку 48 поворачивают под фланцем клапана 102 вверх, так чтобы зажать фланец 102 клапана в выливном устройстве 10 как только деформированная трубка 48 охладится достаточно, чтобы быть размерно-стабильной.
Как показано на Фиг.9, 10, 11, 12 и 13, выливное устройство 110 для прикрепления к сжимаемому мешку 120, который показан только на Фиг.13 и который подобен мешку 20, который имеет два участка 122 полотна (один показан на Фиг.13), подобных участкам 22 полотна, и который имеет внутреннюю область 124, составляет второй вариант выполнения данного изобретения. Если не показано или описано иное, в остальном выливное устройство 110 подобно выливному устройству 10. Таким образом, выливное устройство 110 отформовано из подобного материала и применяется аналогично.
Выливное устройство 11 отформовано так, чтобы обеспечить корпус 130 чашеобразной формы, открывающейся вверх, имеющий два противоположных боковых стеночных участка 132, внутренний конец 134 (Фиг.9), который имеет наружную периферию 136 и обращен к внутренней области 124 сжимаемого мешка 120, когда выливное устройство 110 прикреплено к сжимаемому мешку 120, и наружный конец 144 (Фиг.9), который имеет наружную периферию 146. Наружная периферия 136 внутреннего конца 134 выливного устройства 110 образует ссылочную плоскость PR, показанную на Фиг.11. Выливное устройство 110 отформовано так, чтобы обеспечить внутреннюю унитарную трубку 148, которая выступает вниз в корпус 130 при исходном формовании выливного устройства 110, но затем деформируется (посредством процесса, описанного здесь далее) в изогнутую форму, показанную на Фиг.13.
Каждый стеночный участок 132 снабжен тремя разнесенными уступами 150, 152, 154, которые образуют четыре разнесенных заплечика 162, 164, 166, 168. Заплечик 162 расположен около наружной периферии 136 внутреннего конца 134. Заплечик 168 расположен на наружной периферии 146 наружного конца 144. Как показано на Фиг.11, заплечик 162 имеет поверхность 172 прикрепления, заплечик 164 имеет поверхность 174 прикрепления, заплечик 166 имеет поверхность 176 прикрепления, и заплечик 168 имеет поверхность 178 прикрепления. Поверхности 172, 174, 176, 178 прикрепления сужаются внутрь от наружного конца 144 к внутреннему концу 134.
Когда мешок 120 прикреплен к выливному устройству 110 посредством ультразвуковой сварки, которая является предпочтительной, адгезивным или иным способом, разнесенные области на внутренних стенках участков 122 полотна прикреплены к поверхностям 172, 174, 176, 178 прикрепления на разнесенных заплечиках 162, 164, 166, 168 выливного устройства 110.
Как видно либо с внутреннего, либо с наружного концов 134, 144, корпус 130 выливного устройства 110 имеет периферию в форме лодки, образующую два противоположных края 180 и образующую противоположные боковые стеночные участки 132. См. Фиг.12. Кроме того, как отформовано, выливное устройство имеет ребро 182, выступающее от каждого из противоположных краев 180. Когда мешок 120 прикреплен к выливному устройству 110, участки 122 полотна и ребра 182 стремятся к соединению. Кроме того, на его наружном конце 144 выливное устройство 110 имеет унитарный трубчатый выливной носик 190, выступающий вверх от внутреннего конца 134 корпуса 130 и образующий проход 199 (Фиг.12), который продолжается через выливной носик 190 и открывается в мешок 120, когда мешок прикреплен к выливному устройству 110.
Корпус 130 выливного устройства 11 образует некоторый диапазон периферических размеров, каждый из которых измерен вокруг одного из разнесенных уступов 150, 152, 154 или вокруг одного из разнесенных заплечиков 162, 164, 166, 168 в плоскости, расположенной на внутреннем или наружном конце 134, 144 или между ними, и которая совпадает со ссылочной плоскостью РR или параллельна ей. Выступающие ребра 182 не включают в периферические размеры, то есть периферические измерения выполняют так, как будто не имеется выступающих ребер 82.
Периферические размеры возрастают от наименьшего диаметра на внутреннем конце 134 через промежуточные диаметры, которые не уменьшаются после возрастания между внутренним и наружным концами 134, 144, до наибольшего диаметра на наружном конце 144. Поэтому корпус 130 выливного устройства 110 может быть отформован в простой форме, состоящей из двух частей, которые образуют границу разделения и которые можно открывать путем простых, одноосевых, прямых перемещений частей формы друг от друга, при действии, перпендикулярном границе разделения, и без какого-либо бокового действия формы.
Предпочтительно, как показано на Фиг.13, выливное устройство 110 снабжено внутренним клапаном 200 щелевого типа, который прикреплен к выливному устройству 110 и находится внутри этого устройства. Клапан 200 структурно и функционально подобен клапану 100 и клапанам, описанным в патентах США №5439143 и №6050451, см. выше. Клапан 200 имеет наружный фланец 202. Как указано выше, выливное устройство 110 имеет внутреннюю унитарную трубку 148, которая выступает вниз (в трубчатой форме) при начальном формовании выливного устройства 110. Затем клапан 200 устанавливают в выливное устройство 110. После ультразвуковой сварки или прикрепления иным способом трубку 148 поворачивают под фланцем 202 клапана и вверх так, чтобы зажать фланец 202 клапана в выливном устройстве 110 как только деформированная трубка 148 охладится достаточно, чтобы быть размерно-стабильной.
Возможно выливное устройство 110 отформовано так, чтобы обеспечить два единых нижних фланца 210 и четыре единых верхних фланца 220 на его наружном конце 144. Такие фланцы 210, 220, если они имеются, предназначены для взаимодействия с разнесенными направляющими (не показаны) машины для автоматической обработки (не показана), когда выливное устройство 110 обрабатывают такой машиной. Такие фланцы 210, 220, если они имеются, выполнены так, что выливное устройство 110, включающее корпус 130, трубку 148 и фланцы 210, 220, может быть отформовано в простой форме, состоящей из двух частей, которую можно открыть путем простых одноосевых прямых перемещений частей формы друг от друга, как описано выше. Понятно, что выливное устройство 110 будет работать по назначению, даже если такие фланцы 210, 220 отсутствуют.
Из предшествующего подробного описания и сопровождающих чертежей будет понятно, что возможны многие другие варианты и модификации без отхода от идеи и объема существа или принципов настоящего изобретения.
Формула изобретения
1. Выливное устройство для прикрепления к сжимаемому мешку, имеющему два противоположных участка гибкого полотна, приваренных друг к другу с образованием внутренней области и отверстия, открытого во внутреннюю область и приспособленного для приема выливного устройства, когда выливное устройство прикрепляют к сжимаемому мешку, причем выливное устройство имеет корпус с по меньшей мере одним боковым стеночным участком, снабженным уступами с заплечиками, причем корпус имеет внутренний конец, обращенный внутрь сжимаемого мешка, когда выливное устройство прикреплено к сжимаемому мешку, а также наружный конец и образует базовую плоскость, при этом корпус имеет ряд периферических размеров, каждый из которых измерен вокруг одного из указанных уступов или вокруг одного из указанных заплечиков, в плоскости, расположенной на внутреннем или наружном конце или между внутренним и наружным концами, и которая совпадает с базовой плоскостью или параллельна ей, причем периферические размеры возрастают от наименьшего размера на одном указанном конце или ближе к нему через промежуточные размеры, которые не уменьшаются после возрастания между внутренним и наружным концами, до наибольшего диаметра на другом конце или ближе к нему, предпочтительно каждый заплечик имеет поверхность для прикрепления полотна мешка, расположенную между смежной поверхностью бокового стеночного участка и поверхностью смежного уступа и сужающуюся от одного конца выливного устройства к другому его концу, причем при измерениях через указанный корпус вдоль плоскостей сечения, перпендикулярных указанной базовой плоскости, определены следующие соотношения: указанная сужающаяся поверхность прикрепления указанных некоторых или каждого заплечиков имеет максимальный боковой размер на указанной смежной поверхности и минимальный боковой размер на смежном уступе, указанная смежная поверхность имеет минимальный боковой размер, по меньшей мере равный максимальному боковому размеру указанной сужающейся поверхности прикрепления, указанный минимальный боковой размер указанной сужающейся поверхности прикрепления по меньшей мере равен максимальному боковому размеру указанного смежного уступа и указанные сужающиеся поверхности прикрепления отделены указанными уступами для ограничения прикрепления указанного полотна к указанному боковому стеночному участку корпуса только на указанных сужающихся поверхностях прикрепления.
2. Выливное устройство по п.1, в котором при виде от внутреннего либо от наружного конца, корпус имеет периферию, по существу, в форме лодки, образующую два противоположных края и два противоположных боковых стеночных участка, каждый из которых имеет указанные уступы, образующие указанные заплечики.
3. Выливное устройство по п.2, в котором выливное устройство имеет ребро, выступающее от каждого из противоположных краев.
4. Выливное устройство по п.1, в котором указанные поверхности для прикрепления сужаются внутрь от внутреннего конца к наружному концу, причем периферический размер является наибольшим на внутреннем конце или ближе к нему и наименьшим на наружном конце или ближе к нему.
5. Выливное устройство по п.4, в котором при виде от внутреннего либо от наружного концов корпус имеет периферию, по существу, в форме лодки, образующую два противоположных края и два боковых стеночных участка, каждый из которых имеет указанные уступы, образующие указанные заплечики.
6. Выливное устройство по п.5, в котором выливное устройство имеет ребро, выступающее от каждого из противоположных краев.
7. Выливное устройство по п.1, в котором указанные поверхности для прикрепления сужаются внутрь от наружного конца к внутреннему концу, причем периферический размер является наибольшим на наружном конце или ближе к нему и наименьшим на внутреннем конце или ближе к нему.
8. Выливное устройство по п.7, в котором при виде от любой плоскости, расположенной между наружным и внутренним концами и совпадающей с базовой плоскостью или параллельной ей, корпус имеет периферию, по существу, в форме лодки, образующую два противоположных края и два противоположных стеночных участка, каждый из которых имеет указанные уступы с заплечиками.
9. Выливное устройство по п.8, в котором выливное устройство имеет ребро, выступающее от каждого из противоположных краев.
РИСУНКИ
|
|