|
|
(21), (22) Заявка: 2004103854/12, 11.07.2002
(24) Дата начала отсчета срока действия патента:
11.07.2002
(30) Конвенционный приоритет:
11.07.2001 (пп.1-10) US 60/304,670
(43) Дата публикации заявки: 27.12.2004
(45) Опубликовано: 10.03.2006
(56) Список документов, цитированных в отчете о поиске:
US 5244120 А, 14.09.1993. US 6161729 А, 19.12.2000. US 5318203 А, 07.06.1994. US 3472423 А, 14.10.1969.
(85) Дата перевода заявки PCT на национальную фазу:
11.02.2004
(86) Заявка PCT:
US 02/21794 (11.07.2002)
(87) Публикация PCT:
WO 03/006331 (23.01.2003)
Адрес для переписки:
129010, Москва, ул. Б.Спасская, 25, стр.3, ООО “Юридическая фирма Городисский и Партнеры”, пат.пов. Г.Б. Егоровой
|
(72) Автор(ы):
ЧАН Джон Джеффри (CN), ЛАЙ Лай (CN)
(73) Патентообладатель(и):
ДЗЕ ПРОКТЕР ЭНД ГЭМБЛ КОМПАНИ (US)
|
(54) МНОГОКАМЕРНЫЙ ОДНОРОДНО РАСПРЕДЕЛЯЮЩИЙ ТЮБИК
(57) Реферат:
Изобретение относится к многокамерному трубчатому контейнеру для помещения в него и выдачи содержимого. Контейнер содержит: корпус, разделенный одним разделителем на две камеры, выступ, содержащий основание и наконечник, причем основание выступа прикреплено к корпусу, наконечник выступа имеет торцевую поверхность с по меньшей мере двумя отверстиями, причем по меньшей мере одно отверстие находится в соединении с каждой из камер корпуса, а другой конец каждого разделителя корпуса расположен внутри выступа и герметизирован на торцевой поверхности наконечника выступа, колпачок, содержащий корпус, распределяющее отверстие, разделитель колпачка, который разделяет корпус на две ячейки колпачка, причем каждая ячейка колпачка находится в соединении с одной из камер корпуса через одно из отверстий в торцевой поверхности наконечника выступа, и наконечник выступа входит в корпус колпачка, когда колпачок и выступ собраны. Дополнительно предложен узел колпачка и выступа для использования с корпусом многокамерного тюбика. Предложенное решение обеспечивает эффективное распределение однородных компонентов. 2 н. и 8 з.п. ф-лы, 4 ил. 
Область техники
Настоящее изобретение относится к многокамерному тюбику для однородного распределения состава, включающего в себя различные компоненты, содержащиеся в каждой из камер тюбика, и, в частности, используемому для распределения многофазного состава зубной пасты.
Предпосылки создания изобретения
Многокамерные тюбики для одновременной подачи различных веществ при сжимании тюбика были известны ранее. Были предложены тюбики концентрических типов, в которых камеры, в общем круглые в поперечном сечении и приблизительно равного объема, выполнены одна внутри другой, а также типы тюбиков с расположенными бок о бок камерами, в которых камеры в общем примыкают друг к другу. В обоих случаях достижение одновременного распределения каждого компонента из трубчатой упаковки, которое является однородным, независимо от того, где и как сжимают упаковку, остается проблематичным. Другим продолжением проблемы является создание привлекательного внешнего вида распределенного многокомпонентного состава, содержавшегося в таком тюбике.
Количество материала, распределяемого из каждой камеры многокамерного тюбика, зависит от уменьшения объема камеры, вызванного деформацией стенок камеры. Эта деформация и, таким образом, количество распределяемого материала зависят от нескольких факторов, включающих в себя относительные реологию и вязкость веществ, подлежащих распределению, размера и формы отверстия (отверстий), через которое распределяются вещества, давления, прикладываемого к тюбику, и конфигурации тюбика и камер. Тюбики с концентрическими камерами, как в общем полагают, являются менее предпочтительными по сравнению с тюбиками с камерами, расположенными бок о бок, из-за заметно увеличенного приповерхностного трения, вызываемого составом во внешней камере концентрического тюбика, которое образуется из-за усиленного контакта с внешней стенкой внутренней камеры.
Патент США №5927550 “Трубчатая упаковка с двумя камерами”, выданный Маку (Mack) и др. 27 июля 1999 г., раскрывает трубчатую упаковку с расположенными рядом камерами, имеющую разделяющую стенку, которая прикреплена в продольном направлении к боковым стенкам трубчатых камер. Плоскость разделительной стенки распределяющего выпускного отверстия смещена относительно плоскости обжимного шва у основания тюбика предпочтительно примерно на 90°. Другие предварительно описанные трубчатые упаковки включают в себя такие, в которых обжимной шов и разделительная стенка выпускного отверстия находятся в одной и той же плоскости, например, в патентах США №1894115 и №3788520 и патенте Германии №2017292.
Однако трубчатая упаковка, описанная в вышеупомянутом патенте США Мака и др., как полагают, является сложной для производства из-за крепления разделяющей стенки к боковым стенкам трубчатых камер и, дополнительно, из-за соединения разделяющей стенки тюбика с инжектированной формованной разделяющей стенкой выступа тюбика. Таким образом, этот тюбик не считается легким или рентабельным для производства.
В каждом из патентов США №5954234 “Однородно распределяющие многокамерные трубчатые упаковки”, WO 97/46462 “Совместное распределение физически разделенных зубных паст в согласующихся соотношениях” и WO 97/46463 “Однородно распределяющие многокамерные трубчатые упаковки” описана многокамерная упаковка, в которой внешние стенки и внутренние стенки разделителя имеют определенные физические характеристики. Внутренняя разделяющая стенка этого тюбика смещается в сторону в ответ на сжимающее смещение внешних стенок тюбика во время сжатия. Поэтому эту разделяющую стенку делают тонкой и гибкой, насколько это возможно.
Полагают, что однородность распределения из этого тюбика меньше идеальной, потому что внутренняя разделяющая стенка тонкая и мягкая, что затрудняет прикладывание требуемого давления на камеры для поддержания равномерного распределения продукта, особенно если составляющие компоненты продукта имеют сильно отличающиеся относительные реологию и вязкость. Кроме того, этот тюбик не имеет устройства для регулирования потока, из-за чего трудно поддерживать равномерное изменение объема по камерам при распределении.
На основании изложенного видно, что имеется постоянная потребность в многокамерном распределяющем тюбике, который может согласованно выдавать одно и то же количество, форму и размер компонентов составов, содержащихся в каждой камере, с одинаковой скоростью распределения, независимо от того, как сжимают тюбик. Также имеется потребность в таком тюбике, который является эффективным с точки зрения затрат и легким в изготовлении. Ни один из существующих тюбиков не обеспечивает все преимущества и выгоды настоящего изобретения.
Краткое изложение сущности изобретения
Настоящее изобретение направлено на многокамерный тюбик для содержания и распределения содержимого, включающего в себя части, имеющие различные характеристики реологии и вязкости, причем тюбик содержит: (a) корпус, разделенный по меньшей мере одним разделителем корпуса по меньшей мере на две камеры корпуса, причем каждая камера корпуса содержит часть содержимого, корпус герметизирован на одном конце обжимным швом, а один конец каждого разделителя корпуса герметично закреплен внутри обжимного шва; (b) выступ, содержащий основание выступа и наконечник выступа, причем основание выступа прикреплено к корпусу, наконечник выступа имеет торцевую поверхность по меньшей мере с двумя отверстиями, причем по меньшей мере одно отверстие соединено с каждой камерой корпуса, и другой конец каждого разделителя корпуса расположен внутри выступа и герметично прикреплен к торцевой поверхности наконечника выступа; (c) колпачок, содержащий корпус колпачка, имеющий распределяющее отверстие, и по меньшей мере один разделитель колпачка, который разделяет корпус колпачка по меньшей мере на две ячейки колпачка, причем каждая ячейка колпачка соединена с одной из камер корпуса по меньшей мере через одно отверстие на торцевой поверхности наконечника выступа, а наконечник выступа входит в корпус колпачка, когда колпачок и выступ собраны.
Настоящее изобретение дополнительно направлено на узел колпачка и выступа для использования с многокамерным корпусом тюбика.
Эти и другие особенности, аспекты и преимущества изобретения станут понятны для специалистов в данной области техники из настоящего описания изобретения.
Краткое описание чертежей
В то время как описание заканчивается формулой изобретения, в частности, указывающей и определенно заявляющей изобретение, настоящее изобретение будет лучше понятно из последующего описания предпочтительных вариантов осуществления, приведенных со ссылкой на прилагаемые чертежи, на которых аналогичными ссылочными позициями обозначены идентичные элементы и на которых:
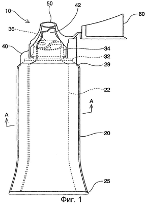
фиг.1 – вид сбоку предпочтительного варианта осуществления тюбика согласно настоящему изобретению, содержащего корпус, выступ и колпачок, с внутренней частью, показанной в перспективе штрихпунктирными линиями;
фиг.1a – вид в поперечном разрезе, взятом по линии А-А на фиг.1;
фиг.1b – вид в плане разделительной стенки 22, которая показана на фиг.1;
фиг.1c – вид в поперечном разрезе другого предпочтительного варианта осуществления настоящего изобретения, взятом по линии А-А на фиг.1;
фиг.1d – вид в поперечном разрезе еще одного предпочтительного варианта осуществления настоящего изобретения, взятом по линии А-А на фиг.1;
фиг.2a – вид в перспективе части тюбика фиг.1 с удаленным колпачком;
фиг.2b – вид сверху части тюбика, показанного на фиг.2a;
фиг.3a-3c – вид сбоку, вид сверху и вид снизу соответственно предпочтительного варианта осуществления колпачка согласно настоящему изобретению с внутренней частью колпачка, показанной на фиг.3a штрихпунктирными линиями; и
фиг.4 – часть предпочтительного варианта осуществления тюбика фиг.1, показывающая узел выступа и колпачка.
Подробное описание изобретения
Хотя последующее подробное описание дается прежде всего на примере тюбика для содержания двухфазного продукта зубной пасты, следует понимать, что тюбик может быть использован для хранения и распределения других продуктов, когда желательно содержать различные составы или различные компоненты состава в отдельных камерах тюбика, в которых смешивание составов или компонентов происходит только во время распределения. Например, такие составы или компоненты включают в себя составы ухода за полостью рта, типа двухфазных зубных паст, продовольственных продуктов, изделий ухода за волосами, косметических изделий и т.п. Кроме того, использование термина “зубная паста” здесь следует понимать как включающий в себя неограничивающим образом составы ухода за полостью рта, типа зубных паст, гелей и комбинаций таких паст и гелей.
Помимо этого, в то время как описание здесь главным образом дается на примере корпуса, имеющего две камеры, следует понимать, что корпус и колпачок согласно настоящему изобретению могут быть разделены на множество камер, где каждая камера вмещает компонентную часть состава. Такие варианты осуществления находятся в объеме настоящего изобретения.
На фиг.1 показан предпочтительный вариант осуществления многокамерного тюбика 10 согласно настоящему изобретению. Тюбик 10 в общем состоит из корпуса 20 тюбика, имеющего внутренний разделитель 22 корпуса, выступ 30 (см. фиг.2) и колпачок 40 (см. фиг.3) с распределяющим отверстием 50, через которое можно распределять заданное количество содержимого тюбика, когда пользователь сжимает корпус тюбика. Колпачок 40 предпочтительно имеет откидную крышку 60, которая шарнирно прикреплена к корпусу 44 колпачка. В качестве альтернативы, можно выполнить навинчивающийся колпачок (на чертежах не показан).
В варианте осуществления фиг.1 показан двухкамерный тюбик 10. Корпус 20 разделен на две примыкающие камеры разделителем 22 корпуса. Первая камера 18 корпуса вмещает первую часть содержимого, а вторая камера 19 корпуса вмещает вторую часть содержимого. Такой тюбик используется, например, для размещения двухфазного состава зубной пасты, в котором первая часть содержимого включает ингредиенты, которые являются химически активными для ингредиентов, содержащихся во второй части содержимого. Неограничивающим примером является композиция зубной пасты, в которой первая часть содержит источник растворимых ионов фторида, а вторая часть содержит источник полифосфата, типа линейных “стекловидных” полифосфатов. Такие полифосфаты значительно реагируют с ионным фторидом в составах для полости рта при окружающей температуре; эта реакция подвергает опасности способность состава для полости рта обеспечивать устойчивый ионный фторид и полифосфат для поверхностей полости рта. Таким образом, два компонента состава должны оставаться физически разделенными до времени фактического использования. Такая зубная паста описана, например, в патенте WO 98/22079 “Составы зубной пасты, содержащие полифосфат и фторид”, опубликованном 28 мая 1998 г.
Разделитель 22 корпуса и камеры 18 и 19 можно легко видеть на фиг.1a, которая представляет вид в разрезе корпуса, взятом по линии А-А на фиг.1. Корпус 20 герметизирован обжимным швом 25 на конце тюбика, который расположен напротив распределяющего отверстия 50. На фиг.1b показан вид в плане разделителя 22 корпуса. Один конец (конец обжимного шва) 22a разделителя 22 корпуса герметично закреплен внутри обжимного шва 25. Разделитель 22 корпуса проходит от обжимного шва 25 внутри корпуса 20 и внутри выступа 30. Другой конец (конец выступа) 22b разделителя 22 корпуса герметично прикреплен внутри выступа 30, более конкретно, к внутренней поверхности наконечника 34 выступа. Более конкретно, конец 22b выступа герметично прикреплен к торцевой поверхности 36 наконечника выступа. Продольные края 22c и 22d разделителя 22 корпуса герметично прикреплены вдоль внутренних поверхностей корпуса 20 и выступа 30. Эти части продольных краев 22c, 22d на фиг.1b в общем обозначены ссылочной позицией L1. Части, в общем обозначенные ссылочной позицией L2, герметично прикреплены к основанию 32 выступа, а части, в общем обозначенные ссылочной позицией L3, герметично прикреплены к наконечнику 34 выступа.
Соответственно, различные компоненты состава, типа двухфазного состава зубной пасты, можно поместить в каждую из камер 18 и 19 и сохранять их физически разделенными до момента фактического использования. Каждый компонент будет иметь различные характеристики вязкости и реологии, а следовательно, различные гидрологические характеристики потока, когда пользователь применяет сжимающее (сдавливающее) усилие к тюбику; следовательно, трудности заключаются в однородном распределении.
Чтобы компенсировать различия в потоке в ответ на приложенное сжимающее усилие, компонентные части состава, размещенного в упаковке, можно выполнить такими, чтобы сжимающие усилия, требуемые для выведения каждого компонента, были по существу эквивалентны, как описано в работе WO 97/46462. Однако типы композиций, которые можно размещать в такого типа упаковке, а также выбор компонентов композиций весьма ограничены.
Предполагается, что составы, в которых компоненты имеют значительно отличающиеся пределы текучести и индексы сдвига, особенно трудно распределять. Предел текучести и индекс сдвига являются существенными для вязкости согласно модели вязкости Хершсел-Булклей (Hershcel-Bulkley), в которой:
Вязкость = (предел текучести/скорость сдвига) + (фактор консистенции × (скорость сдвига)n-1).
Согласно настоящему изобретению, нет необходимости выполнения состава, размещенного в упаковке, так, чтобы сжимающие усилия, требуемые для того, чтобы заставить вытекать каждый компонент, были по существу эквивалентны. Упаковка согласно настоящему изобретению и, в частности, узел колпачка и выступа согласно настоящему изобретению обеспечивают регулирование соответствующих скоростей потока компонентов для получения однородного распределения. Таким образом, в связи с упаковкой согласно настоящему изобретению можно использовать широкий диапазон составов и ингредиентов без ограничения.
На фиг.1a можно видеть поперечный разрез корпуса, взятый в точке, которая находится на полпути между обжимным швом 25 и распределяющим отверстием 50, например, на линии разреза А-А на фиг.1. Показаны две камеры 18 и 19, разделенные разделителем 22 корпуса. Разделитель 22 корпуса предпочтительно не претерпевает никакого раскручивания от обжимного шва 25 через внутреннюю часть корпуса 20 и в выступ 30. Другими словами, нет необходимости, чтобы разделитель 22 корпуса был изогнутым или имел синусоидально искривленную форму, которая соответствует искривлению разделителя 42 колпачка; разделитель 22 корпуса предпочтительно не “поворачивается” внутри корпуса тюбика. Его функция заключается в разделении корпуса на две камеры и обеспечении однородности распределения, как дополнительно описано ниже.
Соответственно, “поворот” двух потоков компонентов непосредственно перед распределением происходит только в колпачке 40, в результате размещения разделителя 42 колпачка. Предполагается, что трудно достигнуть изогнутой или синусоидальной формы разделителя корпуса (типа описанного в ранее упомянутом патенте США №5927550 Мака и др.) в корпусе тюбика. Дополнительно предполагается, что согласование такого искривления с изогнутым разделителем тюбика очень трудно обеспечить при изготовлении. Кроме того, предполагается, что фактическое заполнение продуктом тюбика, имеющего такой разделитель тюбика изогнутой или синусоидальной формы, очень трудно и менее эффективно, чем заполнение тюбика согласно настоящему изобретению.
Поэтому тюбик согласно настоящему изобретению, как полагают, обеспечивает производственные преимущества над ранее описанными тюбиками с расположенными бок о бок и концентрическими двухкамерными конструкциями. Тюбик 10, содержащий корпус 20 и разделитель 22 корпуса согласно предпочтительным вариантам осуществления, можно собрать, используя обычные производственные процессы изготовления тюбика, которые являются простыми и рентабельными. Разделитель 22 просто вставляют в корпус 20 и герметично прикрепляют по краям следующим образом. Тонкий лист, из которого делают корпус 20 тюбика, скатывают и образуют в общем закругленную или овальную форму. Разделитель 22 вставляют в подвергнутую черновой обработке закругленную форму корпуса; затем разделитель 22 герметично прикрепляют в продольном направлении по краям тюбика после того, как разделитель 22 правильно размещен внутри корпуса, см. фиг.1 и 1a.
Затем корпус 20 тюбика с разделителем 22, герметично прикрепленным внутри него, одновременно скрепляют с выступом 30 тюбика на одном этапе следующим образом. Часть горячего материала ПВП (полиэтилен высокой плотности) в форме кольца вбрызгивают в форму выступа тюбика, а затем корпус тюбика закругленной формы с разделителем вжимают в горячую кольцевую форму ПВП для образования выступа тюбика.
Этот процесс сборки корпуса и выступа широко используется. Например, такой процесс для сборки корпуса и выступа тюбика раскрыт в заявке на патент Канады №2229879, “Процесс для изготовления многокамерного упаковочного тюбика”, опубликованной Ф. Счейфелом (F. Scheifele) 24 марта 1998 г. Как описано выше, этот известный процесс сборки можно быстро приспособить к изготовлению тюбика согласно настоящему изобретению, добавив этап продольного герметичного крепления разделителя корпуса к подвергнутому черновой обработке корпусу тюбика. Также легко заполнять тюбики согласно настоящему изобретению благодаря жесткости разделителя корпуса и более широкому пространству заполнения.
Как вариант, корпус тюбика и стенку разделителя можно собрать следующим образом. Разделитель корпуса сначала приваривают к тонкому листу, который содержит боковую стенку корпуса тюбика, прежде, чем этот тонкий лист скатывают в подвергнутую черновой обработке трубчатую форму. После того, как тонкий лист был прокатан и сформован в трубчатую форму, разделитель корпуса продувают так, чтобы создать две примыкающие камеры. В таком варианте осуществления разделитель корпуса обычно делают из менее жесткого материала по сравнению с материалом, который образует корпус тюбика, так чтобы разделитель корпуса можно было продуть для создания камер. Поперечное сечение такого тюбика показано на фиг.1c. Однако полагают, что этот тип тюбика более труден для изготовления и заполнения, чем описанный выше предпочтительный вариант осуществления с жесткой стенкой разделителя корпуса. Другое потенциальное неудобство такой конструкции состоит в том, что разделитель корпуса стремится войти в соприкосновение и повторить форму боковой стенки корпуса тюбика вместо того, чтобы сохранять разделение между этими двумя камерами.
В другой альтернативной конфигурации корпуса тюбика корпус состоит из двух отдельных камер, первая камера 18 сделана в форме “D”, а вторая камера 19 является зеркальным отображением первой камеры 18. Поперечное сечение такого корпуса тюбика показано на фиг.1d. В таком варианте осуществления стенка разделителя не является отдельным элементом, как в предпочтительном варианте осуществления, показанном на фиг.1, 1a и 1b.
Корпус тюбика 20 и разделитель 22 корпуса могут состоять из любых материалов, известных специалистам в данной области техники, которые обеспечивают отвечающее требованиям хранение зубной пасты или другого продукта, содержавшегося в тюбике. Материалы, составляющие корпус 20, не должны вступать в реакцию с компонентами, которые имеются в содержимом, так чтобы содержимое могло представлять опасность или стать иначе неподходящим для использования потребителем. Конечно, они должны также быть достаточно прочными, чтобы выдерживать нормальное использование потребителем без утечки, разрыва или поломки и т.д.
Неограничивающие примеры подходящих материалов для содержания продукта зубной пасты, из которых можно сделать корпус тюбика, включают в себя полиэтилены, такие как полиэтилен низкой плотности (“ПНП”), линейный полиэтилен низкой плотности (“ЛПНП”), полиэтилен средней плотности (“ПСП”) и полиэтилен высокой плотности (“ПВП”), этиленовую акриловую кислоту (“ЕАК”), фольгу, типа алюминиевой фольги, или любые из вышеупомянутых материалов в любой комбинации, например, образованной в виде материала слоистой структуры. Боковые стенки корпуса 20 тюбика предпочтительно делают толщиной от, приблизительно, 0,1 мм до, приблизительно, 0,4 мм, в общем подходящим является приблизительно 0,3 мм. Можно обеспечить более толстые или более тонкие боковые стенки, но полагают, что это было бы не особенно рентабельно и не обязательно обеспечило бы дополнительные выгоды для распределения. Для боковых стенок корпуса предпочтительны слоистые материалы.
Толщина разделителя корпуса составляет предпочтительно от, приблизительно, 0,05 мм до, приблизительно, 0,30 мм, предпочтительная толщина составляет приблизительно 0,1 мм-0,25 мм. Разделитель 22 корпуса предпочтительно делают по существу из жесткого материала для взаимодействия с выступом 30 и колпачком 40, чтобы обеспечить однородное распределение составов, содержащих компоненты широкого разнообразия относительно вязкости и реологии. Термин “жесткие”, как используют здесь, означает, что разделитель 22 корпуса испытывает минимальное или незначительное боковое смещение в ответ на любой перепад давления, существующий внутри тюбика. Важно обеспечить равномерный объемный расход каждого компонента из камер 18, 19 корпуса и в ячейки 48, 49 колпачка. Разделитель 22 корпуса является не сминающимся в любом направлении и не смещаемым ни в одном направлении под действием перепада давления, действующего на него. Разделитель 22 корпуса является по существу не смещаемым в ответ на применение к корпусу тюбика сжимающего усилия. Предпочтительным материалом для стенки разделителя является ПВП.
Корпус 20 тюбика представлен обжимным укупорочным средством 25 на конце тюбика, которое располагают напротив распределяющего отверстия 50. Другой конец корпуса 20 тюбика прикрепляют к выступу 30 в связующем или герметизирующем соединении так, чтобы препятствовать просачиванию содержимого тюбика в соединении 29. Колпачок 40 собирают с выступом 30, как подробно описано ниже, так чтобы аналогичным образом препятствовать просачиванию содержимого тюбика.
Колпачок 40 и выступ 30 желательно изготавливать, например, литьем под давлением. Как описано более полно ниже, в предпочтительном варианте осуществления они предпочтительно состоят из отдельных частей, которые надежно подгоняют друг к другу. Кроме того, колпачок 40 и выступ 30 предпочтительно имеют различные составы материалов, но в качестве альтернативы, они могут состоять из одинаковых материалов. Неограничивающие примеры подходящих материалов, из которых могут состоять выступ и колпачок, включают в себя полиэтилены, описанные выше. Сборка выступа/колпачка показана на фиг.4.
Хотя предпочтительным является вариант осуществления корпуса тюбика и стенки разделителя, который показан на фиг.1, 1a и 1b, можно комбинировать сборку выступа и колпачка по настоящему изобретению с альтернативными комбинациями корпуса тюбика/стенки разделителя, например, как показано на фиг.1c и 1d и как описано выше, а также возможны другие комбинации в пределах объема настоящего изобретения.
Теперь будет описан более подробно предпочтительный вариант осуществления выступа 30 со ссылкой на фиг.2a. Выступ 30 состоит в общем из основания 32 выступа и наконечника 34 выступа. Выступ 30 прикрепляют к корпусу 20 тюбика у основания 32 выступа в непрерывном связующем или герметизирующем контакте 29 так, чтобы содержимое тюбика не могло просочиться в этом соединении. Наконечник 34 выступа проходит от основания 32 выступа вверх от корпуса 20 тюбика и входит в колпачок 40, когда выступ и колпачок собраны. После сборки, во время распределения не должно быть никакой утечки содержимого.
Наконечник 34 выступа и основание 32 выступа предпочтительно неразрывно формуют из монолитной части материала (например, посредством литья под давлением), как показано на фиг.2a; в качестве альтернативы, они могут состоять из отдельных сплавленных частей или быть иначе прочно прикреплены друг к другу каким-либо способом, известным специалистам в данной области техники. Например, выступ 30 можно изготавливать за одно целое с частью корпуса тюбика с помощью прессования или опрессовки под давлением, можно наворачивать на тюбик при помощи сопряженной нарезки или можно соединять термосваркой или склеивать, чтобы получить торцевую поверхность 36 выступа отверстиями 16, 17 на выступе тюбика.
Кроме того, наконечник 34 выступа и основание 32 выступа предпочтительно имеют один и тот же состав материала, но в качестве альтернативы, могут содержать разные составы материалов. Неограничивающие примеры подходящих материалов включают в себя описанные выше полиэтилены.
Фиг.2b представляет вид сверху тюбика и выступа, показанных на фиг.2a (с удаленным колпачком). Торцевую поверхность 36 наконечника 34 выступа можно ясно увидеть на фиг.2b. На фиг.2b лицевая поверхность 36 выступа предпочтительно разделена на секции канавкой 33. Лицевая поверхность 36 выступа предпочтительно состоит по меньшей мере из первой секции 36a и второй секции 36b. Лицевая поверхность 36 выступа будет иметь столько секций, сколько камер имеет тюбик. Например, в предпочтительном варианте осуществления, показанном на чертежах, тюбик 20 имеет две камеры 18 и 19; соответственно, торцевая поверхность 36 выступа имеет две секции, первую секцию 36a и вторую секцию 36b. Первая секция 36a торцевой поверхности выступа и вторая секция 36b торцевой поверхности выступа могут быть изготовлены за одно целое элементом из одной детали или могут быть отдельными деталями.
Торцевая поверхность 36 выступа имеет по меньшей мере два отверстия. По меньшей мере одно отверстие 16 соединено с первой камерой 19 корпуса; точно так же по меньшей мере одно отверстие 17 соединено со второй камерой 18 корпуса. Другими словами, с каждой камерой корпуса соединено по меньшей мере одно отверстие, чтобы обеспечить проток для компонента, размещенного в этой камере корпуса.
Хотя на чертежах показано только одно отверстие на камеру, следует понимать, что настоящее изобретение не ограничено такой конфигурацией. Количество отверстий в каждой секции торцевой поверхности 36 выступа, а также характеристики каждого отверстия, например форму и размер каждого отдельного отверстия, определяют в соответствии с вязкостью и реологией компонентов, содержащихся в каждой из камер тюбика. Это допускает равномерный объемный расход через отверстия в каждой камере во время сжатия. Таким образом, содержимое, размещенное в каждой камере тюбика, распределяется одновременно и с одинаковой скоростью распределения. Можно обеспечить множество отверстий, соединенных с каждой камерой, и они могут иметь любой размер и/или форму до тех пор, пока могут обеспечивать подходящие соответствующие скорости потоков.
Как показано на фиг.2b и 4, канавку 33 предпочтительно образуют так, чтобы по меньшей мере часть разделителя 42 колпачка установить в углублении при сборке выступа 30 и колпачка 40, см. фиг.4. Когда выступ 30 и колпачок 40 собраны таким образом, эта канавка 33 принимает самый нижний конец имеющего соответственную форму разделителя 42 колпачка, см. также фиг.3c, чтобы обеспечить надежное крепление без утечки между колпачком 40 и выступом 30. В то время как показанная на чертежах канавка 33 имеет волнообразную или синусоидальную форму, следует понимать, что могут быть и другие формы в пределах объема настоящего изобретения. Однако полагают, что желательна показанная волнообразная форма разделителя 42 колпачка, исходя из обеспечиваемого распределяемого состава с проявлением эстетической привлекательности.
Отверстие (отверстия) 17, расположенное в первой секции 36a на одной стороне канавки 33, позволяет (позволяют) компоненту, содержащемуся в первой камере 18 тюбика, проходить через него к распределяющему отверстию 50, через колпачок 40. Точно так же, отверстие (отверстия) 16, расположенное во второй секции 36b с другой стороны канавки 33, позволяет (позволяют) компоненту, содержащемуся во второй камере 19 тюбика, проходить через него к распределяющему отверстию 50, через колпачок 40.
Наконечник 34 выступа можно дополнительно обеспечить одним или более выравнивающими выступами 35, которые располагают вокруг внешней периферии наконечники 34 выступа, см. фиг.2a. Хотя на фиг.2a с целью иллюстрации показан только один такой выступ 35, следует понимать, что возможно любое количество таких выступов в пределах объема настоящего изобретения.
Если наконечник выступа обеспечен одним или более такими выступами 35, внутренняя часть корпуса 44 колпачка будет обеспечена таким же количеством прорезей на внутренней поверхности пригоночного кольца 46 (прорези на чертежах не показаны). Таким образом, когда выступ 30 и колпачок 40 собраны, выравнивающие выступы 35 входят в прорези, чтобы способствовать стабильности плотного прилегания между колпачком и выступом.
На фиг.3a-3b показан предпочтительный вариант осуществления колпачка 40 согласно настоящему изобретению. Рассмотрим фиг.3a, на которой колпачок 40 имеет корпус 44 колпачка, обеспеченный распределяющим отверстием 50 и разделителем 42 колпачка. Разделитель 42 колпачка разделяет корпус 40 колпачка на две ячейки, первую ячейку 48 колпачка и вторую ячейку 49 колпачка. Разделитель 42 колпачка действует как продолжение разделителя 22 корпуса тюбика. Колпачок 40 можно также обеспечить открываемой переворотом крышкой 60, которая шарнирно подвешена 70 к корпусу 44 колпачка. Однако можно обеспечить другие типы колпачков, например завинчивающиеся колпачки, и находящиеся в пределах объема настоящего изобретения. Хотя на чертежах показаны две ячейки колпачка, следует понимать, что колпачок по настоящему изобретению может иметь более двух ячеек. В общем, по меньшей мере один разделитель колпачка разделяет корпус колпачка на столько же ячеек колпачка, сколько имеется ячеек в корпусе тюбика. Каждая ячейка колпачка соединена с одной из камер корпуса по меньшей мере через одно из отверстий в торцевой поверхности наконечника выступа, и наконечник выступа входит в корпус колпачка, когда колпачок и выступ собраны.
Корпус 44 колпачка прочно прикрепляют к выступу 30, и когда колпачок 40 и выступ 30 закреплены таким образом, в корпус 44 колпачка вводят наконечник 34 выступа, плотно окружая его так, чтобы в этом соединении не произошла утечка. Это надежное прилегание между корпусом 44 колпачка и выступом 30 можно обеспечить, например, с помощью объединения формованных частей 44 и 30, резьбовой завинчивающейся пригонкой или посредством термосварки или склеивания. Таким образом, канавка 33 и отверстия 17 и 16, которые выполнены в торцевой поверхности 36 наконечника 34 выступа, входят в корпус 44 колпачка, когда колпачок 40 и выступ 30 собраны. Эта сборка обеспечивает непрерывный канал для составляющих потоков, проходящих от каждой камеры 18, 19 корпуса в каждую из ячеек 48, 49 колпачка, прежде чем потоки смешаются непосредственно перед окончательным распределением из тюбика через распределяющее отверстие 50.
Ячейки 48, 49 колпачка согласно настоящему изобретению также служат в качестве демпфера, чтобы дополнительно регулировать поток (объем/время) распределяемого состава. Ячейки 48, 49 колпачка образуют области для восстанавливания объема прежде, чем продукт выйдет из отверстия 50.
На фиг.3c, изображающей вид снизу предпочтительного варианта осуществления колпачка 40 по настоящему изобретению, можно видеть разделитель 42 колпачка. Кроме того, можно видеть пригоночное кольцо 46. Пригоночное кольцо 46 необходимо для прикрепления колпачка 40 к выступу 30. Пригоночное кольцо 46 предпочтительно имеет несколько выемок 47 на его окружности. Выемки 47 обеспечивают пригоночное кольцо 46 некоторой степенью упругости, которая помогает в креплении колпачка 40 к наконечнику 34 выступа. Кроме того, наконечник 34 выступа можно предпочтительно обеспечить выступающим кольцеобразным образом кольцом 31 (см. особенно фиг.2b и 4), над которым можно прикрепить пригоночное кольцо 46 колпачка 40. Когда колпачок 40 и выступ 30 собраны, это пригоночное кольцо 46 надежно окружает и удерживает наконечник 34 выступа.
Пригоночное кольцо 46 концентрическим образом располагают внутри внешнего участка 45 корпуса 44 колпачка, см. фиг.3a и 3c, и там находится маленький зазор 34 между внешним участком 45 колпачка и пригоночным кольцом 46. Когда колпачок 40 и выступ 30/корпус 20 собраны, внешний участок 45 колпачка соприкасается с корпусом 20 тюбика, обеспечивая в общем непрерывный внешний вид, см. фиг.1 и 4. Выступ 30 не виден, как часть направленного наружу внешнего вида сборки тюбика 10.
Разделитель 42 колпачка предпочтительно сопрягают с имеющей соответствующую форму канавкой 33 в торцевой поверхности 36 наконечника 34 выступа, когда колпачок и выступ собраны. На другом конце разделитель 42 колпачка предпочтительно проходит к местоположению непосредственно под плоскостью открытого отверстия 50 наконечника, то есть немного углубленному относительно плоскости отверстия 50, предпочтительно на расстояние от, приблизительно, 1 мм до, приблизительно, 3 мм, см. фиг.3a. Это углубление 52 позволяет составляющим потокам, например первой части содержимого, размещенной в первой камере 18 корпуса, и второй части содержимого, размещенной во второй камере 19 корпуса, сливаться непосредственно после очистки верхнего конца разделителя 42 колпачка и непосредственно перед фактическим выходом из отверстия 50. Это объединение важно, чтобы обеспечить проявление ровного распределения двухфазного продукта из тюбика. Поток компонентов, который имеет в общем сравнительно более высокую вязкость, может помочь “вытягивать” поток компонентов, который имеет сравнительно меньшую вязкость, избегая разделения этих двух потоков, когда они выходят из отверстия. Поэтому распределенный состав, содержащий две различные составляющие части, будет иметь после распределения привлекательный и однородный внешний вид.
Как показано на фиг.3b (вид сверху колпачка), крышка 60 может по желанию иметь кольцо 62 крышки, которое прикрепляют по окружности вокруг распределяющего отверстия 50, когда крышка закрыта. Внутри кольца 62 крышки дополнительно желательно обеспечить выступающую часть 64 крышки, которая является сопряженной с формой разделителя 42 колпачка так, чтобы выступающая часть 64 крышки помещалась внутри углубления 52, в сопрягаемом контакте с верхним концом разделителя 42 колпачка, когда крышка 60 закрыта. Это предотвращает высыхание состава после однократного использования и до следующего ближайшего использования.
Основываясь на настоящем описании, можно заметить, что сборка колпачка 40/выступа 30 в комбинации с жестким разделителем 22 корпуса обеспечивает однородное одновременное распределение. Нет необходимости иметь сложную конструкцию корпуса 20 тюбика с разделителем 22, поскольку характеристики скорости потока и распределения прежде всего зависят от конструкции колпачка 40 и выступа 30. Соответственно, изготовление и заполнение тюбика, а также герметичное крепление стенки разделителя к корпусу тюбика можно выполнять, используя обычные процессы изготовления тюбиков, которые не должны быть дорогостоящими. Кроме того, тюбики согласно настоящему изобретению можно делать многих различных размеров, включая объемы маленьких размеров, например менее 50 граммов, которые, как полагают, являются труднодоступными при используемых в настоящее время конструкциях двухкамерных тюбиков.
Компоненты двухфазного состава тюбика содержатся в первой и второй камерах корпуса соответственно. После сжатия тюбика каждый компонент протекает из своей камеры корпуса через свое соответствующее отверстие (отверстия) в торцевой поверхности наконечника выступа в свою соответствующую ячейку колпачка. В течение всего этого времени компоненты поддерживаются физически раздельными разделителем корпуса и разделителем колпачка.
Поскольку компоненты имеют характеристики реологии и вязкости, которые могут сильно отличаться друг от друга, их естественная тенденция состоит в передвижении через свои соответствующие ячейки с различными скоростями потока. Однако более быстро движущийся компонент не будет способен более быстро заполнять свою соответствующую ячейку колпачка, потому что его поток, исходя из объема/времени, будет определяться отверстием (отверстиями) в лицевой поверхности наконечника выступа, которое соответствует его ячейке; в случае более быстро движущегося компонента его поток, исходя из объема/времени, будет замедляться отверстием (отверстиями).
Точно так же, скорость потока, соответственно, более медленно движущегося компонента в свою ячейку колпачка будет определяться отверстием (отверстиями) в торцевой поверхности наконечника выступа, которое соответствует его ячейке. Поскольку характеристики отверстия (отверстий), например размер, были определены в соответствии с характеристиками вязкости и реологии этого компонента, он должен заполнять свою ячейку колпачка со скоростью, аналогичной скорости более быстро движущегося компонента.
Как только каждый компонент заполнит свою ячейку колпачка, компоненты будут одновременно распределяться из распределяющего отверстия с одинаковой скоростью и привлекательным внешним видом.
Варианты осуществления, представленные предыдущими примерами, имеют много преимуществ. Например, они образуют многокамерный распределяющий тюбик, который может согласованно выдавать одинаковое количество, форму и размер составляющих составов, содержащихся в каждой камере, одновременно с одинаковой скоростью распределения. В частности, упаковка по настоящему изобретению эффективна в обеспечении однородного распределения компонентов, которые имеют в значительной степени отличающиеся относительные характеристики вязкости и реологии, и не должны быть ограничены компонентами, которые имеют сходные характеристики вязкости и реологии. Упаковка согласно настоящему изобретению не ограничена использованием с составами, которые разработаны для выдавливания из упаковки по существу при эквивалентных сжимающих усилиях (то есть, сжимающие усилия, вызывающие инициирование компонентов состава, не должны быть по существу эквивалентными). Предпочтительные варианты осуществления здесь также рентабельны с точки зрения стоимости изготовления.
Используемый здесь термин “содержащий” означает, что можно добавить другие этапы и другие ингредиенты, которые не влияют на конечный результат. Этот термин охватывает термины “состоящий из” и “состоящий по существу из”.
Следует понимать, что примеры и варианты осуществления, описанные здесь, служат только для иллюстративных целей и что в свете этого специалисты в данной области техники могут предложить различные модификации или видоизменения, не выходя при этом за рамки объема настоящего изобретения.
Формула изобретения
1. Многокамерный тюбик (10) для хранения и распределения содержимых, содержащий
(a) корпус (20), разделенный по меньшей мере одним разделителем (22) корпуса по меньшей мере на две камеры (18, 19) корпуса, каждая из которых вмещает часть содержимых, причем корпус герметизирован на одном конце обжимным швом (25), и один конец (22а) каждого разделителя корпуса герметично прикреплен внутри обжимного шва,
(b) выступ (30), содержащий основание (32) выступа и наконечник (34) выступа, причем основание выступа прикреплено к корпусу, наконечник выступа имеет торцевую поверхность (36) с по меньшей мере двумя отверстиями (16, 17), причем по меньшей мере одно отверстие находится в соединении с каждой из камер корпуса, а другой конец (22b) каждого разделителя корпуса расположен внутри выступа и герметизирован на торцевой поверхности наконечника выступа,
(c) колпачок (40), содержащий корпус (44) колпачка, имеющий распределяющее отверстие (50) и по меньшей мере один разделитель (42) колпачка, который разделяет корпус колпачка по меньшей мере на две ячейки (48, 49) колпачка, причем каждая ячейка колпачка находится в соединении с одной из камер корпуса по меньшей мере через одно из отверстий (16, 17) в торцевой поверхности наконечника выступа, и наконечник (34) выступа входит в корпус (44) колпачка, когда колпачок и выступ собраны, в котором разделитель (42) колпачка проходит до уровня непосредственно под плоскостью распределяющего отверстия (50) наконечника, чтобы обеспечить смешивание содержимых из каждой камеры корпуса сразу после вскрытия самого верхнего конца разделителя колпачка и непосредственно перед выходным отверстием.
2. Тюбик по п.1, в котором торцевая поверхность (36) выступа имеет по меньшей мере одну канавку (33), в которую помещается часть каждого разделителя колпачка.
3. Тюбик по п.1, который имеет две камеры корпуса и ячейки колпачка.
4. Тюбик по п.1, в котором разделитель (22) корпуса выполнен по существу из жесткого материала.
5. Тюбик по п.1, в котором разделитель корпуса имеет толщину от приблизительно 0,05 мм до приблизительно 0,3 мм.
6. Тюбик по п.1, в котором характеристики и количество отверстий (16, 17) в торцевой поверхности (36) выступа определяются на основании характеристик вязкости и реологии частей содержимых.
7. Тюбик по п.1, в котором содержимое представляет собой многофазный состав зубной пасты, причем каждая фаза размещена в отдельной камере корпуса.
8. Узел колпачка и выступа для использования с многокамерным корпусом (20) тюбика, в котором (a) выступ (30) содержит основание (32) выступа и наконечник (34) выступа, причем основание выступа прикреплено к корпусу тюбика, наконечник выступа имеет торцевую поверхность (36) с по меньшей мере столькими отверстиями (16, 17), сколько камер имеет корпус тюбика, причем по меньшей мере одно отверстие находится в соединении с каждой из камер корпуса, и (b) колпачок (40) содержит корпус (44) колпачка, имеющий распределяющее отверстие (50) и разделитель (42) колпачка, который разделяет корпус колпачка на такое количество ячеек (48, 49) колпачка, сколько камер имеет корпус тюбика, причем каждая ячейка колпачка находится в соединении с одной камерой корпуса по меньшей мере через одно из отверстий в торцевой поверхности наконечника выступа и наконечник выступа входит в корпус колпачка, когда колпачок и выступ собраны, в котором разделитель (42) колпачка проходит до уровня непосредственно под плоскостью распределяющего отверстия (50), чтобы обеспечить смешивание содержимых из каждой камеры корпуса сразу после вскрытия самого верхнего конца разделителя колпачка и непосредственно перед выходным отверстием.
9. Узел по п.8, в котором торцевая поверхность (36) выступа имеет по меньшей мере одну канавку (33), в которую входит часть каждого разделителя колпачка.
10. Узел по п.8, в котором характеристики и количество отверстий (16, 17) в торцевой поверхности (36) выступа определяются на основании характеристик вязкости и реологии частей содержимых.
РИСУНКИ
|
|