|
|
(21), (22) Заявка: 2004111353/11, 13.04.2004
(24) Дата начала отсчета срока действия патента:
13.04.2004
(30) Конвенционный приоритет:
14.04.2003 FR 03 04632
(43) Дата публикации заявки: 20.10.2005
(45) Опубликовано: 10.03.2006
(56) Список документов, цитированных в отчете о поиске:
GB 1176184 А, 05.05.1970. US 3783029 А, 01.01.1974. US 5044579 А, 03.09.1991. FR 2152364 А, 27.04.1973. SU 1346918 A1, 23.10.1987.
Адрес для переписки:
129010, Москва, ул. Б.Спасская, 25, стр.3, ООО “Юридическая фирма Городисский и Партнеры”, пат.пов. Г.Б. Егоровой
|
(72) Автор(ы):
ДЕЗАГЮЛЬЕ Кристиан (FR), КОРДЬЕ Патрик (FR), БАРИЛЬ Стефан (FR)
(73) Патентообладатель(и):
ЭАДС СПАС ТРАНСПОРТАСЬОН СА (FR)
|
(54) СКЛАДЫВАЮЩИЙСЯ И РАЗВЕРТЫВАЮЩИЙСЯ КОМПЛЕКС ЭЛЕМЕНТОВ, УСТАНОВЛЕННЫЙ НА БОРТУ КОСМИЧЕСКОГО АППАРАТА
(57) Реферат:
Изобретение относится к оборудованию космических аппаратов, развертываемому из транспортного в рабочее состояние на орбите. Предлагаемый комплекс содержит элементы (1.1-1.n), жестко соединенные с одной и той же стороной (3) мягкого накачиваемого матраца (4). В транспортном положении элементов матрац (4) находится в спущенном состоянии и сложен так, что указанные элементы попарно находятся по обе стороны складки (5.1-5.n-1) матраца. Технический результат изобретения состоит в упрощении конструкции комплекса и повышении надежности его развертывания в рабочее состояние. 9 з.п. ф-лы. 5 ил. 
Настоящее изобретение касается складывающегося и развертывающегося комплекса элементов, установленного на борту космического аппарата.
Известно, что многие устройства, такие как солнечные генераторы, радиоэлектрические антенны, солнцезащитные приспособления и т.д., представляют собой комплекс элементов, шарнирно соединенных между собой таким образом, чтобы комплекс мог быть сложен и занимал минимальное пространство на борту космического аппарата перед запуском и во время запуска последнего. После вывода указанного космического аппарата в космическое пространство указанный комплекс элементов развертывается для того, чтобы устройство могло быть приведено в рабочее положение.
Для шарнирного соединения таких элементов известно применение шарнирных систем автоматического развертывания, описанных, например, в документах US-3386128, FR-2122087 и FR-2635077. Для автоматического развертывания в таких системах используется энергия натянутых пружин в сложенном положении указанных элементов.
Такие автоматические шарнирные системы являются относительно тяжелыми и сложными, и их развертыванием трудно управлять, в частности, в том, что касается начального момента и скорости развертывания.
Задачей настоящего изобретения является устранение этих недостатков.
В связи с этим, в соответствии с настоящим изобретением комплекс, состоящий по меньшей мере из двух элементов, который предназначен для установки на борту космического аппарата и в котором элементы могут занимать относительно друг друга либо сложенное положение, либо развернутое положение, отличается тем, что элементы жестко соединены с одной и той же стороной накачиваемого мягкого матраца, причем в развернутом положении элементов матрац находится в спущенном состоянии и сложен таким образом, что элементы находятся попарно по обе стороны складки матраца.
Таким образом, когда в исходном сложенном положении элементов и спущенном состоянии матраца последний начинают накачивать, в результате последовательного увеличения объема матраца его складки распрямляются и указанный матрац развертывается вместе с расположенными на нем элементами.
Накачивание указанного матраца может происходить от расширения в космическом пространстве газа, содержащегося в матраце в спущенном состоянии на Земле. Вместе с тем, для того чтобы избежать осложнений, связанных с наличием остаточного воздуха в матраце во время запуска космического аппарата, предпочтительно, чтобы на Земле матрац находился под вакуумом и чтобы в космическом пространстве накачивание осуществлялось путем нагнетания рабочего газа.
Стопорение элементов относительно друг друга в развернутом положении может быть достигнуто различными способами. Например, стопорение может быть достигнуто путем придания матрацу жесткости при помощи любой физико-химической системы придания жесткости на орбите, например, при помощи отверждающейся смолы. В этом последнем случае матрац может быть пропитан изнутри такой смолой, которая может полимеризоваться в присутствии каталитического вещества, подаваемого вместе с газом для накачивания матраца. Матрац может быть также пропитан снаружи смолой, полимеризующейся под действием ультрафиолетовых лучей.
Следует заметить, что при таком способе стопорения элементов относительно друг друга в развернутом положении вовсе не обязательно поддерживать номинальное значение давления накачивания в матраце для придания последнему жесткости, так это сделать достаточно сложно по причине неизбежных микроутечек в контуре накачивания.
Согласно одному варианту формирования складок в спущенном матраце, сложенный матрац может быть расположен между двумя из смежных элементов или охватывать два таких смежных элемента.
В случае, если указанный комплекс содержит множество элементов, образующих по меньшей мере один ряд, предпочтительно, чтобы при спущенном состоянии матраца и при сложенном положении элементов матрац был сложен вокруг линий складок, каждая из которых проходит между двумя следующими один за другим элементами ряда и которые направлены поперечно ряду, таким образом, чтобы, поочередно, матрац был расположен между двумя следующими один за другим элементами и охватывал два следующих один за другим элемента.
Если, кроме того, множество элементов образует конструкцию из рядов и столбцов, при спущенном состоянии матраца и при сложенном положении элементов матрац предпочтительно должен складываться вокруг линий складок, каждая из которых проходит между двумя столбцами и/или рядами элементов таким образом, чтобы, поочередно, матрац в сложенном виде был расположен между двумя следующими друг за другом столбцами и/или рядами элементов и охватывал два следующих друг за другом столбца и/или ряда элементов.
Настоящее изобретение будет более понятным из сопроводительных чертежей. На этих чертежах аналогичные элементы обозначены одинаковыми ссылочными номерами.
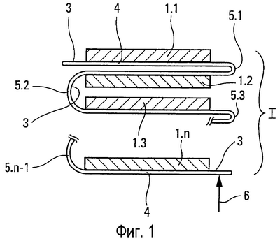
На фиг.1 – схематическое изображение в частичном разрезе комплекса элементов в соответствии с настоящим изобретением в сложенном положении.
На фиг.2 – схематическое изображение развертывания комплекса элементов по фиг.1.
На фиг.3 и 4 – схематическое изображение, соответственно вид в разрезе и вид сверху, комплекса элементов по фиг.1, в развернутом положении.
На фиг.5 – схематическое изображение другого варианта осуществления комплекса элементов в соответствии с настоящим изобретением.
Комплекс I элементов в соответствии с настоящим изобретением, показанный на фиг.1-4, содержит n элементов, обозначенных соответственно 1.1, 1.2, 1.3, …, 1.n-1, 1.n. Эти элементы входят в устройство (солнечный генератор, антенна, солнцезащитное устройство и т.д.), установленное в сложенном виде на борту космического аппарата и развернутое после вывода последнего в космическое пространство. В сложенном положении (см. фиг.1) элементы 1.1-1.n уложены, например, друг на друга и удерживаются в этом положении стопорами (не показаны). После развертывания указанные элементы 1.1-1.n образуют ряд, как показано на фиг.4 осью 2.
Все эти элементы 1.1-1.n жестко соединены с одной и той же стороной 3 мягкого накачиваемого матраца 4.
Как показано на фиг.1, при сложенном положении элементов 1.1-1.n матрац 4 находится в спущенном состоянии и сложен таким образом, что элементы 1.1-1.n находятся попарно по обе стороны одной линии складки 5.1, 5.2, …, 5.n-1 матраца 4. Каждая из этих линий складок или просто складка 5.1-5.n-1 проходят между двумя следующими друг за другом элементами 1.1-1.n и направлены поперечно ряду 2 (как показано на фиг.4).
В способе укладки, показанном на фиг.1, при спущенном состоянии матраца и при сложенном положении элементов 1.1-1.n матрац 4 поочередно:
– расположен между двумя смежными элементами 1.1 и 1.2; 1.3 и 1.4, …, и т.д.; и
– охватывает два смежных элемента 1.2 и 1.3; …; 1.n-1 и 1.n.
Этот матрац 4 предпочтительно накачивают при помощи источника газа (не показан на чертеже) через патрубок 6 накачивания. Таким образом, когда указанные элементы 1.1-1.n, находящиеся в сложенном положении, должны быть развернуты и стопора для удержания такого положения удаляются, в патрубок 6 подается газ для накачивания, что позволяет накачать матрац 4. Увеличение объема последнего заставляет его складки распрямляться, и элементы отходят друг от друга путем поворота вокруг осей, по меньшей мере примерно совпадающих с указанными линиями складок 5.1-5.n-1, как схематически показано на фиг.2 стрелками 7. Продолжая накачивание, можно полностью развернуть матрац 4 и элементы 1.1-1.n, чтобы получить развернутое положение, показанное на фиг.3 и 4.
Таким образом, очевидно, что, благодаря настоящему изобретению, можно полностью контролировать момент начала развертывания и процесс развертывания, а также полностью отказаться от механической шарнирной системы.
Когда развертывание полностью завершено, матрацу 4 можно придать жесткость в этом развернутом положении, например, при помощи отверждающейся смолы. Этой смолой можно предварительно пропитывать наружные стороны матраца, и она может быть смолой, полимеризующейся ультрафиолетовыми лучами космического пространства. Как вариант, отверждающейся смолой можно предварительно пропитывать внутреннюю стенку матраца 4, и она может реагировать с реагентом полимеризации, подаваемым вместе с газом накачивания.
На фиг.5 показана конструкция II с множеством элементов 1.11-1.pn в развернутом положении. Эта конструкция II содержит р рядов, каждый из которых аналогичен ряду 2 на фиг.4, расположенных таким образом, что элементы дополнительно образуют столбцы. Понятно, что в этом случае каждая из линий складок 5.1, 5.2, …, 5.n-1 проходит между двумя смежными столбцами элементов. Так, при спущенном состоянии и при сложенном положении матраца 4 столбцы уложены друг на друга вокруг линий складок 5.1, 5.2, …, 5.n-1, как показано на фиг.1 для элементов 1.1-1.n.
Кроме межстолбцовых линий складок 5.1-5.n-1, конструкция II может содержать межрядные линии складок 8.1-8.р-1 для того, чтобы укладывать друг на друга (как показано на фиг.1) указанные столбцы элементов, уже уложенные друг на друга вокруг линий складок 5.1-5.n-1.
Формула изобретения
1. Комплекс (I, II) из по меньшей мере двух элементов (1.1-1.n, 1.11-1.pn), предназначенный для установки на борту космического аппарата, при этом элементы занимают относительно друг друга сложенное или развернутое положение, отличающийся тем, что элементы (1.1-1.n, 1.11-1.pn) жестко соединены с одной и той же стороной (3) мягкого накачиваемого матраца (4), причем в сложенном положении элементов матрац (4) находится в спущенном состоянии и сложен таким образом, что элементы попарно находятся по обе стороны складки (5.1-5.n-1) матраца.
2. Комплекс по п.1, отличающийся тем, что матрац (4) выполнен с возможностью его накачивания путем расширения в космическом пространстве газа, содержащегося в матраце (4) в сложенном состоянии на Земле.
3. Комплекс по п.1, отличающийся тем, что матрац (4) выполнен с возможностью его накачивания путем нагнетания газа, например, через патрубок (6).
4. Комплекс по любому из пп.1-3, отличающийся тем, что содержит средство придания жесткости матрацу при развернутом положении элементов.
5. Комплекс по п.4, отличающийся тем, что средство придания жесткости содержит отверждающуюся смолу.
6. Комплекс по п.1, отличающийся тем, что в спущенном состоянии матраца (4) и в сложенном положении элементов (1.1-1.n) сложенный матрац (4) расположен между двумя смежными элементами.
7. Комплекс по п.1, отличающийся тем, что в спущенном состоянии матраца и в сложенном положении элементов матрац охватывает два смежных элемента.
8. Комплекс по любому из пп.6 и 7, отличающийся тем, что содержит множество элементов, образующих по меньшей мере один ряд, причем в спущенном состоянии матраца и в сложенном положении элементов матрац сложен вокруг линий складок, каждая из которых проходит между двумя следующими друг за другом элементами ряда, и эти линии складок направлены поперечно ряду таким образом, чтобы матрац поочередно располагался между двумя следующими друг за другом элементами и охватывал два следующих друг за другом элемента.
9. Комплекс по п.8, отличающийся тем, что множество элементов образует структуру рядов и столбцов, причем в спущенном состоянии матраца и в сложенном положении элементов матрац выполнен с возможностью складывания вокруг линий складок, каждая из которых проходит между двумя столбцами элементов таким образом, чтобы сложенный матрац поочередно располагался между двумя следующими друг за другом столбцами элементов и охватывал два следующих друг за другом столбца элементов.
10. Комплекс по п.8, отличающийся тем, что множество элементов образует структуру рядов и столбцов, причем в спущенном состоянии матраца и в сложенном положении элементов матрац складывается вокруг линий складок, каждая из которых проходит между двумя рядами элементов таким образом, чтобы сложенный матрац находился между двумя следующими друг за другом рядами элементов и охватывал два следующих друг за другом ряда элементов.
РИСУНКИ
|
|