|
(21), (22) Заявка: 2003132858/11, 12.11.2003
(24) Дата начала отсчета срока действия патента:
12.11.2003
(43) Дата публикации заявки: 27.04.2005
(45) Опубликовано: 10.03.2006
(15) Информация о коррекции:
Версия коррекции № 1 (
Изобретение относится к средствам кондиционирования воздуха в герметизированной кабине экипажа самолета одновременно с термостатированием тепловыделяющего оборудования в негерметичных отсеках.
Обрабатывают воздух заторможенного наружного потока, статическое давление которого повышено компрессором газотурбинного, в частности, турбореактивного маршевого двигателя (WO 96/20109, WO 98/23484, RU 2170192, WO 99/41146, GB 2340890, WO 99/37313, ЕР 1190946).
Обработка предусматривает регулирование давления, температуры, влажности и расхода воздуха в соответствии с режимом полета и тепловой нагрузкой. Кондиционируемый воздух охлаждают путем передачи тепла в атмосферу с помощью промежуточного хладагента, для чего используют наружный воздух набегающего потока и жидкое топливо, предназначенное для питания маршевого двигателя. Для охлаждения кондиционированного воздуха используют также водяной конденсат и адиабатическое расширение воздуха после повышения его статического давления и предварительного охлаждения. Адиабатическое расширение осуществляют посредством турбохолодильника (RU №2170192 – прототип) или турбины, соединенной с компрессором (WO 96/20109, 99/41146, ЕР 1190946). Привод агрегатов может быть осуществлен совместно турбиной и маршевым двигателем (GB №2340890). Возможно термостатирование оборудования одновременно с кондиционированием воздуха в кабине (GB 2340890, WO 99/37313).
Изобретение решает задачу кондиционирования воздуха в герметизированной кабине экипажа одновременно с термостатированием тепловыделяющего оборудования в негерметичном отсеке при всех режимах эксплуатации.
Согласно изобретению, турбина для охлаждения обрабатываемого воздуха вследствие расширения, близкого адиабатическому, входит в состав турбокомпрессорного агрегата, включающего в себя также центробежный компрессор для завершающего повышения его давления. В промежуточном воздуховоде, сообщающем выход компрессора турбокомпрессорного агрегата с входом его турбины, установлен топливовоздушный или воздухо-воздушный теплообменный аппарат промежуточного охлаждения обрабатываемого воздуха. В распределительном воздуховоде, сообщающем выход турбины турбокомпрессорного агрегата с магистралью подачи холодного воздуха в негерметичный отсек с термостатируемым оборудованием и через обратный клапан с магистралью подачи кондиционированного воздуха в герметизированную кабину экипажа, установлен отделитель конденсата. В кабине экипажа установлен клапан сброса отработанного воздуха. В магистрали подачи холодного воздуха в негерметичный отсек с термостатируемым оборудованием установлена регулирующая заслонка. Регулирующая заслонка установлена также в воздуховоде, сообщающем участок распределительного воздуховода между выходом турбины турбокомпрессорного агрегата и отделителем конденсата с источником не подвергнутого охлаждению путем расширения – горячего воздуха. Еще одна регулирующая заслонка установлена в воздуховоде, сообщающем магистраль подачи кондиционированного воздуха в кабину экипажа с тем же источником горячего воздуха.
При обработке воздуха на самолете термостатируют тепловыделяющее оборудование в негерметичном отсеке и вентилируют герметизированную кабину экипажа. При этом оптимизируют расход кондиционированного воздуха, давление и температуру воздуха в кабине. Обрабатываемый воздух отбирают из наружного потока и повышают его давление за счет энергии газотурбинного двигателя и последующего расширения. Хотя бы часть обрабатываемого воздуха с повышенным давлением охлаждают наружным воздухом или топливом газотурбинного двигателя. Часть обрабатываемого воздуха после завершающего повышения его давления и охлаждения наружным воздухом или топливом газотурбинного двигателя подвергают расширению, близкому адиабатическому, до давления, превышающего давление воздуха в кабине экипажа.
Температуру холодного, вследствие расширения, воздуха поддерживают допустимой для термостатирования тепловыделяющего оборудования. При повышенной влажности атмосферного воздуха и полете на малой высоте в жарких условиях холодный, вследствие расширения, воздух обезвоживают, поддерживая его температуру достаточной для отделения конденсата перед подачей в негерметичный отсек и кабину экипажа. Для поддержания требуемой температуры холодного воздуха к нему подмешивают не подвергнутый охлаждению путем расширения – горячий воздух.
При повышенной влажности атмосферного воздуха и полете на малой высоте в жарких условиях обрабатываемый воздух после завершающего повышения давления охлаждают также за счет испарения конденсата, выделившегося вследствие охлаждения обрабатываемого воздуха.
При всех режимах вентиляции кабины, кроме предельных режимов ее нагрева и охлаждения, смешивают холодный и горячий воздух. Смешивают не подвергнутый охлаждению путем расширения – горячий воздух, предназначенный для вентиляции кабины, и от 0% до 30% расхода воздуха, холодного вследствие расширения. Расход кондиционированного воздуха в кабину экипажа оптимизируют изменением, соответственно от 100% до 70%, расхода холодного воздуха, предназначенного для термостатирования оборудования в негерметичном отсеке.
В магистрали подготовки обрабатываемого воздуха, сообщающей выход ступени низкого или высокого давления компрессора маршевого газотурбинного двигателя с входом компрессора турбокомпрессорного агрегата, установлен топливовоздушный или воздухо-воздушный теплообменный аппарат, а в перепускном воздуховоде, сообщающем вход и выход теплообменного аппарата предварительного или промежуточного охлаждения обрабатываемого воздуха, – регулирующая заслонка. Для предварительного повышения давления обрабатываемого воздуха используют компрессор газотурбинного двигателя вспомогательной силовой установки или маршевого газотурбинного двигателя либо его турбостартера, а завершающее повышение давления обрабатываемого воздуха осуществляют за счет энергии его последующего расширения. Перед завершающим повышением давления обрабатываемый воздух охлаждают наружным воздухом или топливом маршевого газотурбинного двигателя. После завершающего повышения давления обрабатываемый воздух охлаждают наружным воздухом или топливом маршевого газотурбинного двигателя. Источником не подвергнутого охлаждению путем расширения – горячего воздуха является магистраль подготовки обрабатываемого воздуха или воздуховод между выходом центробежного компрессора турбокомпрессорного агрегата и входом его турбины.
В воздуховоде между теплообменным аппаратом промежуточного охлаждения обрабатываемого воздуха и турбиной турбокомпрессорного агрегата может быть установлен воздушно-испарительный теплообменный аппарат. Этот аппарат подключен входным участком продувочного тракта к воздуховоду перед отделителем конденсата и его влагосборнику. В выходном участке продувочного тракта воздушно-испарительного теплообменного аппарата установлена запорная заслонка. При наличии достаточного количества влаги в наружном воздухе обрабатываемый воздух после завершающего повышения давления охлаждают также за счет испарения конденсата.
На валу турбокомпрессорного агрегата может быть смонтирована дополнительная приводная турбина. Приводная турбина сообщена через регулирующую заслонку с компрессором маршевого газотурбинного двигателя, а через запорную заслонку с компрессором его турбостартера – автономного газотурбинного двигателя. Завершающее повышение воздуха осуществляют также за счет энергии расширения приводного воздуха, для сжатия которого используют компрессор маршевого газотурбинного двигателя или его турбостартера.
В магистраль подготовки обрабатываемого воздуха перед теплообменным аппаратом его предварительного охлаждения может быть включен промежуточный центробежный компрессор. Этот компрессор механически соединен с маршевым газотурбинным двигателем посредством вынесенного привода агрегатов систем самолета. Между выходом компрессора маршевого газотурбинного двигателя и промежуточным центробежным компрессором установлен воздухо-воздушный или топливовоздушный теплообменный аппарат начального охлаждения обрабатываемого воздуха. После предварительного повышения давления обрабатываемого воздуха осуществляют его начальное охлаждение наружным воздухом или топливом маршевого газотурбинного двигателя и промежуточное повышение давления за счет энергии маршевого газотурбинного двигателя.
Магистраль подготовки обрабатываемого воздуха перед промежуточным центробежным компрессором или компрессором турбокомпрессорного агрегата может быть сообщена через соответствующие обратные клапаны в соединительных с входным каналом маршевого газотурбинного двигателя, с приемником скоростного напора наружного воздуха и с приемником наружного воздуха статического давления.
Продувочный тракт воздухо-воздушного теплообменного аппарата может быть сообщен через обратные клапаны с входным каналом маршевого газотурбинного двигателя и с приемником скоростного напора потока наружного воздуха. При охлаждении обрабатываемого воздуха в процессе полета наружный охлаждающий воздух подают за счет скоростного напора встречного потока.
В выходной или входной участок продувочного тракта воздухо-воздушного теплообменного аппарата может быть включен вентилятор, механически соединенный с валом турбокомпрессорного агрегата или с маршевым газотурбинным двигателем посредством вынесенного привода агрегатов систем самолета. При недостаточности скоростного напора встречного потока для охлаждения обрабатываемого воздуха давление наружного охлаждающего воздуха повышают за счет расширения отрабатываемого воздуха или за счет энергии газотурбинного двигателя.
Кабина экипажа может быть сообщена с негерметичным отсеком с термостатируемым оборудованием через клапан сброса отработанного воздуха. При термостатировании оборудования в негерметичном отсеке холодный, вследствие расширения, воздух смешивают с отработанным воздухом, сбрасываемым из кабины экипажа в процессе ее вентиляции.
Магистраль подачи холодного воздуха в негерметичный отсек с термостатируемым оборудованием может быть сообщена через регулирующую заслонку в соединительном воздуховоде с приемником скоростного напора потока наружного воздуха. В негерметичный отсек с термостатируемым оборудованием при необходимости подают наружный воздух из встречного потока.
Повышение давление свежего заборного воздуха является предпосылкой для получения достаточно холодного воздуха. Начальное повышение давления осуществляется вследствие торможения набегающего потока, относительная скорость которого приблизительно равна скорости самолета. Начальное и предварительное охлаждение обрабатываемого воздуха промежуточным хладагентом – забортным воздухом или топливом с передачей тепла в атмосферу происходит при минимальных затратах энергии, поскольку осуществляется за счет скоростного напора охлаждающего воздуха и полезного нагрева топлива. Энергия, выделяющаяся при расширении предварительно охлажденного сжатого воздуха, расходуется на его дополнительное сжатие и последующее понижение температуры при расширении. Для термостатирования тепловыделяющего оборудования направляется весь холодный воздух, кроме того, который необходим для поддержания оптимальной температуры воздуха в кабине экипажа и оптимального расхода кондиционированного воздуха.
В дальнейшем изобретение поясняется конкретными примерами его выполнения со ссылками на прилагаемые чертежи, на которых изображены:
Фигура 1 – схема первой модификации патентуемой системы.
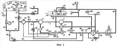
Система обработки воздуха на самолете, выполненная на фиг.1, содержит турбокомпрессорный агрегат 1. Турбокомпрессорный агрегат включает в себя центробежный компрессор 5 для завершающего повышения давления обрабатываемого воздуха и турбину 9 для его охлаждения вследствие расширения. Система содержит топливовоздушный теплообменный аппарат 13 промежуточного охлаждения обрабатываемого воздуха. Система содержит также воздухо-воздушный теплообменный аппарат 17 промежуточного охлаждения обрабатываемого воздуха. Эти теплообменные аппараты установлены в промежуточном воздуховоде 21.
Фигура 2 – схема второй модификации патентуемой системы.
Система обработки воздуха на самолете, выполненная на фиг.2, содержит турбокомпрессорный агрегат 2. Турбокомпрессорный агрегат включает в себя центробежный компрессор 6 для завершающего повышения давления обрабатываемого воздуха и турбину 10 для его охлаждения вследствие расширения.
Система содержит топливовоздушный теплообменный аппарат 14 промежуточного охлаждения обрабатываемого воздуха. Система содержит также воздухо-воздушный теплообменный аппарат 18 промежуточного охлаждения. Эти теплообменные аппараты установлены в промежуточном воздуховоде 22
Фигура 3 – схема третьей модификации патентуемой системы.
Система обработки воздуха на самолете, выполненная на фиг.3, содержит турбокомпрессорный агрегат 3. Турбокомпрессорный агрегат включает в себя центробежный компрессор 7 для завершающего повышения давления обрабатываемого воздуха и турбину 11 для его охлаждения вследствие расширения. Система содержит топливовоздушный теплообменный аппарат 15 промежуточного охлаждения обрабатываемого воздуха. Система содержит также воздухо-воздушный теплообменный аппарат 19 промежуточного охлаждения обрабатываемого воздуха. Эти теплообменные аппараты установлены в промежуточном воздуховоде 23.
Система обработки воздуха на самолете, выполненная на фиг.4, содержит турбокомпрессорный агрегат 4. Турбокомпрессорный агрегат включает в себя центробежный компрессор 8 для завершающего повышения давления обрабатываемого воздуха и турбину 12 для его охлаждения вследствие расширения.
Система содержит топливно-воздушный теплообменный аппарат 16 промежуточного охлаждения обрабатываемого воздуха. Система содержит также воздухо-воздушный теплообменный аппарат 20 промежуточного охлаждения обрабатываемого воздуха. Эти теплообменные аппараты установлены в промежуточном воздуховоде 24.
В промежуточном воздуховоде 21, 22, 23, 24 между теплообменным аппаратом 13, 14, 15, 16 промежуточного охлаждения обрабатываемого воздуха и турбиной 9, 10, 11, 12 турбокомпрессорного агрегата 1, 2, 3, 4 установлен воздушно-испарительный теплообменный аппарат 62 и отделитель 63 конденсата. Продувочный тракт теплообменного аппарата 62 подключен входным участком к воздуховоду 26 перед отделителем 25, к его влагосборнику и к влагосборнику отделителя 63 конденсата. В выходном участке продувочного тракта теплообменного аппарата 62 установлена запорная заслонка 64.
Промежуточный воздуховод сообщает выход центробежного компрессора турбокомпрессорного агрегата с входом его турбины.
Отделитель 25 конденсата установлен в распределительном воздуховоде 26. Воздуховод 26 сообщает выход турбины турбокомпрессорного агрегата с магистралью 27 подачи холодного воздуха в негерметичный отсек 28 с термостатируемым оборудованием 29 и 30 и через обратный клапан 31с магистралью 32 подачи кондиционированного воздуха в герметизированную кабину 33 экипажа.
Для сброса отработанного воздуха, вентилирующего кабину экипажа, предназначен выпускной клапан 34. В магистрали 27 установлена регулирующая заслонка 35. Регулирующая заслонка 36 установлена в воздуховоде 37. Воздуховод 37 сообщает участок воздуховода 26 между выходом турбокомпрессорного агрегата и отделителем 25 конденсата с источником не подвергнутого охлаждению путем расширения горячего воздуха. Регулирующая заслонка 38 установлена в воздуховоде 39, сообщающем магистраль 32 с тем же источником горячего воздуха.
Система обработки воздуха самолета, выполненная на фиг.1, содержит магистраль 48 на участке перед теплообменным аппаратом 44 и оборудована стабилизатором 69 избыточного давления обрабатываемого воздуха. Магистраль 48 подключена также к компрессору автономного газотурбинного двигателя 70 вспомогательной силовой установки или стартера 68 (не показано). Магистраль подготовки обрабатываемого воздуха в системе сообщена соединительными воздуховодами отбора наружного воздуха с входным каналом 75 маршевого газотурбинного двигателя 55 и с приемником 76 скоростного напора потока наружного воздуха.
Система обработки воздуха самолета, выполненная на фиг.2, содержит привод 71, который механически соединен с промежуточным центробежным компрессором 72, который включен в магистраль 49 перед теплообменным аппаратом 45. В магистрали 49 между компрессорами 54 и 72 установлены воздухо-воздушный теплообменный аппарат 73 и топливовоздушный теплообменный аппарат 74 начального охлаждения обрабатываемого воздуха.
Система обработки воздуха самолета, выполненная на фиг.3, содержит компрессор 7 турбокомпрессорного агрегата 3, механически соединенного с двигателем 55 посредством его вынесенного привода 71 агрегатов систем самолета.
На валу турбокомпрессорного агрегата 4 системы обработки воздуха самолета, выполненной на фиг.4, смонтирована приводная турбина 65. Вход турбины 65 сообщен с компрессором двигателя 55 через регулирующую заслонку 66. Через запорную заслонку 67 турбина сообщена с выходом компрессора стартера – автономного газотурбинного двигателя 68.
Магистраль подготовки 49, 50, 51 обрабатываемого воздуха сообщена и с приемником 77 наружного воздуха статического давления. В воздуховодах отбора наружного воздуха установлены обратные клапаны 78, 79, 80. Продувочный тракт каждого из воздухо-воздушных теплообменных аппаратов системы сообщен воздуховодами отбора наружного воздуха с входным каналом 75 и с приемником 76 через те же обратные клапаны.
В продувочный тракт воздухо-воздушного теплообменного аппарата предварительного (фигура 2) или промежуточного (фигуры 3 и 4) охлаждения обрабатываемого воздуха включен вентилятор 81. Его вал соединен с валом турбокомпрессорного агрегата. В модификации системы, подобной представленной на фигуре 1, с отбором воздуха от компрессора турбостартера (не показано) в продувочный тракт воздухо-воздушного теплообменного аппарата предварительного или промежуточного охлаждения обрабатываемого воздуха также может быть включен вентилятор (не показано). Вал такого вентилятора также был бы соединен с валом турбокомпрессорного агрегата. В модификации системы, подобной представленной на фигуре 2, вал вентилятора может быть соединен (не показано) с валом компрессора 72.
Вентилятор 81 может быть включен с помощью регулирующей заслонки в воздуховод, подключенный (фигура 4) к воздуховоду 26. Это может быть целесообразно при работе на стоянке в условиях высокой температуры наружного воздуха.
Кабина 33 экипажа сообщена через выпускной клапан 34 с негерметичным отсеком 28. С магистралью 27 через регулирующую заслонку 84 в соединительном воздуховоде сообщен приемник 85 скоростного напора потока наружного воздуха.
Запорная заслонка 86 (в модификациях системы, представленных на фигурах 2, 3, и 4), предназначена для перекрытия магистрали подготовки обрабатываемого воздуха. Заслонка 86 закрыта при отборе обрабатываемого воздуха через один из приемников наружного воздуха. В этом случае используется также запорная заслонка для перекрытия продувочного тракта воздухо-воздушного теплообменного аппарата 73, 46 или 47. Переключатель 87 предназначен для соединения магистрали подготовки обрабатываемого воздуха с выходом одной из ступеней компрессора маршевого газотурбинного двигателя.
В магистрали подготовки обрабатываемого воздуха или в промежуточном воздуховоде за местом подключения воздуховода 39 установлен ограничитель 88 (фигуры 1 и 2) или 89 (фигуры 3 и 4) расхода. В самом же воздуховоде 39 перед местом соединения его с магистралью 32 установлен ограничитель 90 расхода.
Датчик 91 контролирует температуру воздуха в магистрали 32. В магистрали 32 установлено сужающее устройство датчика 92 динамического перепада давлений в потоке кондиционированного воздуха. В кабине экипажа установлены задатчик 93 оптимальной температуры воздуха, датчик 94 реальной температуры воздуха и датчик 95 реального давления воздуха в ней. Датчик 96 контролирует температуру воздуха в воздуховоде 26 перед отделителем 25 конденсата. Датчик 97 температуры воздуха установлен в отсеке 28. Датчик 98 контролирует температуру в магистрали подготовки обрабатываемого воздуха перед ограничителем 88. Датчик 99 контролирует температуру в промежуточном воздуховоде перед ограничителем 89. Датчик 100 контролирует давление в магистрали подготовки обрабатываемого воздуха перед ограничителем 88. Датчик 101 контролирует давление в промежуточном воздуховоде перед ограничителем 89.
В модификациях системы, представленных на фигурах 2 и 4, устройством, определяющим ограничение расхода обрабатываемого воздуха через турбину турбокомпрессорного агрегата, является запорная заслонка 103. Регулирующая заслонка (не показана), определяющая расход воздуха, вентилирующего кабину 33, является частью регулятора 104 питания камеры (не показана) переменного объема клапана 34.
В модификации системы, представленной на фигуре 1, в воздуховоде, сообщающем магистраль 48 с соплом эжектора 105, установлена запорная заслонка 106. Эжектор 105 установлен в продувочном тракте воздухо-воздушных теплообменных аппаратов 17 и 44.
В модификациях системы, представленных на фигурах 2, 3 и 4, в магистрали подготовки воздуха перед промежуточным компрессором или компрессором турбокомпрессорного агрегата установлена регулирующая заслонка 107.
В продувочном тракте воздухо-воздушного теплообменного аппарата перед вентилятором установлена запорная заслонка 108. При управлении используется также датчик 109 (фигура 6) атмосферного давления за бортом самолета.
В процессе эксплуатации самолета кабину 33 экипажа вентилируют кондиционированным воздухом. При этом оптимизируют расход этого воздуха в кабину, давление и температуру воздуха в ней, а также термостатируют оборудование 29 и 30 в отсеке 28. Обрабатываемый воздух отбирают из наружного потока через входной канал 75 двигателя 55 или через входной канал двигателя 70 вспомогательной силовой установки либо через приемник 76 или 77.
В компрессоре 5 (фигура 1) или 6 (фигура 2) давление обрабатываемого воздуха повышают за счет энергии его последующего расширения турбиной 9 (фигура 1) или 10 (фигура 2). В компрессоре вспомогательной силовой установки (фигура 1), компрессорах 54 и 72 (фигура 2) давление обрабатываемого воздуха повышают за счет энергии газотурбинного двигателя. В компрессоре 7 (фигура 3) или в компрессоре 8 (фигура 4) давление обрабатываемого воздуха повышают за счет энергии его последующего расширения турбиной 11 (фигура 3) или 12 (фигура 4) и за счет энергии газотурбинного двигателя. В компрессоре 7 (фигура 3) давление обрабатываемого воздуха повышают за счет энергии двигателя 55 посредством привода 71, а в компрессоре 8 (фигура 4) посредством турбины 65. Для сжатия приводного воздуха турбины 65 используют компрессор двигателя 55 или его турбостартера 68 (фигура 4).
Обрабатываемый воздух с повышенным давлением охлаждают наружным воздухом и топливом газотурбинного двигателя. При охлаждении обрабатываемого воздуха наружным, охлаждающий воздух подают за счет скоростного напора встречного потока из канала 75 или приемника 76. При недостаточности скоростного напора используют эжектор 105 (фигура 1) либо вентилятор 81.
При обработке воздуха в модификации системы, представленной на фигуре 2, осуществляют начальное охлаждение обрабатываемого воздуха в теплообменных аппаратах 73 и 74 и промежуточное повышение давления компрессором 72 с использованием привода 71. За счет испарения конденсата из его отделителей 25 и 63 обрабатываемый воздух после завершающего повышения давления дополнительно охлаждают в теплообменном аппарате 62.
Часть обрабатываемого воздуха после завершающего повышения его давления компрессором турбокомпрессорного агрегата и охлаждения подвергают расширению, близкому адиабатическому, турбиной турбокомпрессорного агрегата до давления, превышающего давление воздуха в кабине 33 экипажа.
При всех режимах эксплуатации самолета температуру воздуха в магистрали 27 поддерживают допустимой для термостатирования оборудования 29. При повышенной влажности атмосферного воздуха и полете на малой высоте в жарких условиях температуру воздуха перед отделителем 25 поддерживают положительной для отделения конденсата. Для этого к воздуху, подвергнутому расширению турбиной турбокомпрессорного агрегата, подмешивают горячий воздух по воздуховоду 37.
Расход кондиционированного воздуха в магистрали 32 оптимизируют. Для этого заслонкой 35 расход воздуха в магистрали 32 оптимизируют. Для этого заслонкой 35 расход воздуха в магистрали 27 изменяют в интервале от 100% до 70%. Температуру воздуха в кабине экипажа оптимизируют смешиванием горячего воздуха из воздуховода 39 и до 30% расхода воздуха из воздуховода 26.
При термостатировании оборудования 29 и 30 в отсеке 28 сухой холодный воздух из магистрали 27 смешивают с отработанным воздухом, сбрасываемым из кабины 33 экипажа в процессе ее вентиляции. В отсек 28 через приемник 85 при необходимости подают наружный воздух встречного потока.
Управление системой осуществляется с использованием средства (не показано) цифрового кодирования сигналов, цифрового электронно-вычислительного устройства (ЭВМ) 110 и средства (не показано) коммутации управляющих силовых сигналов. ЭВМ 110 электрически связана со средствами цифрового кодирования сигналов и коммутации управляющих силовых сигналов.
К входам средства цифрового кодирования сигналов подключены: задатчик 93, датчики 91, 92, 94,95, 96, 97, 98 или 99,100 или 101,109.
К средствам коммутации управляющих силовых сигналов подключены электроприводы регулирующих заслонок 35, 36, 38, 60, 66 (в модификации системы, представленной на фигуре 4), 84, 107 (в модификациях системы, представленных на фигурах 2, 3 и 4) и регулирующей заслонки в составе регулятора 104. К средству коммутации управляющих силовых сигналов подключены также электроприводы запорных заслонок. Это запорные заслонки 64, 67 (в модификации фигуры 4), 86 (в модификации фигур 2, 3 и 4), 103 (в модификациях фигур 2 и 4), 106 (в модификации фигуры 1) и 108 (в модификациях фигур 2, 3 и 4).
В соответствии с алгоритмом оптимизации расхода воздуха в кабину 33 и температуры воздуха в ней программное обеспечение устройства 110 формирует в нем не аппаратные блоки со 111 по 166 (фигура 5):
блок 111 рассогласования по разности заданной и реальной температур воздуха в кабине 33,
блок 112 «сигнал блока 111 больше заданной зоны нечувствительности средств регулирования»,
блок 113 обнуления сигнала,
блок 114 усиления сигнала блока 111,
блок 115 интегрально накопленных сигналов блока 111,
блок 116 задания температуры кондиционированного воздуха перед кабиной экипажа суммированием сигналов блоков 114 и 115,
блок 117 «заданная температура кондиционированного воздуха больше максимальной»,
блок 118 ограничения заданной температуры кондиционированного воздуха максимальным значением,
блок 119 «заданная температура кондиционированного воздуха больше промежуточной в интервале значений, ограниченном реальной и максимальной температурами»,
блок 120 рассогласования по разности заданной и реальной температур кондиционированного воздуха,
блок 121 рассогласования, определенного, как отношение, в котором знаменателем является разность максимальной и промежуточной температур, а числителем произведение разности заданной и реальной температур на разность максимальной и реальной температур,
блок 122 «сигнал блока 120 или 121 больше заданной зоны нечувствительности средств регулирования»,
блок 123 усиления сигнала блока 120 или 121,
блок 124 составляющей управляющего сигнала по скорости изменения температуры кондиционированного воздуха,
блок 125 составляющий управляющего сигнала по скорости изменения температуры горячего воздуха, предназначенного для вентиляции кабины экипажа,
блок 126 сигнала управления, как суммы сигналов блоков 123,124 и 125,
блок 127 положения регулирующей заслонки 38,
блок 128 «регулирующая заслонка 38 полностью открыта»,
блок 129 положения регулирующей заслонки 35,
блок 130 «регулирующая заслонка 35 полностью открыта»,
блок 131 «сигнал блока 126 положителен»,
блок 132 задания номинального расхода воздуха, вентилирующего кабину экипажа,
блок 133 реального расхода воздуха, вентилирующего кабину экипажа,
блок 134 «расход кондиционированного воздуха в кабину экипажа больше промежуточного значения, превышающего номинальный»,
блок 135 положения регулирующей заслонки 60,
блок 136 «регулирующая заслонка 60 закрыта»,
блок 137 «регулирующая заслонка 38 закрыта»,
блок 138 «регулирующая заслонка 60 полностью открыта»,
блок 139 задания промежуточного расхода воздуха, вентилирующего кабину экипажа,
блок 140 коррекции заданного расхода воздуха, вентилирующего кабину экипажа, при регулировании его заслонкой 35,
блок 141 рассогласования по разности сигнала блока 133 и сигнала одного из блоков 132, 139, 140,
блок 142 «рассогласование расхода воздуха через кабину экипажа превышает его ограничение»,
блок 143 «сигнал блока 141 больше заданной зоны нечувствительности средств регулирования»,
блок 144 усиления отношения сигнала блока 133 к сигналу одного из блоков 132, 139, 140,
блок 145 отношения производной сигнала блока 133 к сигналу одного из блоков 132, 139, 140,
блок 146 суммирования сигналов блоков 144 и 145,
блок 147 задания скорости движения заслонки 35,
блок 148 задания длительности импульса и паузы команды для коммутации силового сигнала на электропривод заслонки 35,
блок 149 задания скорости движения заслонки 38 по сигналу блока 146,
блок 150 скорости движения заслонки 38 по сигналу блока 126,
блок 151 задания длительности импульса и паузы команды для коммутации силового сигнала на электропривод заслонки 38,
блок 152 усиления сигнала блока 120 или 121,
блок 153 интегрально накопленных сигналов блока 120 или 121,
блок 154 задания температуры горячего воздуха для вентиляции кабины экипажа как суммы сигналов блоков 152 и 153,
блок 155 «сигнал блока 154 больше максимально допустимого значения»,
блок 156 ограничения сигнала блока 154 максимально допустимым значением,
блок 157 ограничения максимального значения сигнала блока 154,
блок 158 «заданная температура горячего воздуха для вентиляции кабины экипажа больше промежуточной в интервале значений, ограниченном реальной и максимальной температурами»,
блок 159 рассогласования по разности заданной и реальной температур горячего воздуха для вентиляции кабины экипажа,
блок 160 рассогласования, определенного как отношение, в котором знаменателем является разность максимальной и промежуточной температур, а числителем произведение разности заданной и реальной температур на разность максимальной и реальной температур,
блок 161 «сигнал блока 159 или 160 больше заданной зоны нечувствительности средств регулирования»,
блок 162 усиления сигнала блока 159 или 160,
блок 163 составляющей управляющего сигнала по скорости изменения температуры горячего воздуха для вентиляции кабины,
блок 164 суммирования сигналов блоков 162 и 163,
блок 165 задания скорости движения заслонки 60,
блок 166 задания длительности импульса и паузы команды для коммутации силового сигнала на электропривод заслонки 60.
В соответствии с алгоритмом регулирования температуры холодного воздуха после расширения программное обеспечение цифрового электронно-вычислительного устройства 110 формируют в нем, кроме блока 113, также не аппаратные блоки со 170 по 180 (фигура б):
блок 170 «высота полета больше 8 км»,
блок 171 задания отрицательной температуры холодного воздуха перед подачей его в отсек 28,
блок 172 задания положительной температуры холодного воздуха перед обезвоживанием,
блок 173 рассогласования по разности заданной и реальной температур холодного воздуха,
блок 174 «сигнал блока 173 больше заданной зоны нечувствительности средств регулирования»,
блок 175 усиления сигнала блока 173,
блок 176 составляющей управляющего сигнала по скорости изменения температуры холодного воздуха,
блок 177 составляющей управляющего сигнала по скорости изменения температуры горячего воздуха для вентиляции кабины,
блок 178 суммирования сигналов блоков 175,176 и 177,
блок 179 задания скорости движения заслонки 36,
блок 180 задания длительности импульса и паузы команды для коммутации силового сигнала на электропривод заслонки 36.
Алгоритм регулирования холодопроизводительности системы реализуют не аппаратные блоки цифрового электронно-вычислительного устройства 110 со 190 по 220 (фигура 7):
блок 190 заданной холодопроизводительности системы,
блок 191 реальной холодопроизводительности системы,
блок 192 рассогласования по разности реальной и заданной холодопроизводительности системы,
блок 193 «сигнал блока 192 больше заданной нечувствительности средств регулирования»,
блок 194 усиления относительного рассогласования реальной и заданной холодопроизводительности системы,
блок 195 составляющая управляющего сигнала по скорости изменения реальной холодопроизводительности,
блок 196 суммирования сигналов блоков 194 и 195,
блок 197 « сигнал блока 196 не положителен»,
блок 198 задания давления воздуха в воздуховоде 24,
блок 199 рассогласования по разности заданного и реального давлений воздуха в воздуховоде 24,
блок 200 «сигнал блока 199 больше заданной зоны нечувствительности средств регулирования»,
блок 201 усиления относительного рассогласования реального и заданного давлений воздуха в воздуховоде 24,
блок 202 составляющая управляющего сигнала по скорости изменения реального давления воздуха в воздуховоде 24,
блок 203 суммирование сигналов блоков 201 и 202,
блок 204 «сигнал блока 203 положителен»,
блок 205 положения регулирующей заслонки 107,
блок 206 « регулирующая заслонка 107 полностью открыта»,
блок 207 « сигнал блока 196 положителен»,
блок 208 положения регулирующей заслонки 66,
блок 209 «регулирующая заслонка 66 закрыта»,
блок 210 « управляющий сигнал открытия заслонки 86»,
блок 211 «сигнал блока 203 не положителен»,
блок 212 задания скорости движения заслонки 107 по сигналу блока 196,
блок 213 задания скорости движения заслонки 107 по сигналу блока 203,
блок 214 задания длительности импульса и паузы команды для коммутации силового сигнала на электропривод заслонки 107,
блок 215 управляющего сигнала на закрытие заслонки 86,
блок 216 «есть управляющий сигнал на открытие заслонки 86»,
блок 217 управляющего сигнала на открытие заслонки 86,
блок 218 задания скорости движения заслонки 66 по сигналу блока 196,
блок 219 задания скорости движения заслонки 66 по сигналу блока 203,
блок 220 задания длительности импульса и паузы команды для коммутации силового сигнала на электропривод заслонки 66.
Давление воздуха в кабине 33 оптимизируют в соответствие с алгоритмом, реализуемым ЭВМ 110, в зависимости от величины сигналов датчиков 95 и 109. ЭВМ 110 формирует команду, а средство коммутации управляющих силовых сигналов – соответствующий силовой управляющий сигнал на электропривод регулирующей заслонки в регуляторе 104.
Расход воздуха, вентилирующего кабину 33, оптимизируют в зависимости от величины сигналов задатчика 93 и датчиков 91, 92 и 95 в соответствии с алгоритмом фигуры 5, реализуемым ЭВМ 110. ЭВМ 110 формирует команду, а средство коммутации управляющих силовых сигналов – соответствующий силовой управляющий сигнал на электропривод регулирующей заслонки 35.
Температуру воздуха в кабине 33 оптимизируют в зависимости от величины сигналов задатчика 93 и датчиков 91, 92, 94, 95 и 98 или 99 в соответствии с алгоритмом фигуры 5, реализуемым ЭВМ 110. ЭВМ 110 формирует команду, а средство коммутации управляющих силовых сигналов – соответствующий силовой управляющий сигнал на электроприводы регулирующих заслонок 38 и 60.
Температуру холодного воздуха после расширения поддерживают необходимой для термостатирования оборудования. В случаях повышенной влажности атмосферного воздуха и полете на малой высоте в жарких условиях температуру холодного воздуха поддерживают также достаточной для отделения конденсата. Для поддержания нужной температуры ЭВМ 110 формирует команду, а средство коммутации управляющих силовых сигналов – соответствующий силовой управляющий сигнал на электропривод регулирующей заслонки 36. Формируемая команда зависит от величины сигналов датчиков 99, 109 и 98 или 99 в соответствии с алгоритмом фигуры 6, реализуемым ЭВМ 110.
При отборе наружного воздуха для обработки контролируют (не показано) давление торможения встречного потока воздуха. Запорная заслонка 86 нормально закрыта, препятствуя отбору воздуха от компрессора 54. При достаточности статического давления (на стоянке) или давления торможения наружного воздуха для последующей обработки обрабатываемый воздух отбирают от приемника 76 или 77 в зависимости от статического давления отобранного воздуха. При недостаточности этого давления для последующей обработки формируют управляющий силовой сигнал на электропривод запорной заслонки 86. Команда, формируемая ЭВМ 110, зависит от величины сигналов датчиков 91, 96, 98 или 99 и 100 или 101 в соответствии с алгоритмом фигуры 7, реализуемым ЭВМ 110.
При отборе от приемника 75 или 76 наружного воздуха для охлаждения обрабатываемого воздуха также контролируют (не показано) давление торможения встречного потока воздуха. Запорная заслонка 106 (фигура 1) или 108 (фигуры 2, 3, и 4) нормально закрыта, препятствуя отбору воздуха из магистрали 48 или подаче его в вентилятор 81. При недостаточности давления торможения для продувки воздухо-воздушного теплообменного аппарата формируют управляющий силовой сигнал на открытие запорной заслонки 106 (фигура 1) или 108 (фигуры 2, 3 и 4).
В процессе обработки воздуха регулируют холодопроизводительность системы в зависимости от величины сигналов датчиков 91, 96, 98 или 99 и 100 или 101. В соответствии с алгоритмом фигуры 7 ЭВМ 110 формируют команду, а средство коммутации управляющих силовых сигналов – соответствующий силовой управляющий сигнал на электропривод регулирующей заслонки 107. В модификации системы, представленной на фигуре 4, в соответствии с алгоритмом фигуры 7, ЭВМ 110 формирует также команду, а средство коммутации управляющих силовых сигналов – соответствующий силовой управляющий сигнал на электропривод регулирующей заслонки 66. В модификации системы, представленной на фигуре 4, при отборе приводного воздуха от турбостартера 68 ЭВМ 110 формирует команду. А средство коммутации управляющих силовых сигналов – соответствующий силовой управляющий сигнал на электропривод заслонки 67. В зависимости от величины сигналов датчиков 98 или 99 и 100 или 101 в модификациях системы, представленных на фигурах 2,3 и 4, ЭВМ 110 формирует команду, а средство коммутации управляющих силовых сигналов – соответствующий силовой управляющий сигнал на электропривод заслонки 103.
При повышении температуры воздуха, контролируемой датчиком 97, в отсеке 28 с оборудованием 29 и 30 до предельно допустимого значения в зависимости от температуры торможения встречного потока наружного воздуха ЭВМ 110 формируют команду. А средство коммутации управляющих силовых сигналов – соответствующий силовой управляющий сигнал на соответствующее открытие регулирующей заслонки 84.
Формула изобретения
1. Способ обработки воздуха на самолёте, согласно которому вентилируют кондиционированным воздухом герметизированную кабину экипажа и термостатируют холодным воздухом тепловыделяющее оборудование в негерметичном отсеке, для чего последовательно воздух отбирают из атмосферы и обрабатывают путем предварительного повышения его давления за счет энергии газотурбинного двигателя и последующего расширения, в соответствии с режимом полета и тепловой нагрузкой хотя бы часть обрабатываемого воздуха, прошедшего предварительное повышение давления, охлаждают путем передачи тепла в атмосферу с помощью промежуточного хладагента, часть обрабатываемого воздуха, прошедшего завершающее повышение давления, охлаждают путем передачи тепла в атмосферу с помощью промежуточного хладагента и затем путем расширения, а после расширения к охлажденному воздуху подмешивают воздух, не подвергнутый охлаждению путем расширения, отличающийся тем, что для предварительного повышения давления обрабатываемого воздуха используют в соответствии с режимом полета компрессор маршевого газотурбинного двигателя или компрессор газотурбинного двигателя вспомогательной силовой установки, температуру части обрабатываемого воздуха после завершающего повышения давления и охлаждения понижают за счёт расширения, близкого адиабатическому процессу, до давления, превышающего давление воздуха в кабине экипажа, а температуру охлажденного вследствие расширения воздуха при подмешивании к нему воздуха, не подвергнутого охлаждению за счёт расширения, поддерживают на допустимом уровне с целью получения холодного воздуха для термостатирования тепловыделяющего оборудования и для кондиционирования кабины экипажа, температуру охлажденного вследствие расширения воздуха поддерживают достаточной для отделения конденсата перед подачей в отсек оборудования и в кабину экипажа, температуру кондиционированного воздуха на входе в кабину экипажа устанавливают с учетом температуры воздуха в ней, обрабатываемый воздух охлаждают дополнительно за счёт испарения конденсата, выделившегося вследствие охлаждения воздуха.
2. Способ по п. 1, отличающийся тем, что измеряют давление и температуру в кабине и температуру в отсеке оборудования, а холодный воздух при термостатировании оборудования смешивают в отсеке с отработанным воздухом, сбрасываемым из кабины в процессе её вентиляции, и поддерживают расход кондиционированного воздуха в кабину экипажа и его температуру с учетом этих параметров давления и температуры.
3. Способ по п. 1, отличающийся тем, что дополнительное охлаждение обрабатываемого воздуха за счет испарения конденсата производят после завершающего повышения давления обрабатываемого воздуха и его охлаждения путем передачи тепла в атмосферу.
4. Способ по п. 1, отличающийся тем, что обрабатываемый воздух охлаждают путем передачи тепла в атмосферу с помощью потока наружного воздуха, поступающего в соответствии с режимом полета через входной канал маршевого двигателя или через приемник скоростного напора.
5. Способ по п. 1, отличающийся тем, что в негерметичный отсек с термостатируемым оборудованием подают наружный воздух через приемник скоростного напора потока наружного воздуха.
6. Способ по п. 4, отличающийся тем, что обрабатываемый воздух дополнительно охлаждают путем передачи тепла в атмосферу с помощью топлива для маршевого двигателя.
7. Способ обработки воздуха на самолёте, согласно которому вентилируют кондиционированным воздухом герметизированную кабину экипажа и термостатируют холодным воздухом тепловыделяющее оборудование в негерметичном отсеке, для чего последовательно воздух отбирают из атмосферы и обрабатывают путем предварительного повышения его давления за счет энергии газотурбинного двигателя и последующего расширения, в соответствии с режимом полета и тепловой нагрузкой хотя бы часть обрабатываемого воздуха, прошедшего предварительное повышение давления, охлаждают путем передачи тепла в атмосферу с помощью промежуточного хладагента, часть обрабатываемого воздуха, прошедшую завершающее повышение давления, охлаждают путем передачи тепла в атмосферу с помощью промежуточного хладагента и затем путем расширения, а после расширения к охлажденному воздуху подмешивают воздух, не подвергнутый охлаждению путем расширения, отличающийся тем, что для предварительного повышения давления обрабатываемого воздуха используют в соответствии с режимом полета компрессор маршевого газотурбинного двигателя или газотурбинный двигатель его турбостартера, температуру части обрабатываемого воздуха после завершающего повышения давления и охлаждения понижают за счёт расширения, близкого адиабатическому процессу, до давления, превышающего давление воздуха в кабине экипажа, а температуру охлажденного вследствие расширения воздуха при подмешивании к нему воздуха, не подвергнутого охлаждению за счёт расширения, поддерживают на допустимом уровне с целью получения холодного воздуха для термостатирования тепловыделяющего оборудования и при необходимости для кондиционирования кабины экипажа, температуру охлажденного вследствие расширения воздуха поддерживают достаточной для отделения конденсата перед подачей в отсек оборудования и в кабину экипажа, температуру кондиционированного воздуха на входе в кабину экипажа устанавливают с учетом температуры воздуха в ней, обрабатываемый воздух охлаждают дополнительно за счёт испарения конденсата, выделившегося вследствие охлаждения воздуха.
8. Способ по п. 7 , отличающийся тем, что измеряют давление и температуру в кабине и температуру в отсеке оборудования, а холодный воздух при термостатировании оборудования смешивают в отсеке с отработанным воздухом, сбрасываемым из кабины в процессе её вентиляции, и поддерживают расход кондиционированного воздуха в кабину экипажа и его температуру с учётом этих параметров давления и температуры.
9. Способ по п. 7, отличающийся тем, что дополнительное охлаждение обрабатываемого воздуха за счёт испарения конденсата производят после завершающего повышения давления обрабатываемого воздуха и его охлаждения путем передачи тепла в атмосферу.
10. Способ по п. 7, отличающийся тем, что предварительное повышение давления обрабатываемого воздуха с помощью турбостартера маршевого двигателя осуществляют путем сжатия воздуха в центробежном компрессоре, механически соединенном с турбостартером через привод агрегатов систем самолета.
11. Способ по п. 7, отличающийся тем, что обрабатываемый воздух охлаждают путем передачи тепла в атмосферу с помощью потока наружного воздуха, поступающего в соответствии с режимом полета через входной канал маршевого двигателя или через приемник скоростного напора.
12. Способ по п. 11, отличающийся тем, что обрабатываемый воздух дополнительно охлаждают путем передачи тепла в атмосферу с помощью топлива для маршевого двигателя.
13. Способ по п. 7, отличающийся тем, что в негерметичный отсек с термостатируемым оборудованием подают наружный воздух через приемник скоростного напора потока наружного воздуха.
14. Способ обработки воздуха на самолете, согласно которому вентилируют кондиционированным воздухом герметизированную кабину экипажа и термостатируют холодным воздухом тепловыделяющее оборудование в негерметичном отсеке, для чего последовательно воздух отбирают из атмосферы и обрабатывают путем предварительного повышения его давления за счет энергии газотурбинного двигателя и последующего расширения, в соответствии с режимом полета и тепловой нагрузкой хотя бы часть обрабатываемого воздуха, прошедшего предварительное повышение давления, охлаждают путем передачи тепла в атмосферу с помощью промежуточного хладагента, часть обрабатываемого воздуха, прошедшую завершающее повышение давления, охлаждают путем передачи тепла в атмосферу с помощью промежуточного хладагента и затем путем расширения, а после расширения к охлажденному воздуху подмешивают воздух, не подвергнутый охлаждению путём расширения, отличающийся тем, что для предварительного повышения давления обрабатываемого воздуха используют компрессор маршевого газотурбинного двигателя, а завершающее повышение давления обрабатываемого воздуха осуществляют также за счёт дополнительного использования в соответствии с режимом полета энергии маршевого газотурбинного двигателя или его турбостартёра, температуру части обрабатываемого воздуха после завершающего повышения давления и охлаждения понижают за счёт расширения, близкого адиабатическому процессу, до давления, превышающего давление воздуха в кабине экипажа, а температуру охлажденного вследствие расширения воздуха при подмешивании к нему воздуха, не подвергнутого охлаждению за счёт расширения, поддерживают на допустимом уровне с целью получения холодного воздуха для термостатирования тепловыделяющего оборудования и, при необходимости, для кондиционирования кабины экипажа, при повышенной влажности атмосферного воздуха на малой высоте полёта температуру охлажденного вследствие расширения воздуха поддерживают достаточной для отделения конденсата перед подачей в отсек оборудования и при необходимости в кабину экипажа, температуру кондиционированного воздуха на входе в кабину экипажа устанавливают с учетом температуры воздуха в ней, обрабатываемый воздух охлаждают дополнительно за счет испарения конденсата, выделившегося вследствие охлаждения воздуха.
15. Способ по п. 14, отличающийся тем, что измеряют давление и температуру в кабине и температуру в отсеке оборудования, а холодный воздух при термостатировании оборудования смешивают в отсеке с отработанным воздухом, сбрасываемым из кабины в процессе её вентиляции, и поддерживают расход кондиционированного воздуха в кабину экипажа и его температуру с учетом этих параметров давления и температуры.
16. Способ по п.15, отличающийся тем, что дополнительное охлаждение обрабатываемого воздуха за счёт испарения конденсата производят после завершающего повышения давления обрабатываемого воздуха и его охлаждения путем передачи тепла в атмосферу.
17. Способ по п. 14, отличающийся тем, что дополнительное использование энергии маршевого газотурбинного двигателя или его турбостартёра для завершающего повышения давления обрабатываемого воздуха осуществляют посредством привода агрегатов систем самолета.
18. Способ по п. 14, отличающийся тем, что дополнительное использование энергии маршевого газотурбинного двигателя или его турбостартёра для завершающего повышения давления обрабатываемого воздуха осуществляют за счёт энергии расширения дополнительного расхода воздуха, для сжатия которого используют компрессор маршевого газотурбинного двигателя или его турбостартёра.
19. Способ по п.14, отличающийся тем, что обрабатываемый воздух охлаждают путем передачи тепла в атмосферу с помощью потока наружного воздуха, поступающего в соответствии с режимом полета через входной канал маршевого двигателя или через приемник скоростного напора.
20. Способ по п. 19, отличающийся тем, что обрабатываемый воздух дополнительно охлаждают путем передачи тепла в атмосферу с помощью топлива для маршевого двигателя.
21. Способ по п. 14, отличающийся тем, что в негерметичный отсек с термостатируемым оборудованием подают наружный воздух через приемник скоростного напора потока наружного воздуха.
22. Система обработки воздуха на самолёте, содержащая компрессор для повышения давления обрабатываемого воздуха и турбину для его последующего охлаждения путем расширения, теплообменный аппарат промежуточного охлаждения обрабатываемого воздуха, установленный в промежуточном воздуховоде перед турбиной, магистраль подготовки обрабатываемого воздуха, подключенную к компрессору газотурбинного двигателя, отделитель конденсата, установленный в распределительном воздуховоде, сообщающем турбину с магистралью подачи холодного вследствие расширения воздуха в негерметичный отсек с термостатируемым оборудованием и через обратный клапан с магистралью подачи кондиционированного воздуха в герметизированную кабину экипажа, регулирующую заслонку в магистрали подачи холодного воздуха в негерметичный отсек с термостатируемым оборудованием, клапан сброса отработанного воздуха из кабины экипажа, регулирующую заслонку в воздуховоде, сообщающем магистраль подачи кондиционированного воздуха в кабину экипажа с источником горячего воздуха, регулирующую заслонку в воздуховоде, сообщающем источник горячего воздуха с участком распределительного воздуховода между турбиной и отделителем конденсата, отличающаяся тем, что компрессор служит для завершающего повышения давления обрабатываемого воздуха и установлен на входе промежуточного воздуховода, турбина для расширения, близкого адиабатическому процессу, обрабатываемого воздуха и компрессор для завершающего повышения давления обрабатываемого воздуха соединены общим валом с образованием турбокомпрессорного агрегата, магистраль подготовки обрабатываемого воздуха сообщает компрессор газотурбинного двигателя с компрессором турбокомпрессорного агрегата, система снабжена теплообменным аппаратом предварительного охлаждения обрабатываемого воздуха, установленным в магистрали подготовки обрабатываемого воздуха.
23. Система по п. 22, отличающаяся тем, что содержит воздухо-воздушный с продувочным трактом и/или топливовоздушный теплообменный аппарат промежуточного охлаждения обрабатываемого воздуха, установленный в промежуточном воздуховоде перед турбиной.
24. Система по п. 22, отличающаяся тем, что содержит воздухо-воздушный с продувочным трактом и/или топливовоздушный теплообменный аппарат предварительного охлаждения обрабатываемого воздуха, установленный в магистрали подготовки обрабатываемого воздуха.
25. Система по п. 22, отличающаяся тем, что магистраль подачи кондиционированного воздуха в кабину экипажа и участок распределительного воздуховода между турбиной и отделителем конденсата сообщены с магистралью подготовки обрабатываемого воздуха или промежуточным воздуховодом между компрессором и турбиной турбокомпрессорного агрегата.
26. Система по п. 22, отличающаяся тем, что источником горячего воздуха является воздуховод между выходом компрессора турбокомпрессорного агрегата и входом его турбины или воздуховод магистрали подготовки обрабатываемого воздуха.
27. Система по п. 22, отличающаяся тем, что снабжена приводной турбиной, смонтированной на валу турбокомпрессорного агрегата, регулирующей заслонкой, через которую приводная турбина сообщена с компрессором маршевого газотурбинного двигателя, и запорной заслонкой, через которую приводная турбина сообщена с компрессором турбостартёра – автономного газотурбинного двигателя.
28. Система по п. 22, отличающаяся тем, что снабжена промежуточным компрессором, который механически соединён с турбостартером маршевого двигателя или с маршевым двигателем посредством его привода агрегатов систем самолёта и включён в магистраль подготовки обрабатываемого воздуха перед теплообменным аппаратом предварительного охлаждения, воздухо-воздушным и/или топливовоздушным теплообменным аппаратом начального охлаждения обрабатываемого воздуха, установленным в магистрали подготовки обрабатываемого воздуха между компрессором маршевого газотурбинного двигателя и промежуточным компрессором.
29. Система по п. 22, отличающаяся тем, что снабжена приемником скоростного напора наружного воздуха и наружного воздуха статического давления и соединительными воздуховодами с обратными клапанами, магистраль подготовки обрабатываемого воздуха на участке перед промежуточным компрессором или компрессором турбокомпрессорного агрегата сообщена через обратные клапаны в соединительных воздуховодах с входным каналом маршевого газотурбинного двигателя, с приёмником скоростного напора наружного воздуха и с приёмником наружного воздуха статического давления.
30. Система по п. 28, отличающаяся тем, что снабжена приемником скоростного напора наружного воздуха и наружного воздуха статического давления и соединительными воздуховодами с обратными клапанами, магистраль подготовки обрабатываемого воздуха на участке перед промежуточным компрессором или компрессором турбокомпрессорного агрегата сообщена через обратные клапаны в соединительных воздуховодах с входным каналом маршевого газотурбинного двигателя, с приемником скоростного напора наружного воздуха и с приёмником наружного воздуха статического давления.
31. Система по п. 23, отличающаяся тем, что продувочный тракт теплообменного аппарата сообщён посредством воздуховодов, снабженных обратными клапанами, с входным каналом маршевого двигателя и с приёмником скоростного напора наружного воздуха.
32. Система по п. 24, отличающаяся тем, что продувочный тракт теплообменного аппарата сообщен посредством воздуховодов, снабженных обратными клапанами, с входным каналом маршевого двигателя и с приемником скоростного напора наружного воздуха.
33. Система по п. 23, отличающаяся тем, что продувочный тракт теплообменного аппарата снабжен вентилятором, смонтированным на валу турбокомпрессорного агрегата.
34. Система по п. 24, отличающаяся тем, что продувочный тракт теплообменного аппарата снабжен вентилятором, смонтированным на валу турбокомпрессорного агрегата.
35. Система по п. 22, отличающаяся тем, что снабжена приемником скоростного напора наружного воздуха, регулирующей заслонкой и соединительным воздуховодом, причем приемник скоростного напора наружного воздуха сообщен через регулирующую заслонку в соединительном воздуховоде с магистралью подачи холодного воздуха в негерметичный отсек с термостатируемым оборудованием.
36. Система по п. 22, отличающаяся тем, что негерметичный отсек с термостатируемым оборудованием и кабина экипажа сообщены между собой через клапан сброса отработанного воздуха из кабины.
37. Система по п. 22, отличающаяся тем, что снабжена перепускным воздуховодом, сообщающим вход и выход теплообменного аппарата предварительного или промежуточного охлаждения обрабатываемого воздуха, и регулирующей заслонкой, установленной в этом воздуховоде.
38. Система по п. 22, отличающаяся тем, что снабжена воздушно-испарительным теплообменным аппаратом, который установлен в промежуточном воздуховоде между теплообменным аппаратом промежуточного охлаждения обрабатываемого воздуха и турбиной, подключен входным участком продувочного тракта к распределительному воздуховоду на его участке перед отделителем конденсата и/или к влагосборнику отделителя конденсата и снабжен запорной заслонкой в продувочном тракте.
РИСУНКИ
TH4A – Переиздание описаний изобретений к патентам Российской Федерации
Причина переиздания: Коррекция библиографических данных
Извещение опубликовано: 20.01.2007 БИ: 02/2007
|