|
|
(21), (22) Заявка: 2000130478/11, 06.12.2000
(24) Дата начала отсчета срока действия патента:
06.12.2000
(43) Дата публикации заявки: 27.11.2002
(45) Опубликовано: 10.03.2006
(56) Список документов, цитированных в отчете о поиске:
US 2689614 A, 21.09.1954. SU 1794038 A3, 07.02.1993. US 3299961 A, 24.01.1967. FR 927246 А, 23.10.1947.
Адрес для переписки:
125319, Москва, ул. Усиевича, 1/5, кв.73, В.Я.Вейнбергу
|
(73) Патентообладатель(и):
Вейнберг Вениамин Яковлевич (RU)
|
(54) ВЕРТОЛЕТ
(57) Реферат:
Изобретение относится к области авиации. Вертолет содержит корпус, несущий винт с лопастями, установленный в корпусе, реактивный привод лопастей и топливный бак, связанный каналом с реактивным приводом. Реактивный привод выполнен из последовательно соединенных воздухозаборника, конфузора приемной камеры, диффузора и горелки. Приемная камера соединена каналом с топливным баком для подачи топлива при набранных оборотах несущих лопастей. Технический результат – упрощение конструкции и надежность в работе. 7 з.п.ф-лы, 15 ил. 
Устройство относится к воздушным транспортным средствам, использующим в качестве подъемной силы тягу, образующуюся при вращении лопастей с вертикальной осью вращения, и может найти широкое применение в вертолетной промышленности.
Известен вертолет, привод которого содержит лопастное устройство, кинематически связанное с компрессорной, при этом в лопастях выполнен сквозной канал, заканчивающийся приводным устройством и функционально связанный с выходом компрессора. (Патент США №3498573, В 64 С 27/18)
Недостатком известного устройства является сложность конструкции и по этой причине ненадежность в работе.
Целью изобретения является упрощение конструкции приводной части вертолета и увеличение надежности его работы.
Эта цель достигается за счет установки на лопастях вертолета эжектирующего устройства, пассивный канал которого соединен с топливным баком.
Вертолет поясняется следующими чертежами:
Фиг.1 – Приводной узел устройства, вид сверху.
Фиг.2 – Привод устройства, поперечное сечение.
Фиг.3 – Топливная система.
Фиг.4 – Узел подачи топлива.
Фиг.5 – Узел подачи топлива.
Фиг.6 – Топливный узел.
Фиг.7 – Дополнительный привод.
Фиг.8 – Участок топливного канала.
Фиг.9 – Электроколлектор.
Фиг.10 – Пример эжектирующего устройства.
Фиг.11 – Пример эжектирующего устройства.
Фиг.12 – Подвисной привод.
Фиг.13 – Подвисной привод в аксонометрии.
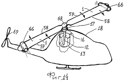
Фиг.14 – Вертолет, общий вид.
Фиг.15 – Функциональная схема топливной системы вертолета.
Вертолет содержит лопасти 1 несущего винта, на конце которого со стороны передней кромки выполнено отверстие 2 воздухозаборного сопла 3, которое соединено с конфузором 4, соединенным с приемной камерой 5 для пассивной среды, которая соединена с дифузором 6, все перечисленные элементы могут быть в целом названы эжектирующим устройством, которое также может быть названо газожидкостным эжектором, газовым струйным аппаратом, эжектором, инжектором, эжекторным газожидкостным смесителем, эжекторным пневматическим насосом, струйным насосом. Дифузор 6 соединен с горелкой 7. К приемной камере подведен канал 8 для пассивной среды, выполненный в корпусе лопастей 1 (Фиг.1).
Минимальное количество несущих лопастей 1 у вертолета два, для данного количества лопастей у их комля выполнен распределитель 9, который связывает два канала 8 двух несущих лопастей 1 и который в данном примере является тройником, общий выход которого соединен с каналом 10, выполненным в переходнике 11, присоединенном к лопастям 1, например приварен к их комлевой части, и трубке 12, которая установлена на переходнике 11, например приварена к нему, и которая размещена в топливном баке 13 с определенным зазором от его дна 14, выполненного частично конусным и частично имеющего в центре горизонтальное углубление 15. Бак 13 может быть подвешен при помощи штатива 16, например с помощью сварки, к верхней части 17 корпуса 18 вертолета, на которой установлен также через подшипник 19 переходник 11 с возможностью совместного вращения с лопастями 1 и трубкой 12. С верхней части топливного бака 13 может быть установлена крышка 20, закрепленная на нем при помощи фланцев или резьбы, с центральным отверстием 21, выполненным в ней для трубки 12 (Фиг.2).
На крышке 20 может быть выполнено уплотнительное кольцо 22 для герметизации топливного бака 13 при сохранении возможности вращения трубки 12, к этой же крышке может быть подведен патрубок 23, который соединяет топливный бак с выходом компрессора 24, при этом на патрубке 23 установлен регулятор давления 25 (Фиг.3).
Функции компрессора 24, как источника газа под давлением, например воздуха, энертного газа или горючего, топливного газа, может выполнять баллон 26 сжатого газа с установленным на нем манометром 27 (Фиг.4).
Компрессор 24 и баллон 26 могут параллельно быть подсоединены к баку 13, например, через патрубок 23, к которому подсоединен отводящий патрубок 29 с установленными на нем обратным клапаном 30 и запорной арматурой, например вентилем 33, и который соединен также с выходом компрессора 24, к этому же патрубку 23 также подсоединен отводной патрубок 31 с установленными на нем обратным клапаном 32 и запорной арматурой, например вентилем 33, и который соединен с баллоном 26 сжатого газа (Фиг.5).
Трубка 12 может быть соединена с переходником 11 через ступицу, в этом случае необходимость установки трубки внутрь топливного бака 13 отпадает и трубка 12 в этом случае подсоединяется непосредственно ко дну бака 13 и вне его подсоединяется к ступице, которая может состоять из грибовидного ниппеля 34, например, приваренного к окончанию трубки 12 и который при помощи накидной гайки 35 прижат к внутреннему основанию втулки 36, которая может быть приварена к переходнику 11, при этом накидная гайка 35 имеет резьбовое соединение с втулкой 36, между ниппелем 34 и накидной гайкой 35 может быть установлена пружина 37. Втулка 36 с накидной гайкой 35 сопряжена с ниппелем 34 с возможностью вращения вокруг его оси. В этом примере трубка 12 неподвижна и на ней может быть установлен подкачивающий насос 38 (Фиг.6).
На переходнике 11 может быть установлена шестеренка 39, например запрессована на нем, которая соединена с другой шестеренкой 40, образован одноступенчатый редуктор, а шестеренка 40 установлена на валу 41 двигателя внутреннего сгорания 42, который является вспомогательным приводом несущих лопастей 1 (Фиг.7).
Переходник 11, соединенный с трубкой 12 через ступицу, не обязательно соосен с последней, и топливный бак может находится в стороне от переходника 11 (Фиг.8).
На переходнике 11 могут быть установлены электроколлекторные кольца 43 через щетки 44 и 45, соединенные с подводящими проводами 46 и 47 от источника тока, а в самом переходнике 11 и лопастях 1 может быть выполнен канал 48 для отводящих проводов, связанных, например, с электрозапальником для розжига горелки 7 (Фиг.9).
На Фиг.10 приведен конкретный пример исполнения эжектирующего устройства, в котором воздухозаборное сопло 2 соединено с активным соплом 49, за которым следует камера 50 смешения, расположенная за выходным сечением сопла 49 с образованием между выходным сечением этого сопла и входным сечением камеры 50 смешения щелевого отверстия 51 для подвода пассивной среды, топлива, при этом камера смешения выполнена расширяющейся по ходу потока смеси сред, на конце камеры 50 смешения установлен резонатор 52, выполненный в виде диффузорного патрубка, образующего паз 53 с камерой 50, заглушенный на его конце кольцевой заглушкой 54 и, например, приварен к ней. В резонаторе 52 выполнен выходной диффузорный канал 55. Сопло 49 установлено в обойме 56, которая установлена в корпусе лопастей 1 и имеет с ним резьбовое соединение. Внутренняя поверхность обоймы 56 и внешняя поверхность сопла 49 образуют приемную камеру 57 для пассивной среды, для топлива, к которой подведен через обойму 56 канал 9 для топлива. Камера смешения 50 закреплена на корпусе обоймы 56 при помощи резьбового соединения. Резонатор 52 выполняет функции горелки. Воздухозаборное сопло 2 расположено в данном примере со стороны передней кромки 58 лопастей 1, а вибратор 52 размещен со стороны задней кромки 59 лопастей 1 (Фиг.10).
На Фиг.11 приведен упрощенный пример исполнения эжектирующего устройства, установленного в корпусе лопастей 1, которое содержит конфузорное активное сопло 60, соединенное с камерой 61 смешения, на выходе которой установлен диффузор 62, на конце которого установлен кольцевой вибратор 63. Соосно соплу 60 во внутренней части данного эжектирующего устройства установлено пассивное сопло 64, связанное с топливным каналом 8 и на конце которого установлена распылительная насадка 65. Диффузор 62 в данном примере выполняет роль горелки (Фиг.11).
В общем, эжектирующее устройство 66 может быть выполнено не только в корпусе лопастей 1, но и быть подвешено к ним, например, при помощи штатива 67, в котором размещены топливный канал 8 и канал 48 для электропроводов (Фиг.11 и 13).
У несущих лопастей 1 может быть выполнен общий комль 68, рулевые лопасти 69 могут иметь аналогичный привод с реактивным приводом несущих лопастей 1 или они кинематически связаны со стандартным приводом, который на чертежах не показан (Фиг.14).
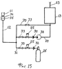
При использовании ступицы для создания возможности вращения переходника 11 совместно с лопастями 1, при его соединении с трубкой 12, возможны различные примеры соединения элементов топливных систем. Например, на каждом патрубке 29 и 31 могут быть установлены регуляторы давления 25, а вентиля 33 могут быть открыты с целью одновременной подачи жидкого и газового топлива в патрубок 23, который в данном примере выполняет роль смесителя, создающего газожидкостную смесь, или открыт один из вентилей 33 для подачи одной из сред, жидкой или газовой, в трубку 12. В этом примере вход патрубка 29 соединен с нижней частью топливного бака 13, а вместо компрессора 24 на нем устанавливается насос 38, или к баку 13 подведен патрубок 23 для создания ранее перечисленными устройствами подпорного давления. Для прямой связи бака 13 с трубкой 12 выполнен обводной патрубок 70 с установленным на нем вентилем 33, соединяющий участок патрубка 29 до насоса 38 с его участком после вентиля 33 (Фиг.15).
Вертолет работает следующим образом:
Лопасти 1 в пусковой момент могут начать вращаться при помощи вспомогательного привода, двигателя внутреннего сгорания 42, который через зубчатую передачу, связанную с его валом 41, приводит в движение переходник 11, а через него и лопасти 1, после достижения определенной скорости вращения этих лопастей на вохдухозаборное сопло 3 и конфузор 4 начинает поступать достаточное количество встречного воздуха, чтобы в приемной камере 5 образовалось отрицательное давление для начала эжекции, засасывания жидкого горючего, например керосина, из канала 8, а через него, распределитель 9, переходник 11 и трубку 12 из топливного бака 13. После прохождения через диффузор смесь воздуха и жидкого горючего поступает на горелку, где она зажигается и создает реактивную тягу, которой достаточно для поддержания вращения несущих лопастей 1 без участия вспомогательного привода, который отключается.
Другой пример запуска лопастей, в нем компрессор 24 или баллон 26 создают в верхней части бака 13 определенный объем сжатого газа – воздуха, инертного газа или газообразного горючего, этот объем стремиться расширится и выдавливает жидкое горючее из бака 13 и по трубке 12 через переходник 11, распределитель 9 и канал 8 в приемную камеру 5, через нее в диффузор 6, далее на горелку 7, где распыленное жидкое горючее зажигается, создавая достаточно большую реактивную тягу, начинает вращать несущие лопасти 1, засасывая одновременно воздух из воздухозаборного сопла 3 и конфузора 4, создавая насыщенную жидким топливом газожидкостную смесь, что необходимо при запуске несущих лопастей, учитывая, что в этот момент нужна максимальная мощность реактивного привода для быстрой раскрутки лопастей. При достижении заданной скорости лопастей соотношение топливо – воздух меняется в сторону увеличения воздушной составляющей и горючего расходается меньше, т.к. давление в выдавливающем объеме бака 13 можно уменьшить, меняя уставки на регуляторе давления 25, или убрать совсем, закрыв вентиль 33, при достаточной силе эжекции.
На Фиг.10 показан пример выполнения эжектирующего устройства, больше подходящего к принудительной раскрутке лопастей 1 в пусковой момент. После принудительной раскрутки лопастей 1 в активное сопло 49 поступает воздух, который, пройдя через него, поступает в расширяющуюся по длине камеру 50 и через щелевое отверстие 51 создает в приемной камере 57 отрицательное давление, которое засасывает горючее через канал 8, распределитель 9, переходник 11, трубку 12 из бака 13. Резонатор 52, создавая в пазах 53 турбулентные завихрения, улучшает перемешивание газожидкостной смеси, улучшает ее перемешивание, делая ее более равномерной по составу, и тем самым улучшает ее горение.
На Фиг.11 показан пример, более подходящий для принудительной подачи горючего в пусковой момент. В этом примере топливо из бака 13 путем выдавливания сжатым газом или насосом 38 через трубку 12, переходник 11, распределитель 9 и канал 8 подается в сопло 64, которое в данный период пуска можно назвать активным, направленное в сторону диффузора 62, и, выходя из него, поток распыленного топлива увлекает за собой воздух из сопла 60, которое в данный период пуска можно считать пассивным, в камере 61, смешиваясь с ним, поступает на горелку, роль которой в данном примере выполняет диффузор 62 с резонатором 63, на выходе эта смесь зажигается и создает реактивную тягу, которая начинает вращать лопасти 1, и, раскрутившись, они создают встречный поток воздуха, который поступает в сопло 60, которое в этот период достижения заданной скорости вращения лопастей 1 становится активным. Воздух, поступая в камеру 61 смешения, увлекает за собой из сопла 64 топливо и создает возможность уменьшить или прекратить его принудительную подачу, так как его перекачка из бака 13 осуществляется за счет эжекции. Сопло 64 в этот период достижения заданной скорости вращения лопастей 1 становится пассивным.
На эжектирующее устройство, установленное на лопастях 1, может подаваться газожидкостная смесь горючего, в этом случае соотношение газа и жидкого топлива определяется регуляторами давления 25. Может подаваться и только газовое топливо, закрыв вентиль 33 на патрубке 29 и открыв его на патрубке 31. В последнем случае применение ступицы в качестве связующего звена между переходником 11 и трубкой 12 необходимо. Жидкое топливо может подаваться в трубку 12 из бака 13 по патрубку 29 насосом 38 или напрямую по обводному патрубку 70, в этом случае вентиль 33 на патрубке 70 открыт, а на патрубке 29 вентиль 33 закрыт, и жидкое топливо выдавливается из бака 13 компрессором 24 или сжатым газом из баллона 26. Приемная камера и пассивное сопло эжектирующего устройства в целом можно назвать каналом для пассивной среды или пассивным каналом, и топливный канал 8, связывающий топливный бак 13 с этим пассивным каналом, при набранных оборотах несущих лопастей 1, можно назвать пассивным каналом. С достаточной точностью можно назвать пассивным каналом эжектирующего устройства, при набранных оборотах лопастей 1, канал, состоящий из топливного канала 8, включая переходник 11 и трубку 12, приемной камеры, если она есть в конструкции эжектирующего устройства, и пассивного сопла.
Например, в примере Фиг.11 приемная камера в эжектирующем устройстве отсутствует, в этом случае пассивным каналом эжектирующего устройства можно назвать канал, образованный каналом 8, включая переходник 11 и трубку 12, и соплом 64.
В конструкции вертолета может быть установлено несколько компрессоров 24, баллонов 26 и насосов 38, а на лопастях 1 установлено несколько эжектирующих устройств и горелок. Но условно на чертежах их показано несколько штук.
В рассмотренной конструкции эжектирующее устройство соосно горелке.
Формула изобретения
1. Вертолёт, содержащий корпус, несущий винт с лопастями, установленный в корпусе, реактивный привод лопастей и топливный бак, связанный каналом с реактивным приводом, отличающийся тем, что реактивный привод выполнен из последовательно соединенных воздухозаборника, конфузора приемной камеры, диффузора и горелки, при этом приемная камера соединена каналом с топливным баком для подачи топлива при набранных оборотах несущих лопастей.
2. Вертолёт по п.1, отличающийся тем, что несущий винт снабжен трубкой, размещённой в топливном баке с возможностью совместного вращения с лопастями и связанной через канал с реактивным приводом.
3. Вертолёт по п.1, отличающийся тем, что несущий винт снабжен ступицей, при этом участок канала выполнен с возможностью совместного вращения с лопастями.
4. Вертолёт по п.1, отличающийся тем, что топливный бак соединён с компрессором.
5. Вертолёт по п.1, отличающийся тем, что топливный бак соединён с баллоном сжатого газа.
6. Вертолёт по п.1, отличающийся тем, что топливный бак соединён одновременно с компрессором и баллоном сжатого газа.
7. Вертолёт по п.1, отличающийся тем, что на канале установлен насос.
8. Вертолёт по п.1, отличающийся тем, что несущий винт кинематически связан со вспомогательным приводом.
РИСУНКИ
MM4A – Досрочное прекращение действия патента СССР или патента Российской Федерации на изобретение из-за неуплаты в установленный срок пошлины за поддержание патента в силе
Дата прекращения действия патента: 07.12.2005
Извещение опубликовано: 10.06.2007 БИ: 16/2007
|
|