|
|
(21), (22) Заявка: 2000130477/11, 06.12.2000
(24) Дата начала отсчета срока действия патента:
06.12.2000
(43) Дата публикации заявки: 27.11.2002
(45) Опубликовано: 10.03.2006
(56) Список документов, цитированных в отчете о поиске:
US 3111992 A, 26.11.1963. US 4589611 A, 20.05.1986. US 3053324 A, 11.09.1962. RU 2149799 С1, 27.05.2000.
Адрес для переписки:
125319, Москва, ул. Усиевича, 1/5, кв.73, В.Я.Вейнбергу
|
(73) Патентообладатель(и):
Вейнберг Вениамин Яковлевич (RU)
|
(54) ВЕРТОЛЕТ
(57) Реферат:
Изобретение относится к области авиации. Вертолет содержит корпус, винт, имеющий две реактивные лопасти с приводными соплами, закрепленные на конструктивном элементе вертолета, и две другие реактивные лопасти с приводными соплами, закрепленные с возможностью независимого противоположного направления вращения по отношению к двум реактивным лопастям на конструктивном элементе вертолета. Две реактивные лопасти имеют обращенное противоположное исполнение по форме и направлению других реактивных лопастей c соответствующими приводными соплами. Технический результат – увеличение КПД. 2 з.п.ф-лы, 13 ил. 
Устройство относится к воздушным транспортным средствам, использующим в качестве подъемной силы тягу, образующуюся при вращении лопастей с вертикальной осью вращения, и может найти широкое применение в вертолетной промышленности.
Известен вертолет, привод которого содержит лопастное устройство, кинематически связанное с компрессором, при этом в лопастях выполнен сквозной канал, заканчивающийся приводным отверстием и функционально связанный с выходом компрессора (Патент США №3498573, В 64 С 27/18).
Недостатком известного устройства относится низкий коэффициент полезного действия.
Цель заявленного устройства увеличение коэффициента полезного действия.
Эта цель достигается за счет выполнения его привода из по меньшей мере двух лопастей с независимым направлением движения.
Вертолет поясняется следующими чертежами:
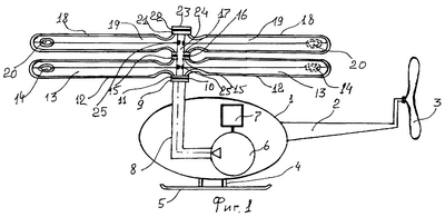
Фиг.1 – принципиальная схема устройства.
Фиг.2 – лопасти устройства, продольный разрез, вид сверху.
Фиг.3 – лопасти с вертикальным коллектором.
Фиг.4 – лопасти с горизонтальным коллектором.
Фиг.5 – узел вертикального коллектора.
Фиг.6 – узел вертикального коллектора.
Фиг.7 – лопасти, соединенные друг с другом ступицами.
Фиг.8 – лопасти с вертикальным коллектором, вид сверху.
Фиг.9 – часть лопастей с горизонтальным коллектором.
Фиг.10 – пример выполнения реактивных лопастей.
Фиг.11 – пример установки реактивных лопастей.
Фиг.12 – пример установки реактивных лопастей.
Фиг.13 – смесительный узел.
Вертолет содержит:
Корпус 1, хвостовой отвод 2, на конце которого установлены рулевые лопасти 3, к основанию корпуса 1 прикреплены стойки 4 с лыжами на конце. В корпусе 1 установлено нагнетательное устройство 6, например компрессор, кинематически связанное с приводом 7, например двигатель внутреннего сгорания, выход которого патрубком 8 соединен с фланцевым подпятником 9, с которым соединен с возможностью вращения через прокладку 10, фланцевая пята 11. В качестве прокладки 10 может использоваться подшипник. Подпятник 11 соединен с комлями лопастей 12, в которых выполнены сквозные каналы 13, заканчивающиеся в конце этих лопастей со стороны задних кромок приводными отверстиями 14, а начинающиеся в полостях комлевой части этих лопастей. С верхней стороны комлевой части лопастей 12 установлены фланцевая пята 15, которая через прокладку 16 соединена с фланцевым подпятником 17, с возможностью независимого вращения от этой пяты. В качестве прокладки 16 может быть использован подшипник. Подпятник 17 соединен с комлями лопастей 18, в которых выполнены сквозные каналы 19, заканчивающиеся приводными отверстиями 20, выполненными на конце этих лопастей стороны задней кромки. С верхней стороны комлей лопастей 18 установлен фланцевый подпятник 21, соединенный через прокладку 22 с ограничительной пятой 23, с возможностью вращения вокруг ее оси, жестко закрепленной на коллекторе 24, который соединен с патрубком 8 и в котором выполнены отверстия 25 на уровне каналов 13 и 19. Вертикальный коллектор 24 является естественным продолжением патрубка 8, например приварен к нему. Аналогично может быть приварена к нему пята 9, подпятник 11 и пята 15 приварены к лопастям 12, а подпятник 17 и пята 21 приварены к лопастям 18 (Фиг.1, Фиг.2 и Фиг.3).
Таким образом, лопасти 12 и 18 закреплены на патрубке 8 и вертикальном коллекторе 24 с независимым направлением вращения друг от друга.
Образующие приводных отверстий 14 и 20 могут быть выполнены в виде сопел 26 и 27 лопастей 12 и 18 соответственно, сопла 26 и 27 выполнены под углом по отношению к продольным образующим лопастей 12 и 18, оси вращения которых совмещены.
Патрубок 8 может быть соединен с коллектором 28, по краям которого выполнены отводы 29. На одном из отводов 29 через ступицу 30 установлены лопасти 31 с возможностью вращения вокруг оси ступицы 30, с выполненными в них сквозными каналами 32, заканчивающимися приводными соплами 33. На другом отводе 29 через ступицу 34 установлены лопасти 35 с возможностью вращения вокруг оси ступицы 34, с выполненными в них сквозными каналами 36, заканчивающимися приводными соплами 37. Таким образом, лопасти 31 и 35 установлены на горизонтальном коллекторе 28 параллельно друг другу и с возможностью независимого вращения друг от друга. Сопла 26, 27, 33 и 37 направлены в противоположную сторону направлению вращения лопастей 12, 18, 31 и 35 (Фиг.4).
Возможен и упрощенный вариант установки лопастей 12 и 18 на вертикальном коллекторе 24, в этом случае лопасти 12 имеют общий комль, выполненный в виде шайбы 38. Аналогичный общий комль, имеющий форму шайбы 39, выполнен из лопастей 18. Эти комли лопастей 12 и 18 зафиксированы, с возможностью вращения вокруг своей оси, при помощи нижней втулки 40 с фиксирующим выступом и закрепленной на патрубке 8, например приваренной к нему, промежуточной втулкой 41 с фиксирующими выступами и верхней втулкой 42 с фиксирующим выступом, закрепленной на коллекторе 24, например при помощи резьбового соединения. Между фиксирующими втулками 40, 41 и 42 и дисками 38 и 39 установлены прокладки 43, например подшипники. Между коллектором 24 и внутренней частью дисков 38 и 39 выполнены полости 45, напрямую связанные со сквозными каналами 13 и 19. Таким образом выполнен единый сквозной канал связывающий выход нагнетательного устройства 6 через патрубок 8, коллектор 24, полости 45 и каналы 13 и 19 с приводными отверстиями 14 и 20, или соплами 33 и 37, которые направлены в противоположную сторону направлению вращения лопастей 12 и 18 (Фиг.5 и Фиг.6).
Лопасти 12 и 18 могут быть соединены друг с другом через ступици, лопасть 12 установлена на патрубке 8 через ступицу 46, а лопасть 18 установлена на лопасти 12 через ступицу 47, в этом случае полость патрубка 8 связана с каналами 13 и 19 через полости ступиц 46 и 47 (Фиг.7).
В целях большей устойчивости сопла 26 лопастей 12 направлены в противоположную относительно направлению сопел 27 лопастей 18, это создает возможность вращаться лопастям 12 в противоположную сторону по отношению к направлению вращения лопастей 18 (Фиг.8).
В рассмотренных примерах вертолетный винт выполнен из реактивных лопастей, вращающую тягу которым создает воздух высокого давления, выходящий с большой скоростью из сопел 26 и 27.
Но установка по крайней мере двух пар реактивных лопастей с независимым друг от друга направлением вращения возможно и при применении горелки, создающей реактивную тягу этим лопастям.
В этом случае в лопаете 48 в передней кромке выполняется воздухозаборное отверстие 49, от которого начинается воздухопровод 50, связанный с эжектирующим устройством 51, например с газожидкостным эжектором, выход которого соединен с соплом 52 горелки и к которому подведен топливопровод 53 от бака 54 для топлива, установленного в комле лопасти 48, аналогичная конструкция и другой лопасти 48, расположенной с противоположной стороны. Над ними может быть установлена другая пара лопастей 56, аналогичных по конструкции лопастям 48, но их сопла горелок направлены в противоположную сторону по отношению к направлению сопел 52 (Фиг.10).
Центральные части комлей лопастей 48 и 56 может быть выполнена в виде втулок 57 и 58, которые установлены с возможностью вращения на штоке 59, закрепленном на верхней части корпуса 1 вертолета. Нижняя ограничительная шайба 60, приваренная к штоку 59, и верхняя ограничительная шайба 61, имеющая резьбовое соединение с ним, фиксируют лопасти 48 и 56 от вертикального смещения их втулок 57 и 58, при этом между ними установлены подшипники 62 (Фиг.11).
Лопасти 48 и 56 могут быть установлены на штоке 59 параллельно друг к другу, это осуществляется при помощи горизонтальной штанги 63, жестко закрепленной на штоке 59, например приваренной к нему, и вертикальных отводов 64 и 65, жестко закрепленных на краях этой штанги 63, например приваренных к ней. На отводах 64 и 65 установлены втулки 57 и 58 соответственно лопастей 48 и 56 с возможностью вращения относительно их оси и зафиксированы на них от вертикального перемещения при помощи ограничительных шайб 60 и 61, нижние из которых приварены к отводам 64 и 65, а верхние имеют с ними резьбовое соединение (Фиг.12).
Возможно и комплексное решение конструкции реактивного узла, в этом случае в воздухопроводе 50 устанавливается обратный клапан 66, в лопастях 48 и 56 выполняются каналы 13 и 19 для воздуха, соединенные с нагнетательным устройством 6 по схеме, рассмотренной в предыдущих примерах, в этом случае каналы 13 и 19 подключены к воздухопроводам 50 после обратного клапана 66, а на каналах 13 и 19 также установлены обратные клапана 67.
На топливопроводе 53 может быть установлен насос 68.
Устройство работает следующим образом.
При запуске винта вертолета, состоящего из реактивных лопастей, включается нагнетательное устройство, компрессор, который подает сжатый воздух высокого давления через патрубок 8, распределительный вертикальный коллектор и каналы 13 и 19 к соплам 26 и 27 лопастей 12 и 18, которые под влиянием реактивной силы отдачи воздушной струи, выходящей с большой скоростью из сопел 26 и 27, начинают вращаться, но так как сопло 26 направлено в противоположную сторону по отношению к направлению сопла 27, то пара лопастей 12 будет вращаться в противоположную сторону по отношению к направлению вращения лопастей 18, что улучшает КПД винта вертолета. Аналогично работают и лопасти 31 и 35, на приводные сопла которых подается сжатый воздух от нагнетательного устройства 6 через горизонтальный коллектор. Аналогично работают реактивные лопасти и при применении ступиц 46 и 47, для крепления их на патрубке 8, связи друг с другом и подачи через них сжатого воздуха к приводным соплам этих лопастей, например лопастей 12 и 18.
По такому же принципу работают и реактивные пары лопастей 48 и 56, использующие реактивную тягу горелки, в частном случае при установке эжектирующего устройства 51 в реактивные лопасти 48 и 56 при раскручивании их традиционным способом, воздух идущий по воздухопроводу 50 и эжектирующее устройство 51 с большой скоростью засасывает через топливопровод 53 из топливного бака 54 топливо, подавая его на сопло 52, где оно, сгорая, развивает реактивную тягу. Учитывая, что и в данном случае приводные сопла у реактивных лопастей 48 и 56 направлены в противоположные стороны относительно друг друга, то и лопасти 48 и 56 будут вращаться в противоположные стороны относительно друг друга.
Комплексное решение, указанное в Фиг.13, позволяет производить запуск реактивных лопастей 48 и 56, создавая эжекцию топлива в эжектирующее устройство 51 за счет подачи на него сжатого воздуха по каналам, соединенным с патрубком 8 ранее рассмотренными способами.
Исполнение реактивных лопастей 12, 31, 48 может считаться обращенным, или зеркальным, по отношению к исполнению реактивных лопастей 18, 35, 56, по форме и направлению приводных сопел, так передние и задние кромки первых выполнены с противоположной стороны по отношению их исполнению у вторых, и приводные сопла у первых направлены в противоположную сторону по отношению к направлению приводных сопел у вторых. Это объясняется необходимостью противоположного направления вращения первых по отношению к направлению вращения вторых.
Формула изобретения
1. Вертолёт, содержащий корпус, винт, имеющий по меньшей мере две реактивные лопасти с приводными соплами, закреплённые на конструктивном элементе вертолёта, и по меньшей мере две другие реактивные лопасти с приводными соплами, закреплённые с возможностью независимого противоположного направления вращения по отношению по меньшей мере к двум реактивным лопастям на конструктивном элементе вертолёта, отличающийся тем, что упомянутые две реактивные лопасти с приводными соплами имеют обращённое противоположное исполнение по форме и направлению других реактивных лопастей c соответствующими приводными соплами.
2. Вертолёт по п.1, отличающийся тем, что по меньшей мере две реактивные лопасти закреплены на одном и том же конструктивном элементе вместе с по меньшей мере двумя независимыми от них реактивными лопастями.
3. Вертолёт по п.1, отличающийся тем, что по меньшей мере две реактивные лопасти закреплены на разных конструктивных элементах по отношению к креплению по меньшей мере двух других реактивных лопастей.
РИСУНКИ
MM4A – Досрочное прекращение действия патента СССР или патента Российской Федерации на изобретение из-за неуплаты в установленный срок пошлины за поддержание патента в силе
Дата прекращения действия патента: 07.12.2005
Извещение опубликовано: 10.06.2007 БИ: 16/2007
|
|