|
|
(21), (22) Заявка: 2004121132/03, 13.07.2004
(24) Дата начала отсчета срока действия патента:
13.07.2004
(45) Опубликовано: 10.03.2006
(56) Список документов, цитированных в отчете о поиске:
FR 2131537 A, 10.11.1972. SU 1056501 A1, 30.12.1994. GB 1305864 A, 07.02.1973. US 3949940 A, 13.04.1974. DE 2649137 A1, 02.06.1977.
Адрес для переписки:
115211, Москва, ул. Борисовские пруды, 14, корп.1, кв.124, Б.С. Семенюк
|
(72) Автор(ы):
Пантелеев Владимир Александрович (RU), Тухаринов Лев Юрьевич (RU), Никурашин Владимир Васильевич (RU), Чертков Юрий Александрович (RU), Ватагин Николай Александрович (RU), Халзхуу Наранхуу (MN), Зоригтын Ганбаатар (MN), Шарав Гэзэгт (MN), Туриянский Юрий Давидович (UA), Захарчук Владимир Николаевич (UA)
(73) Патентообладатель(и):
Открытое акционерное общество “Тяжмаш” (RU), Монголо-Российское совместное горнообогатительное предприятие “Эрдэнэт” (MN), Фирма “Эдвансес Технолоджи компании ЛЛС” (US)
|
(54) БАРАБАННАЯ МЕЛЬНИЦА
(57) Реферат:
Изобретение предназначено для дробления или измельчения различных материалов. Барабанная мельница содержит цилиндрический барабан с конусными торцевыми стенками с соосными барабану круговыми отверстиями в них, загрузочное устройство, включающее установленную на торцевой стенке загрузочную цапфу с круговым приемным отверстием, разгрузочное устройство и привод вращения барабана, при этом барабан выполнен с отношением D/L, равным 0,82-0,84, где D – диаметр, a L – длина цилиндрической части барабана, образующие конусных торцевых стенок наклонены к продольной оси барабана под внутренним углом 75-85°, загрузочная цапфа выполнена с наклоном ее образующей к продольной оси барабана под углом 13-18°, а диаметр приемного отверстия d равен /0,25-0,27/D, при этом в загрузочной цапфе размещено вертикальное кольцевое ребро, на котором установлен гидрозатвор в виде соосного продольной оси барабана мельницы кольцевого отбойника, длина образующей которого равна /0,22-0,25/d. Изобретение позволяет повысить технико-экономические характеристики работы мельницы, улучшить ее эксплуатационные и экологические показатели. 1 ил. 
Изобретение относится к технике дробления или измельчения различных материалов, а именно к барабанным мельницам, в которых материал измельчается с помощью помольных шаров, и может быть использовано на предприятиях горнодобывающей и других отраслей промышленности при измельчении рудного и нерудного минерального сырья.
Известны барабанные вращающиеся мельницы, содержащие барабан с загрузочной и разгрузочной горловинами и привод вращения барабана /Справочник по обогащению руд. Подготовительные процессы. М.: Недра, 1982 г., с.235-237/. Эти мельницы подразделяются на два типа: с разгрузкой измельченного материала через решетку и с центральной разгрузкой. К последнему типу относится и заявленная барабанная мельница, в которой измельчение происходит главным образом за счет энергии удара шаров.
Заявителем поставлена задача оптимизации конструктивно-технических решений, обеспечивающих наряду с увеличением производительности также повышение технико-экономической эффективности работы. При этом в материалы данной заявки не включены результаты исследований по таким параметрам, как частота вращения барабана, процентное содержание шаров к измельчаемому веществу и другие, которые хотя и влияют на эффективность помола, но характеризуют не устройство, а его работу. Как показала практика, влияние изменения тех или иных параметров мельниц зависит от базовых моделей. Исследования и обоснования проводились нами применительно к большим мельницам с диаметром барабана от 5 м и длины свыше 6,0 м.
Известны конструктивные решения, обеспечивающие усиление действия дробящих тел на материал, например, путем установки в дробильной камере кольцевых перегородок /FR, 2131537, 16.10.72, В 02 С 17/00/, а также предотвращение преждевременного разрушения внутренней облицовки барабана и самих шаров, например, за счет регламентирования относительного диаметра разгрузочной горловины /SU, 760999, 07.09.80, В 02 С 17/00/.
Повышение производительности мельниц возможно за счет увеличения диаметра барабана. Однако в мельницах рассматриваемого типа потребляемая рудно-шаровой загрузкой полезная мощность и производительность зависят от слоя пульпы в барабане, преодолеваемого шарами при падении. С увеличением диаметра барабана толщина этого слоя изменяется. Соответственно изменяются количество кинетической энергии, затрачиваемой на преодоление сопротивления пульпы, и высота подъема пульпы вместе с шарами над уровнем слива в мельнице /Шинкоренко С.Ф. Гидромеханика рабочей среды шаровых мельниц мокрого измельчения. Горный журнал № 7, 2002 г./. То есть положительное влияние на эффективность работы мельницы увеличения ее диаметра имеет ограничения.
Известно также, что производительность мельницы увеличивается с увеличением длины ее барабана. Однако при этом возрастает время пребывания в мельнице готового класса, в связи с чем удельная производительность ее снижается, что также ограничивает длину мельницы по условиям эффективности ее работы.
Несмотря на указанную известность влияния отдельных конструктивных характеристик на работу мельниц, оптимальное их соотношение, по мнению заявителей, обосновано недостаточно. Можно указать лишь на то, что согласно мировому опыту для мельниц самоизмельчения принимается отношение диаметра к длине барабана D/L>3, а для шаровых барабанных мельниц – D/L<1.
Заявителями выполнены расчетно-теоретические, проектные работы и натурные исследования по обоснованию таких оптимальных соотношений. Во внимание принималось их влияние на характер измельчения, производительность мельницы, потребляемую мощность, расход электроэнергии и другие факторы, влияющие на эффективность работы барабанных мельниц с центральной разгрузкой. За базу сравнения были приняты соответствующие характеристики нашедшей широкое применение барабанной мельницы МШЦ 5500×6500 производства НКМЗ /Украина/. Было показано, что увеличение длины барабана при сохранении его диаметра имеет явно выраженный оптимум, за которым дальнейшее увеличение длины приводит к росту мощности привода, ухудшению качества помола и экономичности работы, которые не компенсируются повышением производительности мельницы. То же относится и к увеличению диаметра барабана /при сохранении других параметров и режимов работы мельницы/, при котором снижается критическая частота вращения барабана, что отрицательно влияет на характер измельчения материала.
В результате проведенных работ было обосновано оптимальное значение D/L, равное 0,82-0,84. Были отработаны также оптимальные конструкции торцевых стенок барабана с конической загрузочной цапфой, которые показали, что при наклоне образующей конической торцевой стенки под углом 75-85°, а образующей загрузочной цапфы под углом 13-18° к продольной оси барабана и при отношении диаметров приемного окна d к внутреннему диаметру барабана /без футеровки/, равном 0,25-0,27, обеспечиваются наилучшие условия загрузки барабана, уменьшение износа конструкций и исключение выплескивания пульпы.
В предложенной конструкции мельницы на внутренней поверхности брони конусной части загрузочной цапфы выполнена спиралевидная поверхность, а на вертикальном кольцевом ребре цапфы установлен гидрозатвор в виде соосного продольной оси барабана мельницы кольцевого отбойника, внутренний радиус которого равен внутреннему радиусу кольца, а длина образующей равна (0.22-025) d. На противоположной от кольцевого отбойника поверхности ребра цапфы размещены лопатки лифтера (на чертеже не показаны).
Установка на цапфе гидрозатвора и спиралевидной поверхности брони предотвращает обратный выброс пульпы и кусковых частей измельченного материала, что позволяет повысить допустимый уровень пульпы в барабане, то есть загрузку мельницы, и как следствие ее производительность. Некоторое количество пульпы, прошедшее через гидрозатвор, отбрасывается лопатками лифтера в загрузочное устройство.
Наиболее близким по технической сущности к заявленному изобретению является барабанная мельница, содержащая цилиндрический барабан с конусными торцевыми стенками с соосными барабану круговыми отверстиями в них, загрузочное устройство, включающее установленную на торцевой стенке загрузочную цапфу с круговым приемным отверстием, разгрузочное устройство и привод вращения барабана /FR 2131537, 10.11.1972/.
В ближайшем аналоге отношение D/L, d/D, а также конусность торцевых стенок и загрузочной цапфы не регламентированы. Отсутствует в нем так же и гидрозатвор.
Задача изобретения – повышение технико-экономических характеристик работы барабанной мельницы, улучшение ее эксплуатационных и экологических показателей.
Указанная задача достигается в барабанной мельнице, содержащей цилиндрический барабан с конусными торцевыми стенками с соосными барабану круговыми отверстиями в них, загрузочное устройство, включающее установленную на торцевой стенке загрузочную цапфу с круговым приемным отверстием, разгрузочное устройство и привод вращения барабана, при этом барабан выполнен с отношением D/L, равным 0,82-0,84, где D – диаметр, a L – длина цилиндрической части барабана, образующие конусных торцевых стенок наклонены к продольной оси барабана под внутренним углом 75-85°, загрузочная цапфа выполнена с наклоном ее образующей к продольной оси барабана под углом 13-18°, а диаметр приемного отверстия d равен /0,25-0,27/D, при этом в загрузочной цапфе размещено вертикальное кольцевое ребро, на котором установлен гидрозатвор в виде соосного продольной оси барабана мельницы кольцевого отбойника, длина образующей которого равна /0,22-0,25/d.
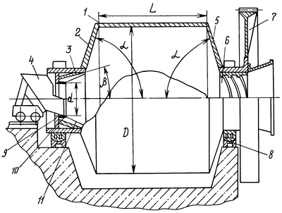
На чертеже показан продольный разрез барабаннной мельницы.
Мельница состоит из цилиндрического барабана 1 длиной L и внутренним диаметром D с конусными торцевыми стенками 2 и 5, на одной из которых размещена цапфа 3 с круговым приемным отверстием диаметром d загрузочного устройства 4, а на противоположной – разгрузочное устройство 6. Мельница установлена на подшипниках 8 и приводится во вращение приводом 7 с электродвигателем. D/L=0,82-0,84; d/D=0,25-0,27. Образующие торцевых стенок 2 и 5 наклонены к продольной оси барабана под углом =75-85°, a образующая цапфы 3 – под углом =13-18°.
Кольцевой отбойник 10 установлен на вертикальном кольцевом ребре 9 цапфы. Спиральная поверхность 11 размещена на внутренней броневой поверхности конусной части 3 цапфы.
Устройство работает следующим образом. Барабан 1 с конусными боковыми стенками 2 и 5 и конусной загрузочной цапфой 3 с круговым приемным отверстием заполняется посредством загрузочного устройства 4 измельчаемым веществом и помольными шарами в требуемом соотношении, после чего барабан, размещенный на подшипниковых опорах 8, приводится во вращение посредством привода 7. Измельченный материал удаляется через круговое отверстие в боковой стенке 5 разгрузочным устройством 6, оборудованным спиральными ребрами.
Спиральная поверхность 11 отбрасывает обратно в барабан попадающие на нее кусковые части измельчаемого материала, а кольцевой отбойник 10 указанных в заявке параметров предотвращает обратный выброс пульпы.
Заявителями была проведена натурная проверка эффективности предложенных технических решений на опытной барабанной мельнице, основные. размеры которой: D=5805 мм, L=6947 мм, d=1500 мм выбраны с учетом указанных оптимальных соотношений /D/L=0,836; d/D=0,259; внутренний угол наклона образующих торцевых стенок к продольной оси барабана равен 80°, а угол наклона образующей загрузочной цапфы – 15°/.
Помолу подвергалась крупнокусковая медно-молибденовая руда высокой твердости. Частота вращения барабана была такой же, как и у сравниваемой мельниц МШЦ 5500-6500. Количество загружаемой руды и коэффициент загрузки шаров /порядка 38%/ соответствовали принятым в мировой практике нормативам.
Было показано, что принятая форма загрузочной цапфы при указанном относительном диаметре приемного отверстия наряду с традиционными уплотнениями в зоне загрузки привели к снижению износа цапфы и втулки загрузочного устройства и предотвращению вылива пульпы, а выбранный наклон торцевых стенок обеспечил увеличение срока службы футеровки и создал лучшие условия /в части гидромеханики рабочей среды в прилегающих зонах/ для осуществления каскадно-водопадного метода помола.
В процессе опытной эксплуатации фиксировались показатели потребной мощности, расхода электроэнергии, помольных шаров, производительность помола и другие, влияющие на эффективность работы мельницы.
Результаты опытной эксплуатации подтвердили высокую эффективность принятых конструктивных решений. По сравнению с базовой мельницей ее производительность выросла на 12% при снижении удельного расхода шаров с 1,002 кг/т до 0,930 кг/т и себестоимости переработки 1 т руды на 4,7%, что свидетельствует о практической значимости предложенного изобретения и перспективности его применения.
Формула изобретения
Барабанная мельница, содержащая цилиндрический барабан с конусными торцевыми стенками с соосными барабану круговыми отверстиями в них, загрузочное устройство, включающее установленную на торцевой стенке загрузочную цапфу с круговым приемным отверстием, разгрузочное устройство и привод вращения барабана, отличающаяся тем, что барабан выполнен с отношением D/L, равным 0,82-0,84, где D – диаметр, a L – длина цилиндрической части барабана, образующие конусных торцевых стенок наклонены к продольной оси барабана под внутренним углом 75-85°, загрузочная цапфа выполнена с наклоном ее образующей к продольной оси барабана под углом 13-18°, а диаметр приемного отверстия d равен /0,25-0,27/D, при этом в загрузочной цапфе размещено вертикальное кольцевое ребро, на котором установлен гидрозатвор в виде соосного продольной оси барабана мельницы кольцевого отбойника, длина образующей которого равна /0,22-0,25/d.
РИСУНКИ
|
|