|
|
(21), (22) Заявка: 2004119519/15, 25.06.2004
(24) Дата начала отсчета срока действия патента:
25.06.2004
(45) Опубликовано: 10.03.2006
(56) Список документов, цитированных в отчете о поиске:
SU 1389834 A1, 23.04.1988. SU 997785 A1, 23.02.1983. JP 04-365465 A, 17.12.1992. JP 2000202272 A, 25.07.2000.
Адрес для переписки:
660049, г.Красноярск, пр. Мира, 82, Сибирский государственный технологический университет, сектор интеллектуальной собственности, И.П. Куличковой
|
(72) Автор(ы):
Гуслицер Игорь Исаакович (RU), Миронов Геннадий Семенович (RU), Ботвич Андрей Леонидович (RU)
(73) Патентообладатель(и):
Государственное образовательное учреждение высшего профессионального образования “Сибирский государственный технологический университет” (RU)
|
(54) ГРАНУЛЯТОР
(57) Реферат:
Изобретение относится к лесоперерабатывающей промышленности и может быть использовано для формирования гранул из материала растительного происхождения. Гранулятор содержит корпус с загрузочным бункером, поверхность вращения с канавками, матрицу и ножи. Канавки образованы одно- или многозаходной навивкой с уменьшающимся по ходу перемещения гранулируемого материала поперечным сечением канавок. Матрица жестко закреплена на конце навивки, а ее внешняя сторона контактирует с ножами, укрепленными на корпусе, при этом матрица выполнена с числом формообразующих отверстий, равным числу канавок. Технический результат заключается в увеличении плотности гранулируемого материала, упрощении конструкции гранулятора, снижении энергетических затрат. 2 ил. 
Изобретение относится к лесоперерабатывающей промышленности и может быть использовано для формирования гранул из материала растительного происхождения.
Известно устройство для гранулирования пастообразных материалов, содержащее загрузочный бункер, камеры предварительного формирования и гранулирования с перфорированной матрицей и пуансоном, а также привод поступательно-возвратного движения пуансона в виде камеры гидравлического удара, снабженный электродами (SU № 1389834 А1, МКИ / В 01 J 2/20, 23.04.1988, бюл. № 15).
Недостатком известного устройства является исключительно высокая сложность, оправданная возможно только получением различных по величине, форме и плотности гранул. Матрица устройства конструктивно не взаимоувязана как с параметрами навивки, так и со способом предварительного формирования материала.
Наиболее близким из известных является гранулятор, содержащий корпус с загрузочным бункером, поверхность вращения с канавками, матрицу, укрепленную на торце корпуса и ножи с вращающимися лезвиями, установленными между концом поверхности вращения и матрицей, с внутренней ее стороны, и контактирующими с матрицей (SU № 1242228 А1, МКИ В 01 J 2/20, 07.07, бюл. 1986).
Недостатком известного устройства являются повышенные энергозатраты, вызванные трением ножей о неподвижную матрицу и о вращающуюся, с иной скоростью, чем нож, поверхность вращения. Выход из матрицы очередных гранул осуществляется их выталкиванием последующими гранулами, что не исключает их слипания. Неэкономично и конструктивно сложно использование двух приводов (вращения поверхности вращения и вращения ножа) для выполнения одной задачи – образования гранул. Кроме того, как видно из чертежа, уплотнение материала, необходимое для гранулирования, не может осуществиться, поскольку при постоянном шаге навивки и возрастающей емкости межпазухового пространства материал не уплотняется, а разрыхляется.
Задача изобретения – обеспечение высокой степени уплотнения гранулируемого материала.
Технический результат заключается в увеличении плотности гранулируемого материала, упрощении конструкции гранулятора, снижении энергетических затрат.
Указанный технический результат достигается тем, что в грануляторе, содержащем корпус с загрузочным бункером, поверхность вращения с канавками, матрицу и ножи, согласно изобретению, канавки образованы одно- или многозаходной навивкой с уменьшающимся по ходу перемещения гранулируемого материала поперечным сечением канавок, матрица жестко закреплена на конце навивки, внешняя сторона ее контактирует с ножами, укрепленными на корпусе, при этом матрица выполнена с числом формообразующих отверстий, равным числу канавок.
Отличительными от известного устройства признаками являются: образование канавок одно- или многозаходной навивкой с уменьшающимся по ходу перемещения гранулируемого материала поперечным сечением канавок. Матрица выполнена с числом формообразующих отверстий, равным числу канавок. При этом матрица жестко закреплена на конце навивки, а внешняя сторона ее контактирует с ножами, укрепленными на корпусе.
Основным преимуществом предлагаемого устройства является непрерывно возрастающее уплотнение за счет уменьшения сечения поверхности вращения, а, следовательно, и возрастает прочность гранулируемого материала по мере его перемещения от загрузочного бункера к формирующей гранулы матрице. Число формообразующих отверстий в матрице, равное числу канавок, обеспечивается жесткой связью конца поверхности вращения, с укрепленной на валу матрицей; канавка и поверхность вращения переходят в отверстия матрицы. Это обеспечивает упрощение конструкции гранулятора.
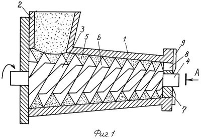
На фиг.1 изображен общий вид гранулятора; на фиг.2 – разрез А-А на фиг.1.
Гранулятор включает корпус 1 с загрузочным бункером 2, размещенным над поверхностью вращения 3 цилиндрической или конической формой в виде барабана или массивного тела, насаженного на вал 4. На поверхности вращения 3 выполнены канавки 5, ограниченные с боков однозаходной или многозаходной навивкой 6 с шагом навивки и поперечным сечением канавок 5 переменными, убывающими от загрузочного барабана 2 до формообразующей матрицы 7, жестко насаженной на вал 4. Матрица 7 снабжена формообразующими отверстиями 8. Внешняя сторона матрицы 7 находится в контакте с жестко укрепленными на корпусе 1, ножами 9. Число ножей 9 и формообразующих отверстий 8 матрицы 7 равно числу заходов навивки 6 канавок 5.
Гранулятор работает следующим образом.
Гранулируемый материала непрерывно захватывается из бункера 2 навивкой 6, вращающейся относительно вала 4 поверхности вращения 3. В процессе перемещения от бункера 2 к матрице 7 происходит уплотнение материала в канавках 5 непрерывно уменьшающегося поперечного сечения, ограниченного внутренней поверхностью корпуса 1, поверхностью вращения 3 и навивкой 6. Проталкиваемый через формообразующие отверстия 8 гранулируемый материал принимает заданную форму поперечного сечения и на выходе из отверстия 8 срезается неподвижно установленными на корпусе 1 ножами 9, находящимися в контакте с внешней поверхностью матрицы 7. Гранулы уносятся от гранулятора транспортирующим устройством.
Применение предлагаемого гранулятора позволит получать прочный гранулируемый материал.
Формула изобретения
Гранулятор, содержащий корпус с загрузочным бункером, поверхность вращения с канавками, матрицу и ножи, отличающийся тем, что канавки образованы одно- или многозаходной навивкой с уменьшающимся по ходу перемещения гранулируемого материала поперечным сечением канавок, матрица жестко закреплена на конце навивки, внешняя сторона матрицы контактирует с ножами, укрепленными на корпусе, при этом матрица выполнена с числом формообразующих отверстий, равным числу канавок.
РИСУНКИ
MM4A – Досрочное прекращение действия патента СССР или патента Российской Федерации на изобретение из-за неуплаты в установленный срок пошлины за поддержание патента в силе
Дата прекращения действия патента: 26.06.2006
Извещение опубликовано: 27.01.2008 БИ: 03/2008
|
|