|
|
(21), (22) Заявка: 2005110300/14, 11.04.2005
(24) Дата начала отсчета срока действия патента:
11.04.2005
(45) Опубликовано: 10.03.2006
(56) Список документов, цитированных в отчете о поиске:
RU 2104683 C1, 20.02.1998. SU 1184433 A, 07.10.1985. SU 1685435 A1, 23.10.1991. ЕР 0382873 А1, 22.08.1990. DE 3902694 A1, 02.08.1990. US 3337261 A, 22.08.1967.
Адрес для переписки:
450069, г.Уфа, ул. Высоковольтная, 6, ФГУП “УЗМПИ”, Г.Н. Посохову, пат.пов. Л.П.Кузнецовой
|
(72) Автор(ы):
Посохов Геннадий Николаевич (RU), Шестаков Анатолий Николаевич (RU), Бежан Иван Ерофеевич (RU), Посохов Николай Геннадиевич (RU), Муравьёв Владимир Алексеевич (RU)
(73) Патентообладатель(и):
Посохов Геннадий Николаевич (RU)
|
(54) КРЕСЛО-КОЛЯСКА
(57) Реферат:
Изобретение относится к области медицины, предназначено для передвижения больных и инвалидов с нарушенной или утраченной функцией опорно-двигательного аппарата и может использоваться в домашних условиях, в том числе вне помещений, для прогулок по улице на дорогах с твердым покрытием, лечебных учреждениях, как в стационарных протезно-ортопедических, так и домах-интернатах, и других лечебных учреждениях. Кресло-коляска содержит боковые полурамы с колесами, которые соединены между собой ножницеобразными трубчатыми элементами, сиденье, съемные подножки с пластмассовой опорой, спинку и подлокотники. Кресло-коляска снабжено двумя звеньями двутавровой формы, двумя передними и задними кронштейнами, четырьмя тягами и четырьмя замками, амортизатором, большими приводными велосипедными колесами с механизмом быстрого их съема, малыми передними поворотными пластмассовыми колесами и кронштейнами. Звенья двутавровой формы соединяют между собой две боковые полурамы. Передние и задние кронштейны установлены на боковых полурамах в местах пересечения передних вертикальных стоек и задних – спинок с верхними горизонтальными поперечинами. Тяги и замки установлены с одного конца соответственно по две на каждом среднем трубчатом элементе звеньев на верхних горизонтальных поперечинах по два на каждой и закреплены между собой с других концов. Кронштейны расположены соответственно по три на каждой передней вертикальной стойке и по два на верхней части каждой внешней трубы съемных подложек с установленным между ними механизмом их фиксации. Техническим результатом изобретения является увеличение жесткости конструкции, уменьшение веса, улучшение эргономичности, расширение функциональных возможностей, обеспечение комфортности, устойчивости, малогабаритности, легкости, уменьшение металлоемкости, улучшение технологичности, упрощение конструкции. 10 з.п. ф-лы, 26 ил. 
Предлагаемое изобретение относится к области медицины и предназначено для передвижения больных и инвалидов с нарушенной или утраченной функцией опорно-двигательного аппарата и может использоваться в домашних условиях, в том числе вне помещений, для прогулок по улице на дорогах с твердым покрытием, лечебных учреждениях, как в стационарных протезно-ортопедических, так и домах-интернатах, и других лечебных учреждениях.
Аналогом предлагаемого изобретения является кресло-коляска инвалидная складная с рычажным приводом мод. 407, содержащая большие ведущие передние колеса, маленькие задние поворотные колеса, приводные рычаги, подлокотники, спинку, сиденье (см. инструкцию по эксплуатации Ставровского завода автотракторного оборудования «Кресло-коляска инвалидная с рычажным приводом» мод. 407). Недостатком данной инвалидной коляски является ее преимущественное использование вне помещений для преодоления значительных расстояний. Также недостатком данной инвалидной коляски является недостаточная маневренность, особенно в стесненных условиях. Также аналогом предлагаемого изобретения является складное кресло на колесах (см. описание изобретения к патенту SU И 1184433 А, 4 A 61 G 5/00, содержащее боковые рамы с колесами, выполненные с возможностью поворота относительно друг друга в плоскостях рам, распорки, соединенные между собой крестообразно посредством оси и нижними концами шарнирно с рамами, сиденье, спинку, подлокотники и телескопические штанги, состоящие из стационарной и подвижной частей, соединенных шарнирно посредством гильз верхними концами с крестовиной и нижними концами жестко с рамой, с установленными между ними шариками.
Недостатком складного кресла на колесах является стационарная спинка, отсутствие съемных подлокотников, наличие только двух пар колес, шариковых направляющих, что соответственно сужает функциональные возможности, затрудняет пользователю пересаживание с кровати в коляску и обратно, ограничивает перемещение в стесненных условиях, увеличивает металлоемкость и ухудшает технологичность. Прототипом предлагаемого изобретения является «Кресло-коляска», патент №2104683 РФ, A 61 G 5/00, 7/00.
Кресло-коляска имеет две боковые полурамы, соединенные между собой ножницеобразными трубчатыми элементами сложной формы и каждый состоящий из двух частей и шарнирно соединенные осью, проходящей через горизонтальные пальцы, состоящий каждый из трех цилиндрических втулок: цельной внутренней и надетыми на нее по концам двух внешних.
На боковых полурамах установлены приводные большие колеса, малые поворотные колеса и дополнительные малые колеса, которые в нормальном состоянии приподняты. В местах крепления больших приводных колес смонтирован механизм быстрого съема и фиксации, выполненный в виде литого сложной конфигурации кронштейна, состоящего из трех полых цилиндров, два из которых – вертикальные с диаметрами, соответствующие диаметру передних вертикальных стоек полурам и диаметру двухступенчатого кнопочного подпружиненного фиксатора с резьбой на конце под гайку, размещенного в последнем вертикальном полом цилиндре и соединенные между собой горизонтальным полым цилиндром с внутренним диаметром, соответствующим диаметру оси больших приводных колес, выполненной с радиальной проточкой на конце, соответствующей ступени с большим диаметром двухступенчатого кнопочного подпружиненного фиксатора, в месте пересечения горизонтального полого цилиндра с вертикальным меньшего диаметра выполнено общее овальное отверстие. На боковых полурамах установлены съемные подлокотники с полумягкими опорами на дополнительных стойках с бесступенчатой регулировкой по высоте посредством кулачкового механизма.
На верхних горизонтальных трубчатых элементах полурам выполнены четыре простейших телескопических соединений, каждое из которых состоит из пары круглых вертикальных трубчатых стоек, одна из которых крепится к горизонтальному трубчатому элементу по углам сиденья и выполнена в виде вертикального трубчатого элемента, а вторая – в виде трубчатого элемента на верхнем горизонтальном трубчатом элементе полурам. К полурамам с передней стороны навешиваются две подножки с опорой, регулирующиеся по высоте посредством соединения и зажима хомутом двух круглых трубчатых элементов. С другой стороны к полурамам навешиваются на кронштейны съемная спинка с быстродействующим фиксатором с рычагом.
Недостатками прототипа являются сложность, громоздкость конструкции, большая трудоемкость за счет наличия дополнительных малых колес, громоздких малых поворотных передних колес, стоящих из двух монолитных половин с ребрами жесткости, соединенных запрессованной в ступицу одной из половин металлической втулки и громоздкой цельной шиной, и приводных больших литых алюминиевых с резиновым ободом колес, механизмов съема подножек и спинки и перестановки их местами, на верхних горизонтальных трубчатых элементах полурам четырех телескопических соединений, кулачкового механизма бесступенчатой регулировки полумягких опор на дополнительных стойках съемных подлокотников по высоте, сложного шарнира и трудоемкого его изготовления, соединяющего между собой две боковые полурамы, ушка, расположенного на каждом трубчатом верхнем горизонтальном элементе П-образной скобы съемных подлокотников, который предназначен для домкрата, служащего для сужения ширины кресла-коляски в стесненных условиях (в дверях квартиры или лифта), сложных фигурных по конструкции нижних горизонтальных трубчатых элементов, сложной формы кронштейнов на самой съемной подножке в верхней части и на вертикальных передних стойках полурам, задней вертикальной стойки и спинки-стойки, невозможность ближнего подъезда к кровати с боку за счет малого разворота съемных подножек.
Техническим результатом предлагаемого изобретения является увеличение жесткости конструкции, уменьшение веса, металлоемкости, улучшение эргономичности, технологичности, расширение функциональных возможностей, обеспечение комфортности, устойчивости, малогабаритности, легкости, упрощение конструкции.
Технический результат достигается тем, что кресло-коляска снабжено двумя звеньями двутавровой формы, соединяющими между собой две боковые полурамы, двумя передними и задними кронштейнами, установленными на боковых полурамах в местах пересечения вертикальных стоек и задних – спинок с верхними горизонтальными поперечинами, четырьмя тягами и четырьмя замками, установленные с одного конца соответственно по две на каждом среднем трубчатом элементе звеньев, на верхних горизонтальных поперечинах по два на каждой и закрепленные между собой с других концов кронштейнами, расположенными соответственно по три на каждой передней вертикальной стойке, по два на каждой в верхних частях внешней трубы съемных подножек с установленными между ними механизмом их фиксации, амортизатором, большими приводными металлическими велосипедными колесами или пластмассовыми с механизмом быстрого их съема и фиксации, малыми передними поворотными пластмассовыми колесами; звенья двутавровой формы, состоящие каждое из трех трубчатых элементов: нижнего, установленного между двумя трубчатыми элементами со сквозными отверстиями в нижней трубчатой горизонтальной поперечине полурам на оси, изготовленной из трубы и расположенной внутри вышеупомянутых трубчатых элементов, закрепленной двумя болтами к двум последним, верхнего, служащего опорным трубчатым элементом сиденья, среднего, соединяющего между собой нижний, верхний элементы, соединены осью с шайбами между ними и по концам; два передних кронштейна выполнены в виде параллелепипедообразной формы с полукруглыми углублениями соответственно по формам верхних горизонтальных поперечин полурам в нижней его грани, передних вертикальных стоек в боковой передней грани, опорных трубчатых элементов в верхней грани, ступенчато расположенным на расстоянии половины их диаметра с выполненным в нем сквозным ступенчатым отверстием под винт; два задних кронштейна выполнены в виде параллелепипедообразной формы с полукруглыми углублениями по формам соответственно задних вертикальных стоек – спинок в боковой задней грани, верхних горизонтальных поперечин в нижней грани и сквозным отверстием под редуцированный и завальцованный конец подлокотника в верхней грани, ступенчато переходящей на расстоянии половины диаметра опорного трубчатого элемента в полукруглое углубление по его форме со сквозным ступенчатым отверстием под винт; тяги, установленные внешними сторонами параллельно между собой выше точки – места соединения звеньев по две на каждом среднем трубчатом элементе на расстоянии, определяемом экспериментально-опытным и расчетным путем, выполнены в виде швеллерообразной формы, переходящей плавно с одного конца в глухой выступ прямоугольной формы с выполненным в его средней части выступом параллелепипедообразной формы со сквозным отверстием в боковых гранях для закрепления замков, переходящие в трапециевидные пазы с углом профиля, равным 30°, а в передней грани – прямоугольным пазом, переходящим в цилиндрические поверхности с радиусом, равным 11,2 мм, заканчивающихся параллельными плоскостями прямоугольной формы, а с другого – в сужающий швеллер с тремя объемными бобышками эллипсообразной формы со сквозными отверстиями для крепления к среднему трубчатому элементу, служащие для регулирования ширины кресла-коляски, с двумя полыми углубленными поверхностями между ними; замки выполнены в виде незамкнутого кольца с внутренним радиусом, равным 11,2 мм, переходящего ступенчато с внутренней стороны в трапециевидные выступы с углом профиля, равным 30°, и со сквозными отверстиями в них, с помощью которых замки после установки верхних горизонтальных поперечин в их незамкнутые кольца по два на каждой и последующего их заведения в трапециевидные пазы тяг крепятся болтами к ним; на каждой передней вертикальной стойке полурам с внешней стороны, в месте пересечения с каждой из верхней горизонтальной поперечины полурам расположены по одному на каждой кронштейну под углом 120° относительно боковой поверхности последних в виде листовой стальной пластины, заканчивающейся округлением с радиусом округления 1,0 см с развальцованной осью в центре, а параллельно последним на расстоянии 100 мм расположены на одной оси такие же кронштейны, между вышеуказанными кронштейнами на расстоянии 30 мм от нижних расположены кронштейны в виде прямоугольных пластин, согнутых под углом 45° относительно его плоскости с округлениями по концам и с отверстием в центре, а сами кронштейны расположены под углом 90° относительно боковой плоскости передних вертикальных стоек; в верхних частях внешней трубы съемных подножек под углом к плоскости гиба, равным 39°30′, установлены кронштейны по одному на каждой в виде листовой пластины, заканчивающиеся округлением с радиусом округления 1,0 см с отверстием в центе, а параллельно последним на расстоянии 100 мм установлены на одной оси такие же кронштейны, между вышеуказанными кронштейнами расположен механизм фиксации съемных подножек, состоящий из втулки со сквозным, ступенчатым отверстием с фасками по концам, впаянной во внешнюю трубу съемных подножек на расстоянии от нижних кронштейнов, равном 30 мм, с установленным в ней бономом в виде цилиндрического стержня с цилиндрическим выступом с фасками по краям с одного конца, переходящего в три ступенчатые цилиндрические поверхности с выполненной на второй двумя лысками, заканчивающегося резьбой на третьей с другого конца, с установленными на нем цилиндрической пружины сжатия, упирающейся одним концом в выступ сквозного ступенчатого отверстия втулки, а вторым – в цилиндрический выступ бонома, и фиксирующей ручки, закрепленной самоконтрящейся гайкой, выполненной с одного конца в виде цилиндрической втулки, ступенчато переходящей с внутренней стороны соответственно в сквозное отверстие прямоугольнообразной формы с округлением по концам, служащее для установки ее на вторую ступенчатую цилиндрическую поверхность с двумя лысками бонома, а с противоположной внутренней стороны – в полукруглое углубление по форме внешней трубы съемной подножки, плавно переходящей в плоскую рукоятку; выше механизма фиксации съемных подножек в задних их верхних боковых поверхностях с расстоянием 50 мм от нижних плоскостей нижних кронштейнов установлены резиновые амортизаторы, выполненные в виде цилиндрической втулки со ступенчатыми отверстиями под винты саморезы; в местах крепления больших металлических велосипедных или пластмассовых приводных колес со штурвалами смонтирован механизм быстрого съема и фиксации, состоящий из втулки с лыской цилиндрическосегментнообразной формы, впаянной перпендикулярно в задней вертикальной стойке – спинке на расстоянии от нижних горизонтальных поперечин 55 мм с внутренним отверстием, равным по диаметру участка расположенного за концом оси с резьбой большого приводного колеса с внутренней стороны между полурамами, вставляемой в нее, выполненного в виде цилиндрического стержня, ступенчато переходящего соответственно в цилиндрический упорный участок с двумя лысками прямоугольной формы, расположенный между боковой рамой и большим колесом, служащий для предотвращения соприкосновения его с боковой рамой и проворачивания оси, в цилиндрический стержень, переходящий в стержень с резьбой со шлицем, с установленными на нее с одной стороны большим приводным колесом со ступицей с залитой в ней трехступенчатой металлической втулкой с гнездами по концам под подшипники с внешней стороны, с шайбой с внутренним усиком прямоугольнообразной формы, самоконтрящейся гайкой, декоративным колпачком в виде полого усеченного конуса, переходящего в круговую поверхность с внутренней отбортовкой под внешнюю ступицу большого колеса, закрепленную к ней двумя винтами, диаметрально расположенными под крестообразную отвертку, а с другой – завернутой пластмассовой рукояткой звездообразной формы с залитой в ней гайкой, предотвращающей проворачивание оси при ее закручивании с помощью лыски цилиндрическосегментообразной формы втулки, стопорной пружинной шайбой, упирающейся одним концом во втулку, другим в рукоятку звездообразной формы, исключающей ее самопроизвольное раскручивание; малые поворотные передние пластмассовые колеса со ступицей неразъемной, цельной в виде цилиндрической трехступенчатой втулки, две из которых по концам служат гнездами для закрытых запрессованных подшипников, со спицами крестообразной формы в поперечном сечении с окнами треугольнообразной формы с закруглениями при вершине, переходящие в обод в виде двух цилинрическообразных втулок по концам и канавкой трапецеидальной формы с углом профиля, равным 30°, в середине с надетой на него монолитной резиновой шиной в виде цилиндрическообразной втулки с выступом с внутренней стороны в середине трапецеидальной формы, с внешней стороны с шипами, установлены на ось с высаженной головкой с одного конца и резьбой – с другого и в вилку с шайбами с двух сторон, выполненной в виде П-образной формы из листовой стали, верхняя полка которой выполнена в виде прямоугольнообразной формы с закруглением по концам, переходящим с радиусами в серповидно-вогнутые с передней стороны и выпуклые – с задней стороны кривые поверхности с ребрами жесткости по длине по одному на каждой, повторяющими их форму, с внутренней стороны вогнутые и выпуклые – с внешней и заканчивающимися округлением на конце с отверстием под ось малого переднего поворотного колеса, а с двух противоположных сторон – с отбортовкой и впаянной в центре цилиндрической втулки со сквозным отверстием, с выступающими концами, с двумя противоположными лысками цилиндрическосегментообразной формы с нижней стороны параллельными плоскостям кривых поверхностей в верхней их части, служащие для установки оси в виде круглого сплошного стержня с головкой прямоугольнообразной формы с скруглениями по концам, переходящего ступенчато в цилиндрическую поверхность с резьбой с насаженной на нее гильзой, припаянной к нижней горизонтальной поперечине в виде полого трехступенчатого цилиндра, два из которых по концам служат гнездами для закрытых подшипников с последующим их закреплением самоконтрящейся гайкой, а в верхней ее части выполнена цилиндрическая канавка под декоративную пластмассовую пробку, выполненную с внутренней стороны в виде полого усеченного конуса с меньшим глухим основанием во внутрь, а с внешней – с фаской, преходящей соответственно в цилиндрическую поверхность по размерам, соответствующую размерам цилиндрической канавки гильзы, в канавку в виде ступенчатой цилиндрической поверхности, цилиндрическую поверхность, соответствующую наружному диаметру гильзы, переходящую в усеченный конус. Сущность предлагаемого изобретения показана на фигурах:
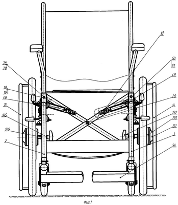
фигура 1 – общий вид кресла-коляски (вид спереди);
фигура 2 – общий вид кресла-коляски (вид сбоку);
фигура 3 – рама, сборочный чертеж;
фигура 4 – вид Б фигуры 3;
фигура 5 – сечение по А-А фигуры 3;
фигура 6 – сиденье;
фигура 7 – фрагмент А фигуры 2;
фигура 8 – фрагмент Г фигуры 7;
фигура 9 – фрагмент В фигуры 7;
фигура 10 – фрагмент Б фигуры 2;
фигура 11 – фрагмент Е фигуры 10;
фигура 12 – фрагмент Д фигуры 10;
фигура 13 – сечение по В-В фигуры 3;
фигура 14 – фрагмент Б фигуры 6;
фигура 15 – фрагмент И фигуры 1;
фигура 16 – сечение по К-К фигуры 15;
фигура 17 – подлокотник, сборочный чертеж;
фигура 18 – полурама, сборочный чертеж;
фигура 19 – съемная подножка, сборочный чертеж;
фигура 20 – внешняя труба съемных подножек;
фигура 21 – сечение по А-А фигуры 20;
фигура 22 – сечение по А-А фигуры 19;
фигура 23 – ручка;
фигура 24 – малое поворотное переднее пластмассовое колесо;
фигура 25 – задняя вертикальная стойка – спинка;
фигура 26 – сечение по А-А фигуры 25.
Кресло-коляска имеет раму 1 (фиг.2), состоящую из двух боковых полурам 2, 3 (фиг.2, 3), включающих каждая верхние 4, 5 (фиг.2), нижние 6, 7 (фиг.2, 3) горизонтальные поперечины, передние вертикальные стойки 8, 9 (фиг.2), задние – спинки 10, 11 (фиг.2) в виде трубчатых элементов с установленными на них большими приводными велосипедными металлическими или пластмассовыми колесами 12, 13 (фиг.2) со штурвалами 14, 15 (фиг.1) и малыми пластмассовыми поворотными передними колесами 16, 17 (фиг.2) и соединенные между собой звеньями двутавровой формы 18, 19 (фиг.1, 3), а последние – осью 20 (фиг.1) с шайбами между ними и по концам. Каждое звено двутавровой формы 18, 19 (фиг.1, 3) состоит из трех трубчатых элементов (размеры трубчатых элементов звеньев подбирались экспериментально-опытным и расчетным путем): нижнего 21 – (фиг.3), установленного между двумя трубчатыми элементами 22, 23 (фиг.3) со сквозными отверстиями 24 (фиг.3) в нижней трубчатой горизонтальной поперечине 6, 7 (фиг.2, 3) полурам 2, 3 (фиг.2, 3) на оси 25 (фиг.4), изготовленной из трубы и расположенной внутри элементов 21, 22, 23 (фиг.3), закрепленной двумя болтами 26 (фиг.4, 5) к элементам 22, 23 (фиг.3), вокруг которой поворачиваются на нужный угол два звена двутавровой формы 18, 19 (фиг.1, 3) во время складывания кресло-коляски, верхнего-трубчатого элемента 27 (фиг.3), служащего опорным трубчатым элементом, к которому крепится сиденье 28 (фиг.3), среднего-трубчатого элемента 29 (фиг.3), соединяющего между собой элементы 21 (фиг.3), 27 (фиг.3).
Сиденье 28 (фиг.3), выполненное в виде прямоугольной формы из текстильного материала, закреплено к элементу 27 (фиг.3) с предварительно выполненным на нем карманом и помещенным с внутренней его стороны сплошной металлической пластиной, служащей для прочности крепления ткани и предотвращения ее изнашивания в этом месте, четырьмя винтами саморезами 30 (фиг.3, 6) с каждой стороны сиденья 28 (фиг.3), к двум в середине закреплены тканевые ручки 31 (фиг.3), с помощью которых путем подтягивания их вверх осуществляется складывание кресла-коляски. Звенья 18, 19 (фиг.1, 3) опираются трубчатыми элементами 27 (фиг.3) на два передних 32 (фиг.2, 7) и задних 33 (фиг.2, 10) кронштейна, установленные на боковых полурамах 2, 3 (фиг.2, 3) в местах пересечения передних вертикальных стоек 8, 9 (фиг.2, 7, 8, 9) и задних – спинок 10, 11 (фиг.2, 10) с верхними горизонтальными поперечинами 4, 5 (фиг.2, 7, 8), винтами 34 (фиг.2, 7, 10). Кронштейн 32 (фиг.2, 7) выполнен в виде параллелепипедообразной формы с полукруглыми углублениями 35 (фиг.8), 36 (фиг.9), ступенчато расположенного на расстоянии половины диаметра опорного трубчатого элемента 27 (фиг.3, 7, 8, 9) полукруглого углубления 37 (фиг.8) с выполненным в нем сквозным ступенчатым отверстием 38 (фиг.7) под винт 34 (фиг.2, 7), соответственно по формам верхних горизонтальных поперечин 4, 5 (фиг.2, 7, 8) полурам 2, 3 (фиг.1, 2, 3) в нижней его грани, передних вертикальных стоек 8, 9 (2, 7, 8, 9) в боковой грани и опорного трубчатого элемента 27 (3, 7, 8, 9) в верхней грани. Кронштейн 32 (фиг.2, 7) крепится винтом 34 (фиг.2, 7) к верхним горизонтальным поперечинам 4, 5 (фиг.2, 7, 8) полурам 2, 3 (фиг.2). Кронштейн 33 (фиг.2, 10, 11, 12) выполнен в виде параллелепипедообразной формы с полукруглыми углублениями 39 (фиг.12), 40 (фиг.11) по формам соответственно задних вертикальных стоек – спинок 10, 11 (фиг.2, 10) в боковой задней грани, верхних горизонтальных поперечин 4, 5 (фиг.2,10) в нижней грани и сквозным отверстием 41 (фиг.10, 12) под редуцированный и завальцованный конец подлокотника 42 (фиг.2) в верхней грани, ступенчато переходящей на расстоянии половины диаметра опорного трубчатого элемента 27 (фиг.3, 10, 11, 12) в полукруглое углубление 43 (фиг.11) по его форме со сквозным ступенчатым отверстием 44 (фиг.10) под винт 34 (фиг.2, 10), с помощью которого кронштейн 33 (фиг.10, 11, 12) крепится к верхним горизонтальным поперечинам 4, 5 (фиг.2, 10). Задние вертикальные стойки – спинки 10, 11 (фиг.2), выполненные на высоте от сиденья 160 мм с углом наклона 15°, обеспечивающим поясничный и грудной изгибы позвоночного столба пользователя, заканчиваются Г-образными изогнутыми концами с ручками из мягкой пластмассы. Между Г-образными изогнутыми вертикальными стойками – спинками 10, 11 (фиг.2) закреплено гибкое прошитое полотно из текстильного материала прямоугольной формы в виде мягкой подушки, переходящей в мягкую моющую подушку, накинутую на сиденье 28 (фиг.3, 6) прошитых рельефными рисунками, что предохраняет поясницу пользователя от ветра и сквозняков, закрепленной с помощью 4-х винтов саморезов 45 с шайбами (фиг.13) с каждой стороны с предварительно выполненными карманами с внутренней стороны и помещенными в них сплошной металлической пластины для прочности крепления ткани и предотвращения ее разрыва в этом месте, аналогичные карману 46 (фиг.14) и помещенным с внутренней его стороны сплошной металлической пластины 47 (фиг.14) при закреплении текстильного материала к элементу 27 (фиг.3) сиденья 28 (фиг.3). Звенья 18, 19 (фиг.1, 3) с помощью трубчатого элемента 29 (фиг.3) крепятся каждый к верхним горизонтальным поперечинам 4, 5 (фиг.2) двумя тягами 48, 49 (фиг.1) и двумя замками 50, 51 (фиг.1). Тяги 48, 49 (фиг.1) установлены внешними сторонами параллельно между собой выше точки – места соединения звеньев 18, 19 (фиг.1, 3) по две на каждом среднем трубчатом элементе 29 (фиг.3) на расстоянии, соответствующем расстоянию, определяемому расчетно-экспериментальным и опытным путем. Тяги 48, 49 (фиг.1, 15, 16) выполнены в виде швеллерообразной формы, переходящей плавно с одного конца в глухой выступ прямоугольной формы 52 (фиг.15) с выполненным в его средней части выступом параллелепипедообразной формы 53 (фиг.15) со сквозным отверстием 54 (фиг.15, 16) в боковых гранях для закрепления замков 50, 51 (фиг.1, 15, 16), переходящее в трапециевидные пазы 55 (фиг.15) с углом профиля, равным 30°, а в передней грани – с прямоугольным пазом 56 (фиг.15), переходящие в цилиндрические поверхности 57, 58 (фиг.15) с радиусом, равным 11,2 мм, заканчивающиеся двумя параллельными плоскостями 59, 60 (фиг.15) прямоугольнообразной формы 61, 62 (фиг.15), а с другого – в сужающий швеллер с тремя объемными бобышками элипсообразной формы со сквозными отверстиями 63 (фиг.16) для крепления к среднему трубчатому элементу 29 (фиг.3), служащие для регулирования ширины кресла-коляски, с двумя полыми углубленными поверхностями 64 (фиг.16). Замки 50, 51 (фиг.1, 15, 16) выполнены в виде незамкнутого кольца с внутренним радиусом равным 11,2 мм, переходящего ступенчато с внутренней стороны в трапециевидные выступы 65, 66 (фиг.15) с углом профиля, равным 30°, и со сквозными отверстиями 67, 68 (фиг.15) в них, с помощью которых замки 50, 51 (фиг.1, 15 16) после установки верхних горизонтальных поперечин 4, 5 (фиг.2, 16) в их незамкнутые кольца и последующего его заведения в трапециевидные пазы 55 (фиг.15) тяг 48, 49 (фиг.1, 15, 16) крепятся болтами 69 (фиг.15) к ним. На боковых полурамах 2, 3 (фиг.2) установлены съемные подлокотники 42 (фиг.2) с полумягкими опорами 70, 71 (фиг.2). Подлокотники 42 (фиг.2) выполнены в виде П-образной скобы из трубчатых элементов с припаянными упорными кольцами 72 (фиг.2, 17), заканчивающиеся редуцированными завальцованными концами, плавно переходящей в горизонтальной верхней части соответственно со стороны стоек – спинок 10, 11 (фиг.2) сзади, спереди и в передней вертикальной части на высоте 137 мм снизу с радиусами 40 мм, с установленной в ней с внешней стороны щекой 73 (фиг.2) из металлической пластины толщиной в 1,0 мм прямоугольнообразной формы с радиусами закругления по концам: сверху – 30 мм, снизу – 5 мм, и закрепленной четырьмя винтами саморезами 74 (фиг.2) в глухие отверстия по концам к подлокотнику 42 (фиг.2). Чуть выше щеки 73 (фиг.2) в верхней внешней части и параллельно ей со стороны стоек – спинок 10, 11 (фиг.2) припаян крючок 75 (фиг.2) в виде пластины прямоугольнообразной формы, заканчивающейся скруглением в верхней части, а в нижней – П-образном пазом, к подлокотнику 42 (фиг.2), с внешней стороны стоек – спинок 10, 11 (фиг.2) припаян штырь 76 (фиг.2) в виде гриба, на который навешивается крючок 75 (фиг.2). Полумягкие опоры 70, 71 (фиг.2) подлокотников 42 (фиг.2) выполнены в виде поролоновой мягкой подушки, наложенной на пластмассовое основание в виде пластины прямоугольнообразной формы с скруглениями по концам, с отбортовкой по периметру и с ребрами жесткости в виде взаимно перпендикулярных продольных и поперечных перегородок с двумя залитыми гайками по краям и с надетым на них чехлом из текстильного материала с двумя отверстиями по краям под гайки, вставленные в пластмассовое основание в виде пластины прямоугольнообразной формы с скруглениями по концам, с отбортовкой по периметру и с ребрами жесткости в виде взаимно перпендикулярных продольной и поперечных перегородок и выпуклой цилиндрической поверхностью по всей длине с одной стороны с двумя отверстиями 77 (фиг.2) под болты для крепления к горизонтальным верхним частям подлокотников 42 (фиг.2) с выступающей частью с внешней стороны сиденья 28 (фиг.3). В передние с упорными кольцами 72 (фиг.2) редуцированные, завальцованные концы подлокотников 42 (фиг.2) с отверстиями 78 (фиг.1, 3, 17), 79 (фиг.1, 3, 18) в них и в передних вертикальных стойках вставляется пружинный фиксатор 80 (фиг.17) в виде пластинчатой пружины незамкнутой эллипсовидной формы с накладывающимися друг на друга концами с двух сторон и с установленной в середине поверхности противоположной концам с внешней стороны кнопкой 81 (фиг.17) цилиндрической формы с фаской на конце. Установка и съем подлокотников 42 (фиг.2) осуществляется следующим образом. При установке подлокотников 42 (фиг.2) с упорными кольцами 72 (фиг.2, 17) редуцированные, завальцованные концы со стороны задних вертикальных стоек – спинок 10, 11 (фиг.2) вставляются в сквозные отверстия 41 (фиг.10, 12) кронштейнов 33 (фиг.2, 10, 11, 12), а со стороны передних вертикальных стоек 8, 9 (фиг.2) – в их отверстия 82 (фиг.18) до упорного кольца 72 (фиг.2, 17), при этом пластинчатая пружина пружинного фиксатора 80 (фиг.17) разжимается и выталкивает кнопку 81 (фиг.17) в отверстия 78 (фиг.1, 3, 17), 79 (фиг.1, 3, 18), происходит фиксация подлокотников 42 (фиг.2). Для съема подлокотников 42 (фиг.2) необходимо пальцем руки утопить кнопку 81 (фиг.17) пружинного фиксатора 80 (фиг.17) вовнутрь передних вертикальных стоек 8, 9 (фиг.2), при этом пластинчатая пружина пружинного фиксатора 80 (фиг.17) сжимается и при подтягивании вверх подлокотник 42 (фиг.2) освобождается. На каждой передней вертикальной стойке 8,9 (фиг.2) полурам 2, 3 (фиг.2) с внешней стороны, в месте пересечения с каждой из верхней горизонтальной поперечины 4, 5 (фиг.2) полурам 2, 3 (фиг.2) расположены кронштейны 83, 84 (фиг.2) под углом 120° относительно боковой поверхности последних в виде листовой стальной пластины, заканчивающейся скруглением с радиусом скругления 1,0 см с развальцованной осью 85 (фиг.3) в центре, а параллельно последним на расстоянии 100 мм расположены на одной оси такие же кронштейны 86, 87 (фиг.3), между кронштейнами 83, 84 (фиг.3) и 86, 87 (фиг.3) на расстоянии 30 мм от последних расположены кронштейны 88, 89 (фиг.3) в виде прямоугольных пластин, согнутые под углом 45° относительно его плоскости с скруглениями по концам и с отверстием 90 (фиг.3) в центре, а сами кронштейны 88, 89 (фиг.3) расположены под углом 90° относительно боковой плоскости передних вертикальных стоек 8. 9 (фиг.2). Съемные подножки 91, 92 (фиг.2) выполнены из трубчатых элементов в виде крючкообразной формы в верхней части и с припаянной на конце оси-кронштейна 93 (фиг.2) с установленной на ней поворотной пластмассовой опорой 94 (фиг.1, 2). Съемные подножки 91, 92 (фиг.2) с поворотными пластмассовыми опорами 94 (фиг.2) для ног регулируются по высоте посредством телескопического соединения нижней внутренней трубы 95 (фиг.2) с пятью сквозными отверстиями с шагом 15 мм и верхней внешней 96 (фиг.2) с отверстием 97 (фиг.2) с установленной на них пластмассовой переходной цилиндрической втулки 98 (фиг.2) внутри со ступенчато расположенными отверстиями соответственно диаметрам внешней 96 (фиг.2) и внутренней 95 (фиг.2) труб на месте перехода одной трубы в другую, служащей для устранения люфта и предотвращения вибрации при эксплуатации кресла-коляски, и фиксирующим элементом 99 (фиг.19) в виде пружинного разрезного эксцентрического кольца на концах с утолщением из твердой пластмассы в центре залитым цилиндрическим стержнем 100 (фиг.19) с проточкой с внутренней стороны, с внешней – выступом сферообразной формы 101 (фиг.19) и фаской на противоположном конце и между ними припаянным кронштейном 102 (фиг.19) из тонкого стержня параллельно внешней трубе 96 (фиг.2) для крепления поддерживающей ленты для голеней ног при повороте пластмассовых опор 94 (фиг.1) вокруг оси – кронштейна 93 (фиг.2). Регулирование по высоте съемных подножек 91, 92 (фиг.2) с поворотными пластмассовыми опорами 94 (фиг.1, 2) осуществляется следующим образом. Определив нужное сквозное отверстие из пяти с шагом 15 мм в нижней внутренней трубе 95 (фиг.2), совмещают его с отверстием 97 (фиг.2) на верхней внешней трубе 96 (фиг.2), затем их фиксируют цилиндрическим стержнем 100 (фиг.19) фиксирующего элемента 99 (фиг.19), за счет жесткости твердой пластмассы фиксирующего элемента 99 (фиг.19) пластмасса сама пружинит, тем самым способствует плотному обхвату внешней трубы 96 (фиг.2). Откидная пластмассовая опора 94 (фиг.1, 2) выполнена с внешней стороны в виде пластины прямоугольнообразной формы с рифлением, переходящей плавно с одной стороны в цилиндрическую втулку с фасками 103 (фиг.19) под ось – кронштейн 93 (фиг.2) с установленной с противоположной стороны декоративной пробки, переходящую в плоские прямоугольные поверхности с трех сторон – по концам и ее длине и с выпуклыми сужающими поверхностями к стороне, противоположной втулке 103 (фиг.19), а с внутренней стороны – с отбортовкой по периметру, повторяющей форму внешней стороны с трех сторон с ребрами жесткости в виде взаимно пересекающихся диагонально расположенных параллельных, горизонтальных, вертикальных перегородок, а с четвертой стороны – в виде трех углублений, с двух сторон по краям плавно переходящих в нижние полусферические цилиндрические поверхности и втулки 103 (фиг.19), а в середине – плавно переходящие в верхнюю полусферическую цилиндрическую поверхность втулки 103 (фиг.19) с пластинчатым П – образным, заканчивающимся скруглением, язычком в ее центре, предотвращающим ее свободное поворачивание вокруг оси – кронштейна 93 (фиг.2) в горизонтальном и особенно в вертикальном положениях. В верхних частях внешней трубы 96 (фиг.2) съемных подножек 91, 92 (фиг.2) под углом плоскости гиба, равным 39°30′, установлены кронштейны 104, 105 (фиг.2) в виде листовой пластины, заканчивающиеся скруглением с радиусом скругления 1,0 см с отверстием 106 (фиг.20) в центре, а параллельно последним на расстоянии 100 мм установлены на одной оси такие же кронштейны 107, 108 (фиг.2). Между кронштейнами 104, 105 (фиг.2) и 107, 108 (фиг.2) расположен механизм фиксации съемных подножек, состоящий из втулки 109 (фиг.21) со сквозным ступенчатым отверстием 110 (фиг.21) с фасками по концам, впаянной во внешнюю трубу 96 (фиг.2) съемных подножек 91, 92 (фиг.2) на расстоянии от нижних кронштейнов 107, 108 (фиг.2), равном 30 мм, с установленным в ней бономом 111 (фиг.22) в виде цилиндрического стержня с цилиндрическим выступом с фасками по краям с одного конца, переходящего в три ступенчатые цилиндрические поверхности с выполненными на второй двумя лысками, заканчивающегося резьбой на третьей с другого конца, с установленными на нем цилиндрической пружины сжатия 112 (фиг.22), упирающейся одним концом в выступ сквозного ступенчатого отверстия втулки 109 (фиг.21), впаянной во внешнюю трубу 96 (фиг.2) съемных подножек 91, 92 (фиг.2), а вторым – в цилиндрический выступ бонома 111 (фиг.22), и фиксирующей ручки 113 (фиг.22), закрепленной самоконтрящейся гайкой, выполненной с одного конца в виде цилиндрической втулки 114 (фиг.23), ступенчато переходящей с внутренней стороны соответственно в сквозное отверстие прямоугольнообразной формы с скруглением по концам, служащее для установки ее на вторую ступенчатую цилиндрическую поверхность с двумя лысками бонома 111 (фиг.22), а с противоположной внутренней стороне – в полукруглое углубление 115 (фиг.23) по форме внешней трубы 96 (фиг.2) съемной подножки 91 (фиг.2), плавно переходящей в плоскую рукоятку 116 (фиг.23). Выше механизма фиксации съемных подножек 91, 92 (фиг.2) в задних их верхних боковых поверхностях с расстоянием 50 мм от нижних плоскостей нижних кронштейнов 107, 108 (фиг.2) установлены резиновые, выполненные в виде цилиндрической втулки, цилиндрические амортизаторы 117 (фиг.19) со ступенчатыми отверстиями 118 (фиг.19) с помощью винтов саморезов, служащие для предотвращения вибрации и дребезжания при движении кресла-коляски. К боковым полурамам 2, 3 (фиг.2) с двух сторон навешиваются съемные подножки 91, 92 (фиг.2) отверстиями 106 (фиг.20) кронштейнов 104, 105 (фиг.2), расположенные в верхних частях съемных подножек 91, 92 (фиг.2) и кронштейнов 107,108 (фиг.2), установленных на одной оси с вышеуказанными на оси 85 (фиг.3) кронштейнов 83, 84 (фиг.2, 3, 18), расположенные на каждой передней вертикальной стойке 7, 8 (фиг.2) полурам 2, 3 (фиг.2) с внешней стороны в месте пересечения с каждой из верхних горизонтальных поперечин 4, 5 (фиг.2) полурам 2, 3 (фиг.2) под углом 120° относительно боковой поверхности последних и кронштейнов 86, 87 (фиг.3, 18), расположенных параллельно последним на одной оси на расстояние 100 мм от них, при этом пружина сжатия 112 (фиг.22) бонома 111 (фиг.22), установленного во втулку 109 (фиг.21), разжимается и выталкивает, то есть он втягивается или входит во втулку 109 (фиг.21) бонома 111 (фиг.22) и он выступает из отверстия втулки 109 (фиг.22) и фиксируется в отверстии 90 (фиг.3) кронштейнов 88, 89 (фиг.3), то есть блокируется, при этом фиксирующая ручка 113 (фиг.22) занимает горизонтальное положение. При повороте фиксирующей ручки 113 (фиг.22) вверх или вниз пружина сжатия 112 (фиг.22) сжимается и боном 111 (фиг.22) вытягивается из втулки 109 (фиг.21) и выходит из отверстия 90 (фиг.3) кронштейнов 88, 89 (фиг.2, 3), тем самым съемные подножки 91, 92 (фиг.2) освобождаются от фиксации, то есть происходит их разблокирование и они могут быть повернуты на 180° в сторону малых пластмассовых поворотных передних колес 16, 17 (фиг.2), обеспечивая удобство и комфортность пользователю при посадке и высадке из кресла-коляски. Малые поворотные передние пластмассовые колеса 16, 17 (фиг.2) выполнены со ступицей неразъемной, цельной в виде цилиндрической трехступенчатой втулки 119 (фиг.24), две из которых по концам служат гнездами для закрытых запрессованных подшипников 120 (фиг.24), со спицами 121 (фиг.24) крестообразной формы в поперечном сечении с окнами треугольнообразной формы с закруглениями при вершине, переходящие в обод 122 в виде цилиндрическообразной втулки, переходящие каждая в канавку 123 (фиг.24) трапецеидальной формы с углом профиля, равным 30°, с надетой на него монолитной резиновой шиной в виде цилиндрическообразной втулки с выступом с внутренней стороны в середине 124 (фиг.24) трапецеидальной формы, с внешней стороны – с шипами, установленной на ось 125 (фиг.24) с высаженной головкой 126 (фиг.24) с одного конца и с резьбой – с другого 127 (фиг.24) и в вилку 128 (фиг.24) с шайбами 129 (фиг.24) с двух сторон. Вилка 128 (фиг.24) выполнена в виде П-образной объемной формы из листовой стали, верхняя полка 130 (фиг.24) которой выполнена в виде прямоугольнообразной формы с закруглением по концам, переходящим в серповидно-вогнутые с передней стороны и выпуклые с задней стороны кривые поверхности 131 (фиг.24) с ребрами жесткости по длине по одному на каждой, повторяющими их форму, с внутренней стороны вогнутые и выпуклые – с внешней и заканчивающимися скруглением на конце с отверстием 132 (фиг.24) под ось 125 (фиг.24) малого переднего поворотного колеса 16, 17 (фиг.2), а с двух противоположных сторон – с отбортовкой и впаянной в центре цилиндрической втулки 133 (фиг.24) со сквозным отверстием 134 (фиг.24), с выступающими концами, с лыской 135 (фиг.24) с нижней стороны цилиндрическосегментнообразной формы, параллельной плоскостям кривых поверхностей 131 (фиг.24) в верхней их части, служащей для установки оси 136 (фиг.24) в виде круглого сплошного стержня с головкой прямоугольнообразной формы с скруглениями по концам, переходящего ступенчато в цилиндрическую поверхность с резьбой с насаженной на нее гильзой 137 (фиг.2), припаянной к нижним горизонтальным поперечинам 6, 7 (фиг.2) в виде полого трехступенчатого цилиндра, два из которых по концам служат гнездами для закрытых запрессованных подшипников 138 (фиг.3) с последующим их закреплением самоконтрящейся гайкой, а в верхней ее части выполнена цилиндрическая канавка под декоративную пластмассовую пробку 139 (фиг.2), выполненную с внутренней стороны в виде полого усеченного конуса с меньшим глухим основанием во внутрь, а с внешней – с фаской, переходящей соответственно в цилиндрическую поверхность, по размерам соответствующую размерам цилиндрической канавки гильзы 137 (фиг.2), в канавку в виде ступенчатой цилиндрической поверхности, цилиндрическую поверхность, соответствующую наружному диаметру гильзы 137 (фиг.2), переходящую в усеченный конус. В верхней части гильзы 137 (фиг.2) параллельно нижним горизонтальным поперечинам 6, 7 (фиг.2) припаяна к передним вертикальным стойкам 8, 9 (фиг.2) перемычка 140 (фиг.2) для ремня, служащего опорой для ног при съеме или разворачивании съемных подножек 91, 92 (фиг.2). На верхних горизонтальных поперечинах 4, 5 (фиг.2) с внешней стороны выполнены продольные глухие пазы 141 (фиг.2) эллипсообразной формы, сужающиеся в поперечном сечении, для установки ручного рычажного тормоза 142 (фиг.2) и предотвращения проворачивания его вокруг них, служащие для стопорения больших приводных металлических велосипедных колес 12, 13 (фиг.2). Для надежного затормаживания больших приводных металлических велосипедных колес 12, 13 (фиг.2) необходимо рукоятку 143 (фиг.2) ручного рычажного тормоза 142 (фиг.2) отжать от большого приводного металлического велосипедного колеса 12, 13 (фиг.2) до упора, при этом происходит прижим рычага 144 (фиг.2) ручного рычажного тормоза 142 (фиг.2) к покрышке приводных велосипедных колес 12, 13 (фиг.2).
В местах крепления больших металлических велосипедных или пластмассовых приводных колес 12, 13 (фиг.2) со штурвалами 14, 15 (фиг.1) смонтирован механизм быстрого съема и фиксации 145 (фиг.1), состоящий из втулки 146 (фиг.26) с лыской 147 (фиг.26) цилиндрическосегментнообразной формы, впаянной перпендикулярно в задней вертикальной стойке – спинке 10, 11 (фиг.2) на расстоянии от нижних горизонтальных поперечин 6, 7 (фиг.2) 55 мм с внутренним отверстием 148 (фиг.26), равным по диаметру участка за концом оси с резьбой большого приводного колеса 12, 13 (фиг.2) с внутренней стороны между полурамами 2, 3 (фиг.2), вставляемой в нее, выполненного в виде цилиндрического стержня, ступенчато переходящего соответственно в цилиндрический упорный участок 149 (фиг.1) двумя лысками прямоугольнообразной формы, расположенной между боковой рамой 2 (фиг.2) и большим колесом 12 (фиг.2), служащий для предотвращения соприкосновения его с боковой рамой 2 (фиг.2) и проворачивания оси, в цилиндрический стержень, переходящий в стержень с резьбой со шлицем, с установленными на нее с одной стороны большим приводным колесом 12 (фиг.2) со ступицей 150 (фиг.1) с залитой в ней трехступенчатой металлической втулкой с гнездами по концам под подшипники с внешней стороны, с шайбой с внутренним усиком прямоугольнообразной формы, самоконтрящейся гайкой, декоративным колпачком 151 (фиг.1) в виде полого усеченного конуса, переходящего в круговую поверхность с внутренней отбортовкой под внешнюю ступицу большого колеса, закрепленную к ней двумя винтами, диаметрально расположенными под крестообразную отвертку, а с другой – завернутой пластмассовой рукояткой звездообразной формы 152 (фиг.1) с залитой в ней гайкой, предотвращающей проворачивание оси при ее закручивании с помощью лыски 147 (фиг.26) втулки 146 (фиг.26), стопорной пружинной шайбой, опирающуюся одним концом во втулку 146 (фиг.26), другим – в рукоятку звездообразной формы 152 (фиг.1), исключающей ее самопроизвольное раскручивание. Кресло-коляска используется для перемещения следующим образом. Пользователь должен вначале застопорить большие приводные велосипедные металлические или пластмассовые колеса 12, 13 (фиг.2) со штурвалами 14, 15 (фиг.1) с помощью ручного рычажного тормоза 142 (фиг.2), затем пользователь перемещается с кровати на кресло-коляску, предварительно сняв один или оба съемных подлокотника 42 (фиг.2), утопив кнопку 81 (фиг.17) пружинного фиксатора 80 (фиг.17), а также убрав или развернув в сторону малых пластмассовых передних поворотных колес 16, 17 (фиг.2) до соприкосновения с ними съемные подножки. Устроившись поудобнее в кресле-коляске, пользователь возвращает на место подлокотники 42 (фиг.2), зафиксировав их пружинным фиксатором 80 (фиг.17), съемные подножки 91, 92 (фиг.2), заблокировав их, установив фиксирующую ручку 113 (фиг.22) в горизонтальное положение, затем опускает ручные рычажные тормоза 142 (фиг.2). Пользователь начинает движение кресла-коляски или самостоятельно, приводя во вращение большие приводные металлические велосипедные колеса 12, 13 (фиг.2) с помощью штурвалов 14, 15 (фиг.1) или пользуясь услугами сопровождающего, который осуществляет движение кресла-коляски с помощью Г-образных пластмассовых ручек. В стесненных условиях (в дверях квартиры или лифта), то есть там, где кресло-коляска не может пройти по длине, пользователь или сопровождающий могут уменьшить ее длину за счет снятия подножек 91, 92 (фиг.2), в результате чего кресло-коляска уменьшается по длине и свободно проезжает в стесненных условиях и обеспечивается разворотом в узких местах, при этом в качестве опор для ног предусмотрен ремень. По желанию пользователя могут быть сняты один или оба подлокотника 42 (фиг.2), что обеспечивает боковую высадку и посадку в кресло-коляску, а также подъезд вплотную к столу, раковине и т.п.
Выполнение малых поворотных передних пластмассовых колес 16, 17 (фиг.2) со ступицей неразъемной цельной 119 (фиг.24) и с ободом 122 (фиг.24) трапецеидальной формы с надетой на него монолитной резиновой шиной, в виде единой монолитной, облегченной, упрощенной конструкции позволили снизить трудоемкость изготовления и сборки всего кресла-коляски. Замена соответственно четырех телескопических соединений на верхних горизонтальных трубчатых элементах полурам в прототипе соответственно на упрощенные и облегченные по конструкции технологии изготовления и сборки передние кронштейны 32 (фиг.2), задние 33 (фиг.2) в предлагаемом изобретении, шарнира, сложного по конструкции и технологии изготовления, соединяющего между собой две боковые полурамы, на звенья двутавровой формы 18, 19 (фиг.1, 3), сложных фигурных по конструкции нижних горизонтальных трубчатых элементов на нижние горизонтальные поперечины 6, 7 (фиг.2), сложных кронштейнов на съемной подножке в верхней части и на вертикальных передних стойках полурам на кронштейны 83, 84 (фиг.2), 86, 87 (фиг.3), 88, 89 (фиг.3), 104, 105 (фиг.2), 107, 108 (фиг.2), установленные на вертикальных передних стойках и в верхних частях съемных подножек 90, 91 (фиг.2) с установленным между ними в последних бономом 111 (фиг.22) с фиксирующей ручкой 113 (фиг.2), позволили уменьшить вес, металлоемкость, улучшить технологию изготовления и сборки предлагаемого кресла-коляски. Отсутствие в предлагаемом изобретении по сравнению с прототипом третьей пары дополнительных малых колес, механизмов съема съемных подножек и спинки и перестановки их местами, кулачкового механизма бесступенчатой регулировки полумягких опор на дополнительных стойках съемных подлокотников по высоте, ушка, расположенного на каждом трубчатом верхнем горизонтальном элементе П-образной скобы съемных подлокотников, который служит для домкрата, служащего для сужения ширины кресла-коляски в стесненных условиях (в дверях квартиры или лифта), спинки-стойки, сложных по конструкции кронштейнов на задней вертикальной стойке и спинки – стойке позволили уменьшить вес до 19 кг по сравнению с прототипом (25 кг), металлоемкость, улучшить технологию изготовления и сборки предлагаемой кресла-коляски. Поворот съемных подножек 91, 92 (фиг.2) на 180° в сторону малых пластмассовых поворотных передних колес 16, 17 (фиг.2) до соприкосновения с ними обеспечивает удобство и комфортность пользователю при посадке и высадке из кресла-коляски.
По предлагаемому изобретению разработаны рабочие чертежи, изготовлен опытный образец, проведены стендовые испытания, которые подтвердили надежность, долговечность, ремонтопригодность и безопасность использования, а также возможность постановки изделия на серийное производство в 2005 году.
Формула изобретения
1. Кресло-коляска, содержащее боковые полурамы с колесами, соединенные между собой ножницеобразными трубчатыми элементами и шарнирно соединенные осью, сиденье, съемные подножки с пластмассовой опорой, спинку, подлокотники, отличающееся тем, что снабжено двумя звеньями двутавровой формы, соединяющими между собой две боковые полурамы, двумя передними и задними кронштейнами, установленными на боковых полурамах в местах пересечения передних вертикальных стоек и задних – спинок с верхними горизонтальными поперечинами, четырьмя тягами и четырьмя замками, установленными с одного конца соответственно по две на каждом среднем трубчатом элементе звеньев, на верхних горизонтальных поперечинах по два на каждой и закрепленные между собой с других концов, кронштейнами, расположенными соответственно по три на каждой передней вертикальной стойке, по два на каждой в верхних частях внешней трубы съемных подножек с установленными между ними механизмом их фиксации, амортизатором, большими приводными металлическими велосипедными или пластмассовыми колесами с механизмом быстрого их съема, малыми передними поворотными пластмассовыми колесами.
2. Кресло-коляска по п.1, отличающееся тем, что звенья двутавровой формы, состоящие каждый из трех трубчатых элементов: нижнего, установленного между двумя трубчатыми элементами со сквозными отверстиями в нижней трубчатой горизонтальной поперечине полурам на оси, изготовленной из трубы и расположенной внутри выше упомянутых трубчатых элементов, закрепленной двумя болтами к двум последним, верхнего, служащего опорным трубчатым элементом сиденья, среднего, соединяющего между собой нижний, верхний элементы, соединены осью с шайбами между ними и по концам.
3. Кресло-коляска по п.1, отличающееся тем, что два передних кронштейна выполнены в виде параллелепипедообразной формы с полукруглыми углублениями соответственно по формам верхних горизонтальных поперечин полурам в нижней его гране, передних вертикальных стоек в боковой передней гране, опорных трубчатых элементов в верхней гране ступенчато расположенным на расстоянии половины их диаметра с выполненным в нем сквозным ступенчатым отверстием под винт.
4. Кресло-коляска по п.1, отличающееся тем, что два задних кронштейна выполнены в виде параллелепипедообразной формы с полукруглыми углублениями по формам соответственно задних вертикальных стоек – спинок в боковой задней гране, верхних горизонтальных поперечин в нижней гране и сквозным отверстием под редуцированный и завальцованный конец подлокотника в верхней гране, ступенчато переходящей на расстоянии половины диаметра опорного трубчатого элемента в полукруглое углубление по его форме со сквозным ступенчатым отверстием под винт.
5. Кресло-коляска по п.1, отличающееся тем, что тяги, установленные внешними сторонами параллельно между собой выше точки – места соединения звеньев по две на каждом среднем рубчатом элементе, на расстоянии, определяемом экспериментально-опытным и расчетным путем, выполнены в виде швеллерообразной формы переходящей плавно с одного конца в глухой выступ прямоугольной формы с выполненным в его средней части выступом параллелепипедообразной формы со сквозным отверстием в боковых гранях для закрепления замков, переходящие в трапециевидные пазы с углом профиля, равным 30°, а в передней гране – с прямоугольным пазом, переходящим в цилиндрические поверхности с радиусом, равным 11,2 мм, заканчивающихся параллельными плоскостями прямоугольной формы, а с другого – в сужающий швеллер с тремя объемными бобышками элипсообразной формы со сквозными отверстиями для крепления к среднему трубчатому элементу, служащие для регулирования ширины кресла-коляски, с двумя полыми углубленными поверхностями между ними.
6. Кресло-коляска по п.1, отличающееся тем, что замки выполнены в виде незамкнутого кольца с внутренним радиусом, равным 11,2 мм, переходящего ступенчато с внутренней стороны в трапециевидные выступы с углом профиля, равным 30°, и со сквозными отверстиями в них, с помощью которых замки после установки верхних горизонтальных поперечин в их незамкнутые кольца по два на каждой и последующего их заведения в трапециевидные пазы тяг крепятся болтами к ним.
7. Кресло-коляска по п.1, отличающееся тем, что на каждой передней вертикальной стойке полурам с внешней стороны, в месте пересечения с каждой из верхней горизонтальной поперечины полурам расположены по одному на каждой кронштейну под углом 120° относительно боковой поверхности последних в виде листовой стальной пластины, заканчивающейся скруглением с радиусом скругления 1,0 см с развальцованной осью в центре, а параллельно последним на расстоянии 100 мм расположены на одной оси такие же кронштейны, между вышеуказанными кронштейнами на расстоянии 30 мм от нижних расположены кронштейны в виде прямоугольных пластин, согнутых под углом 45° относительно его плоскости, со скруглениями по концам и с отверстием в центре, а сами кронштейны расположены под углом 90° относительно боковой плоскости передних вертикальных стоек.
8. Кресло-коляска по п.1, отличающееся тем, что в верхних частях внешней трубы съемных подножек под углом к плоскости гиба, равным 39°30′, установлены кронштейны по одному на каждой в виде листовой пластины, заканчивающиеся округлением с радиусом скругления 1,0 см, с отверстием в центре, а параллельно последним на расстоянии 100 мм установлены на одной оси такие же кронштейны, между вышеуказанными кронштейнами расположен механизм фиксации съемных подножек, состоящий из втулки со сквозным ступенчатым отверстием с фасками по концам, впаянной во внешнюю трубу съемных подножек на расстоянии от нижних кронштейнов, равном 30 мм, с установленным в ней бономом в виде цилиндрического стержня с цилиндрическим выступом с фасками по краям с одного конца, переходящего в три ступенчатые цилиндрические поверхности с выполненной на второй двумя лысками, заканчивающегося резьбой на третьей с другого конца, с установленными на нем цилиндрической пружины сжатия, упирающейся одним концом в выступ сквозного ступенчатого отверстия втулки, а вторым – в цилиндрический выступ бонома, и фиксирующей ручки, закрепленной самоконтрящейся гайкой, выполненной с одного конца в виде цилиндрической втулки, ступенчато переходящей с внутренней стороны соответственно в сквозное отверстие прямоугольнообразной формы с скруглением по концам, служащее для установки ее на вторую ступенчатую цилиндрическую поверхность с двумя лысками бонома, а с противоположной внутренней стороны – в полукруглое углубление по форме внешней трубы съемной подножки, плавно переходящей в плоскую рукоятку.
9. Кресло-коляска по п.1, отличающееся тем, что выше механизма фиксации съемных подножек в задних их верхних боковых поверхностях с расстоянием 50 мм от нижних плоскостей нижних кронштейнов установлены резиновые амортизаторы, выполненные в виде цилиндрической втулки со ступенчатыми отверстиями под винты саморезы.
10. Кресло-коляска по п.1, отличающееся тем, что в местах крепления больших металлических велосипедных или пластмассовых приводных колес со штурвалами смонтирован механизм быстрого съема и фиксации, состоящий из втулки с лыской цилиндрическосегментнообразной формы, впаянной перпендикулярно в задней вертикальной стойке – спинке на расстоянии от нижних горизонтальных поперечин 55 мм с внутренним отверстием, равным по диаметру участка, расположенного за концом оси с резьбой большого приводного колеса с внутренней стороны между полурамами, вставляемой в нее, выполненного в виде цилиндрического стержня, ступенчато переходящего соответственно в цилиндрический упорный участок с двумя лысками прямоугольнообразной формы, расположенный между боковой рамой и большим колесом, служащий для предотвращения соприкосновения его с боковой рамой и проворачивания оси, в цилиндрический стержень, переходящего в стержень с резьбой со шлицем, с установленными на нее с одной стороны большим приводным колесом со ступицей с залитой в ней трехступенчатой металлической втулкой с гнездами по концам под подшипники с внешней стороны, с шайбой с внутренним усиком прямоугольнообразной формы, самоконтрящейся гайкой, декоративным колпачком в виде полого усеченного конуса, переходящего в круговую поверхность с внутренней отбортовкой под внешнюю ступицу большого колеса, закрепленную к ней двумя винтами, диаметрально расположенных под крестообразную отвертку, а с другой – завернутой пластмассовой рукояткой звездообразной формы с залитой в ней гайкой, предотвращающей проворачивание оси при ее закручивании с помощью лыски втулки цилиндрическосегментообразной формы, стопорной пружинной шайбой, упирающуюся одним концом во втулку, другим – в рукоятку звездообразной формы, исключающей ее самопроизвольное раскручивание.
11. Кресло-коляска по п.1, отличающееся тем, что малые поворотные передние пластмассовые колеса со ступицей неразъемной, цельной в виде цилиндрической трехступенчатой втулки, две из которых по концам служат гнездами для закрытых запрессованных подшипников, со спицами крестообразной формы в поперечном сечении с окнами треугольнообразной формы с закруглениями при вершине, переходящие в обод в виде двух цилиндрическообразных втулок по концам и канавкой трапецеидальной формы с углом профиля, равным 30°, всередине с надетой на него монолитной резиновой шиной в виде цилиндрическообразной втулки с выступом с внутренней стороны всередине трапецеидальной формы, с внешней стороны – с шипами, установлены на ось с высаженной головкой с одного конца и резьбой – с другого и в вилку с шайбами с двух сторон, выполненной в виде П-образной объемной формы из листовой стали, верхняя полка которой выполнена в виде прямоугольнообразной формы с закруглением по концам, переходящее с радиусами в серповидно-вогнутые с передней стороны и выпуклые – с задней стороны кривые поверхности с ребрами жесткости по длине по одному на каждой, повторяющими их форму, с внутренней стороны вогнутые и выпуклые – с внешней и заканчивающимися скруглением на конце с отверстием под ось малого переднего поворотного колеса, а с двух противоположных сторон – с отбортовкой и впаянной в центре цилиндрической втулки со сквозным отверстием, с выступающими концами, с двумя противоположными лысками цилиндрическосегментообразной формы с нижней стороны параллельными плоскостям кривых поверхностей в верхней их части, служащие для установки оси в виде круглого сплошного стержня с головкой прямоугольнообразной формы с скруглениями по концам, переходящей ступенчато в цилиндрическую поверхность с резьбой с насаженной на нее гильзой, припаянной к нижней горизонтальной поперечине в виде полого трехступенчатого цилиндра, два из которых по концам служат гнездами для закрытых подшипников с последующим их закреплением самоконтрящейся гайкой, а в верхней ее части выполнена цилиндрическая канавка под декоративную пластмассовую пробку, выполненную с внутренней стороны в виде полого усеченного конуса с меньшим глухим основанием вовнутрь, а с внешней – с фаской, переходящей соответственно в цилиндрическую поверхность по размерам, соответствующую размерам цилиндрической канавки гильзы, в канавку в виде ступенчатой цилиндрической поверхности, цилиндрическую поверхность, соответствующую наружному диаметру гильзы, переходящую в усеченный конус.
РИСУНКИ
MM4A – Досрочное прекращение действия патента СССР или патента Российской Федерации на изобретение из-за неуплаты в установленный срок пошлины за поддержание патента в силе
Дата прекращения действия патента: 12.04.2007
Извещение опубликовано: 20.07.2008 БИ: 20/2008
|
|