|
|
(21), (22) Заявка: 2003107095/14, 07.08.2001
(24) Дата начала отсчета срока действия патента:
07.08.2001
(30) Конвенционный приоритет:
15.08.2000 (пп.1-28) US 09/642,207
(43) Дата публикации заявки: 20.07.2004
(45) Опубликовано: 10.03.2006
(56) Список документов, цитированных в отчете о поиске:
ЕР 0622063 А, 02.11.1994. US 5620431 А, 15.04.1997. RU 94027289 A1, 10.08.1996.
(85) Дата перевода заявки PCT на национальную фазу:
17.03.2003
(86) Заявка PCT:
US 01/41593 (07.08.2001)
(87) Публикация PCT:
WO 02/13749 (21.02.2002)
Адрес для переписки:
103064, Москва, ул. Казакова,16, НИИР Канцелярия “Патентные поверенные Квашнин, Сапельников и партнеры”, В.П.Квашнину
|
(72) Автор(ы):
ПОПП Роберт Ли (US), КОЭНЕН Джозеф Ди (US), КУЕРЕШИ Шаун Эй (US), ВОУГТ Роберт Юджин (US)
(73) Патентообладатель(и):
КИМБЕРЛИ-КЛАРК ВОРЛДВАЙД, ИНК. (US)
|
(54) ВПИТЫВАЮЩИЙ ПРЕДМЕТ ОДЕЖДЫ ТИПА ТРУСОВ, СОДЕРЖАЩИЙ ИЗОГНУТЫЕ МАНЖЕТЫ ДЛЯ НОГ
(57) Реферат:
Изобретение относится к медицине. Впитывающий предмет одежды типа трусов, содержащий изогнутые манжеты для ног, обеспечивает подгонку с уплотнением. В основной детали впитывающего предмета одежды сформированы первое и второе отверстия для ноги с изогнутыми вырезами основной детали. Соединенный участок расположен между первым участком и вторым участком каждой из двух эластичных прядей. Соединенные участки соединены с первым и вторым отверстиями для ног вдоль наружного контура изогнутых вырезов, формируя, таким образом, законченные швы. На вторых участках эластичных прядей могут быть сформированы завернутые края. Полученный в результате впитывающий предмет одежды имеет удобную, плотную подгонку и эстетически приятный, законченный вид вокруг отверстий для ног. 4 н. и 24 з.п. ф-лы, 8 ил. 
ОБЛАСТЬ ТЕХНИКИ
Настоящее изобретение направлено на впитывающие предметы одежды личной гигиены типа трусов, имеющие эстетически приятные и полностью функциональные манжеты для ног. Манжеты для ног выполнены изогнутыми, благодаря чему обеспечивается эффект уплотнения.
УРОВЕНЬ ТЕХНИКИ
Впитывающие предметы одежды типа трусов, такие, как одежда для взрослых, страдающих недержанием, а также подгузники для младенцев, тренировочные трусы, купальные костюмы, обычно содержат пару отверстий для ног, имеющих эластичный участок вокруг каждого отверстия. Эластичные участки предназначены для обеспечения плотного обтягивания ног пользователя для предотвращения протечек из предмета одежды.
Однако изделиям, включающим традиционные эластичные края и традиционные конфигурации барьерного клапана вокруг отверстий для ног, присущи различные недостатки. Например, при ношении таких изделий трудно предотвратить образование следов на коже пользователя и трудно поддерживать требуемый уровень уплотнения отверстий для ног. Даже когда отверстия для ног снабжены эластичным материалом или им была придана эластичность другим способом, в них трудно обеспечивается поддержание контакта между отверстием для ноги и телом пользователя для обеспечения эффективного удержания мочи и фекалий. В результате остается потребность в улучшенных удерживающих структурах впитывающих изделий в области ног.
Существует потребность или желание создать впитывающий предмет одежды, содержащий удобные уплотняющие отверстия для ног, которые имели бы эстетически приятный вид, обеспечивали совершенную защиту от протечек и устраняли необходимость использования отдельно прикрепляемых эластичных элементов для ног под верхним слоем предмета одежды.
КРАТКОЕ ОПИСАНИЕ ИЗОБРЕТЕНИЯ
Настоящее изобретение направлено на впитывающий предмет одежды типа трусов, такой, как тренировочные трусы, купальный костюм, подгузник, предмет одежды для больных, страдающих недержанием, или аналогичное впитывающее средство, содержащее изогнутые манжеты для ног, которые позволяют сформировать удобные, гибкие, эстетически приятные отверстия для ног. Кроме того, получаемые в результате отверстия для ног имеют выступающий эластичный участок, который хорошо облегает и обеспечивает уплотнение. Форма, повторяющая контур отверстий для ног, улучшает подгонку к ногам пользователя и устраняет необходимость использовать отдельно прикрепляемые эластичные элементы для ног под верхним слоем предмета одежды.
Для обеспечения отличной подгонки, эстетического внешнего вида и устранения возможности протечки вокруг всей области ноги на область отверстия для ног одноразовых трусов может наложена эластичная лента, выполненная либо из композитного эластичного материала или в виде полоски эластичного материала. Это выполняется путем прикрепления эластичной полоски посредством теплового или адгезивного соединения в виде линии или отдельных соединительных участков вокруг всего отверстия для ноги. Такая соединенная область смещена от центра эластичной ленты и эластичный материал либо растягивают перед нанесением для обеспечения натяжения эластичного материала, либо материалу придают эластичные свойства во время этапа активации. Когда эластичной ленте позволяют образовать сборку вокруг области соединения, она естественно передвигается в направлении отверстия для ноги. Эластичный элемент перемещается в этом направлении, поскольку оно представляет собой путь наименьшего сопротивления для эластичного элемента для достижения ослабленного состояния, собираясь в форме наименьшего возможного круга.
Получаемое в результате изделие представляет собой впитывающий предмет одежды, имеющий удобные, обеспечивающие подгонку по форме отверстия для ног с законченным внешним видом вокруг отверстий для ног. Настоящее изобретение обеспечивает изогнутые зафиксированные манжеты для ног.
Учитывая вышесказанное, настоящее изобретение направлено на впитывающий элемент одежды с изогнутыми манжетами для ног.
Кроме того, настоящее изобретение направлено на впитывающий предмет одежды, имеющий отверстия для ног, типа уплотнение.
Помимо этого, настоящее изобретение направлено на впитывающий предмет одежды, содержащий удобные и имеющие эстетичный внешний вид отверстия для ног.
КРАТКОЕ ОПИСАНИЕ ЧЕРТЕЖЕЙ
На фиг.1 показан вид сбоку в перспективе впитывающего предмета одежды;
на фиг.2 показан вид сверху подложки, представляющей пару скрытых изогнутых манжет для ног, соединенных с подложкой;
на фиг.3 показан вид спереди впитывающего предмета одежды, представляющий соединение манжет для ног с подложкой;
на фиг.4 показан вид спереди впитывающего предмета одежды, представляющий элементы манжет для ног с завернутыми краями;
на фиг.5 показан вид в разрезе неактивированной наложенной манжеты для ноги для использования в процессе активации в плоском состоянии;
на фиг.6 показан вид в сечении неактивированной наложенной манжеты для ноги для использования в процессе наложения под углом на 90 градусов;
на фиг.7 показан вид в сечении активированной наложенной манжеты для ноги;
на фиг.8 показан вид сверху впитывающего изделия по фиг.1 в частично разобранном растянутом плоском состоянии, так что показана поверхность изделия, которая обращена к телу пользователя при ношении изделия, с частями, представленными в разрезе, так, чтобы показать расположенные ниже элементы.
ОПРЕДЕЛЕНИЯ
В контексте настоящего описания каждый термин или фраза, приведенные ниже, будут включать следующее значение или значения.
“Соединенный” относится к присоединению, приклеиванию, объединению, прикреплению или подобному двух элементов. Два элемента будут рассматриваться как соединенные вместе, когда они непосредственно или опосредованно соединены друг с другом, как, когда каждый из них непосредственно соединен с промежуточными элементами.
“Изогнутый” относится к отверстию, ленте, клапану или краю, по меньшей мере, участок которых выполнен изогнутым, то есть имеет некоторый радиус кривизны и проходит по дуге, по меньшей мере, 30°. Предпочтительно отверстие, лента, клапан или край имеют изгиб, проходящий по дуге, по меньшей мере, 90°, более предпочтительно, по меньшей мере, 180°.
“Одноразовый” относится к изделиям, которые разработаны таким образом, чтобы их можно было выбрасывать после ограниченного использования вместо стирки или другого восстановления для повторного использования.
“Эластичный”, “эластифицированный” и “эластичность” означает свойство материала или композита, благодаря которому он имеет тенденцию восстановления исходного размера и формы после устранения усилия, вызывающего деформацию.
“Эластомерный” относится к материалу или композиту, который может быть удлинен, по меньшей мере, на 25 процентов по отношению к его длине в ослабленном состоянии, и который будет восстанавливать после освобождения приложенного усилия, по меньшей мере, 10 процентов его удлинения. Обычно предпочтительно, чтобы эластомерный материал или композит имел возможность удлинения, по меньшей мере, на 100 процентов, более предпочтительно, по меньшей мере, на 300 процентов по сравнению со своей длиной в ослабленном состоянии и восстанавливал после освобождения прилагаемого усилия, по меньшей мере, 50 процентов своего удлинения.
“Пленка” относится к термопластичной пленке, изготовленной с использованием процесса экструдирования пленки и/или вспенивающего процесса, такого как экструзия с раздувом. Термин включает пленки с отверстиями, пленки с прорезями и другие пористые пленки, которые составляют пленки, обеспечивающие передачу жидкости, а также пленки, которые не пропускают жидкость. Термин также включает материалы в виде пленок из вспененных материалов с открытыми ячейками.
“Гидрофильный” описывает волокна или поверхности волокон, которые смачиваются водными жидкостями при контакте с волокнами. Степень смачивания материалов, в свою очередь, может быть описана с использованием краевых углов смачивания, поверхностного натяжения жидкостей и соответствующих материалов. Оборудование и технологии, используемые для измерения смачиваемости конкретных волокнистых материалов или смесей волокнистых материалов, могут обеспечиваться системой анализатора поверхностных сил Cahn SFA-222, или, по существу, эквивалентной системой. При измерении с помощью этой системы волокна, имеющие краевые углы смачивания меньше 90°, обозначаются как “смачиваемые” или гидрофильные, в то время как волокна, имеющие контактные углы, превышающие 90°, обозначаются как “несмачиваемые” или гидрофобные.
“Слой” при использовании в единственном числе может иметь двойное значение, обозначая один элемент или множество элементов.
“Манжета для ноги” обозначает эластичные элементы, устанавливаемые вокруг ноги, которые прикрепляют к подложке вдоль длины эластичного материала так, чтобы часть материала по ширине была не закреплена и могла свободно передвигаться по отношению к подложке.
“Эластичные элементы для ног” включают эластичные ленты, полоски, пленки, тесемки, композитные материалы, нити, пучки нитей и т.п., смежные отверстиям элемента одежды, в которые проходят ноги пользователя.
“Непроницаемый для жидкости” при использовании для описании слоя или многослойной структуры, означает, что жидкость, такая как моча, не проходит через слой или многослойную структуру при обычных условиях использования в направлении, в общем, перпендикулярном плоскости слоя или многослойной структуры, в точке контакта жидкости. Жидкость или моча может распределяться или может переноситься параллельно плоскости непроницаемого для жидкости слоя или многослойной структуры, но этот случай не рассматривается в пределах значения термина “непроницаемый для жидкости” при использовании в настоящем описании.
“Материал, проницаемый для жидкости” или “материал, проницаемый для воды” обозначает материал, составленный из одного или нескольких слоев, таких как пленка, нетканое полотно или вспененный материал с открытыми ячейками, который выполнен пористым и является проницаемым для воды, поскольку вода и другие водные жидкости проходят через поры. Поры, сформированные в пленке или вспененном материале, или промежутки между волокнами или нитями в нетканом полотне являются достаточно большими и расположены достаточно часто, чтобы обеспечить протечку и поток воды в жидкой фазе через материал.
“Продольный” и “поперечный” имеют свое общепринятое значение, как обозначено продольными и поперечными осями, представленными на фиг.8. Продольная ось проходит в плоскости изделия и, в общем, параллельна вертикальной плоскости, которая разделяет стоящего пользователя пополам на левую и правую половины его тела при надетом изделии. Поперечная ось проходит в плоскости изделия, в общем, перпендикулярно продольной оси. Изделие, как показано, выполнено более длинным в продольном направлении, чем в поперечном направлении.
“Волокна, выдуваемые из расплава”, означает волокна, сформированные путем экструдирования расплавленного термопластичного материала через множество мелких, обычно круглых, капилляров головки в виде расплавленных нитей или волокон в сходящиеся высокоскоростные потоки нагретого газа (например, воздуха), который растягивает волокна расплавленного термопластичного материала, чтобы уменьшить их диаметр, так что они могут иметь диаметр микроволокон. После этого волокна, выдуваемые из расплава, переносятся высокоскоростным потоком газа и наносятся на собирающую поверхность для формирования полотна со случайным образом распределенными волокнами, выдуваемыми из расплава. Такой процесс описан, например, в патенте США 3849241 авторов Butin и др. Волокна, выдуваемые из расплава, представляют собой микроволокна, которые могут быть непрерывными или могут иметь разрывы, обычно имеют размер меньше около 0,6 денье и обычно самостоятельно соединяются при нанесении на собирающую поверхность. Волокна, вдуваемые из расплава, используемые в настоящем изобретении предпочтительно по существу, непрерывны по длине.
“Нетканый” и “нетканое полотно” относится к материалам и полотнам материала, которые сформированы без использования процесса ткачества или вязания.
“Часть, выступающая наружу” относится к части клапана, ленты, полоски или другого элемента, которая выступает от другой части элемента под углом в диапазоне около 30-150°, более предпочтительно в диапазоне около 60-120°.
“Усилие отслаивания” и “напряжение при отслаивании” относится к усилиям, которые стремятся оторвать два смежных элемента друг от друга в противоположных направлениях, в общем перпендикулярных к плоскости соединения двух этих элементов.
“Полимеры” включает гомополимеры, сополимеры, такие, как, например, блок-сополимеры, привитые, статистические и чередующиеся сополимеры, тримеры и т.д., а также их смеси и модификации, но не ограничивается ими. Кроме того, если другое не будет специально отмечено, термин “полимер” должен включать все возможные геометрические конфигурации материала. Эти конфигурации включают изотактические, синдиотактические и атактические симметрии.
“Деформация сдвига” относится к силам, которые стремятся произвести противоположное, но параллельное скользящее движение между плоскостями двух элементов.
“Нетканые волокна фильерного способа производства” относится к волокнам с небольшим диаметром, которые сформированы путем экструдирования расплавленного термопластичного материала в виде нитей через множество мелких капилляров фильерного блока, имеющего круглую или другую конфигурацию, так что диаметр экструдируемых нитей быстро уменьшается так, как описано, например, в патенте США 4340563 авторов Appel и др., и в патенте США 3692618 авторов Dorschner и др., патенте США 3802817 авторов Matsuki и др., в патентах США US 3338992 и 3341394 автора Kinney, патенте США 3502763 автора Hartmann, патенте США 3502538 автора Petersen и в патенте США 3542615 авторов Dobo и др., каждый из которых полностью включен сюда путем ссылок. Нетканые волокна фильерного способа производства получаются охлажденными и обычно не слипаются при нанесении на собирающую поверхность. Волокна, получаемые фильерным способом производства, являются, в общем, непрерывными и часто имеют средний размер более 0,3 денье, более конкретно, от около 0,6 до 10 денье.
Термин “растягиваемый” обозначает материал, который может растягиваться без разрыва, по меньшей мере, на 50% (на 150% от его исходной (нерастянутой) длины), по меньшей мере, в одном направлении, предпочтительно, по меньшей мере, на 100% (на 200% от его исходной длины), предпочтительно, по меньшей мере, на 150% (по меньшей мере, на 250% от его исходной длины).
“Поверхность” включает любой слой, пленку, тканый, нетканый, ламинированный, композитный или другой материал, проницаемый или непроницаемый для воздуха, газа и/или жидкостей.
“Напряжение” включает не совпадающую с направлением оси силу, стремящуюся создать растяжение элемента, или уравновешивающую силу в этом элементе, оказывающую сопротивление растяжению.
“Термопластичный” описывает материал, который размягчается под воздействием тепла и который, по существу, возвращается в неразмягченное состояние при охлаждении до комнатной температуры.
Эти термины могут быть определены дополнительно в остальных частях настоящего описания.
ПОДРОБНОЕ ОПИСАНИЕ ПРЕДПОЧТИТЕЛЬНЫХ ВАРИАНТОВ ВОПЛОЩЕНИЯ
Настоящее изобретение направлено на впитывающий элемент одежды типа трусов, содержащий изогнутые манжеты для ног. Изогнутые манжеты для ног, в соответствии с настоящим изобретением, представляют собой эластичные элементы для ног, имеющие выступающие наружу эластичные участки вдоль длины манжет для ног, и соединенные эластичные участки также вдоль длины манжет для ног. Выступающие наружу участки и соединенные участки представляют собой часть единого блока эластичного элемента. Соединенный участок представляет собой часть манжеты для ноги, которая соединена с подложкой. Неприсоединенный участок может продолжаться от соединенного участка под углом или может быть наложен на соединенный участок посредством складки вдоль длины манжеты для ноги. Неприсоединенный участок имеет большую свободу, чтобы реагировать на внутреннее напряжение, когда элемент одежды находится в ослабленном состоянии, чем соединенный участок в связи с тем, что соединенный участок соединен с подложкой в растянутом состоянии, благодаря чему перемещения соединенного участка могут быть ограничены подложкой. Непропорциональная свобода перемещения вдоль длины манжеты для ноги создает изгиб манжеты для ноги. Кроме изгиба, создаваемого непропорциональной свободой перемещения, соединенный участок соединен с подложкой по периферии изогнутого выреза в подложке. Изогнутая форма соединенного участка увеличивает изгиб манжет для ног.
Принципы настоящего изобретения могут использоваться в любом подходящем одноразовом впитывающем изделии. Примеры таких подходящих изделий включают подгузники, тренировочные брюки, изделия для гигиены женщин, изделия для больных, страдающих недержанием, другие изделия личной гигиены или элементы одежды для больных и тому подобное. Используемый здесь термин “изделия для больных, страдающих недержанием” включает впитывающее нижнее белье для детей, впитывающие элементы одежды для детей или подростков со специальными потребностями, таких как дети, страдающие аутизмом, или других с проблемами контроля мочевого пузыря/кишечника в результате физических недостатков, а также впитывающие предметы одежды для престарелых людей, страдающих недержанием.
Для упрощения пояснения приведенное ниже описание будет выполнено в отношении тренировочных трусов для детей.
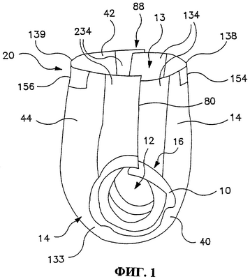
На фиг.1 одноразовое впитывающее изделие, такое как тренировочные трусы 20, изображено в скрепленном состоянии. Манжеты 10 для ног используются вокруг отверстий 12 для ног тренировочных трусов 20 для уменьшения или предотвращения протечек. Основная деталь 14 образует отверстия 12 для ног и отверстие 13 для талии. Когда манжеты 10 для ног выполнены изогнутыми, как в настоящем изобретении, манжеты 10 для ног обеспечивают лучшую подгонку к форме, чем эластичные элементы для ног с прямыми краями. Термин “эластичные элементы для ног с прямыми краями” относится к обычным элементам для ног без выступающей наружу части, которые полностью соединены вдоль всей длины с прямым краем подложки. Кроме того, изогнутые манжеты 10 для ног, в соответствии с настоящим изобретением, создают уплотнение. Термин “уплотнение” относится к средству, которое используется для блокирования протечки жидкости вокруг отверстий для ног между предметом одежды и ногами пользователя. В результате отверстия 12 для ног собираются с малым натяжением, поскольку отверстия 12 для ног не должны преодолевать усилия, направленные со стороны основной детали 14, которые должны преодолевать эластичные элементы для ног с прямыми краями. Низкое натяжение и подгонка по форме позволяют получить впитывающее изделие 20 с улучшенным комфортом. Кроме того, изогнутые манжеты 10 для ног имеют законченный шов 16 в месте присоединения к основной детали 14, что позволяет обеспечить эстетически приятный внешний вид.
Подложка 40, показанная на фиг.2, обычно представляет собой подкладку 42 или наружное покрытие 44 впитывающего элемента 20 одежды (фиг.1). Как показано на фиг.2, подложка 40 предпочтительно имеет изогнутый вырез вдоль, по меньшей мере, одного края 46. Термин “изогнутый вырез” относится к любому вырезу, имеющему изогнутый край, который может включать один материал, вырезанный так, что формируется вырез, или несколько материалов, которые соединены вместе для образования формы выреза. Соединенная область 54, в которой манжета 10 для ноги соединена с подложкой, приблизительно параллельна форме изогнутого выреза области для ноги. Параллельная линия соединенной области 54 проходит в направлении центра изделия, обеспечивая соединенную область 54 с большим радиусом по сравнению с отверстием для ноги. Больший радиус приводит к тому, что манжета 10 для ноги собирается к центру отверстия для ноги при использовании в качестве трусов, при этом позволяя усадку манжеты 10 для ноги, так что она в изделии принимает наиболее свободное состояние. Перед тем как манжета 10 для ноги будет соединена с подложкой 40, изогнутый вырез выравнивают с соединенной областью 54 на манжете 10 для ноги, как показано на фиг.2. В результате первый участок 38 манжеты 10 для ноги соединен с подложкой 40 вдоль края, смежного изогнутому вырезу. Подложка 40 предпочтительно выполнена растягиваемой, при этом обеспечивая большую гибкость и позволяя накладывать манжету 10 для ноги при слабом ее натяжении.
В результате первые участки 38 каждой из манжет 10 для ноги соединяют с подложкой 40 вдоль края, смежного каждому из изогнутых вырезов. Второй участок 39 каждой из манжет 10 для ноги выступает вверх от подложки 40 и служит в качестве уплотнения при последующем использовании предмета 20 одежды, как объяснено ниже. Подложка 40 может иметь непрерывную длину, и в этом случае подложку 40 разрезают на отдельные детали для каждого предмета 20 одежды с последующим процессом соединения.
На фиг.3 показан вид спереди впитывающего элемента 20 одежды с парой изогнутых манжет 10 для ноги, соединенных с подложкой 40, в данном случае с наружным покрытием 44. Каждая из изогнутых манжет 10 для ноги может быть соединена с подложкой 40 либо в ходе выполнения последовательных операций, либо одновременно.
На фиг.4 показан вид спереди впитывающего предмета 20 одежды, на котором показаны изогнутые манжеты 10 для ноги с завернутыми краями 58, образующими J-образную форму. Завернутые края 58 обеспечивают большую прочность и усиление вокруг отверстия 12 для ноги в дополнение к более законченному внешнему виду. На Фиг.5, 6 и 7 также показаны завернутые края 58. Завернутые края 58 содержат двойное количество эластичного материала и, таким образом, обеспечивают двойное напряжение и двойное усилие уплотнения по сравнению с незавернутыми краями. Дополнительная полоска эластичного материала 60 может быть расположена в сгибе завернутых краев 58, как показано на фигурах 5, 6 и 7, для создания еще большего эффекта сборки манжеты 10 для ноги, с меньшей окружностью для получения более эластичного уплотнения. Дополнительная полоска эластичного материала 60 предпочтительно выполнена на основе эластичного материала, который также активируется теплом, как описано в американском патенте №4816094, выданном 28 марта 1989 г. авторам Pomplun и др., который включен сюда путем ссылки. Завернутый край 58 может быть соединен с помощью любого подходящего средства, включая адгезивное соединение, ультразвуковое соединение, тепловое соединение или механическое соединение. Полученный в результате шов 16, показанный на фиг.7, соединяющий манжеты 10 для ног и подложку 40, имеет законченный внешний вид, поскольку края подложки 40 и первого участка манжеты 10 для ног скрыты спереди с одной стороны шва 16.
Первые участки 38 манжеты 10 для ноги могут быть соединены с подложкой 40 посредством ультразвукового соединения, как указано выше, или посредством различных других технологий, включая адгезивное соединение, тепловое соединение, соединение швом или другие традиционные технологии. Подходящие адгезивы включают распыляемые адгезивы, адгезивы горячего плавления, самосклеивающиеся эластомерные материалы и т.п.
Как только манжеты 10 для ног соединены с подложкой 40, края 50 и 51 могут быть соединены с краями 52 и 53 соответственно, как показано на фиг.2, для формирования элемента 20 одежды, показанного на фиг.1. После формирования элемента 20 одежды вторые участки 39 манжет 10 для ног выступают от поверхности элемента одежды. При использовании вторые участки 39 манжет 10 для ног плотно прижимаются к коже пользователя и служат в качестве уплотнений для уменьшения или предотвращения протечек через отверстия элемента 20 одежды.
На фиг.8 впитывающий элемент 20 одежды по фиг.1 показан в частично разобранном растянутом плоском состоянии, так что показана поверхность, которая обращена к телу пользователя при ношении элемента одежды. В дополнение к образованию отверстий 12 для ног и отверстия 13 для талии (фиг.1) впитывающая основная деталь 14 также образует пару поперечно противоположных боковых краев 136 и пару продольно противоположных краев талии, которые обозначены как передний край 138 талии и задний край 139 талии. Основная деталь 14 также включает, в общем, прямоугольную композитную структуру 133, пару поперечно противоположных передних боковых панелей 134, и пару поперечно противоположных задних боковых панелей 234. Композитная структура 133 и боковые панели 134 и 234 могут быть образованы за одно целое, как показано на фиг.2, или могут включать два или более отдельных элементов, как показано на фиг.1 и 8.
Представленная на чертеже композитная структура 133 включает наружное покрытие 44, подкладку 42 со стороны тела, которая соединена с наружным покрытием при наложении на нее, и впитывающая конструкция 144, которая расположена между наружным покрытием 44 и подкладкой 42 со стороны тела. Прямоугольная композитная структура 133 содержит противоположные линейные концевые края 145, которые формируют участки переднего и заднего краев 138 и 139 талии, и противоположные линейные или изогнутые боковые края 147, которые формируют участки боковых краев 136 впитывающей основной детали 14. Отверстия 12 для ног (фиг.1) обычно образованы участками поперечно противоположных боковых краев 136. Для ссылки, стрелки 48 и 49, показывающие ориентацию продольной оси и поперечной оси соответственно тренировочных трусов 20, показаны на Фиг.8.
Проницаемая для жидкости подкладка 42 со стороны тела показана наложенной на наружное покрытие 44 и впитывающую конструкцию 144 (фиг.8) и может, но не обязательно иметь такие же размеры, как наружное покрытие 44. Подкладка 42 со стороны тела предпочтительно выполнена податливой, мягкой на ощупь и не раздражающей кожу ребенка. Кроме того, подкладка 42 со стороны тела может быть в меньшей степени гидрофильной, чем впитывающая конструкция 144 для обеспечения для пользователя относительно сухой поверхности и для того, чтобы жидкость могла свободно проникать через ее толщину.
Впитывающая конструкция 144 (фиг.8) расположена между наружным покрытием 44 и подкладкой 42 со стороны тела, причем этим компоненты могут быть соединены вместе с помощью любых подходящих средств, таких как адгезивы, как хорошо известно в данной области. Впитывающая конструкция 144 может представлять собой любую структуру, которая, в общем, является сжимаемой, удобной, не раздражающей кожу ребенка, и позволяет впитывать и удерживать жидкости и некоторые выделения тела. Впитывающая конструкция 144 может быть изготовлена с использованием широкого разнообразия размеров и форм и с применением широкого разнообразия материалов, впитывающих жидкость, обычно используемых в данной области. Например, впитывающая конструкция 144 соответственно может включать матрицу из гидрофильньных волокон, таких как полотно из целлюлозного пуха, смешанного с частицами материала с высокой впитывающей способностью, который обычно известен как сверхвпитывающий материал. В конкретном варианте воплощения впитывающая конструкция 144 включает матрицу из целлюлозного пуха, такого как пух из древесной пульпы и сверхвпитывающие формирующие гидрогель частицы. Пух из древесной пульпы может быть заменен синтетическими полимерными волокнами, выдуваемыми из расплава, или комбинацией выдуваемых из расплава волокон и натуральных волокон. Сверхвпитывающие частицы могут, по существу, быть равномерно смешаны с гидрофильньными волокнами или могут быть смешаны неравномерно. Пух и сверхвпитывающие частицы также могут быть избирательно размещены в предпочтительных зонах впитывающей конструкции 144 для лучшего содержания и впитывания выделений тела. Концентрация сверхвпитывающих частиц также может изменяться по толщине впитывающей конструкции 144. Альтернативно, впитывающая сборка 144 может включать ламинат из волокнистых полотен и сверхвпитывающий материал или другое подходящее средство удержания сверхвпитывающего материала в локализованной области. Другой тип впитывающего материала, пригодного для впитывающей конструкции 144, представляет собой совместно формируемый материал, который представляет собой смесь волокон штапельной длины и волокон, выдуваемых из расплава, как описано в патенте США 4100324, включенном сюда путем ссылки. Весовое отношение волокон штапельной длины к волокнам, выдуваемым из расплава, может быть в диапазоне между 30 (волокна штапельной длины)/70 (волокна, выдуваемые из расплава) и 90 (волокна штапельной длины)/10 (волокно, выдуваемые из расплава). Волокна из древесной пульпы являются предпочтительными для штапельных волокон, а полипропилен является предпочтительным для волокон, выдуваемых из расплава. Сверхвпитывающие материалы могут быть добавлены к совместно формируемым материалам для повышения емкости.
Подходящие сверхвпитывающие материалы могут быть выбраны из натуральных, синтетических и модифицированных природных полимеров и материалов. Сверхвпитывающие материалы могут быть неорганическими материалами, такими как силикагели, или органическими соединениями, такими как полимеры с поперечными связями. Подходящие сверхвпитывающие материалы поставляются различными коммерческими фирмами, такими как компания Dow Chemical Company, расположенная в городе Мидленд, штат Мичиган, США, и компания Stockhausen GmbH & Co., KG, D-47805 г.Крефелд, Федеративная Республика Германия. Как правило, сверхвпитывающий материал позволяет впитывать, по меньшей мере, около в 15 раз больше воды, чем его собственный вес и предпочтительно позволяет впитывать более чем около в 25 раз больше воды, чем его собственный вес.
В одном из вариантов воплощения впитывающая конструкция 144 имеет по существу прямоугольную форму и включает смесь пуха из древесной пульпы и сверхвпитывающего материала. Один из предпочтительных типов пуха идентифицирован как торговое обозначение CR1654, который поставляется компанией U.S. Alliance, город Чилдерсбург, штат Алабама, США, и представляет собой обесцвеченную сульфатную древесную пульпу с высокой впитывающей способностью, содержащую, в основном, мягкие древесные волокна. Обычно сверхвпитывающий материал присутствует во впитывающей конструкции 144 в количестве от около 0 до около 90 масс. процентов на основе общего веса впитывающей конструкции. Впитывающая конструкция 144 предпочтительно имеет плотность в диапазоне от около 0,10 до около 0,35 грамм на кубический сантиметр. Впитывающая конструкция 144 может быть или может не быть обернута или окружена соответствующей тканевой оберткой, которая поддерживает целостность и/или форму впитывающей конструкции.
Впитывающая основная деталь 14 также может включать другие материалы, которые выполнены прежде всего для приема, временного удержания и/или передачи жидкости вдоль взаимно обращенной поверхности впитывающей сборки 144, таким образом, повышая впитывающую способность впитывающей конструкции. Один из подходящих материалов обозначается как захватывающий слой (не показан) и содержит материал, имеющий вес основы около 50 грамм на квадратный метр и включающий полотно из кардного прочеса, соединенное посредством переплетения в воздушном потоке, из гомогенной смеси, состоящей из 60 процентов двухкомпонентного волокна толщиной 3 денье, содержащего полиэфирную сердцевину/полиэтиленовую оболочку, поставляемое компанией BASF Corporation, и 40-процентов полиэфирного волокна толщиной 6 денье, которое поставляется компанией Hoechst Celanese Corporation, Портсмут, штат Вирджиния, США.
Множество эластичных материалов можно использовать для манжет 10 для ног. Как хорошо известно специалистам в данной области, подходящие эластичные материалы включают листы, пряди или полоски из природного каучука, синтетического каучука или термопластических эластомерных полимеров, таких как экструдированная полиуретановая пленка. Конкретный тип подходящего эластичного материала представляет собой соединенный с растяжением ламинат (SBL), который более подробно описана ниже, со ссылкой на эластичные боковые панели.
Эластичные материалы могут быть растянуты и соединены посредством адгезирования с подложкой, могут соединяться посредством адгезирования с собранной подложкой или могут соединяться с подложкой и затем им могут придаваться свойства эластичности, или они могут подвергаться усадке, например, при приложении тепла; так, чтобы эластичные силы сжатия прикладывались к подложке. Один из способов растяжения эластичных материалов и нанесения их посредством адгезирования на подложку описан в патенте США №4883549, выданном 28 ноября 1989 года (Frost и др.), который включен посредством ссылки. Термоусадочный эластичный материал описан в патенте США №4,640,726, выданном 3 февраля 1987 г. (Sallee и др.), который включен сюда посредством ссылки. В одном конкретном варианте воплощения манжеты 10 для ног включают, например, множество сформованных сухим способом сросшихся многоволоконных эластичных нитей из материала “спандекс”, известного под торговым наименованием LYCRA®, поставляемого компанией E.I.DuPont de Nemours and Company, г.Уилмингтон, штат Делавер, США, адгезивно ламинированных между слоями нетканого материала.
Каждая из манжет 10 для ног предпочтительно имеет ширину около от 0,5 дюйма (1 см) до около 5 дюймов (13 см), более предпочтительно около от 1 дюйма (2,5 см) до около 4 дюйма (10 см) и наиболее предпочтительно около от 1,5 дюйма (4 см) до около 2,5 дюйма (6 см). Вторые участки 39 манжет 10 для ног предпочтительно имеют ширину от около 0,25 дюймов (0,6 см) до около 4 дюйма (10 см), более предпочтительно от около 0,5 дюйма (1 см) до около 3 дюйма (7,5 см), наиболее предпочтительно от около 1 дюйм (2,5 см) до около 2 дюйма (5 см). Длина манжет 10 для ног после того, как они будут вырезаны режущим устройством 34, должна, по существу, покрывать окружность отверстия 12 для ног. Кроме того, каждая из манжет 10 для ног предпочтительно имеет удлинение 25-350%, более предпочтительно около 30-260% и наиболее предпочтительно около 35-200%.
Когда манжеты 10 для ног соединены с наружным покрытием 40, ширина соединенной области 54 составляет от около 1 мм до около 25 мм, предпочтительно от около 3 мм до около 12 мм, более предпочтительно от около 4 мм до около 8 мм. Соединение может осуществляться либо с использованием соединений в виде линии, отдельных соединенных участков, соединений в виде множества линий, множества рядов соединенных участков связей, или непрерывного узора соединений, такого как образуется при спиральном разбрызгивании адгезива или разбрызгивании при дутье из расплава. Соединение с непрерывным узором может включать множество непрерывных узоров, полученных с использованием множества разбрызгивающих отверстий. Соединения в виде линии имеют ширину в вышеуказанных пределах ширины соединений и покрывают полную длину изогнутой манжеты 10 для ноги. Отдельные соединенные участки выравнивают в ряд вдоль всей длины изогнутой манжеты 10 для ноги, причем каждое соединение имеет ширину в вышеуказанных пределах ширины соединений. Отдельные соединенные участки являются подходящими, поскольку они оказывают небольшое сопротивление эластичной полосе при сборке эластичной полосы во время соединения посредством адгезии с наружным покрытием по сравнению с соединениями в виде линий. Соединения в виде множества линий включают несколько линий экструдируемого адгезива, которые проходят по всей длине изогнутой манжеты 10 для ноги. Множество рядов отдельных соединенных участков включают множество рядов соединенных участков, которые могут быть либо смещены друг от друга, либо параллельны, и покрывают всю длину изогнутой манжеты 10 для ноги. Соединения предпочтительно представляют собой поверхностные соединения либо с наружным покрытием, либо с подкладкой со стороны тела. Поверхностные соединения упрощают процесс прикрепления манжет 10 для ноги. Кроме того, соединения по изобретению скрыты от взгляда, поскольку манжета 10 для ноги автоматически заворачивается поверх соединения. Соединения предпочтительно являются влагонепроницаемыми, чтобы предотвратить протечку вокруг отверстий для ног.
Соединенная область 54, подходящим образом, расположена так, что она смещена от центра манжеты 10 для ноги, между первым участком 38 и вторым участком 39, по существу, разделяя манжету 10 для ноги между первым участком 38 и вторым участком 39, как показано на фиг.2. Исключая соединенную область 54 манжеты 10 для ноги, первый участок 38 содержит от около 0% до около 50% материала манжеты 10 для ноги, и второй участок 39 включает от около 50% до около 100% материала манжеты 10 для ноги. Например, первый участок 38 может включать около 25% материала манжеты 10 для ноги, и второй участок 39 может включать около 75% материала манжеты 10 для ноги, исключая соединенную область 54. Расположение соединенной области 54 является важным, поскольку как первый участок 38, так и второй участок 39 работают вместе для преодоления сопротивления материала основной детали наружного покрытия и подкладки со стороны тела, для сборки отверстия для ноги для обеспечения уплотнения.
Конструкция по изобретению накладывает жесткие требования на прочность соединения манжеты 10 для ноги с поверхностью наружного покрытия, поскольку напряжение, прикладываемое к соединению, представляет собой напряжение при отслаивании в отличие от деформации сдвига. Деформация сдвига представляет собой типичное напряжение между эластичным материалом и наружным покрытием, которое обеспечивает то, что эластичный материал не будет выскальзывать из требуемого положения из-за натяжения, прикладываемого к соединению эластичным материалом или самим пользователем.
При использовании активируемого теплом скрытого эластичного материала, прикрепляемого в плоском виде, манжета 10 для ноги расположена, по существу, в плоском виде на полотне, как показано на фиг.5, до применения процесса активации манжеты 10 для ноги. На фиг.6 показана активируемая теплом манжета 10 для ноги перед активированием при наложении с использованием аппликатора под углом 90 градусов. На фиг.7 показана манжета 10 для ноги в рабочем состоянии или после активирования теплом. Манжеты 10 для ноги собираются вдоль пути наименьшего сопротивления, стремясь образовать наименьшую возможную окружность. При этом как первый участок 38, так и второй участок 39 собираются по направлению к центру отверстия для ноги. Соединенная область 54 ограничена основной деталью, и основная деталь предотвращает образование меньшего диаметра эластичной области 54. По сравнению с нескрытым эластичным материалом манжеты 10 для ноги со скрытым эластичным материалом позволяют гораздо проще выравнивать края 50 и 51 с краями 52 и 53 соответственно, как показано на фиг.2.
Подложка 40 предпочтительно представляет собой наружное покрытие 44 и предпочтительно включает материал, который, по существу, является непроницаемым для жидкости и может быть эластичным, растяжимым или нерастяжимым. Наружное покрытие 44 может представлять собой один слой непроницаемого для жидкости материала, но предпочтительно включает многослойную структуру, в которой, по меньшей мере, один из слоев является непроницаемым для жидкости. Например, наружное покрытие 44 может включать проницаемый для жидкости наружный слой и непроницаемый для жидкости внутренний слой, которые подходящим образом соединены вместе с помощью адгезива ля ламинированного материала (не показан). Подходящие адгезивы для ламинированных материалов, которые могут наноситься непрерывно или периодически, в виде капель, способом напыления, параллельными спиралями или подобными узорами, поставляются компанией Findley Adhesives, Inc., город Уауатоса, штат Висконсин, США, или компанией National Starch and Chemical Company, город Бриджуотэр, штат Нью-Джерси, США. Проницаемый для жидкости наружный слой может быть выполнен из любого подходящего материала и предпочтительно из такого материала, который обеспечивает, в общем, структуру, подобную ткани. Один из примеров такого материала представляет собой нетканое полотно из расплава из полипропилена с массой единицы площади 20 г/м2 (грамм на квадратный метр). Наружный слой также может быть выполнен из таких материалов, из которых изготовлена проницаемая для жидкости подкладка 42 со стороны тела. Хотя не обязательно, чтобы наружный слой был проницаемым для жидкости, предпочтительно чтобы он формировал структуру, относительно похожую на ткань для пользователя.
Внутренний слой наружного покрытия 44 может быть одновременно непроницаемым как для жидкости, так и паров, или может быть непроницаемым для жидкости и проницаемым для испарений. Внутренний слой предпочтительно выполнен из тонкой пластиковой пленки, хотя также могут использоваться другие гибкие непроницаемые для жидкости материалы. Внутренний слой или непроницаемое для жидкости наружное покрытие 44, когда оно выполнено из одного слоя, предотвращает возможность смачивания выделениями тела, таких предметов, как простыни и одежда, а также пользователя и человека, осуществляющего уход. Подходящая непроницаемая для жидкости пленка для использования в качестве непроницаемого для жидкости внутреннего слоя или однослойного непроницаемого для жидкости наружного покрытия 44 представляет собой полиэтиленовую пленку толщиной 0,02 миллиметра, коммерчески поставляемую компанией Huntsman Packaging, город Ньюпорт Ньюс, штат Вирджиния, США. Если наружное покрытие 44 выполнено из одного слоя материала, оно может быть выполнено с тиснением и/или его поверхность может быть изготовлена матовой для получения внешнего вида, похожего на ткань. Как указано выше, непроницаемый для жидкости материал может пропускать испарения для выхода из одноразового впитывающего изделия, предотвращая проход жидкостей через наружное покрытие 44. Подходящий “воздухопроницаемый” материал состоит из микропористой полимерной пленки или нетканого полотна с покрытием или обработанной другим образом для придания ей требуемого уровня непроницаемости для жидкости. Подходящая микропористая пленка представляет собой пленочный материал РМР-1, поставляемый компанией Mitsui Toatsu Chemicals, Inc., г.Токио, Япония, или полиолефиновую пленку XKO-S044, поставляемую компанией 3М Company, г. Миннеаполис, штат Миннесота.
Подкладка 42 со стороны тела может быть изготовлена из множества материалов в форме полотна, таких как синтетические волокна (например, полиэфирные или полипропиленовые волокна), натуральные волокна (например, древесные или хлопковые волокна), комбинация из натуральных и синтетических волокон, пористые вспененные материалы, вспененные материалы с отверстиями, пластиковые пленки с отверстиями или подобные материалы. В качестве подкладки 42 со стороны тела можно использовать различные тканые и нетканые полотна. Например, подкладка со стороны тела может состоять из полотна из полиолефиновых волокон, выдуваемых из расплава или полученных фильерным способом производства эжектированием высокоскоростным потоком воздуха. Подкладка со стороны тела также может представлять собой полотно кардного прядения, состоящее из натуральных и/или синтетических волокон. Подкладка со стороны тела может состоять, по существу, из гидрофобного материала, и гидрофобный материал, возможно, может быть обработан поверхностно-активным веществом или может подвергаться другой обработке, для придания требуемого уровня смачиваемости и гидрофильности. Например, материал может проходить поверхностную обработку с использованием около 0,28 масс. процента поверхностно-активного вещества, поставляемого компанией Rohm и Haas Co. под торговым обозначением Triton Х-102. Поверхностно-активное вещество может наноситься с помощью любого обычного способа, такого как напыление, печать, нанесение кистью или подобного. Поверхностно-активное вещество может наноситься на всю подкладку 42 со стороны тела или может наноситься избирательно на отдельные участки подкладки со стороны тела, такие как средний участок вдоль продольной центральной линии.
Подходящая проницаемая для жидкости подкладка 42 со стороны тела представляет собой нетканое двухкомпонентное полотно, имеющее вес единицы площади около 27 г/м2. Нетканое двухкомпонентное полотно может представлять собой двухкомпонентное полотно, полученное фильерным способом производства или двухкомпонентное полотно кардного прядения. Подходящие двухкомпонентные штапельные волокна включают полиэтиленовое/полипропиленовое двухкомпонентное волокно, поставляемое компанией CHISSO Corpotation, город Осака, Япония. В этом конкретном примере двухкомпонентного волокна полипропилен полипропилена образует сердцевину, а полиэтилен образует оболочку волокна. Также возможны другие ориентации волокна, такие как многодолевые, с расположением рядом друг с другом, соединенные конец в конец, или подобные. Хотя наружное покрытие 44 и подкладка 42 со стороны тела могут включать эластомерные материалы, в некоторых вариантах воплощения может быть предпочтительным, чтобы композитная структура была выполнена, в общем, неэластичной, при этом наружное покрытие, подкладка со стороны тела и впитывающая конструкция включает материалы, которые, в общем, не являются эластомерными.
Как указано выше, представленные тренировочные трусы 20 могут иметь переднюю и заднюю боковые панели 134 и 234, расположенные с каждой стороны впитывающей основной детали 14 (фиг.1 и 8). Эти поперечно расположенные противоположные передние боковые панели 134, поперечно расположенные противоположные задние боковые панели 234 могут быть постоянно соединены с композитной структурой 133 впитывающей основной детали 14 и высвобождаемым образом прикреплены друг к другу с помощью системы 80 крепления. Более конкретно, как лучше всего показано на фиг.8, передние боковые панели 134 могут быть постоянно соединены с линейными боковыми краями 147 композитной структуры 133 вдоль линий 69 крепления и поперечно продолжаться за них и задние боковые панели 234 могут быть постоянно соединены с линейными боковыми краями композитной структуры вдоль линий 69 соединения и продолжаться за них. Боковые панели 134 и 234 могут быть прикреплены с использованием средства крепления, известного специалистам в данной области, такого как адгезивное, тепловое или ультразвуковое соединение. Боковые панели 134 и 234 также могут быть сформированы в виде участка компонента композитной структуры 133, такого как наружное покрытие 44 или подкладка 42 со стороны тела.
Каждая из боковых панелей 134 и 234 может включать одну или более отдельных частей материала. Например, в конкретных вариантах воплощения каждая из боковых панелей 134 и 234 может включать первый и второй боковые участки панели, которые соединены по шву, причем по меньшей мере один из участков включает эластомерный материал (см. фиг.8). Кроме того, альтернативно, каждая отдельная боковая панель 134 и 234 может включать отдельную часть материала, которая сложена на себя вдоль промежуточной линии сгиба (не показана).
Боковые панели 134 и 234 предпочтительно включают эластичный материал, который имеет способность растягиваться в направлении, в общем параллельном поперечной оси 49 тренировочных трусов 20. В конкретных вариантах воплощения передняя и задняя боковые панели 134 и 234, каждая, могут включать внутренний участок 78, расположенный между удаленным краем 68 и соответствующую переднюю или заднюю центральную панель 135 или 235. В варианте воплощения, представленном на фиг.8, внутренние участки 78 расположены между удаленными краями 68 и боковыми краями 147 прямоугольной композитной структуры 133. Эластичный материал боковых панелей 134 и 234 может быть расположен во внутренних участках 78, придавая боковым панелям эластомерные свойства в направлении, в общем параллельном поперечной оси 49. Наиболее предпочтительно, каждая из боковых панелей 134 и 234 выполнена эластомерной от конечного края 72 талии до конечного края 70 для ног. Более конкретно, отдельные образцы материала боковой панели, взятые между конечным краем 72 талии и конечным краем 70 для ног параллельно поперечной оси 49 и имеющие длину от линии 69 прикрепления к удаленному концу 68, и ширину около 2 см, выполнены полностью эластомерными.
Подходящие эластичные материалы, а также один из описанных способов включения эластичных боковых панелей в тренировочные трусы, описаны в следующих патентах США: 4940464, выданном 10 июля 1990 г. авторам Van Gompel и др.; 5224405, выданном 6 июля 1993 г. автору Pohjola; 5104116, выданном 14 апреля 1992 г автору Pohjola и 5046272, выданном 10 сентября 1991 г. авторам Vogt и др.; причем все они включены сюда посредством ссылки. В конкретных вариантах воплощения эластичный материал включает термически растяжимый ламинированный материал (STL), соединенный с вытягиванием ламинированный материал (NBL), обратимо вытянутый ламинированный материал или ламинированный материал, соединенный с растягиванием (SBL). Способы изготовления таких материалов хорошо известны специалистам в данной области и описаны в патенте США 4663220, выданном 5 мая 1987 г. авторам Wisneski и др.; в патенте США 5226992, выданном 13 июля 1993 г. автору Morman; и в европейской патентной заявке №ЕР 0217032, опубликованной 8 апреля 1987 г. от имени авторов Taylor и др.; причем все они включены сюда путем ссылки. Альтернативно, материал боковой панели может включать другие тканые или нетканые материалы, такие, как описаны выше, которые подходят для наружного покрытия 44 или для подкладки 42 со стороны тела, или растягиваемые, но неэластичные материалы.
Впитывающая основная деталь 14 и система 80 крепления вместе формируют повторно застегиваемые трусы, имеющие отверстие 13 для талии и пару отверстий 12 для ног (фиг.1). Когда система крепления находится в состоянии зацепления, предпочтительно чтобы повторно застегиваемые трусы, включали пару эластомерных передних боковых панелей 134, продолжающихся от отверстия для талии до каждого из отверстий для ног, пару эластомерных задних боковых панелей 234, продолжающихся от отверстия для талии к каждому из отверстий для ног, пару повторно закрепляемых швов 88 (фиг.1), продолжающихся от отверстия для талии по направлению к каждому из отверстий для ног и расположенных между эластомерными передней и задней боковыми панелями, эластомерный передний пояс 154 для талии, расположенный между парой эластомерных передних боковых панелей 134, эластомерный задний пояс 156 для талии, расположенный между парой эластомерных задних боковых панелей 234, и пару изогнутых манжет 10 для ног, причем каждая из них окружает каждое отверстие 12 для ног. Альтернативно, вместо повторно закрепляемых швов 88 впитывающее изделие по изобретению может включать соединенные боковые швы.
Как описано, различные компоненты тренировочных трусов 20 могут быть собраны в одно целое с использованием различных типов соответствующих средств крепления, таких как адгезивное соединение, звуковое соединение и тепловое соединение или их комбинаций. Получаемый в результате продукт представляет собой впитывающий элемент 20, обеспечивающий удобное уплотнительное облегание и эстетически законченный внешний вид вокруг отверстий 12 для ног. Впитывающий предмет 20 одежды типа трусов может иметь размеры и подгоняться для множества вариантов использования, включая, например, подгузники, тренировочные трусы, купальный костюм, предметы одежды для взрослых, страдающих недержанием, и т.п. Изогнутые манжеты 10 для ног по изобретению также могут использоваться в качестве изогнутых клапанов защиты от протечек.
Следует понимать, что приведенное выше подробное описание вариантов воплощения используется в качестве иллюстрации и не должно рассматриваться как ограничивающее объем настоящего изобретения.
Хотя выше были подробно описаны только несколько примеров вариантов воплощения настоящего изобретения, для специалистов в данной области будут понятны возможности многочисленных модификаций примеров вариантов воплощения, по существу без отхода от новых учений и преимуществ изобретения. В соответствии с этим все такие модификации предназначены для включения в объем настоящего изобретения, который определяется в следующей формуле изобретения и во всех ее эквивалентах. Кроме того, предполагается, что может рассматриваться множество вариантов воплощения, в которых не достигаются все преимущества отдельных вариантов воплощения, в частности предпочтительных вариантов воплощения, хотя отсутствие определенного преимущества не следует рассматривать как обязательно означающее, что такой вариант воплощения находится за пределами объема настоящего изобретения.
Формула изобретения
1. Предмет одежды типа трусов, включающий манжету для ноги и подложку, содержащий растягиваемую манжету для ноги, имеющую первый продольный участок, второй продольный участок и соединенный участок, расположенный между первым продольным участком и вторым продольным участком, в которой соединенный участок соединен с подложкой по периметру изогнутого выреза в подложке, и второй продольный участок, по меньшей мере, частично выступает от подложки; и первый край первого продольного участка манжеты для ноги соединен со вторым краем первого продольного участка манжеты для ноги, а первый край второго продольного участка манжеты для ноги соединен со вторым краем второго продольного участка манжеты для ноги так, что манжета для ноги окружает всю окружность отверстия для ноги.
2. Предмет одежды по п.1, в котором подложка содержит растягиваемый материал.
3. Предмет одежды по п.1, в котором подложка содержит наружное покрытие впитывающего предмета одежды.
4. Предмет одежды по п.1, в котором подложка содержит подкладку впитывающего предмета одежды.
5. Предмет одежды по п.1, в котором второй участок манжеты для ноги содержит завернутый край.
6. Предмет одежды по п.1, в котором манжета для ноги имеет ширину в диапазоне от около 1 до около 13 см.
7. Предмет одежды по п.1, в котором второй участок имеет ширину в диапазоне от около 0,6 до около 10 см.
8. Предмет одежды по п.1, в котором соединенный участок имеет ширину в диапазоне от около 1 до около 25 мм.
9. Предмет одежды по п.1, в котором, по меньшей мере, часть второго участка перекрывает, по меньшей мере, часть соединенного участка.
10. Предмет одежды по п.1, в котором второй участок изменяется по ширине по периметру выреза.
11. Предмет одежды по п.1, в котором первый участок манжеты для ноги содержит от около 0 до около 50% комбинации первого участка и второго участка манжеты для ноги.
12. Предмет одежды по п.1, в котором второй участок манжеты для ноги содержит от около 50 до около 100% комбинации первого участка и второго участка манжеты для ноги.
13. Впитывающее изделие, содержащее предмет одежды по п.1.
14. Впитывающее изделие по п.13, выбранное из группы, содержащей подгузник, тренировочные трусы, купальный костюм и изделие для больных, страдающих недержанием.
15. Впитывающий предмет одежды, содержащий основную деталь, образующую отверстие для талии и первое и второе отверстия для ног, в котором первое и второе отверстия для ног образованы изогнутыми вырезами в основной детали; и по меньшей мере, две растягиваемые изогнутые манжеты для ног, причем каждая изогнутая манжета содержит первый продольный участок, второй продольный участок и соединенный участок, расположенный между первым продольным участком и вторым продольным участком, в котором соединенный участок каждой манжеты для ноги соединен с основной деталью по периметру одного из изогнутых вырезов, и второй продольный участок каждой манжеты для ноги, по меньшей мере, частично выступает от основной детали, причем каждая манжета для ноги содержит первый край первого продольного участка, соединенный со вторым краем первого продольного участка, и первый край второго продольного участка, соединенный со вторым краем второго продольного участка, так что каждая изогнутая манжета для ноги окружает весь периметр одного из первого и второго отверстий для ног.
16. Впитывающий предмет одежды по п.15, в котором основная деталь содержит растягиваемый материал.
17. Впитывающий предмет одежды по п.15, в котором основная деталь содержит слой наружного покрытия и слой подкладки.
18. Впитывающий предмет одежды по п.17, в котором соединенный участок каждой изогнутой манжеты для ноги соединен со слоем наружного покрытия.
19. Впитывающий предмет одежды по п.17, в котором соединенный участок каждой изогнутой манжеты для ноги соединен со слоем подкладки.
20. Впитывающий предмет одежды по п.15, в котором второй участок каждой изогнутой манжеты для ноги содержит завернутый край.
21. Впитывающий предмет одежды по п.15, в котором первый участок каждой из манжет для ноги содержит от около 0 до около 50% комбинации первого участка и второго участка каждой из манжет для ног.
22. Впитывающий предмет одежды по п.15, в котором второй участок каждой из манжет для ног содержит от около 50 до около 100% комбинации первого участка и второго участка каждой из манжет для ног.
23. Впитывающий предмет одежды по п.15, в котором, по меньшей мере, часть второго участка наложена, по меньшей мере, на часть соединенного участка.
24. Впитывающий предмет одежды по п.15, в котором второй участок каждой из манжет для ног изменяется по ширине по периметру одного из вырезов.
25. Впитывающий предмет одежды, содержащий основную деталь, образующую отверстие для талии и первое и второе отверстия для ног, в котором первое и второе отверстие для ног образованы изогнутыми вырезами основной детали, включающую, по меньшей мере, проницаемую для жидкости подкладку со стороны тела, впитывающий слой и, по существу, непроницаемый для жидкости слой наружного покрытия; и, по меньшей мере, две растягиваемые изогнутые манжеты для ног, причем каждая изогнутая манжета для ноги имеет первый продольный участок, второй продольный участок и соединенный участок, расположенный между первым продольным участком и вторым продольным участком, при этом соединенный участок каждой изогнутой манжеты для ноги функционально прикреплен в растянутом положении к основной детали по периметру одного из изогнутых вырезов, и второй продольный участок каждой манжеты для ноги, по меньшей мере, частично выступает от основной детали, причем каждая изогнутая манжета для ноги имеет первый край первого продольного участка, соединенного со вторым краем первого продольного участка, и первый край второго продольного участка соединен со вторым краем второго продольного участка так, что каждая из изогнутых манжет для ног окружает весь периметр одного из первого и второго отверстий для ног.
26. Впитывающий предмет одежды по п.25, в котором второй участок каждой из изогнутых манжет для ног содержит завернутый край.
27. Впитывающий предмет одежды по п.25, в котором, по меньшей мере, часть второго участка наложена, по меньшей мере, частично на соединенный участок.
28. Впитывающий предмет одежды по п.25, в котором второй участок каждой из манжет для ног изменяется по ширине по периметру одного из вырезов.
РИСУНКИ
MM4A – Досрочное прекращение действия патента СССР или патента Российской Федерации на изобретение из-за неуплаты в установленный срок пошлины за поддержание патента в силе
Дата прекращения действия патента: 08.08.2006
Извещение опубликовано: 10.01.2008 БИ: 01/2008
|
|