|
|
(21), (22) Заявка: 2004116393/14, 02.06.2004
(24) Дата начала отсчета срока действия патента:
02.06.2004
(43) Дата публикации заявки: 01.01.2000
(45) Опубликовано: 10.03.2006
(56) Список документов, цитированных в отчете о поиске:
RU 2125853 C1, 10.02.1999. SU 1735728 A1, 23.01.1992. EDAR – вставка с сенсором давления и акустической обработкой сигнализацией. Ортопедические технические устройства. Франкфурт-на-Майне, 1986.
Адрес для переписки:
141980, Московская обл., г. Дубна, ул. Жуковского, 2а, ФГУП “ГосМКБ “РАДУГА” им. А.Я. Березняка”, патентный отдел
|
(72) Автор(ы):
Дмитриев Владимир Сергеевич (RU), Карпов Сергей Иванович (RU), Куролес Владимир Кириллович (RU), Савчук Виктор Дмитриевич (RU), Серикова Елена Ивановна (RU), Трусов Владимир Николаевич (RU)
(73) Патентообладатель(и):
Открытое акционерное общество “Государственное машиностроительное конструкторское бюро “Радуга” им. А.Я.Березняка” (ОАО “ГосМКБ “Радуга” им. А.Я.Березняка”) (RU)
|
(54) ПОВЯЗКА ТЕНЗОИЗМЕРИТЕЛЬНАЯ
(57) Реферат:
Изобретение относится к медицинской технике, к травматологии и ортопедии, а в частности к перевязочным материалам, используемым при наложении шин или полужестких повязок преимущественно при восстановлении функций суставов после суставных или околосуставных переломов. Тензоизмерительная повязка содержит полужесткую резинотканевую повязку, на которой помещена тензометрическая пластина с наклеенными на нее тензорезисторами, объединенными в мостовую схему с возможностью подключения ее к контроллеру. Изобретение позволяет расширить функциональные возможности устройства. 1 ил. 
Изобретение относится к медицинской технике, к травматологии и ортопедии, а в частности к перевязочным материалам, используемым при наложении шин или полужестких повязок преимущественно при восстановлении функций суставов после суставных или околосуставных переломов.
Как известно, для успешного восстановления функции суставов при переломах требуется наложение повязок (например, бинт эластичный медицинский ТУ 9393-002-0295001-95), обеспечивающих фиксацию сустава, движение в нем и одновременно не нарушающих кровообращение в травмированном суставе. Последнее требование обусловлено нарушением всех видов обмена (в т.ч. кальциевого) в травмированной костной ткани при замедленном кровотоке в зоне поражения. Используемые полужесткие повязки позволяют задать сжимающие усилия для фиксации нарушенных костей, однако приток крови в зоне поражения при этом контролируется лишь визуально по величине отека при наблюдении за местом перелома. О точности этого метода говорить не приходится, поскольку такая информация может носить лишь характер качественной оценки. Технических средств для измерения отека в зоне поражения не известно.
Технической задачей, на решение которой направлено предлагаемое техническое решение, является получение количественной информации о изменение величины отека в зоне поражения, а значит, и о изменении величины кровотока.
Для достижения указанного технического результата предлагается тензоизмерительная повязка, которая содержит полужесткую повязку, на которой помещена тензометрированная пластина, имеющая наклеенные на нее тензорезисторы, объединенные в мостовую схему с возможностью подключения ее к контроллеру.
Как правило, тензометрированная пластина содержит концентраторы напряжений, выполненные в виде прорезей, над которыми размещены тензорезисторы, объединенные в мостовую схему. Наличие в повязке тензометрированной пластины позволяет контролировать изменение величины отека в зоне поражения за счет изменения напряжения в тензорезисторах, вызванного изменением объема конечности и радиуса кривизны поверхности отека.
Благодаря существенным признакам, изложенным в формуле, достигается следующий технический результат – появляется возможность задавать дозированное начальное усилие с целью необходимой фиксации пораженного сустава в двух плоскостях, а в дальнейшем осуществлять количественный контроль за изменением величины отека в зоне поражения, который несет опосредованную информацию о величине кровотока в указанной зоне. При этом в случае неспадения отека или его увеличения появляется возможность уменьшения сжимающих усилий повязки до значений, обеспечивающих нормальный кровоток в конечности.
В результате поиска по источникам патентной и научно-технической информации совокупность признаков, характеризующая предлагаемую тензоизмерительную повязку, не была обнаружена. Таким образом, предлагаемое изобретение соответствует критерию охраноспособности “новое”.
На основании сравнительного анализа предложенного технического решения с известным уровнем техники по источникам научно-технической и патентной литературы можно утверждать, что между совокупностью признаков и выполняемых ими функций и достигаемых целей существует неочевидная причинно-следственная связь. На основании вышеизложенного можно сделать вывод о том, что техническое решение в предложенном устройстве не следует явным образом из уровня техники и, следовательно, соответствует критерию охраноспособности “изобретательский уровень”.
Предложенное техническое решение целесообразно применять в травматологии при восстановлении функции суставов. Также данная повязка может успешно применяться при исследовании мышечной напряженности во время реабилитационного периода. Следовательно, данное решение соответствует критерию “промышленно применимо”.
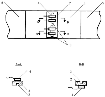
Данное техническое решение поясняется чертежом.
Изображенная на чертеже тензометрированная повязка содержит несколько слоев (не менее двух) собственно повязки 1 (например, резинотканевой), между которыми наклеена тензопластина 2. В тензопластине 2 выполнено два концентратора 3, выполненных в виде канавок, выполненных на разных сторонах тензопластины 2 (сечения А-А и Б-Б). Над концентраторами 3 на пластине 2 наклеены тензорезисторы 4 (по два над каждым концентратором 3). Тензорезисторы 4 объединяются в тензомост так, что каждая диагональ моста состоит из пары тензорезисторов 4, расположенных над одним концентратором 3. Резинотканевая повязка 1 на своих концах жестко скреплена с элементами взаимных соединений 5 и 6, например, типа репейник.
Изображенная на чертеже тензометрированная повязка работает следующим образом. После операции на суставе накладывают вначале тензоповязку, обмотав ее вокруг конечности вблизи зоны поражения. Поверх повязки накладывают полужесткую гипсовую либо шинную повязку. Подключают тензомост к контроллеру и контролируют начальное значение напряжения в тензопластине 2. Затем это значение контроллер запоминает. При каждом последующем измерении вычисляется разность между измеренным и предыдущим запомненным результатом. Отрицательное значение разности свидетельствует о спадании отека и, следовательно, о нормальном кровообращении в зоне поражения. Это указывает на положительный исход восстановления функции сустава. Изменение сигнала тензомоста будет вызываться следующим фактом: значения двух тензорезисторов 4, расположенных над одним концентратором 3, будут уменьшаться, в то время как значения двух других тензорезисторов 4 будут увеличиваться при уменьшении кривизны конечности за счет того, что изгиб в месте концентратора 3 тензопластины 2 будет уменьшаться. Из-за того что тензорезисторы 4 размещены на противоположных сторонах пластины 2, уменьшение напряжения в местах концентраторов 3 будет вызывать разное изменение омических сопротивлений тензорезисторов 4, уменьшение их у одной пары и увеличение у другой, так же как начальное напряжение, вызовет, наоборот, увеличение их у первой пары и уменьшение у другой.
Формула изобретения
Повязка для восстановления функции суставов, отличающаяся тем, что она содержит резиново-тканевую повязку, на которой помещена тензометрическая пластина с наклеенными на нее тензорезисторами, объединенными в мостовую схему, выполненную с возможностью ее подключения к контроллеру.
РИСУНКИ
|
|