|
|
(21), (22) Заявка: 2004138579/14, 29.12.2004
(24) Дата начала отсчета срока действия патента:
29.12.2004
(45) Опубликовано: 10.03.2006
(56) Список документов, цитированных в отчете о поиске:
US 5352228 А, 04.10.1994. RU 2231317C1.27.06.2004. SU 1581300 A1, 30.07.1990. FR 2385378 A1, 27.10.1978. WO 95/34248 Al, 21.12.1995.
Адрес для переписки:
127521, Москва, а/я 59, “Остеомед-М”
|
(72) Автор(ы):
Розинов Владимир Михайлович (RU), Яндиев Сулейман Исраилович (RU), Холявкин Дмитрий Анатольевич (RU)
(73) Патентообладатель(и):
Общество с ограниченной ответственностью “Остеомед-М” (RU)
|
(54) УСТРОЙСТВО ДЛЯ ЛЕЧЕНИЯ СЛОЖНЫХ ПЕРЕЛОМОВ БЕДРЕННОЙ КОСТИ
(57) Реферат:
Изобретение относится к медицине, а именно к травматологии. Устройство содержит интрамедуллярный штифт, направитель и блокирующие винты. Штифт выполнен с блокировочными отверстиями для блокирующих винтов, расположенными поперек оси со стороны торца и наконечника штифта и с соосным резьбовым отверстием со стороны торца для средства скрепления штифта с направителем. Направитель выполнен с отверстиями под троакар, соответствующими блокировочным отверстиям в штифте. Штифт выполнен с двумя изгибами, расположенными в плоскости, перпендикулярной плоскости расположения осей блокировочных отверстий с отступами по оси от торца штифта, соответственно равными 0,35 и 0,65 длины штифта. Штифт выполнен с диаметром не более среднестатистического диаметра костномозгового канала подростков. Расстояние по оси штифта от его торца, скрепленного с направителем до оси ближнего к торцу блокировочного отверстия составляет больше, чем 6-7 диаметров штифта для исключения пересечения зоны роста у основания большого вертела. Расстояние между осями соседних блокировочных отверстий, выполненных в каждом штифте со стороны торца и со стороны наконечника составляет, соответственно, не более трех и двух его диаметров. Расстояние от оси блокировочного отверстия, ближнего к наконечнику, до крайней точки наконечника, составляет не менее двух диаметров штифта. Изобретение обеспечивает интрамедуллярный остеосинтез сложных переломов длинных трубчатых костей подростков от 13 лет, с учетом возрастных особенностей с исключением повреждения зон роста, а также с учетом диаметра костно-мозгового канала и характера перелома с одновременной возможностью повышения прочности, жесткости и надежности остеосинтеза. 4 з.п. ф-лы, 4 ил. 
Изобретение относится к медицинской технике и может быть использовано для закрытого интрамедуллярного остеосинтеза при сложных переломах длинных трубчатых костей.
Практика последних лет показала, что использование внутрикостных штифтов для лечения переломов бедренной кости сокращает сроки лечения с 6 месяцев в гипсе до 2-3 недель в стационаре и без гипса. К тому же возможность снятия швов через 2 недели после операции позволяет пациентам встать на костыли и дать после операции раннюю нагрузку на конечность, что позволяет разрабатывать движения в бедренном, коленном и голеностопном суставах и способствует дополнительному сокращению сроков выздоровления.
Известны устройства для лечения переломов бедренной кости внутрикостным остеосинтезом, в том числе, у подростков, содержащие спицы или штифты, (см. пат.RU №2012277, 1997г., пат. RU №2102027, 1998 г.). Однако при неопорных (косых и оскольчатых) переломах диафизарного отдела бедренной кости подростков от 13 лет необходимость осевой и ротационной стабильности соединения конструкции с отломками и устранения послеоперационных осложнений требует использования блокирующего интрамедуллярного остеосинтеза.
Известные устройства для внутрикостного остеосинтеза бедренной кости содержат интрамедуллярный штифт с резьбовыми отверстиями, расположенными поперек оси штифта и предназначенными для блокировки проксимального и дистального фрагментов кости путем введения в них поперечных блокирующих шпилек через кортикальные слои косных фрагментов. В таких устройствах имеется компрессионная гайка, соосно навинченная на штифт со стороны большого вертела бедренной кости, и направляющая пластина с отверстиями (см. а.с. SU №1616639, 1990 г.(1) или пат. RU №2118134, 1998 г.(2)).
Однако в устройстве (1) выполняют один широкий операционный доступ ко всем уровням перелома, а в устройстве (2) доступ выполняют в проекции каждого перелома, что в обоих случаях ведет к травме мягких тканей, к нарушению кровообращения в месте перелома, к инвазии и к повышенному, недопустимому для подростков, инфицированию.
К тому же, в этих устройствах не предусмотрены средства, облегчающие введение блокирующих винтов через кость в резьбовое отверстие штифта, и при поиске блокировочного отверстия необходимо в ближайшем слое кости выполнять отверстие под блокировочный винт больше, чем отверстие в штифте. При этом ослабленная фиксация и неплотное соединение резьбовой шпильки с наружной гайкой ведут к подвижности блокирующего винта в отверстии штифта и к пониженной жесткости соединения. Такие устройства не могут быть использованы для лечения подростков.
В известном устройстве для блокирующего интрамедуллярного остеосинтеза при переломах диафизарной части бедренной кости (см. пат. WO 02/085228, кл. МПК А 61 В, 17/72, опубл. 2002 г.) используют двухступенчатый интрамедуллярный штифт с заостренным наконечником и с блокировочными отверстиями, расположенными поперек оси штифта со стороны его торца и наконечника, и предназначенными для введения блокирующих винтов через кость при блокировке соответственно проксимальных и дистальных фрагментов перелома бедренной кости.
Однако интрамедуллярный штифт в этом устройстве не может быть использован для лечения переломов у подростков, поскольку имеет параметры, не учитывающие особенности их анатомических данных.
Наиболее близким аналогом является устройство для лечения сложных переломов бедренной кости, содержащее интрамедуллярный штифт, в котором поперек оси выполнены блокировочные отверстия, расположенные соответственно со стороны торца и наконечника штифта, а со стороны торца штифта – соосное резьбовое отверстие, блокирующие винты для введения в блокировочные отверстия штифта и направитель, выполненный с отверстиями под троакар, соответствующими блокировочным отверстиям в штифте и со средством для скрепления со штифтом, при этом штифт выполнен с изгибом в плоскости, перпендикулярной плоскости расположения осей блокировочных отверстий (см. пат. US №5352228, опубл. 1994 г.).
В этом патенте, как и в приведенных выше аналогах, диаметр поперечного сечения интрамедуллярного штифта больше диаметра костномозгового канала подростков от 13 лет. Кроме того, в этом патенте диаметр и расположение блокировочных отверстий в штифте, а также длина штифта заданы без учета анатомических данных растущего организма подростков, что может привести к повреждению зон роста и окружающих мягких тканей подростков, ведет к последствиям нарушения развития бедренного сегмента, и к послеоперационным осложнениям, а также ограничивает применение устройства.
Задачей предложенного технического решения является создание комплекта штифтов, параметры которых позволят лечить блокирующим остеосинтезом сложные переломы диафизарного отдела бедренной кости подростков от 13 лет, с учетом их возрастных особенностей (исключением повреждения штифтом и блокирующим винтом зон роста у основания большого вертела, а также с учетом размеров костномозгового канала подростков, характера и сложности перелома), с одновременной возможностью повышения прочности, жесткости и надежности остеосинтеза, увеличением противостояния осевым и ротационным нагрузкам, а также снижением стоимости и упрощением технологии изготовления устройства.
Для решения поставленной задачи в предложенном устройстве для лечения сложных переломов бедренной кости, содержащем интрамедуллярный штифт, в котором поперек оси выполнены блокировочные отверстия, расположенные соответственно со стороны торца и наконечника штифта, а со стороны торца штифта – соосное резьбовое отверстие, блокирующие винты для введения в блокировочные отверстия штифта и направитель, выполненный с отверстиями под троакар, соответствующими блокировочным отверстиям в штифте и со средством для скрепления со штифтом, при этом штифт выполнен с изгибом в плоскости, перпендикулярной плоскости расположения осей блокировочных отверстий, согласно изобретению, при лечении неопорных (оскольчатых, косых) переломов диафизарного отдела бедренной кости подростков от 13 лет устройство снабжено комплектом штифтов, диаметр каждого из которых не более среднестатистического диаметра костномозгового канала подростков, а расстояние по оси каждого штифта от его торца, скрепленного с направителем, до оси ближнего к торцу блокировочного отверстия, больше, чем 6-7 диаметров штифта для исключения пересечения зоны роста у основания большого вертела, причем штифт выполнен с двумя изгибами, расположенными с отступами по оси от торца штифта, соответственно равными 0,35 и 0,65 длины штифта, расстояние между осями сосед них блокировочных отверстий, выполненных в каждом штифте со стороны торца и со стороны наконечника, соответственно не более трех и двух его диаметров, а расстояние от оси блокировочного от верстия, ближнего к наконечнику, до крайней точки наконечника, не менее двух диаметров штифта.
Кроме того, в предложенном устройстве, согласно изобретению, штифты комплекта имеют постоянный диаметр по всей длине, а длина каждого из штифтов больше его диаметра в 31,1-42,2 раза.
Кроме того, в предложенном устройстве, согласно изобретению, штифты комплекта выполнены двухступенчатыми, со ступенями большего и меньшего диаметров соответственно для блокировки проксимальных и дистальных фрагментов, при этом диаметру костномозгового канала соответствует диаметр ступени меньшего диаметра каждого штифта, составляющий 0,8 от диаметра ступени большего диаметра, имеющей постоянную длину.
Кроме того, в предложенном устройстве, согласно изобретению, отношения длин ступеней меньшего диаметра каждого штифта комплекта к длинам ступеней большего диаметра соответствующих штифтов соответственно составляют 1,8; 2,0; 2,2; 2,4; 2,5; 2,6; 2,8.
Кроме того, в предложенном устройстве, согласно изобретению, диаметр штифтов комплекта, со стороны торца, скрепленного с направителем, равен 9 мм, а расстояние по оси каждого штифта от его торца, скрепленного с направителем, до оси ближнего к торцу блокировочного отверстия, не менее 55 мм.
Технический результат предложенного устройства состоит в возможности лечения подростков от 13 лет блокирующим остеосинтезом при сложных переломах диафизарного отдела бедренной кости, в исключении пересечения зон роста штифтом и блокирующим винтом, и в исключении нарушений в развитии опорно-двигательного аппарата подростков, при одновременном улучшении прочностных характеристик штифта – увеличении противостояния ротационным нагрузкам, в стабильном и надежном остеосинтезе при лечении сложных переломов трубчатой кости, в сокращении сроков выздоровления, и в снижении стоимости устройства.
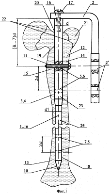
На фиг.1 показана схема расположения ступенчатого штифта, скрепленного с направителем, в бедренной кости во время операции.
На фиг.2 приведен штифт постоянного диаметра и указано расположение изгибов.
На фиг.3 показан разрез проксимального отдела бедренной кости подростков, где видно расположение зон роста.
На фиг.4 показано расположение штифта в бедренной кости при блокировочном остеосинтезе и видны уровни переломов.
Устройство содержит штифты комплекта 1…1n с направителем 2, который выполнен с отверстиями 21 под троакар (на чертеже не показан).
Штифты предназначены для лечения переломов диафизарного отдела 3 длинных трубчатых костей 4 подростков от 13 лет и выполнены с блокировочными отверстиями 5, 6, 7, 8, расположенными поперек оси каждого штифта соответственно со стороны его торца 9 и со стороны заостренного наконечника 10. Блокировочные отверстия 5, 6, 7, 8 предназначены для введения блокирующих винтов 11 и блокировки соответственно проксимальных 12 и дистальных 13 фрагментов. Введение блокирующих винтов 11 выполняют через дальний и ближний кортикальные слои 14, 15 бедренной кости 4.
В штифте 1 со стороны торца 9 выполнено соосное резьбовое отверстие 16, через которое штифт закрепляют на направителе 2 с помощью средства 17 для крепления штифта.
Для входа в костномозговой канал 18 в кости высверливают канал 19, имеющий вход, пересекающим грушевидную ямку 20 большого вертела 21. Зоны роста 22 бедренной кости подростка проходят по шейке головки бедра и опоясывают основание большого вертела.
В предложенный комплект штифтов 1, 1n входят штифты постоянного диаметра (d) и различных длин (L) (см. фиг.2, на которой приведен пример такого штифта) и двухступенчатые штифты (см. фиг.1) различных длин со ступенями 23, 24 соответственно большего и меньшего диаметров (d, d1). Каждый из штифтов выполнен с двумя изгибами 25 в плоскости, перпендикулярной плоскости расположения осей блокировочных отверстий.
Устройство используется следующим образом.
При лечении переломов у подростков от 13 лет проблема выбора тактики хирургического лечения связана в первую очередь с особенностями растущего организма. Поэтому перед хирургическим вмешательством необходимо предусмотреть меры по сохранности зон роста оперируемых сегментов бедренной кости подростков. Не менее важным являются исключение рассверливания костномозгового канала, выбор малоинвазивных операционных доступов, сохранение периостального кровообращения, исключение риска инфицирования, а также ограничение лучевой нагрузки.
Указанные обстоятельства должны быть решены совместно со стабильной фиксацией отломков, способствующей сокращению сроков выздоровления.
Практика показала, что получение эффективного лечения подростков (без послеоперационных осложнений) может быть достигнуто блокирующим остеосинтезом, проводимым интрамедуллярными штифтами, параметры которых – диаметр, расположение блокировочных отверстий в штифте и длина штифтов – должны быть в строгом соответствии с анатомическими данными подростков.
Перед операцией штифт из предложенного комплекта выбирают конкретно для каждого пациента-подростка. При этом диаметр штифта подбирают по рентгенограммам, в соответствии с диаметром костномозгового канала пациента-подростка, а длину штифта определяют длиной оперируемого сегмента.
В случае использования штифта постоянного диаметра (см. фиг.2) диаметр (d) штифта задают по диаметру костномозгового канала 18 подростка. При использовании двухступенчатого штифта (см. фиг.1), штифт выбирают таким образом, чтобы диаметру костномозгового канала 18 соответствовал диаметр (d1) ступени меньшего диаметра. В предложенном комплекте этот диаметр d1 составляет 0,8 от диаметра d ступени большего диаметра.
В отделении политравмы Московского НИИ педиатрии и детской хирургии выполнено более 120 операций закрытого интрамедуллярного остеосинтеза у пациентов в возрасте от 13 лет и определен диаметр штифта по среднестатистическому диаметру костномозгового канала, который для подростков от 13 лет, не превышает 9 мм.
Подобранный для пациента-подростка штифт скрепляют с направителем с помощью резьбового отверстия 16 в штифте, и ввинченных в него элементов средства 17 для закрепления штифта.
Во время операции в положении больного лежа на боку на операционном столе, поврежденную конечность сгибают в коленном и тазобедренном суставе под требуемым углом. Под наркозом выполняют один доступ длиной 1-3 см в проекции верхнего контура большого вертела 21. Выполнение одного внеочагового операционного доступа обеспечивает интактность гематомы в зоне перелома, исключает нарушение периостального кровообращения и снижает риск инвазии и инфицирования.
Обнажают грушевидную ямку 20 большого вертела 21, через которую в костномозговой канал 18 вводят спицу Киршнера. По направлению спицы канюлированным сверлом с помощью троакара (на чертеже не показаны) в проксимальном фрагменте бедренной кости строго по оси костномозгового канала 18 рассверливают канал 19 до сообщения с костномозговым каналом. В сформированный канал 19 вводят выбранный перед операцией интрамедуллярный штифт 1 до уровня перелома. После закрытой репозиции фрагментов перелома (тракции, ротации), штифт 1 продвигают по костномозговому каналу 18 через диафиз до упора в метафиз дистального фрагмента 13 бедренной кости. При этом штифт со стороны торца располагают в мягких тканях грушевидной ямки 20 большого вертела 21, с выступанием конца штифта из этой ямки, что необходимо для удобства последующего удаления штифта после консолидации костных отломков. Остальная часть штифта располагается в сформированном в кости канале 19 и в костномозговом канале 18.
Блокировку штифта выполняют блокирующими винтами 11, которые вводят в ближний и дальний кортикальные слои 14, 15 бедренной кости 4 и в соответствующие блокировочные отверстия (5, 6, 7, 8,) в штифте.
При этом блокировочное отверстие 5 в штифте, ближнее к торцу 9 штифта, который скреплен с направителем 2, располагают таким образом, чтобы отступ оси этого отверстия 5 от торца 9 штифта, был больше 6-7 диаметров штифта. Это позволяет исключить пересечение блокирующим винтом 11 зоны роста у основания большого вертела бедренной кости подростков. Экспериментально, на основании операций у 120 пациентов, в том числе в возрасте от 13 лет, в отделении политравмы Московского НИИ педиатрии и детской хирургии установлено, что для подростков от 13 лет этот отступ составляет 55 мм. На том же основании установлено, что диаметр штифта в части, расположенной в высверленном канале, не должен превышать 9 мм (среднестатистический диаметр костномозгового канала подростков от 13 лет), что исключит пересечение внутрикостным штифтом зон роста у основания большого вертела подростков. Совокупность этих признаков дает возможность блокирующего остеосинтеза с исключением нарушения зон роста и роста опорно-двигательного аппарата подростков.
При этом в предложенном комплекте диаметр штифтов, со стороны торца, скрепленного с направителем, равен 9 мм, что позволяет использовать один направитель для всех штифтов комплекта и снизить стоимость устройства.
Расстояние между осями соседних блокировочных отверстий, выполненных в каждом штифте со стороны торца и со стороны наконечника, соответственно не более трех и двух его диаметров, а расстояние от оси блокировочного отверстия, ближнего к наконечнику, до крайней точки наконечника не менее двух диаметров штифта. Штифты комплекта изогнуты в плоскости, перпендикулярной плоскости расположения осей блокировочных отверстий, причем в штифте выполнены два изгиба, которые расположены с отступами по оси от торца штифта, соответственно равными 0,35 и 0,65 от длины штифта. Это повышает адекватность формы штифта и физиологической формы костномозгового канала подростков в плоскости, параллельной сагиттальной и упрощает технологию изготовления штифта. Это дает возможность при остеосинтезе обеспечить жесткую посадку штифта в наиболее узкой части костномозгового канала и создать оптимальные условия для репаративной костной регенерации и сокращения сроков выздоровления.
Выбор диаметра штифтов, для подростков от 13 лет, в сочетании с указанным расположением изгибов в штифтах комплекта и с взаимоположением блокировочных отверстий (у торца и у наконечника штифта) друг относительно друга, позволит максимально увеличить площадь контакта блокирующих средств с костью подростков, улучшить прочностные характеристики соединения, противостояние осевым и ротационным нагрузкам и надежность остеосинтеза.
Для подростков с малым диаметром костномозгового канала ( 8 мм) штифты выполняют ступенчатыми, со ступенью меньшего диаметра (8 мм), и ступенью большего диаметра (9 мм). При этом ступень 24 меньшего диаметра располагают в костномозговом канале 18, а усиленную ступень 23 большего диаметра располагают в высверленном в бедренной кости канале 19. Это позволяет не рассверливать костномозговой канал пациентов-подростков и получить хорошие прочностные характеристики штифта, достаточное противостояние ротационным нагрузкам и хорошую надежность остеосинтеза.
Двухступенчатые штифты комплекта выполнены различной длины. При этом длина ступени большего диаметра постоянна, но полная длина штифтов комплекта изменяется за счет изменения длины ступени меньшего диаметра. В предложенном комплекте, отношения длины ступени меньшего диаметра к длине ступени большего диаметра соответствующего штифта, соответственно составляют 1,8; 2,0; 2,2; 2,4; 2,5; 2,6; 2,8, что позволяет расширить возможности использования устройства.
В комплекте имеются штифты с постоянным диаметром 9 мм по всей длине для установки подросткам, имеющим соответствующий диаметр костномозгового канала. Эти штифты тоже выполнены различной длины и рассчитаны на различную длину оперируемого сегмента пациента-подростка. При этом длина штифтов превышает их диаметр в 31,1-42,2 раза. Это расширяет возможности использования штифтов для подростков при переломах различных категорий при обеспечении стабильности и достаточной прочности.
Полная опора на конечность была у подавляющего числа под ростков на 14-20 сутки после оперативного вмешательства. Удаление имплантата осуществлялось преимущественно через 6 месяцев после остеосинтеза и занимало до 30 минут. Очевидно, что, по сравнению с известными, штифты предложенного комплекта способствуют сокращению сроков выздоровления.
Устройство описано на примере лечения бедренной кости, но это не ограничивает его возможностей и оно может широко использоваться для лечения переломов у подростков с диафизарными переломами длинных трубчатых костей. В Московском ПИИ педиатрии и детской хирургии были приведены операции на большеберцовой кости и получены хорошие результаты.
Технико-экономический эффект предложенного устройства состоит в создании комплекта штифтов, параметры которых позволят лечить сложные переломы длинных трубчатых костей подростков от 13 лет, с учетом возрастных особенностей (с исключением повреждения зон роста, а также с учетом диаметра костномозгового канала и характера перелома) с одновременной возможностью повышения прочности, жесткости и надежности остеосинтеза, увеличением противостояния осевым и ротационным нагрузкам и с уменьшением сроков выздоровления при снижении стоимости устройства.
Формула изобретения
1. Устройство для лечения сложных переломов бедренной кости, содержащее интрамедуллярный штифт, направитель и блокирующие винты, штифт выполнен с блокировочными отверстиями для блокирующих винтов, расположенными поперек оси со стороны торца и наконечника штифта и с соосным резьбовым отверстием со стороны торца для средства скрепления штифта с направителем, направитель выполнен с отверстиями под троакар, соответствующими блокировочным отверстиям в штифте, отличающееся тем, что штифт выполнен с двумя изгибами, расположенными в плоскости, перпендикулярной плоскости расположения осей блокировочных отверстий с отступами по оси от торца штифта, соответственно равными 0,35 и 0,65 длины штифта, при этом штифт выполнен с диаметром не более среднестатистического диаметра костномозгового канала подростков, а расстояние по оси штифта от его торца, скрепленного с направителем, до оси ближнего к торцу блокировочного отверстия, больше, чем 6-7 диаметров штифта для исключения пересечения зоны роста у основания большого вертела, расстояние между осями соседних блокировочных отверстий, выполненных в каждом штифте со стороны торца и со стороны наконечника, соответственно, не более трех и двух его диаметров, а расстояние от оси блокировочного отверстия, ближнего к наконечнику, до крайней точки наконечника не менее двух диаметров штифта.
2. Устройство по п.1, отличающееся тем, что штифт имеет постоянный диаметр по всей длине и длину больше диаметра штифта в 31,1-42,2 раза.
3. Устройство по п.1, отличающееся тем, что штифт выполнен двухступенчатым со ступенями большего и меньшего диаметра, соответственно для блокировки проксимального и дистального фрагментов кости, при этом диаметр ступени меньшего диаметра соответствует диаметру костно-мозгового канала и составляет 0,8 диаметра ступени большего диаметра, а ступень большего диаметра выполнена постоянной длины.
4. Устройство по п.3, отличающееся тем, что отношение длины ступени меньшего диаметра к длине ступени большего диаметра составляет 1,8; 2,0; 2,2; 2,4; 2,5; 2,6; 2,8.
5. Устройство по любому из пп.2 и 3, отличающееся тем, что диаметр штифта со стороны торца равен 9 мм, а расстояние по оси штифта от его торца до оси ближнего к торцу блокировочного отверстия составляет не менее 55 мм.
РИСУНКИ
|
|