|
|
(21), (22) Заявка: 2004118720/14, 22.11.2001
(24) Дата начала отсчета срока действия патента:
22.11.2001
(43) Дата публикации заявки: 27.06.2005
(45) Опубликовано: 10.03.2006
(56) Список документов, цитированных в отчете о поиске:
ЕР 1064885 А1, 03.01.2001. US 5429639 A, 04.07.1995. ЕР 1190678 А2, 27.03.2002. RU 2019148 C1, 15.09.1994. RU 2108763 C1, 20.04.1998. SU 1532015 A1, 30.12.1989. SU 1572428 A1, 23.06.1990. US 5437669 A, 01.08.1995. US 6063089 А, 16.05.2000. FR 2729291 A, 19.07.1996.
(85) Дата перевода заявки PCT на национальную фазу:
22.06.2004
(86) Заявка PCT:
CH 01/00682 (22.11.2001)
(87) Публикация PCT:
WO 03/043511 (30.05.2003)
Адрес для переписки:
103735, Москва, ул. Ильинка, 5/2, ООО “Союзпатент”, пат.пов. Ю.В.Пинчуку, рег.№ 656
|
(72) Автор(ы):
ДОНАТ Рауль (DE)
(73) Патентообладатель(и):
СИНТЕЗ АГ ЧУР (CH)
|
(54) УСТРОЙСТВО ДЛЯ СОЕДИНЕНИЯ ПРОДОЛЬНОГО ДЕРЖАТЕЛЯ СО СРЕДСТВОМ ФИКСАЦИИ КОСТИ
(57) Реферат:
Изобретение относится к медицине, а именно к травматологии и ортопедии. Изобретение обеспечивает уменьшение пространства для имплантации за счет возможности введения хирургического инструмента с диаметром не большим чем диаметр имплантата для предотвращения повреждения окружающих тканей. Устройство содержит соединительный элемент (5), уплотнительный колпачок (12), средство (13) затяжки, защелкивающиеся средства (21) фиксации и средство (35) фиксации, с помощью которого головку (30) винта средства (1) фиксации кости закрепляют в полости (8) соединительного элемента (5); соединительный элемент (5), установленный коаксиально по отношению к центральной оси (2), с верхним концом (6), нижним концом (7), полостью (8), выполненной коаксиально по отношению к центральной оси (2), проходящей через соединительный элемент (5) от верхнего конца (6) к нижнему концу (7), которая выполнена сужающейся в направлении к ее нижнему концу (7) в виде, по меньшей мере, одного буртика (9), и с каналом (10), проходящим через соединительный элемент (5) поперечно-продольной оси (2), для установки в него продольного держателя (11). Уплотнительный колпачок (12) содержит передний конец (20), задний конец (19), вторую полость (18), открывающуюся на переднем конце (20), для установки в нее соединительного элемента (5), и второй канал (17), проходящий поперечно по отношению к центральной оси (2) и открывающийся в направлении к переднему концу (20) уплотнительного колпачка (12). Средство (13) затяжки может быть зафиксировано на уплотнительном колпачке (12) на его заднем конце (19) и с помощью которого продольный держатель (11), установленный в канал (10), может быть зафиксирован в соединительном элементе (5), с помощью чего снаружи от соединительного элемента (5) и во второй полости (18) уплотнительного колпачка (12) установлены защелкивающиеся средства (21) фиксации, расположенные так, что они взаимно дополняют друг друга и служат для фиксации уплотнительного колпачка (12) на соединительном элементе (5). 6 з.п. ф-лы, 6 ил. 
Область техники, к которой относится изобретение
Настоящее изобретение относится к устройству, предназначенному для соединения продольного держателя со средством фиксации кости, в частности к винту для ножки дуги позвонка.
Уровень техники
В данной области техники известны некоторые устройства, предназначенные для соединения винтов для ножки дуги позвонка с продольными держателями для фиксации позвоночного столба.
Такое соединительное устройство описано в американском патенте №US 5584834 компании ERRICO. Это хорошо известное изобретение содержит устройство, которое позволяет простым способом соединять винт для ножки дуги позвонка, или в более широком смысле, элемент, закрепляемый на кости, с продольным держателем. Соединительное устройство, в общем, состоит из цилиндрического центрального корпуса, который на нижнем конце содержит цанговое зажимное устройство с пазом, имеющее снаружи коническую форму и сферическую полость для установки в нее сферической головки элемента, соединяемого с костью, и на его верхнем конце нарезана внешняя резьба. В центральной секции этого центрального корпуса выполнено отверстие, выходящее сбоку и проходящее перпендикулярно к центральной оси, предназначенное для установки продольного держателя. Нижний трубчатый элемент с внутренним конусом, соответствующим конусу центрального корпуса, и верхний трубчатый элемент с каналом, выходящим в направлении нижнего трубчатого элемента, надевают на этот центральный корпус. В собранном виде оба трубчатых элемента могут быть прижаты вниз с помощью гайки, которая может быть навинчена на внешнюю резьбу центрального корпуса. Продольный держатель устанавливают между нижним и верхним трубчатыми элементами, так что он проходит сбоку через канал верхнего трубчатого элемента. Когда соединительное устройство заблокировано, верхний трубчатый элемент прижимается вниз при затягивании этой гайки, которая прижимает продольный держатель, установленный внутри канала, к нижнему трубчатому элементу, внутренний конус которого в результате этого проталкивается поверх внешнего конуса цангового зажимного устройства. Когда конусы, таким образом, прижаты друг к другу, цанговое зажимное устройство сжимается и в результате этого сферическая головка, зажатая внутри цангового зажимного устройства, блокируется. Недостаток такого устройства известного уровня техники состоит, с одной стороны, в существенном весе конструкции соединительного элемента из-за использования гнездового соединения между сферической головкой и элементом, соединяемым с костью, и цанговым фиксирующим зажимом, и, с другой стороны, в необходимости обеспечить место для хирургического инструмента, используемого для затяжки гайки, навинчиваемой на внешнюю резьбу центрального корпуса.
Раскрытие изобретения
Настоящее изобретение направлено на исправление этих недостатков. Настоящее изобретение основано на решении задачи создания устройства, для которого требуется как можно меньшее пространство и которое, кроме того, может быть имплантировано с минимальными требованиями в отношении хирургических инструментов и проведения операций. В частности, оно должно позволять вводить хирургический инструмент с диаметром не большим чем диаметр имплантата, чтобы обеспечивать наименьшие повреждения окружающих тканей.
Настоящее изобретение позволяет решить поставленную задачу с помощью устройства, предназначенного для соединения продольного держателя со средством фиксации кости, в частности, винта для ножки дуги позвонка, которому присущи признаки по пункту 1 формулы изобретения.
В соответствии с настоящим изобретением устройство, предназначенное для соединения продольного держателя со средством фиксации кости, в частности с винтом для ножки дуги позвонка, содержит:
– соединительный элемент, установленный коаксиально по отношению к центральной оси, с верхним концом, нижним концом, полостью, выполненной коаксиально по отношению к центральной оси, проходящей через соединительный элемент от верхнего конца к нижнему концу, которая выполнена сужающейся в направлении к ее нижнему концу в виде, по меньшей мере, одного буртика, и с каналом, проходящим через соединительный элемент поперечно-продольной оси для установки в него продольного держателя;
– уплотнительный колпачок, содержащий передний конец, задний конец, вторую полость, открывающуюся на переднем конце, для установки в нее соединительного элемента, и второй канал, проходящий поперечно по отношению к центральной оси и открывающийся в направлении к переднему концу уплотнительного колпачка; и
– средство затяжки, которое может быть зафиксировано на уплотнительном колпачке на его заднем конце и с помощью которого продольный держатель, установленный в канал, может быть зафиксирован в соединительном элементе, с помощью чего снаружи от соединительного элемента и во второй полости уплотнительного колпачка установлены защелкивающиеся средства фиксации, расположенные так, что они взаимно дополняют друг друга и служат для фиксации уплотнительного колпачка на соединительном элементе;
– при этом устройство содержит средство фиксации, с помощью которого головку винта средства фиксации кости закрепляют в полости.
Предпочтительно средства фиксации расположены в плоскости поперечного сечения ортогональной центральной оси по внешнему контуру соединительного элемента и на поверхности второй полости уплотнительного колпачка.
Кроме того, средства фиксации могут содержать выступы, расположенные снаружи соединительного элемента, и взаимодополняющие выемки во второй полости уплотнительного колпачка.
Целесообразно, чтобы буртик содержал опорную поверхность в форме круглого кольца, расположенного концентрично по отношению к центральной оси.
Предпочтительно уплотнительный колпачок содержит два паза, расположенные ортогонально по отношению ко второму каналу, которые проходят через стенку уплотнительного колпачка от направления переднего конца.
В другом варианте выполнения устройство содержит средство фиксации кости с центральной осью, передним сегментом и примыкающим вдоль оси задним сегментом, в котором задний сегмент имеет цилиндрическую форму или форму призмы и передний сегмент используют для фиксации на кости и в котором задний сегмент средства фиксации кости фиксируется с помощью буртика соосно в направлении к заднему концу соединительного элемента, в то время как передний сегмент средства фиксации кости проходит вдоль оси от заднего конца соединительного элемента.
Средство фиксации кости может представлять собой винт для ножки дуги позвонка с винтовым стержнем, содержащим внешнюю резьбу, и головкой винта на его конце.
Преимущества, получаемые с помощью настоящего изобретения, по существу, состоят в том, что благодаря использованию устройства в соответствии с настоящим изобретением:
– может быть обеспечен очень малый вес конструкции соединительного элемента с уплотнительным колпачком;
– устройство может быть заблокировано во время проведения операции имплантации с помощью одного фиксирующего механизма; и
– можно использовать инструменты, которые имеют диаметр, меньший чем диаметр имплантата, что означает, что нет необходимости использовать большое пространство для доступа, которое травмирует пациента, и устройство соответственно идеально предназначено для применения в хирургии с минимальным вмешательством или навигационной хирургии. Такие имплантаты также обеспечивают возможность лечения пациентов в случаях тораскопического доступа.
В одном из вариантов выполнения устройство в соответствии с настоящим изобретением содержит средство крепления, с помощью которого сужают полость соединительного элемента между задним концом головки кости и верхним концом соединительного элемента. Это предотвращает выпадение средства фиксации кости из соединительного элемента на его верхнем конце.
Конструкция средства крепления в соответствии с данным вариантом выполнения обеспечивает преимущество, состоящее в том, что используют предварительно собранные имплантаты, что означает исключение потери времени в ходе операции и существенно снижает риск, например, неправильной установки деталей или неправильного их введения.
Краткое описание чертежей
Настоящее изобретение и последующее развитие настоящего изобретения более подробно описаны ниже на основе схематичных иллюстраций нескольких вариантов его выполнения.
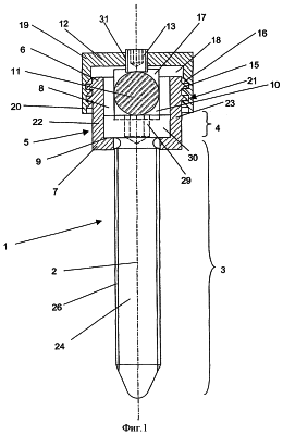
На фиг.1 показан вид в продольном разрезе предпочтительного варианта выполнения устройства в соответствии с настоящим изобретением;
на фиг.2а показан вид соединительного элемента по варианту выполнения устройства в соответствии с настоящим изобретением, изображенного на фиг.1;
на фиг.2b показан вид варианта выполнения устройства в соответствии с настоящим изобретением, представленного на фиг.1;
на фиг.3 показан вид в разрезе другого варианта выполнения настоящего устройства в соответствии с настоящим изобретением;
на фиг.4 показан вид варианта выполнения устройства в соответствии с настоящим изобретением, представленного на фиг.3;
на фиг.5 показан вид в разрезе еще одного варианта выполнения устройства в соответствии с настоящим изобретением; и
на фиг.6 показан вид в разрезе еще одного варианта выполнения устройства в соответствии с настоящим изобретением.
Осуществление изобретения
На фиг.1 представлено средство 1 фиксации кости, разработанное в виде винта для ножки дуги позвонка, вместе с соединительным элементом 5, продольным держателем 11, уплотнительным колпачком 12, который показан установленным коаксиально поверх соединительного элемента 5 на верхнем конце 6, и средством 13 затяжки, соединенным с уплотнительным колпачком 12. Передний сегмент 3 средства 1 фиксации кости выполнен в виде винтового стержня 24 с внешней резьбой 26, в то время как задний сегмент 4 выполнен как головка 30 винта в форме кругового цилиндра. Средство 1 фиксации кости, выполненное как винт для ножки дуги позвонка, может быть завинчено в ножку с использованием внешней резьбы 26 на винтовом стержне 24, в котором отвертка (не показана) может быть вставлена в средство 29, показанное как шестигранное гнездо, для установки отвертки, которое расположено в концевом положении на головке 30 винта. Вместо конструкции в виде шестигранного гнезда средство 29 для установки отвертки также может быть выполнено в виде, например, шестигранного гнезда, гнезда типа Torx или Phillips.
Соединительный элемент 5 состоит из полого корпуса, коаксиального центральной оси 2, с верхним концом 6 и нижним концом 7. Диаметр полости 8 соединительного элемента 5 уменьшается в направлении к нижнему концу 7, на котором сформирован буртик 9 с опорной поверхностью 25, на которую может быть установлена головка 30 винта, средства 1 фиксации кости. Винтовой стержень 24 средства 1 фиксации кости может быть пропущен через полость 8, сужающуюся к нижнему концу 7 соединительного элемента 5. Через соединительный элемент 5, кроме того, проходит вертикально по отношению к центральной оси 2 первый канал 10, в котором первый канал 10 открыт со стороны верхнего конца 6 соединительного элемента 5. Глубина канала 10, измеряемая от верхнего конца 6 соединительного элемента 5 параллельно центральной оси 2, задана таким образом, что продольный держатель 11, введенный в канал 10, может быть установлен в концевом положении головки 30 винта средства 1 фиксации кости. Уплотнительный колпачок 12 надевают на соединительный элемент 5, так что передний конец 20 уплотнительного колпачка 12 направлен к нижнему концу 7 соединительного элемента 5, при этом соединительный элемент 5 частично устанавливается внутри него, параллельно центральной оси 2, во второй полости 18, сформированной в уплотнительном колпачке 12. Второй канал 17, проходящий через уплотнительный колпачок 12, вертикально по отношению к центральной оси 2, позволяет устанавливать продольный держатель 11, расположенный в соединительном элементе 5, в первом канале 10, внутри уплотнительного колпачка 12. Второй канал 17 выходит с переднего конца 20 уплотнительного колпачка 12, благодаря чему уплотнительный колпачок 12 может быть надет на соединительный элемент 5, параллельно центральной оси 2, когда продольный держатель 11 установлен в соединительный элемент 5.
Вдоль центральной оси 2 средство 21 фиксации выполнено в виде выступов 15, сформированных на внешней стороне соединительного элемента 5 и взаимодополняющих выемок 16, расположенных на поверхности второй полости 18 уплотнительного колпачка 12. Средство 21 фиксации может быть установлено на двух осевых уровнях, что означает возможность различных положений защелкивания. Первое положение защелкивания предпочтительно используют для изменения положения фиксируемых костей или фрагментов кости, в то время как второе или другие положения защелкивания используют для фиксации устройства.
Выступы 15 и выемки 16 выполнены с профилем в форме зубьев пилы в поперечном сечении, параллельном центральной оси 2, в котором скошенные фланцы выступов 15 ориентированы в направлении нижнего конца 7 соединительного элемента 5 и скошенные фланцы выемок 16 ориентированы в направлении заднего конца 19 уплотнительного колпачка 12. Когда уплотнительный колпачок 12 надет на соединительный элемент 5 параллельно центральной оси 2, два сегмента 27, 28 (фиг.2b) уплотнительного колпачка 12, образованные вторым каналом 17, упруго раздвигаются в поперечном направлении центральной оси 2, в результате чего уплотнительный колпачок 12 можно надеть поверх выступов 15 на соединительный элемент 5 до тех пор, пока выемки 16 во второй полости 18 не накроют выступы 15, и два сегмента 27, 28 (фиг.2b) уплотнительного колпачка 12 упруго не защелкнутся в направлении центральной оси 2.
Средство 13 затяжки выполнено в виде фиксирующего винта, который может быть ввинчен во внутреннюю резьбу отверстия 31 на заднем конце 19 уплотнительного колпачка 12, проходящего коаксиально центральной оси 2.
На фиг.2 показан соединительный элемент 5 в виде с верхнего конца 6. Полость 8 и фиксирующее средство 21 расположены концентрично центральной оси 2 (фиг.1), в котором фиксирующее средство 21 сконфигурировано в форме выступов 15, которые при рассмотрении в направлении, параллельном центральной оси 2, расположены по внешнему контуру соединительного средства 5. Кольцеобразная боковая стенка соединительного элемента 5 и выступы 15 прерываются каналом 10, в котором ось 14 канала проходит вертикально по отношению к центральной оси 2 (фиг.1).
Продольный держатель 11 устанавливают в канал 10. Кроме того, канал 10 соединительного элемента 5 образует две стенки 22, 23 на участке его длины, причем выступы 15 сформированы только на этих двух стенках 22, 23 и не окружают весь соединительный элемент 5.
На фиг.2b показан уплотнительный колпачок 12, установленный на соединительный элемент 5, и средство 13 затяжки. Второй канал 17 проходит через уплотнительный колпачок 12 на участке его длины по вертикали по отношению к центральной оси 2 (фиг.1), в результате чего на уплотнительном колпачке 12 образуются два сегмента 27, 28, которые упруго расширяются в радиальном направлении, когда уплотнительный колпачок 12 надевают на соединительный элемент 5, что позволяет надевать уплотнительный колпачок 12 поверх выступов 15 (фиг.1). Когда уплотнительный колпачок 12 будет в достаточной степени надет на соединительный элемент 5 так, что выемки 16 (фиг.1) могут соединиться с выступами 15 (фиг.1), два сегмента 27, 28 упруго сжимаются назад, то есть в направлении центральной оси 2 (фиг.1).
Вариант выполнения устройства в соответствии с настоящим изобретением, показанный на фиг.3 и фиг.4, отличается от варианта выполнения, представленного на фиг.1 и 2, только тем, что уплотнительный колпачок 12 содержит два паза 34, выполненные ортогонально по отношению ко второму каналу 17, которые сформированы в стенке уплотнительного колпачка 12, от его переднего конца 20. Вместо двух сегментов 27, 28 (фиг.2b) уплотнительный колпачок 12 в данном варианте выполнения содержит четыре сегмента 27, 28, 32, 33. Это означает, что упругость уплотнительного колпачка 12 может быть повышена, и такой колпачок легче надевать на выступы 15 соединительного элемента 5.
Для имплантации устройства предварительно собранный имплантат, содержащий средство 1 фиксации кости и соединительный элемент 5, вынимают из контейнера имплантата, при этом отвертка уже установлена в средство 29 и не требуется использовать какой-любой другой инструмент для удержания деталей, кроме того, хирург не должен соединять какие-либо детали. Затем имплантат, который в случае необходимости состоит только из средства 1 фиксации кости, и соединительный элемент 5 ввинчивают в подготовленную ножку дуги позвонка. После установки продольного держателя 11 в первый канал 10, сформированный в соединительном элементе 5, ту же отвертку используют для вынимания из контейнера имплантата также предварительно собранного уплотнительного колпачка 12, который содержит средство 13 фиксации, и при выполнении этой операции также не требуется использовать специальный инструмент. С помощью специального зажима уплотнительный колпачок 12 устанавливают в первую точку защелкивания, то есть когда первая выемка 16 уплотнительного колпачка 12 надета на первый выступ 15 соединительного элемента 5. После выполнения повторной установки положения уплотнительный колпачок 12 устанавливают во второе или третье положение защелкивания и фиксируют. Затем с помощью отвертки затягивают средство 13 затяжки, и при этом продольный держатель 11, установленный в первый канал 10, блокируется в соединительном элементе 5. После затягивания средства 13 затяжки продольный держатель 11 прижимается к головке 30 винта, в результате чего он зажимается между буртиком 9 и продольным держателем 11 средства 1 фиксации кости вместе с продольным держателем 11, который блокируется в соединительном элементе 5.
На фиг.5 показан вариант выполнения устройства в соответствии с настоящим изобретением, который отличается от вариантов выполнения, описанных выше, только тем, что с помощью фиксирующего средства 35 предотвращают выход головки 30 винта средства 1 фиксации кости из полости 8. Фиксирующее средство 35 содержит шпильку 37, которую зажимают, например, в отверстии 38, проходящем поперечно центральной оси 2, в полость 8. Отверстие 38 расположено по оси между задним концом 41 головки 30 винта и верхним концом 6 соединительного элемента 5. Вместо одного отверстия 38 в качестве средства 35 фиксации также могут быть сформированы несколько отверстий 38, распределенных по ширине, и при этом используют несколько шпилек 37.
На фиг.6 показан вариант выполнения устройства в соответствии с настоящим изобретением, в котором вместо одной или нескольких шпилек 37 используют средство 35 фиксации, выполненное в форме пружинной шайбы 39. Пружинную шайбу 39 устанавливают в канавку 40, сформированную на заднем конце 41 головки 30 винта, и она проходит в полость 8 так, что полость 8 сужается в этом месте по отношению к ее верхнему концу 6. Канавка 40 расположена вдоль оси таким образом, что пружинное кольцо 39, установленное в ней, не выходит за пределы дальнего конца 41 головки 30 винта в направлении верхнего конца 6 соединительного элемента 5, что означает, что продольный держатель 11 не упирается в пружинное кольцо 39. Головка 30 винта выполнена с этой целью, например, с уменьшенным размером на ее заднем конце 41, и на этом заднем конце 41 головка винта имеет осевой сегмент 42, диаметр которого меньше, чем диаметр головки 30 винта. Буртик 43, сформированный этим сегментом 42 с уменьшенным диаметром, затем упирается в фиксирующее средство 35, которое выполнено здесь в форме пружинного кольца 39, так, что фиксируются продольные перемещения головки 30 винта в направлении верхнего конца 6 соединительного элемента 5 благодаря использованию пружинного кольца 39 в полости 8. Сегмент 42 головки 30 винта проходит через кольцевое отверстие пружинного кольца 39 за пределы пружинного кольца 39, так, что продольный держатель 11 может упираться в задний конец 41 головки 30 винта.
Формула изобретения
1. Устройство, предназначенное для соединения продольного держателя (11) со средством (1) фиксации кости, в частности с винтом для ножки дуги позвонка, содержащее
A) соединительный элемент (5), установленный коаксиально по отношению к центральной оси (2), с верхним концом (6), нижним концом (7), полостью (8), выполненной коаксиально по отношению к центральной оси (2), проходящей через соединительный элемент (5) от верхнего конца (6) к нижнему концу (7), которая выполнена сужающейся в направлении к ее нижнему концу (7) в виде, по меньшей мере, одного буртика (9), и с каналом (10), проходящим через соединительный элемент (5) поперечно-продольной оси (2), для установки в него продольного держателя (11);
B) уплотнительный колпачок (12), содержащий передний конец (20), задний конец (19), вторую полость (18), открывающуюся на переднем конце (20), для установки в нее соединительного элемента (5) и второй канал (17), проходящий поперечно по отношению к центральной оси (2) и открывающийся в направлении к переднему концу (20) уплотнительного колпачка (12);
C) средство (13) затяжки, которое может быть зафиксировано на уплотнительном колпачке (12) на его заднем конце (19) и с помощью которого продольный держатель (11), установленный в канал (10), может быть зафиксирован в соединительном элементе (5), с помощью чего
D) снаружи от соединительного элемента (5) и во второй полости (18) уплотнительного колпачка (12) установлены защелкивающиеся средства (21) фиксации, расположенные так, что они взаимно дополняют друг друга и служат для фиксации уплотнительного колпачка (12) на соединительном элементе (5), отличающееся тем, что
Е) устройство содержит средство (35) фиксации, с помощью которого головку (30) винта средства (1) фиксации кости закрепляют в полости (8).
2. Устройство по п.1, отличающееся тем, что средства (21) фиксации расположены в плоскости поперечного сечения, ортогональной центральной оси (2), по внешнему контуру соединительного элемента (5) и на поверхности второй полости (18) уплотнительного колпачка (12).
3. Устройство по п.2, отличающееся тем, что средства (21) фиксации содержат выступы (15), расположенные снаружи соединительного элемента (5), и взаимодополняющие выемки (16) во второй полости (18) уплотнительного колпачка (12).
4. Устройство по п.1, отличающееся тем, что буртик (9) содержит опорную поверхность (25) в форме круглого кольца, расположенного концентрично по отношению к центральной оси (2).
5. Устройство по п.1, отличающееся тем, что уплотнительный колпачок (12) содержит два паза (34), расположенные ортогонально по отношению ко второму каналу (17), которые проходят через стенку уплотнительного колпачка (12) от направления переднего конца (20).
6. Устройство по п.1, отличающееся тем, что содержит средство (1) фиксации кости с центральной осью (2), передним сегментом (3) и примыкающим вдоль оси задним сегментом (4), в котором задний сегмент (4) имеет цилиндрическую форму или форму призмы и передний сегмент (3) используют для фиксации на кости и в котором задний сегмент (4) средства (1) фиксации кости фиксируется с помощью буртика (9) соосно в направлении к заднему концу (7) соединительного элемента (5), в то время как передний сегмент (3) средства (1) фиксации кости проходит вдоль оси от заднего конца (7) соединительного элемента (5).
7. Устройство по п.6, отличающееся тем, что средство (1) фиксации кости представляет собой винт для ножки дуги позвонка с винтовым стержнем (24), содержащим внешнюю резьбу (26), и головкой (30) винта (30) на его конце.
РИСУНКИ
MM4A – Досрочное прекращение действия патента СССР или патента Российской Федерации на изобретение из-за неуплаты в установленный срок пошлины за поддержание патента в силе
Дата прекращения действия патента: 23.11.2006
Извещение опубликовано: 10.08.2010 БИ: 22/2010
|
|