|
|
(21), (22) Заявка: 2002119395/12, 20.12.2000
(24) Дата начала отсчета срока действия патента:
20.12.2000
(30) Конвенционный приоритет:
21.12.1999 (пп.1-14) GB 9930134.3
(43) Дата публикации заявки: 10.04.2004
(45) Опубликовано: 10.03.2006
(56) Список документов, цитированных в отчете о поиске:
US 4817538 А, 04.04.1989. US 3855943 А, 24.12.1974. GB 2290077 А, 13.12.1995. US 5720230 А, 24.02.1998. RU 23735 U1, 20.07.2002. ЕР 0564892 A1, 13.10.1993.
(85) Дата перевода заявки PCT на национальную фазу:
22.07.2002
(86) Заявка PCT:
GB 00/04891 (20.12.2000)
(87) Публикация PCT:
WO 01/45537 (28.06.2001)
Адрес для переписки:
103735, Москва, ул. Ильинка, 5/2, ООО “Союзпатент”, пат.пов. Л.С.Кишкиной
|
(72) Автор(ы):
КРОУН Питер (GB), СМИТ Найджел (GB), БОУМАР Джеред (GB)
(73) Патентообладатель(и):
АРТФОРМ ИНТЕРНЭШНЛ ЛИМИТЕД (GB)
|
(54) УСТРОЙСТВО МАТРИЧНОГО ТИПА ДЛЯ ДЕМОНСТРАЦИИ ТОВАРОВ
(57) Реферат:
Изобретение относится к устройствам для демонстрации товаров, предназначенным для использования в выставочных демонстрационных стендах. Технический результат – расширение функциональных и эксплуатационных возможностей. Устройство содержит несущую конструкцию, приспособленную для соединения с одним или более дистационирующими стержнями. Периферийный торец стержня выполнен с возможностью поддержания щита. Щит снабжен, по меньшей мере, одним демонстрационным окном, в котором могут быть размещены магазины для демонстрации товаров с возможностью видеть их через окно, при этом магазин для демонстрации товаров может выдвигаться для облегчения наполнения магазина. 2 н. 12 з.п. ф-лы, 1 ил. 
Настоящее изобретение относится к новой конструкции устройства для демонстрации товаров, предназначенного для использования в стендах для демонстрации товаров.
Стенды для демонстрации товаров обычно содержат магазин (или кассету) с товаром, который может быть снабжен толкателем товаров, обеспечивающим подачу товара к передней стороне магазина. В последнее время были разработаны магазины для товаров, выполненные с возможностью перемещения за счет скользящего контакта. Один из таких магазинов описан, например, в патенте Великобритании №2290077. Магазин для товаров, выполненный с возможностью перемещения со скольжением, описан также и в находящейся в процессе одновременного рассмотрения заявке на выдачу патента Великобритании (пока еще не опубликована), в которой раскрыто устройство, предназначенное для установки на стенде для демонстрации товаров, включающее продольный кронштейн, снабженный средствами для прикрепления указанного кронштейна к демонстрационному стенду. В указанном продольном кронштейне выполнен, по меньшей мере, один паз, в котором установлен с возможностью продольного скольжения магазин с товаром и в котором он может перемещаться от убранного положения до выдвинутого положения, при этом магазин снабжен толкателем товаров, установленным с возможностью скольжения, который смещается под воздействием силы упругости к передней части магазина, а кронштейн снабжен средствами для его контактного сцепления с толкателем товаров.
В патенте США №4817538 описано устройство матричного типа, предназначенное для демонстрации товаров, содержащее опорную несущую конструкцию, приспособленную для соединения с одним или более дистанционирующими кронштейнами, периферийный торец каждого из которых выполнен таким образом, что он может поддерживать панельный щит, при этом в объемах, образованных между панелями щита, размещены магазины (или кассеты) с различными товарами.
Усовершенствование магазинов для товаров, перемещаемых путем скольжения, дает в настоящее время возможность получить устройство для товаров матричного типа, которое обладает преимуществами по сравнению с устройствами, известными из аналогов.
Таким образом, согласно настоящему изобретению обеспечивается устройство матричного типа для демонстрации товара, которое включает несущую конструкцию, приспособленную для присоединения к ней одного или более дистанционирующих стержней, при этом периферийный торец стержня приспособлен для поддерживания щита, отличающееся тем, что щит снабжен, по меньшей мере, одним демонстрационным окном, в котором может быть размещен один магазин с товаром или более чем один так, чтобы эти магазины можно было видеть через указанное демонстрационное окно, а магазин для демонстрации товара выдвигался для облегчения его загрузки товаром. Несущая конструкция может представлять собой обычную известную конструкцию. Так, она может быть выполнена из соединенных между собой направляющих элементов (образующих конструкцию типа траковой ленты) или, например, в виде перфорированной плиты, в отверстиях которой элементы устройства могут быть закреплены с помощью крючков. Предпочтительно использование несущей конструкции, представляющей собой сборку из направляющих элементов, и в особенности такой, которая содержит множество пазов или щелей, в которых могут быть закреплены дистанционирующие стержни, один или более.
Пазы или щели могут быть ориентированы горизонтально, вертикально или под углом или же может быть использована комбинация таких пазов или щелей. Однако предпочтительно выполнение несущей конструкции с большим количеством горизонтальных пазов или щелей и в особенности с большим количеством горизонтальных пазов. Несущая конструкция в виде сборки направляющих элементов может быть свободно стоящей, или она может быть снабжена опорами, позволяющими ей свободно стоять, или же она может быть приспособлена для крепления к стене.
Предпочтительно, хотя и несущественно, чтобы все используемые дистанционирующие стержни были одинаковыми. Поэтому эти стержни могут быть выполнены в виде опорного выступа. Торец стержня, прилегающий к несущей конструкции из направляющих элементов, снабжен средствами для сцепления с указанной конструкцией, при этом эти средства, которыми их выбор не ограничивается, могут представлять собой крюкообразный элемент или большое количество крюкообразных элементов. Предпочтительно, чтобы эти средства зацепления были бы такими же, что и средства зацепления, используемые в конструкции магазина для демонстрации товара. Периферийный торец дистанционирующего стержня снабжен средством для его соединения со щитом, при этом на периферийном торце стержня может быть использовано любое общеизвестное средство соединения. Предпочтительно, чтобы средство для соединения со щитом представляло собой отверстие, расположение которого соответствует отверстию, выполненному в щите. Это отверстие (в торце стержня) может быть, по желанию, выполнено с резьбой, но, по меньшей мере, оно должно обеспечивать размещение в нем соединительного элемента, например винта (путем его ввинчивания).
Размеры дистанционирующего стержня могут быть различными, но предпочтительно, чтобы длина каждого из стержней была одинаковой и по существу равной длине магазина для товара, обеспечивая тем самым хорошую видимость экспонирующего товар магазина через демонстрационное окно в щите. Предпочтительно, чтобы длина каждого из стержней не была большей, и более предпочтительно, чтобы она даже была немного меньше, чем длина магазина для демонстрации товара с тем, чтобы указанный магазин немного выступал через демонстрационное окно щита.
Щит может быть выполнен из любого материала, обычно используемого в качестве материала для рекламы, из такого, например, как пластик, металл, картон, ламинат, стекло или любой их комбинации. Щит выполнен с возможностью размещения на нем рекламы (или внутри него, если используют слоистый прозрачный материал), обеспечивая таким образом возможность для производителя или розничного торговца разместить материал рекламного характера в непосредственной близости от демонстрации самих товаров. Существенной особенностью щита является то, что он имеет, по меньшей мере, одно демонстрационное окно, но предпочтительно – большое количество демонстрационных окон, например два или три, которые позволяют видеть демонстрируемый товар. Каждое из этих демонстрационных окон может иметь размеры, обеспечивающие возможность видеть более чем один магазин с товаром. Щит может быть снабжен выполненными в нем средствами соединения с дистанционирующими стержнями. В качестве альтернативы щит может быть снабжен только одним или более отверстиями, расположенными так, чтобы они соответствовали средствам соединения или отверстиям, выполненным на торце дистанционирующего стержня, примыкающем к щиту (т.е. на торце стержня, удаленном от несущей конструкции).
Магазин для демонстрации товара может быть любым из известных магазинов традиционного исполнения. Однако предпочтительно указанный магазин выполняется таким, что он может выдвигаться для облегчения наполнения его товаром. Наиболее предпочтительно, чтобы магазин был таким, как описанный в находящейся в стадии рассмотрения заявке на выдачу патента Великобритании №9929911.7. Поэтому магазин для демонстрации товара содержит продольный кронштейн, снабженный средствами для его крепления к несущей конструкции, при этом указанный продольный кронштейн содержит, по меньшей мере, один паз, в котором магазин с размещенным в нем товаром установлен с возможность скольжения и перемещения от выдвинутого до убранного положения, при этом магазин снабжен смонтированным с возможность скольжения толкателем товаров, который под действием силы упругости смещается по направлению к передней части магазина, а кронштейн снабжен средствами для контактного сцепления с толкателем товаров.
Так, магазин с размещенным в нем товаром снабжен продольной прорезью для облегчения скользящего перемещения толкателя товаров. Основание магазина предпочтительно может быть выполнено со средствами для контактного сцепления с продольным кронштейном. Эти средства сцепления должны быть такими, чтобы магазин мог легко перемещаться со скольжением вдоль кронштейна. Вместе с тем средства сцепления предпочтительно должны ограничивать вертикальное перемещение магазина. Особое преимущество этих средств заключается в том, что при нахождении магазина в выдвинутом положении он блокируется от опрокидывания под действием веса какого-либо загруженного в него товара. Для этого кронштейн предпочтительно снабжается одним или более чем одним пазами, находящимися в контактном зацеплении с крюкообразным элементом, которым снабжено основание магазина. Используемым крюкообразным элементом может быть крюк (скоба) L-образной формы, имеющий форму перевернутой буквы Т. В большинстве предпочтительных вариантов воплощения изобретения основание магазина выполнено с двумя L-образными крюками, например, оппозитно расположенными по отношению друг к другу. В этом случае кронштейн снабжен парой соответствующих продольных пазов, например по одному пазу с каждой из боковых сторон кронштейна.
Средство для смещения (толкателя) под действием силы упругости предпочтительно представляет собой пружину. Пружина может быть любого обычного типа, например, это может быть витая спиральная или пластинчатая пружина. Подходящим средством для смещения толкателя продукта является плоская витая спиральная пружина, свободный конец которой прикреплен к магазину, например, в непосредственной близости от передней части магазина, а остальная часть пружины навита и установлена на задней поверхности толкателя товаров.
Продольный кронштейн снабжен средством для контактного сцепления с толкателем товаров. Предпочтительно это средство сцепления приспособлено также для сцепления с магазином, заполненным товаром, например с основанием этого магазина. Средство сцепления предпочтительно представляет собой выступ, находящийся в контактном взаимодействии с основанием толкателя товаров. Поэтому, когда основание толкателя товаров входит в контакт с выступом на кронштейне, толкатель не может больше перемещаться по направлению к передней части кассеты с товаром. Кроме того, когда магазин с товаром выдвигают из кронштейна для повторного наполнения товаром, толкатель остается неподвижным, что, таким образом, обеспечивает его эффективное перемещение вблизи задней части магазина с товаром. В одном из вариантов выполнения выскальзывание толкателя товаров из магазина предотвращается с помощью задней стенки магазина.
Кроме того, “низ” магазина с товаром может быть снабжен выступом в виде ребра, которое также может входить в контактное сцепление с выступом на кронштейне. За счет такого выполнения указанное ребро предотвращает свободное проскальзывание магазина с товаром обратно в кронштейн устройства. При использовании оператор должен, следовательно, сначала приподнять магазин с товаром так, чтобы ребро сначала прошло за выступ, после чего магазин с товаром сможет вновь занять свое местоположение в конструкции консоли. В предпочтительном воплощении указанное ребро снабжено наклонной поверхностью для облегчения направленного вверх скольжения ребра по выступу консоли.
Толкатель товаров может воплощать общеизвестную конструкцию. Предпочтительно, толкатель товаров представляет собой деталь L- образной формы из пластикового материала, основание которой снабжено крюкообразным элементом, как это было описано выше.
Согласно настоящему изобретению устройство матричного типа для демонстрации товара может представлять собой отдельный модуль, который может быть прикреплен к несущей конструкции из сборки направляющих элементов. Как было отмечено выше, такая несущая конструкция известна.
Магазины для демонстрации товара могут по желанию быть объединены вместе. Объединяют, например, две кассеты или более так, чтобы их можно было выдвинуть вместе из соответствующих кронштейнов. Это может быть достигнуто, используя упругий зажим, такой как описан, например, в заявке на выдачу патента Великобритании №9929911.7, находящейся на стадии рассмотрения.
Кроме того, предлагаемое изобретение обеспечивает комплект элементов, включающий один дистанционирующий стержень или более, щит, имеющий демонстрационное окно, и один (или более) магазин для демонстрации товара, такой как был описан выше.
Настоящее изобретение далее будет описано на единственном примере осуществления со ссылкой на приложенный чертеж. На чертеже устройство для демонстрации товара показано в перспективе.
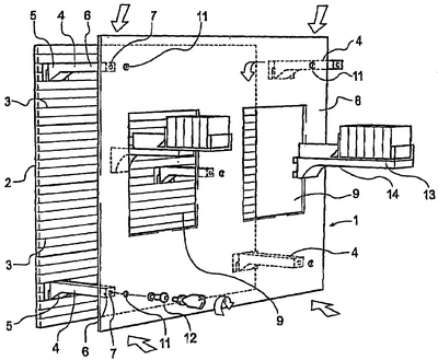
Изображенное на чертеже устройство матричного типа для демонстрации товара (1) содержит несущую конструкцию из соединенных между собой направляющих элементов (2), снабженную большим количеством продольных горизонтальных щелей (3). К указанной несущей конструкции (2) прикреплено большое количество дистанционирующих стержней (4). Каждый стержень на одном торце (5) снабжен средствами (не показаны) для контактного сцепления с несущей конструкцией из соединенных направляющих элементов (2). На втором удаленном торце (6) каждого дистанционирующего стержня (4) имеется отверстие (7). Демонстрационное устройство матричного типа (1) включает демонстрационный щит, который содержит пару демонстрационных окон (9) и (10). Щит (8), кроме того, снабжен соединительными отверстиями (11), расположенными так, что они совпадают с соответствующими отверстиями (7) в торцах дистанционирующих стержней (4). Щит (8) удерживается снаружи (на торцах) стержней (4) с помощью крепежного винта с полусферической головкой (12), который проходит сквозь соединительное отверстие (11) в щите (8) и входит (ввинчивается) в отверстие (7), выполненное в дистанционирующем стержне (4). Магазин для демонстрации товаров (13) установлен на опоре (14) и включает продольный L-образный кронштейн, снабженный крюками (не показаны), которые входят в зацепление со щелями (3) в несущей конструкции, образованной сборкой направляющих элементов (2).
При использовании устройства магазин для демонстрации товара (13) виден через демонстрационные окна (9) и (10) щита (8) или же он выступает наружу через окна (9) и (10). Щит (8) может служить носителем объявлений, рекламных или других материалов.
Формула изобретения
1. Устройство матричного типа для демонстрации товаров, содержащее несущую конструкцию, приспособленную для соединения с одним или более дистанционирующими стержнями, при этом периферийный торец дистанционирующего стержня выполнен с возможностью поддержания щита, отличающееся тем, что щит снабжен, по меньшей мере, одним демонстрационным окном, в котором могут быть размещены магазины для демонстрации товара с возможностью видеть их через демонстрационное окно, при этом магазин для демонстрации товаров может выдвигаться для облегчения наполнения магазина.
2. Устройство по п.1, отличающееся тем, что несущая конструкция представляет собой сборку из соединенных направляющих элементов.
3. Устройство по п.2, отличающееся тем, что сборка из соединенных направляющих элементов содержит большое количество горизонтальных щелей.
4. Устройство по п.1, отличающееся тем, что торец дистанционирующего стержня, примыкающий к несущей конструкции, снабжен средствами контактного сцепления с несущей конструкцией.
5. Устройство по п.4, отличающееся тем, что средства для контактного сцепления представляют собой большое количество крюкообразных элементов.
6. Устройство по п.1, отличающееся тем, что периферийный торец дистанционирующего стержня снабжен средством для присоединения к щиту.
7. Устройство по п.1, отличающееся тем, что средство для присоединения к щиту представляют собой отверстие.
8. Устройство по п.1, отличающееся тем, что размеры каждого из дистанционирующих стержней таковы, что длина дистанционирующего стержня по существу такая же, что и длина магазина для демонстрации товаров.
9. Устройство по п.1, отличающееся тем, что длина каждого из стержней немного меньше длины магазина для демонстрации товаров.
10. Устройство по п.1, отличающееся тем, что щит содержит большое количество демонстрационных окон.
11. Устройство по п.1, отличающееся тем, что магазин для демонстрации товаров содержит продольный кронштейн со средствами для присоединения кронштейна к несущей конструкции, при этом продольный кронштейн включает, по меньшей мере, один паз, в котором установлен магазин, содержащий товары, с возможностью его продольного скольжения и перемещения от положения убранного до положения выдвинутого, причем магазин снабжен толкателем товаров, смонтированным с возможностью скольжения, который находится под смещающим воздействием упругой силы, действующей в направлении передней части магазина, а кронштейн снабжен средствами для контактного сцепления с толкателем товаров.
12. Устройство по п.1, отличающееся тем, что, по меньшей мере, два из указанных магазинов объединены вместе.
13. Устройство по п.12, отличающееся тем, что магазины для демонстрации товаров объединены с помощью упругого зажима.
14. Способ демонстрации товаров, включающий использование устройства матричного типа для демонстрации товаров по п.1.
РИСУНКИ
|
|