|
|
(21), (22) Заявка: 2003119489/11, 01.07.2003
(24) Дата начала отсчета срока действия патента:
01.07.2003
(30) Конвенционный приоритет:
04.07.2002 (пп.1-8, 9-12) BY a20020576
(43) Дата публикации заявки: 10.02.2005
(45) Опубликовано: 27.02.2006
(56) Список документов, цитированных в отчете о поиске:
Каталог деталей “БОБРУЙСКАГРОМАШ”, Пресс-подборщики рулонные ПР-Ф-750, ПР-Ф-180. Минск: Клiч, 1998, с.14. SU 626288, 30.09.1978. SU 281969, 13.09.1972.
Адрес для переписки:
220030, Республика Беларусь, г. Минск, пл.Свободы, 23, оф.55, для В.И. Шаплыко
|
(72) Автор(ы):
Шаплыко Валерий Иванович (BY), Пахилко Евгений Поликарпович (BY), Чага Александр Гаврилович (RU), Шаплыко Павел Валерьевич (BY)
(73) Патентообладатель(и):
Шаплыко Валерий Иванович (BY)
|
(54) ПРИСОЕДИНИТЕЛЬНОЕ УСТРОЙСТВО И ЦЕПЬ
(57) Реферат:
Изобретение относится к области машиностроения, в частности к тяговым цепям для цепных передач со звездочками стандартного исполнения, которые могут быть использованы в механизмах строительно-дорожных, сельскохозяйственных и т.п. машин, подъемных механизмов и различного рода технологических устройств, а также к присоединительному устройству, являющемуся элементом цепи для цепных передач со звездочками стандартного исполнения и предназначенному для присоединения к цепям исполнительных органов технологических устройств. Присоединительное устройство для цепных передач со звездочками стандартного исполнения содержит корпус 3, два осевых элемента 8 и соединительные элементы 7, установленные перпендикулярно относительно оси 5 корпуса 3. Оба осевых элемента 8 размещены в корпусе 3 симметрично относительно его оси 5. В корпусе 3 в плоскости, перпендикулярной оси 5 корпуса 3, выполнен, по меньшей мере, один паз 6, в котором упомянутые соединительные элементы 7 размещены с возможностью фиксации по отношению к линейным перемещениям и с возможностью радиального перемещения относительно оси 9 соответствующего осевого элемента 8. Изобретение также раскрывает цепь, которая содержит втулочные, роликовые или втулочно-роликовые звенья, при этом, по меньшей мере, одно звено выполнено в виде описанного выше присоединительного устройства. Технический результат заключается в обеспечении простого и надежного крепления к цепи посредством присоединительного устройства различных исполнительных механизмов. 2 н. и 10 з.п. ф-лы, 6 ил. 
Изобретение относится к машиностроению, а именно к тяговым цепям технологического назначения, которые могут быть использованы в цепных механизмах строительно-дорожных, сельскохозяйственных и т.п. машин, подъемных механизмов и различного рода технологических устройств, а также к присоединительному устройству, являющемуся элементом цепи и предназначенному для присоединения к цепям исполнительных органов технологических устройств.
Цепи, представляющие собой твердое гибкое тело, состоящее из ряда последовательно соединенных элементов – звеньев – широко используются в различных машинах и механизмах и отличаются большим многообразием выполнения. При этом для тяговых цепей выделяется обширный класс втулочных, роликовых и втулочно-роликовых цепей. При использовании такого рода цепей в машинах и механизмах сталкиваются, в том числе, с необходимостью крепления на них различного рода исполнительных (рабочих) органов (механизмов), которые перемещаются вместе с цепью по определенной траектории, в том числе, и через звездочки цепной передачи, и предназначены для выполнения определенной механической работы.
Несмотря на большое разнообразие существующих конструкций тяговых цепей [1], для обеспечения работоспособности, надежности, долговечности и других характеристик цепной передачи и механизма, в целом, основным является соблюдение принципа сохранения шага цепи – расстояния между параллельными осями двух смежных звеньев, измеренное при натяжении цепи, а также равномерное распределение нагрузки на все участки элементов передачи. При использовании цепи, как таковой, в качестве элемента цепной передачи принцип сохранения шага цепи легко достижим, и для стандартных цепей могут быть использованы стандартные звездочки. Однако при необходимости присоединения к цепи каких-либо дополнительных устройств, в том числе передаточных, кинематика цепи, как правило, нарушается. В отдельных случаях избежать нарушения кинематики цепи возможно путем шарнирного присоединения исполнительных механизмов к звеньям цепи в таком положении, чтобы обеспечивать свободное (беспрепятственное) прохождение ими звездочек [2]. Последнее условие резко сокращает возможные направления присоединения рабочих механизмов.
Известно присоединительное устройство и цепь, входящие в состав прессующего механизма рулонного пресс-подборщика [3]. Данное присоединительное устройство представляет собой осевой элемент, включенный в состав цепи вместо одного из стандартных роликовых элементов. Для присоединения осевого элемента к смежным звеньям цепи используют соединительные пластины специальной конструкции. Такое решение присоединительного элемента позволяет без особого труда размещать на осевом элементе исполнительные механизмы только с двух сторон, и нарушает при этом кинематику цепи за счет увеличения шага цепи на участке размещения присоединительного элемента. Использование такого присоединительного устройства в качестве звеньев цепи приводит при одном и том же диаметре звездочек к неравномерной нагрузке на зубья звездочек и звенья цепи, требует соблюдения кратности размещения аналогичных присоединительных устройств по цепи и других специальных мер, усложняет производство и ремонт из-за увеличения количества оригинальных деталей.
Наиболее близкими к заявляемым присоединительному устройству и цепи является присоединительное устройство и цепь, также входящие в состав прессующего механизма пресс-подборщика [4]. Упомянутое присоединительное устройство состоит из корпуса, одного осевого элемента и соединительных элементов, установленных перпендикулярно относительно оси корпуса. Описанное присоединительное устройство обеспечивает надежное присоединение, в данном случае, к втулочно-роликовой цепи различного рода исполнительных механизмов, при этом его включение в состав цепи практически не нарушает кинематику. Однако не обеспечивается возможность использования такого присоединительного устройства в качестве звена, а его размещение на цепи влечет за собой необходимость использования звездочек большего диаметра и их специального исполнения (например, со специальными вырезами), повышает нагрузку на элементы цепной передачи и сопрягаемые зубья звездочек, в частности, концентрируя ее на отдельных участках элементов цепной передачи, что приводит к неравномерности износа цепи, снижению эксплуатационных характеристик механизма в целом. Кроме того, использование упомянутых выше звездочек специального исполнения и размещение описанных присоединительных устройств с соблюдением кратности шага не всегда оправдано особенностями различных технологических процессов и ведет к необоснованной перегрузке отдельных элементов цепи.
Как уже неоднократно было отмечено выше, одной из важнейших характеристик цепи является шаг цепи, который определяет ее кинематику и работоспособность. Включение в цепь/присоединение к цепи описанных выше дополнительных элементов отличной от звеньев цепи конструкции чаще всего приводит к нарушению кинематики цепи вследствие нарушения шага цепи или зубьев звездочек на участках присоединения. Кроме того, передача нагрузок в цепной передаче, в состав которой включены присоединительные устройства, нередко осуществляется через небольшие рабочие поверхности, и неравномерное распределение нагрузок в таких передачах является еще одним существенным их недостатком. Таким образом, проблема выбора надежного и эффективного присоединения различного рода исполнительных механизмов к цепям цепной передачи все еще остается нерешенной и актуальной.
Задачей изобретения является создание присоединительного устройства, а также цепи, обеспечивающих простое и надежное крепление к цепи посредством присоединительного устройства различных исполнительных (рабочих) механизмов. При этом должен сохраняться шаг цепи и увеличиваться число поверхностей присоединительного устройства, свободных для присоединения исполнительных механизмов, а также должны обеспечиваться возможность использования таких цепей в цепных передачах со стандартными звездочками, диаметр которых может быть выбран из широкого диапазона значений, и возможность равномерного распределения нагрузки на элементы и участки элементов цепной передачи.
Поставленная задача решается предлагаемым присоединительным устройством, содержащим корпус, осевой элемент и соединительные элементы, установленные перпендикулярно относительно оси корпуса, которое дополнительно содержит второй осевой элемент, причем оба осевых элемента размещены в корпусе симметрично относительно его оси, в корпусе в плоскости, перпендикулярной оси корпуса, выполнен, по меньшей мере, один паз, в котором упомянутые соединительные элементы размещены с возможностью фиксации по отношению к линейным перемещениям и с возможностью радиального перемещения относительно оси соответствующего осевого элемента.
Соединительные элементы предлагаемого присоединительного устройства предпочтительно выполнены в виде соединительных пластин втулочной, роликовой или втулочно-роликовой цепи.
В одном из предпочтительных вариантов реализации изобретения корпус выполнен разомкнутым, по меньшей мере, с одной из сторон, параллельной плоскости, проходящей через оси обоих осевых элементов.
В еще одном из предпочтительных вариантов реализации изобретения в корпусе выполнены, по меньшей мере, четыре паза, расположенные попарно симметрично относительно оси корпуса.
Пазы корпуса предпочтительно выполнены с возможностью обеспечения свободного радиального перемещения соединительных элементов в заданных пределах.
Корпус присоединительного устройства предпочтительно имеет стыковые поверхности для связи с элементами передачи, по меньшей мере, одного исполнительного механизма.
Также предпочтительным в отдельных вариантах реализации изобретения является выполнение корпуса присоединительного устройства полнотелым.
В предпочтительном случае присоединительное устройство выполнено в виде звена втулочной, роликовой или втулочно-роликовой цепи.
Поставленная задача решается также в предлагаемой цепи, содержащей втулочные, роликовые или втулочно-роликовые звенья, последовательно соединенные соединительными элементами с отверстиями под осевые элементы, в которой, по меньшей мере, одно звено выполнено в виде присоединительного устройства, содержащего корпус и два осевых элемента, размещенных в корпусе симметрично относительно его оси, причем в корпусе присоединительного устройства выполнен, по меньшей мере, один паз, в котором размещены соединительные элементы с возможностью фиксации по отношению к линейным перемещениям и с возможностью радиального перемещения относительно оси соответствующего осевого элемента.
В одном из предпочтительных вариантов реализации заявляемой цепи в корпусе присоединительного устройства выполнены, по меньшей мере, четыре паза с возможностью обеспечения свободного радиального перемещения установленных в них соединительных элементов в заданных пределах, расположенные попарно симметрично относительно оси корпуса и согласованно относительно соединительных пластин смежных звеньев цепи.
Предпочтительным является выбор размера и формы корпуса присоединительного устройства, а также расположения осевых элементов в корпусе с возможностью обеспечения в каждом конкретном случае сохранения шага цепи.
Корпус присоединительного устройства предпочтительно связан с элементами передачи, по меньшей мере, одного исполнительного механизма.
Все упомянутые существенные признаки предлагаемых присоединительного устройства и цепи будут ниже подробно проиллюстрированы на различных примерах реализации изобретения. При этом следует отметить, что именно включение в состав присоединительного устройства второго осевого элемента, снабжение корпуса присоединительного устройства, по меньшей мере, одним пазом для размещения в нем соединительных элементов, в том числе соединительных пластин смежных звеньев цепи, а также описанные выше другие конструктивные, геометрические и т.п. особенности отдельных элементов присоединительного устройства и всего устройства в целом неочевидным образом позволяют достичь упомянутые выше технические результаты и решить поставленную задачу.
В ходе испытаний было установлено, что предлагаемое решение позволяет также:
– избежать вырезов в звездочках, что выравнивает нагрузки на зубья звездочки и звенья цепи;
– уменьшить диаметр звездочек до минимально допустимых размеров;
– размещать присоединяемые к цепи технологические устройства, не соблюдая кратность их шага, что расширяет возможности конструирования оборудования с использованием цепей технологического назначения, снизить затраты на производство присоединительных устройств за счет сокращения количества оригинальных деталей и увеличения количества однотипных деталей;
– обеспечить кинематическую равномерность работы всех звеньев цепи, включая звенья присоединительных устройств;
– повысить эксплуатационные характеристики, включая долговечность, за счет рассредоточения нагрузок от присоединительных технологических элементов;
– упростить сборочные и ремонтные операции.
Ниже изобретение поясняется более детально на трех примерах возможных форм реализации, представленных на чертежах. Данные формы реализации наиболее наглядно демонстрируют достоинства и преимущества заявляемого изобретения, раскрывая его сущность, и не являются ограничивающими объем притязаний заявителя.
На чертежах изображены:
Фиг.1 – вид спереди первого варианта выполнения заявляемого присоединительного устройства в разрезе в составе заявляемой цепи;
Фиг.2 – вид сверху с частичным разрезом по линии А-А присоединительного устройства по Фиг.1;
Фиг.3 – вид спереди с местным разрезом второго варианта выполнения заявляемого присоединительного устройства;
Фиг.4 – вид слева с местным разрезом присоединительного устройства по Фиг.3;
Фиг.5 – вид слева третьего варианта заявляемого присоединительного устройства с местными разрезами;
Фиг.6 – вид сверху присоединительного устройства по Фиг.5 с местным разрезом.
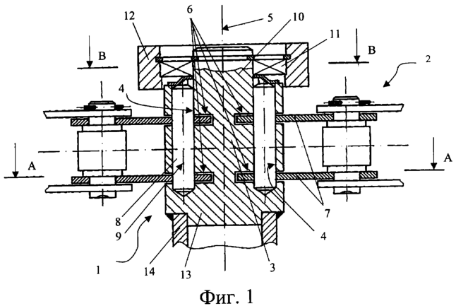
В представленном на Фиг.1, 2 и подробно описанном ниже варианте выполнения предлагаемого присоединительного устройства присоединительное устройство установлено в качестве звена в стандартной цепи, хорошо известной специалистам в данной области техники, и поэтому элементы данной цепи, не входящие в состав присоединительного устройства, в рамках настоящего изобретения подробно описаны не будут, т.к. они также хорошо известны специалистам в данной области. Кроме того, для специалиста также очевидным является возможность включения аналогичным первому варианту образом в состав стандартной цепи присоединительных устройств по Фиг.3-6, изображенных на данных чертежах отдельно от цепи.
На Фиг.1 представлен один из возможных вариантов предлагаемого присоединительного устройства 1, выполненного в виде элемента (звена) цепи 2. Для наглядности присоединительное устройство 1 изображено в разрезе и включено в качестве звена особого выполнения в состав втулочно-роликовой цепи 2. Присоединительное устройство 1 в изображенном варианте выполнения включает полнотелый корпус 3, в котором выполнены два осевых отверстия 4, расположенные симметрично относительно оси 5 корпуса 3, а также четыре паза 6, расположенные попарно симметрично относительно оси корпуса 5 и согласованно относительно соединительных пластин 7 цепи 2. В пазах 6 установлены соединительные элементы, выполненные в виде соединительных пластин 7 цепи 2. Для фиксации соединительных пластин 7 в корпусе 3 присоединительного элемента 1 по отношению к линейным перемещениям и для обеспечения возможности радиального перемещения соединительных пластин 7 в осевые отверстия 4 через соответствующие отверстия в соединительных пластинах 7 установлены осевые элементы, выполненные в виде валиков 8 с осью 9. Корпус 3 присоединительного устройства 1 имеет сложную конфигурацию, при этом верхняя часть 10 корпуса 3 выполнена меньшего диаметра и представляет собой вал, на котором установлен элемент передачи исполнительного механизма, выполненный в данном случае в виде подшипника 11, размещенного в корпусе 12 исполнительного механизма, а нижняя часть 13 корпуса 3 присоединительного устройства 1 выполнена с возможностью присоединения другого исполнительного механизма, выполненного в виде трубчатого вала 14.
На Фиг.2 представлен вид сверху с частичным разрезом по линии А-А присоединительного устройства по Фиг.1 (без подшипника 11). Данный вид дает изображение, в том числе, одного из возможных вариантов выполнения паза 6, при котором обеспечивается свободное радиальное перемещение соединительных пластин 7 в заданных формой границы паза 6 пределах. В данном случае, также и с целью обеспечения требуемой прочности корпуса 3, форма паза 6 определяется образующими 15 и 16 посредством выполнения этих образующих с различными радиусами кривизны: радиус R для образующей 15 и радиус r для образующей 16-и ступенчатого перехода от образующей 15 к образующей 16. При этом следует учитывать также, что значение радиуса R может стремиться к бесконечности, что позволяет говорить в таком случае не о дуге, а об отрезке прямой. При описанной конфигурации паза 6 головка 17 соединительной пластины 7 беспрепятственно может совершать радиальное перемещение относительно оси 9 валика 8 в широких пределах, обеспечивающих свободное прохождение присоединительного устройства 1 через звездочки с диаметром, выбранным также в широком диапазоне значений.
На Фиг.3 и 4 в двух проекциях представлен второй из возможных предпочтительных вариантов предлагаемого присоединительного устройства 1, который может быть использован в качестве элемента (звена) цепи (на чертеже не изображена). Присоединительное устройство 1 в изображенном варианте выполнения, также как и в первом варианте, включает корпус 3 с двумя осевыми отверстиями 4, расположенными симметрично относительно оси 5, а также четыре паза 6, расположенные попарно симметрично относительно оси корпуса 5 и, в случае выполнения в виде звена цепи, согласованно относительно соединительных пластин цепи (на чертежах не изображены). Принципы установки и взаимного размещения отдельных элементов присоединительного устройства 1 по второму варианту реализации аналогичны описанным выше для присоединительного устройства 1 по первому варианту реализации. В то же время, корпус 3 присоединительного устройства 1 выполнен полым в виде кожуха сложной конфигурации, который соединяется снизу с исполнительным механизмом, выполненным в виде вала 18. При этом верхняя часть 10 корпуса 3, аналогично описанному выше первому варианту выполнения присоединительного устройства по Фиг.1 и 2, выполнена меньшего диаметра в виде вала, на котором могут быть установлены элементы передачи других присоединяемых исполнительных механизмов (на чертежах не изображены). Пунктирной линией на Фиг.3 обозначено место установки валика 8 с осью 9.
На Фиг.5, 6 изображен третий возможный вариант заявляемого присоединительного устройства, которое также может быть использовано в качестве звена втулочной, роликовой и втулочно-роликовой цепи (на чертеже не изображена). Присоединительное устройство согласно этому варианту содержит корпус 3, выполненный разомкнутым, таким образом, что имеет U-образный профиль сечения, образованный, в том числе, за счет выполнения в корпусе единственного паза 6. В корпусе 3 симметрично относительно оси 5 корпуса выполнены два осевых отверстия 4 для установки валиков 8 (на Фиг.5 не изображены), которые за счет представленного на чертежах выполнения паза 6 зрительно представляют собой четыре осевых отверстия 4. Пунктирной линией на Фиг.6 изображены местоположения головок 17 соединительных пластин 7 в случае установки описанного присоединительного устройства в качестве звена цепи.
Принципы работы заявляемого присоединительного устройства в составе заявляемой цепи будут ниже пояснены на примере выполнения, представленном на Фиг.1, 2.
Присоединительное устройство 1, изготовленное в соответствии с параметрами стандартных звеньев цепи 2 (выбор диаметра и формы корпуса, расстояния между валиками 8, количества, местоположения, глубины и формы пазов 6) и параметрами и функцией присоединяемых исполнительных механизмов, устанавливают в качестве звена цепи 2, при этом соединительные пластины 7 смежных с присоединительным устройством 1 звеньев цепи 2 выполняют функцию соединительных элементов присоединительного устройства 1. Соединительные пластины 7 фиксируются по отношению к линейным перемещениям в пазах 6 корпуса 3 присоединительного устройства 1 посредством валиков 8. При этом соединительные пластины 7 имеют возможность перемещаться радиально относительно оси 9 соответствующего валика 8. С учетом изображенной на Фиг.2 и описанной выше формы выполнения паза 6 головка 15 соединительной пластины 7 беспрепятственно может совершать радиальное перемещение относительно оси 9 валика 8 в широких пределах, обеспечивающих свободное прохождение присоединительного устройства 1 через звездочки с диаметром, выбранным также в широком диапазоне значений.
Таким образом, соединительные пластины 7 имеют возможность независимо друг от друга совершать радиальное движение относительно соответствующего валика 8. Благодаря этому, а также за счет сохранения шага цепи, цепь 2 в месте размещения в ней присоединительного устройства 1 беспрепятственно, без перегрузки отдельных зубьев преодолевает звездочки цепной передачи и осуществляет движение по заданной траектории. При этом исполнительный механизм также беспрепятственно совершает заданную работу. При использовании заявленных присоединительных устройств в составе цепей, а также самих цепей с включенными в их состав присоединительными устройствами, кроме того, исключается необходимость выполнения звездочек специальной конструкции, а также установки присоединительных устройств с определенной кратностью.
Заявляемая цепь с включением в ее состав заявляемых присоединительных устройств может быть смонтирована в любых условиях с использованием традиционных технологий и оборудования. Конкретная конструкция присоединительного устройства с учетом всех заявленных существенных признаков и предполагаемой сферы применения может быть легко выбрана и реализована специалистом в данной области техники также с использованием стандартных материалов, технологий и оборудования.
Литература.
1. Большая Советская Энциклопедия, изд. 2-е, 1957, т.46, с.568.
2. В.Е.Комаристов, И.В.Автухов, Н.Ф.Дунай, Е.И.Храпач, Сельскохозяйственные машины и орудия, М.: Колос, 1964, с.356-357.
3. Каталог деталей “Бобруйскагромаш”, Пресс-подборщики рулонные ПР-Ф-750, ПР-Ф-180, Клiч, Минск, 1998, с.15.
4. Каталог деталей “Бобруйскагромаш”, Пресс-подборщики рулонные ПР-Ф-750, ПР-Ф-180, Клiч, Минск, 1998, с.14.
Формула изобретения
1. Присоединительное устройство для цепных передач со звездочками, содержащее корпус, осевой элемент и соединительные элементы, установленные перпендикулярно относительно оси корпуса, отличающееся тем, что дополнительно содержит второй осевой элемент, причем оба осевых элемента размещены в корпусе симметрично относительно его оси, в корпусе, в плоскости, перпендикулярной оси корпуса, выполнен, по меньшей мере, один паз, в котором упомянутые соединительные элементы размещены с возможностью фиксации по отношению к линейным перемещениям и с возможностью радиального перемещения относительно оси соответствующего осевого элемента.
2. Устройство по п.1, отличающееся тем, что соединительные элементы выполнены в виде соединительных пластин втулочной, роликовой или втулочно-роликовой цепи.
3. Устройство по п.1 или 2, отличающееся тем, что корпус выполнен разомкнутым, по меньшей мере, с одной из сторон, параллельной плоскости, проходящей через оси обоих осевых элементов.
4. Устройство по п.1 или 2, отличающееся тем, что в корпусе выполнены, по меньшей мере, четыре паза, расположенные попарно симметрично относительно оси корпуса.
5. Устройство по любому из пп.1-4, отличающееся тем, что паз выполнен с возможностью обеспечения свободного радиального перемещения соединительных элементов в заданных пределах.
6. Устройство по любому из пп.1-5, отличающееся тем, что корпус имеет стыковые поверхности для связи с элементами передачи, по меньшей мере, одного исполнительного механизма.
7. Устройство по любому из пп.1, 2, 4-6, отличающееся тем, что корпус выполнен полнотелым.
8. Устройство по любому из пп.1-7, отличающееся тем, что выполнено в виде звена втулочной, роликовой или втулочно-роликовой цепи.
9. Цепь для цепных передач со звездочками, содержащая втулочные, роликовые или втулочно-роликовые звенья, последовательно соединенные соединительными элементами с отверстиями под осевые элементы, отличающаяся тем, что, по меньшей мере, одно звено выполнено в виде присоединительного устройства, содержащего корпус и два осевых элемента, размещенных в корпусе симметрично относительно его оси, в корпусе выполнен, по меньшей мере, один паз, в котором размещены соединительные элементы с возможностью фиксации по отношению к линейным перемещениям и с возможностью радиального перемещения относительно оси соответствующего осевого элемента.
10. Цепь по п.9, отличающаяся тем, что в корпусе присоединительного устройства выполнены, по меньшей мере, четыре паза с возможностью обеспечения свободного радиального перемещения установленных в них соединительных элементов в заданных пределах, расположенные попарно симметрично относительно оси корпуса и согласованно относительно соединительных элементов смежных звеньев цепи.
11. Цепь по п.9 или 10, отличающаяся тем, что размер и форма корпуса присоединительного устройства, а также расположение осевых элементов в корпусе выбраны с возможностью обеспечения сохранения шага цепи.
12. Цепь по любому из пп.9 и 11, отличающаяся тем, что корпус присоединительного устройства связан с элементами передачи, по меньшей мере, одного исполнительного механизма.
РИСУНКИ
|
|