|
|
(21), (22) Заявка: 2004112277/03, 22.04.2004
(24) Дата начала отсчета срока действия патента:
22.04.2004
(43) Дата публикации заявки: 27.10.2005
(45) Опубликовано: 27.02.2006
(56) Список документов, цитированных в отчете о поиске:
Руководство по производству бетонных работ в зимних условиях, районах Дальнего Востока, Сибири и Крайнего Севера, Москва, Стройиздат, 1982, с. 180-181. RU 2039156 C1, 09.07.1995. RU 2100525 C1, 27.12.1997. SU 966155 A1, 15.10.1982. SU 688555 A1, 30.09.1979.
Адрес для переписки:
634034, г.Томск, ул. Советская, 99, кв.29, С.К. Земану
|
(72) Автор(ы):
Бабенко Павел Геннадьевич (RU), Земан Святослав Константинович (RU), Крохмаль Евгений Витальевич (RU)
(73) Патентообладатель(и):
Общество с ограниченной ответственностью “Магнит” (RU)
|
(54) СПОСОБ ОБРАБОТКИ БЕТОННЫХ СМЕСЕЙ ПРИ ВОЗВЕДЕНИИ БУРОНАБИВНЫХ СВАЙ И УСТРОЙСТВО ДЛЯ ЕГО ОСУЩЕСТВЛЕНИЯ
(57) Реферат:
Изобретение относится к строительству и может быть использовано при изготовлении железобетонных буронабивных свай в скважинах с обсадной трубой при возведении фундаментов зданий и сооружений. Способ обработки бетонных смесей при возведении буронабивных железобетонных свай включает нагрев окружающего грунта и бетонной смеси индукционным нагревателем. На начальной стадии нагрева бетонной смеси производят ее виброобработку в импульсном режиме путем воздействия на металлические стержни арматуры сваи электромагнитным полем, генерируемым индукционным нагревателем, для чего высокочастотный ток индукционного нагревателя подвергают низкочастотной модуляции. При начале схватывания бетонной смеси изменяют импульсный режим на высокочастотный. Устройство для осуществления способа состоит из индукционного нагревателя, содержащего стальную трубу, надетую на асбоцементную обсадную трубу сваи, и обмотку в виде витков медной шины, подключенную к источнику высокочастотного питания и расположенную на металлической трубе. В стальной трубе выполнены диаметрально противолежащие продольные окна. Источник питания содержит схему, обеспечивающую модуляцию высокочастотного тока низкой частотой. Технический результат состоит в одновременном воздействии на бетонную смесь при сооружении сваи тепловыми полями и вибрационным полем, осуществляемым простым недорогим устройством при минимальном количестве оборудования и простоте управления, при этом происходит усадка и уплотнение бетонной смеси с нагревом, осуществляемым одним устройством. 2 н.п. ф-лы, 4 ил. 
Изобретение относится к строительству и может быть использовано при изготовлении железобетонных буронабивных свай в скважинах с обсадной трубой при возведении фундаментов зданий и сооружений.
При заливке бетона для повышения качества свай за счет увеличения прочности бетона и улучшения его физико-химических свойств используют термо- и виброобработку, проводящиеся одновременно либо в определенном режиме, что зависит от применяемых методов обработки и используемого оборудования.
Из предшествующего уровня техники известны способы обработки бетонной смеси путем вибрирования с одновременньм разогревом электрическим током (SU 1595825; RU 2132917). Причем разогрев ведут с помощью поперечных и продольных электродов, а для вибрирования на торцовой стенке лотка расположен механический вибратор. Основной недостаток способа – невозможность его применения при строительстве на месте возведения свай, т.к. в силу сложности конструкции для осуществления способа он предназначен для стационарных условий производства.
Известны способы уплотнения бетонных смесей при возведении буронабивных свай путем механического трамбования бетона после его подачи в предварительно пробуренную скважину (USA №2963869). Указанный способ имеет низкую производительность и требует наличия тяжелого оборудования для трамбования и отдельного оборудования для прогрева бетонной смеси при возведении сваи в промерзшем грунте.
Известны способы уплотнения бетона при строительстве буронабивных свай посредством создания электрических разрядов между электродами, опущенными в скважину, заполненную бетонной смесью (RU 2090716, US 4230425, RU 2117726,) Недостатками известных технических решений является необходимость вводить дополнительное оборудование для нагрева при строительстве свай в промерзших грунтах. Кроме того, даже при строительстве в грунтах с нормальной температурой нагрев бетонной смеси ускоряет ее твердение и повышает прочность после твердения.
Наиболее близким к предложенному является способ обработки бетонных смесей при возведении железобетонных свай, заключающийся в индукционном нагреве бетонной смеси путем нагрева вихревыми токами металлической трубы, надеваемой на обсадную трубу («Руководство по производству бетонных работ в зимних условиях, в районах Дальнего Востока, Сибири и Крайнего Севера», М., Стройиздат, 1982). Недостатком способа является отсутствие операций по уплотнению бетона, в результате чего в массе бетона могут остаться воздушные полости, что снижает прочность сваи.
Наиболее близким техническим решением к заявляемому устройству является индукционный нагреватель, содержащий металлическую трубу с уложенной на ней обмоткой из медной шины, соединенной с источником высокочастотного питания («Руководство по производству бетонных работ в зимних условиях, в районах Дальнего Востока, Сибири и Крайнего Севера», М., Стройиздат, 1982, стр.180, 181).
Недостатком известного устройства является отсутствие средств уплотнения бетонной смеси при ее нагреве, что снижает прочность сваи.
В основу изобретения положена задача разработки способа одновременного воздействия на бетонную смесь при сооружении сваи тепловыми полями и вибрационным полем, осуществляемого простым недорогим устройством при минимальном количестве оборудования и простоте управления.
Поставленная задача решается тем, что в способе обработки бетонных смесей при возведении буронабивных железобетонных свай, включающем нагрев окружающего грунта и бетонной смеси индукционным нагревателем, на начальной стадии нагрева бетонной смеси производят ее виброобработку в импульсном режиме путем воздействия на металлические стержни арматуры сваи электромагнитным полем, генерируемым индукционным нагревателем, для чего высокочастотный ток индукционного нагревателя подвергают низкочастотной модуляции, а при начале схватывания бетонной смеси изменяют импульсный режим на высокочастотный.
Устройство для осуществления способа, как и прототип, содержит стальную трубу, надеваемую на асбоцементную обсадную трубу сваи, и обмотку в виде витков медной шины, расположенную на металлической трубе. В отличие от прототипа, в стальной трубе выполнены диаметрально противолежащие продольные окна, а источник питания содержит схему, обеспечивающую модуляцию высокочастотного тока низкой частотой.
Техническим результатом изобретения является использование механического воздействия электромагнитного поля индукционного нагревателя на металлические стержни арматуры в жидком бетоне, при этом происходит усадка и уплотнение бетонной смеси с нагревом, осуществляемым одним устройством.
Данный способ позволяет проводить с помощью одного и того же недорогого устройства нагрев бетонной смеси и ее виброобработку. Это значительно снижает количество оборудования, которое необходимо при возведении свай, упрощает управление процессом обработки бетонной смеси, позволяет в широких пределах варьировать операциями нагрева и виброобработки, используя последовательность, оптимальную для данных условий строительства или для данного типа бетонной смеси.
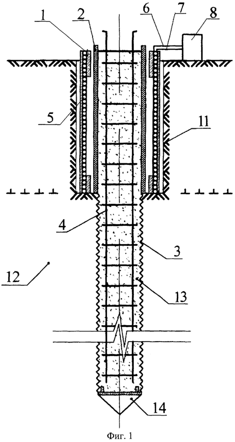
На Фиг.1 представлена схема устройства для осуществления данного способа.
На Фиг.2 показана конструкция трубы с окнами, вид спереди, на Фиг.3 – то же, вид слева, на Фиг.4 – конструкция трубы в изометрии.
Устройство для обработки бетонной смеси при возведении буронабивных свай содержит металлическую трубу 1, устанавливаемую на обсадную трубу 2 в предварительно пробуренной скважине 3 под сваю, содержащую арматурные металлические стержни 4. На поверхности трубы 1 уложена обмотка 5 из витков медной изолированной шины, концы которой 6 и 7 соединены с высокочастотным источником питания 8. В металлической трубе 1 выполнены продольные окна 9 и 10, расположенные напротив друг друга (Фиг.2 и 3). Источник питания 8 содержит схему управления, обеспечивающую низкочастотную модуляцию высокочастотного тока индуктора (не показана), которая может быть выполнена по любой из известных схем.
Способ обработки бетонной смеси осуществляют следующим образом. В сезонно-мерзлом грунте 12 пробуривают скважину на глубину сезонного промерзания 11, диаметр которой превышает диаметр ствола сваи 3. После установки обсадной трубы 2 с теряемым наконечником 14 в предварительно пробуренную скважину 3, в нее опускают арматурный каркас со стержнями 4. На обсадную трубу помещается индуктор, состоящий из металлической трубы 1 с продольными окнами 9 и 10 в ней, и обмоткой 5, концы которой 6 и 7 соединены с источником высокочастотного питания 8, который представляет собой преобразователь частоты. Длина индуктора соответствует глубине скважины 11. После этого включают источник питания 8 и схему низкочастотного модулирования высокочастотного тока источника питания. Мощность к индуктору в это время поступает импульсами с частотой от 50 до нескольких герц. Для нагрева же выгоднее использовать высокую частоту. Для устранения этого противоречия высокочастотный ток, протекающий по шинам индуктора, модулируют низкой частотой посредством известных устройств. Электромагнитное поле, создаваемое током, протекающим через медную шину 5, через продольные окна 9 и 10 воздействует на металлические стержни 4 арматуры, притягивая их. С максимальным усилием на арматуру будет действовать ближайший участок токопровода. При этом металлическая конструкция будет растягиваться, и по окончании импульса тока сила упругости возвращает стержни в исходное положение. Для того, чтобы колебания были ощутимыми, необходимо воздействовать на сваю с частотой от 50 до нескольких герц. Вибрации от арматурных стержней 4 распространяются в жидкой бетонной смеси, и при этом происходит ее уплотнение и усадка. Размер окон 9 и 10 в металлической трубе 1 определяется усилием, необходимым для колебания арматурных стержней и необходимой прочностью конструкции. Проведенные исследования показали, что размер окон по периметру трубы составляет от 30 до 40 процентов от ее периметра, а по длине трубы – от 50 до 80 процентов ее длины. Конструкция должна устанавливаться на рабочее место таким образом, чтобы расстояние между токопроводящими шинами и арматурой было минимальным. Таким образом, можно добиться наибольшего электромагнитного усилия на арматуру. Когда бетонная смесь начинает схватываться, система управления переводит источник питания из импульсного режима в обычный режим работы, при котором происходит нагрев металлической трубы 1, тепло от которой поступает в бетонную смесь и окружающий скважину грунт. Время протекания импульсного режима определяется составом смеси и окружающими условиями и задается при программировании схемы управления. В процессе подогрева сваи мощность, подаваемая на индуктор, будет регулироваться в зависимости от частоты рабочего тока и от геометрического исполнения индуктора и его размеров. После достижения бетоном расчетной температуры производят отключение источника питания.
Таким образом, предлагаемый способ и реализующее его устройство позволяют проводить процесс обработки бетонной смеси при возведении свай одним простым и недорогим устройством, а также при этом упрощается схема управления процессом обработки.
Формула изобретения
1. Способ обработки бетонных смесей при возведении буронабивных железобетонных свай, включающий нагрев окружающего грунта и бетонной смеси индукционным нагревателем, отличающийся тем, что на начальной стадии нагрева бетонной смеси производят ее виброобработку в импульсном режиме путем воздействия на металлические стержни арматуры сваи электромагнитным полем, генерируемым индукционным нагревателем, для чего высокочастотный ток индукционного нагревателя подвергают низкочастотной модуляции, а при начале схватывания бетонной смеси изменяют импульсный режим на высокочастотный.
2. Устройство для осуществления способа по п.1, отличающееся тем, что состоит из индукционного нагревателя, содержащего стальную трубу, надетую на асбоцементную обсадную трубу сваи, и обмотку в виде витков медной шины, подключенную к источнику высокочастотного питания и расположенную на металлической трубе, при этом в стальной трубе выполнены диаметрально противолежащие продольные окна, а источник питания содержит схему, обеспечивающую модуляцию высокочастотного тока низкой частотой.
РИСУНКИ
|
|