|
|
(21), (22) Заявка: 2003111210/15, 18.04.2003
(24) Дата начала отсчета срока действия патента:
18.04.2003
(30) Конвенционный приоритет:
19.04.2002 DE 10217675.2
(43) Дата публикации заявки: 10.11.2004
(45) Опубликовано: 27.02.2006
(56) Список документов, цитированных в отчете о поиске:
US 3982910 A, 28.09.1976. DE 10120027 А, 18.04.2002. SU 937882 A, 25.06.1982. SU 1828449 A3, 15.07.1993. RU 2069090 C1, 20.11.1996. RU 2055269 С1, 27.02.1996. US 4371452 A, 01.02.1983.
Адрес для переписки:
103735, Москва, ул.Ильинка, 5/2, ООО”Союзпатент”, Силаевой А.А.
|
(72) Автор(ы):
ЭБЕРШПАХ Гюнтер (DE)
(73) Патентообладатель(и):
И. ЭБЕРШПЕХЕР ГМБХ УНД КО.КГ (DE)
|
(54) СПОСОБ ЗАПУСКА ИСПАРИТЕЛЬНОГО УСТРОЙСТВА
(57) Реферат:
Изобретение относится к способу запуска испарительного устройства для образования углеводородно-воздушной смеси, разлагаемой в риформере для получения водорода. Способ запуска испарительного устройства для образования углеводородно-воздушной смеси, разлагаемой в риформере для получения водорода, содержащего камеру сгорания/смешивания, в которую через устройство с входными отверстиями поступает воздух, пористую испарительную среду и приданное ей первое нагревательное устройство, орган калильного зажигания для воспламенения имеющейся в камере сгорания/смешивания углеводородно-воздушной смеси, включает следующие этапы: а) нагрев и испарение жидкого углеводорода или углеводородсодержащей жидкости; б) смешивание полученного на этапе а) пара с воздухом; в) воспламенение образованной на этапе б) смеси для запуска процесса сгорания смеси; г) поддержание процесса сгорания вплоть до истечения заданной продолжительности времени и/или до тех пор, пока в одной или нескольких заданных зонах системы не будет достигнута заданная температура; д) окончание процесса сгорания по истечении заданной продолжительности времени и/или по достижении заданной температуры. Изобретение позволяет повысить эффективность процесса за счет снижения температуры в зоне каталитической реакции. 6 з.п. ф-лы, 2 ил. 
Данное изобретение относится к способу запуска испарительного устройства для образования углеводородно-воздушной смеси, разлагаемой в риформере для получения водорода.
Риформеры используют для того, чтобы во время каталитической реакции расщепить углеводороды или углеводородсодержащие материалы и высвободить или получить при этом водород. Этот водород может быть использован, например, в топливных элементах для вырабатывания электрической энергии или в системе отвода отработавших газов двигателя внутреннего сгорания для очистки отработавших газов. Для того чтобы в подобных риформерах можно было преобразовать подаваемую к материалу катализатора смесь или запустить и поддержать каталитическую реакцию, требуется риформинговую зону, т.е., в основном, вступающие в контакт со смесью узлы или также материал катализатора, как и смесь, довести до определенной рабочей температуры. Температура для получения водорода из смеси паров дизельного топлива и воздуха лежит для запуска каталитической реакции в диапазоне 320°С. Если эта реакция уже возникла, то она может быть продолжена при температуре около 240°С. Это означает, однако, что, в частности, при применении в автомобилях должен происходить как можно более быстрый нагрев важных участков системы со сравнительно низких температур, которые могут лежать в диапазоне до -40°С, до этих сравнительно высоких рабочих температур. Для этого, в целом, известно, что при нагрузке бортовой системы энергоснабжения транспортных средств нагревают основные компоненты системы и также вырабатывают энергию для испарения присутствующего, в целом, в жидком виде топлива или углеводорода. Это представляет собой, однако, очень высокую нагрузку на бортовую систему энергоснабжения с тем последствием, что из-за ограниченной производительности время, протекающее до достижения требуемых температур, может быть очень длительным.
Задачей данного изобретения является создание способа запуска испарительного устройства для образования углеводородно-воздушной смеси, разлагаемой в риформере для получения водорода, при котором энергетически очень эффективным образом продолжительность времени до достижения рабочих температур, требуемых, в частности, в зоне материала катализатора, поддерживают низкой.
Эта задача решается в способе запуска испарительного устройства для образования углеводородно-воздушной смеси, разлагаемой в риформере для получения водорода, содержащего камеру сгорания/смешивания, в которую через устройство с входными отверстиями поступает воздух, пористую испарительную среду и приданное ей первое нагревательное устройство, орган калильного зажигания для воспламенения имеющейся в камере сгорания/смешивания углеводородно-воздушной смеси, включающем следующие этапы:
а) нагрев и испарение жидкого углеводорода или углеводородсодержащей жидкости;
б) смешивание полученного на этапе а) пара с воздухом;
в) воспламенение образованной на этапе б) смеси для запуска процесса сгорания смеси;
г) поддержание процесса сгорания вплоть до истечения заданной продолжительности времени и/или до тех пор, пока в одной или нескольких заданных зонах системы не будет достигнута заданная температура;
д) окончание процесса сгорания по истечении заданной продолжительности времени и/или по достижении заданной температуры.
Согласно данному изобретению, испарительное устройство эксплуатируют, следовательно, таким образом, что сначала сжигают разлагаемую собственно для получения водорода смесь, а затем, когда работающие на получение водорода системные компоненты риформера, т.е., в частности, содержащая катализатор системная зона риформера, будет находиться в состоянии, в котором может протекать каталитическая реакция, сжигание прекращают. Тогда в распоряжении имеется образованная смесь для получения водорода.
Например, может быть предусмотрено, что для испарения активируют работающее преимущественно от электричества нагревательное устройство. Это нагревательное устройство продолжают активировать преимущественно, по меньшей мере, на этапах в) и г).
Для того чтобы при достижении термического состояния, требуемого для протекания каталитической реакции, можно было закончить процесс сгорания, предложено, что на этапе д) дросселируют или прерывают подачу жидкого углеводорода или углеводородсодержащей жидкости и/или дросселируют или прерывают подачу воздуха. Каталитическая реакция по окончании процесса сгорания может быть продолжена или запущена за счет того, что по окончании процесса сгорания на этапе д) продолжают или возобновляют подачу жидкого углеводорода или углеводородсодержащей жидкости и подачу воздуха для образования смеси, разлагаемой для получения водорода.
Для того чтобы при протекании каталитической реакции нагружать бортовую систему энергоснабжения как можно меньше, предложено, что на этапе д) и/или по завершении этапа д) нагревательное устройство, активированное, по меньшей мере, вплоть до возникновения процесса сгорания, не активируют.
Далее у способа, согласно изобретению, может быть предусмотрено, что в качестве жидкого углеводорода или углеводородсодержащей жидкости используют ископаемое топливо, преимущественно дизельное топливо.
Данное изобретение более подробно описано ниже со ссылкой на прилагаемые чертежи, на которых изображают:
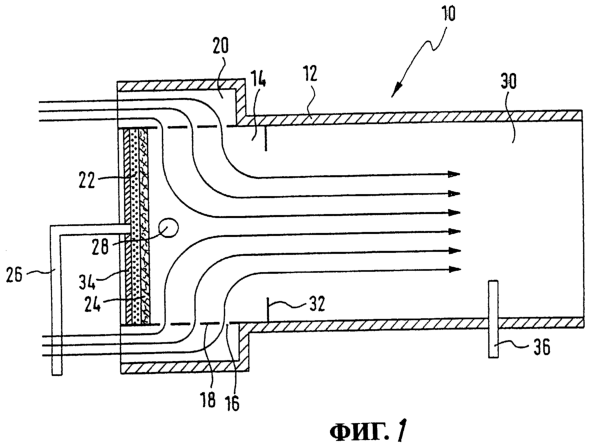
фиг.1: испарительное устройство, согласно изобретению, в принципиальном продольном разрезе;
фиг.2: блок-схему риформинговой системы в сочетании с испарительным устройством, согласно изобретению.
На фиг.1 испарительное устройство, согласно изобретению, обозначено, поз.10. Испарительное устройство 10 включает в себя продолговатый трубчатый корпус 12, в котором, как описано ниже, образуется смесь из испарившегося топлива, например дизельного, и воздуха. В корпусе 12 для этого предусмотрена камера 14 сгорания/смешивания, в которую через несколько входных отверстий 16 в наружной периферийной стенке 18 подают воздух из радиально внешнего кольцеобразного пространства 20. На дне 22 камеры 14 сгорания/смешивания предусмотрена пористая испарительная среда 24, которая может быть образована, например, нетканым материалом или другой тканью или материалом в виде коврика, пенокерамикой и т.п. Топливоподающий трубопровод 26 ведет через дно 22 и направляет испаряемое топливо в пористую испарительную среду 24. На аксиальном расстоянии, аксиально по отношению к общему направлению течения внутри трубчатого корпуса 12, от дна 22 или расположенной на нем испарительной среды 24 лежит штифтообразно выполненный орган 28 зажигания, например штифт калильного зажигания. Он простирается поперек упомянутого продольного или осевого направления и лежит, в основном, параллельно дну 22 или обращенной к камере 14 сгорания/смешивания стороне испарительной среды 24. Топливно-воздушная смесь, которая образовалась в камере 14 сгорания/смешивания за счет подачи воздуха, с одной стороны, и испарения топлива, с другой стороны, и которую можно рассматривать и как углеводородно-воздушную смесь, покидает камеру 14 сгорания/смешивания и поступает в объем 30, в котором может быть расположен материал катализатора (не показан) риформера. Смесь, выходящую из камеры сгорания/смешивания через заслонку 32 и протекающую в направлении катализатора, расщепляют на катализаторе в результате каталитической реакции для получения водорода. Этот водород может быть затем использован дальше, например в топливном элементе для вырабатывания электрической энергии или в системе отвода отработавших газов для их очистки.
Для того чтобы в подобном риформере можно было осуществить каталитическую реакцию, требуется, чтобы определенную температуру имела не только смесь, которая должна быть преобразована в результате этой каталитической реакции, но и различные компоненты системы, например материал катализатора, окружающий его материал стенки и т.п. Например, при использовании дизельно-воздушной смеси может потребоваться предусмотреть для запуска каталитической реакции нагрев примерно до 320°С. Если эта реакция уже наступила, то она может и далее протекать при температуре около 240°С. Эти высокие температуры требуют, в частности, для запуска каталитической реакции ввода сравнительно большой энергии, с тем чтобы достичь требуемого нагрева. Следует указать на то, что подобные системы применяются, например, в транспортных средствах и должны быть работоспособными также при наружных температурах в диапазоне до -40°С. Это означает, следовательно, что в сравнительно короткое время должен быть достигнут нагрев различных компонентов системы в температурном диапазоне почти 400°С.
Ниже описано, как в испарительном устройстве 10, согласно изобретению, достигается этот нагрев.
На фигуре видно, что на дне 22 расположено нагревательное устройство 34. Оно выполнено преимущественно с возможностью работы от электричества и включает в себя, например, нагревательную спираль и т.п., которая в изображенном примере лежит на обращенной от камеры 14 сгорания/смешивания стороне дна 22. Само собой, можно также расположить это нагревательное устройство 34 между дном 22 и пористой испарительной средой 24 для достижения еще более эффективного ввода тепла в эту пористую испарительную среду. За счет возбуждения нагревательного устройства 34 можно, следовательно, повысить температуру в зоне пористой испарительной среды 24, так что там испарение подаваемого по трубопроводу 26 топлива произойдет сильнее. При этом, как уже сказано, в камере 14 сгорания/смешивания образуется сильно обогащенная топливом смесь из воздуха и топливных паров, причем здесь преимущественно действуют так, что устанавливается бедная смесь в диапазоне =2.
Введенного нагревательным устройством 34 количества тепла, однако, было бы недостаточно для того, чтобы довести до требуемых температур всю систему, в частности близкую к катализатору зону системы. Согласно данному изобретению, при запуске подобного испарительного устройства 10 или риформера для получения водорода действуют поэтому так, что образованную в камере 14 сгорания/смешивания топливно-воздушную смесь воспламеняют за счет возбуждения органа 28 зажигания. Орган 28 зажигания может быть активирован одновременно с возбуждением нагревательного устройства 34, однако может быть активирован также только тогда, когда после уже произошедшего активирования нагревательного устройства 34 в камере 14 сгорания/смешивания имеется достаточное количество топливных паров. Поскольку орган 28 зажигания установлен в близкой к пористой испарительной среде 24 зоне, он активен в той зоне, где будет сравнительно высокая доля топливных паров, так что сгорание произойдет быстро, и будучи обусловлено проникающим через отверстия 16 воздухом, быстро распространится по всей зоне камеры 14 сгорания/смешивания. Пламя сгорания и горячие отходящие газы сгорания захватываются потоком через заслонку 32 и попадают тем самым в объем 30. Там они очень эффективно и быстро способствуют нагреву находящихся там компонентов системы, в частности также нагреву материала катализатора. Оказалось, что таким образом за 15-30 секунд могут быть достигнуты требуемые для запуска каталитической реакции температуры.
Когда в важной для протекания каталитической реакции зоне системы достигнуты требуемые температуры, что можно определить, например, с помощью температурного датчика 36 или путем задавания продолжительности времени сгорания, процесс сгорания заканчивается. Это может происходить за счет того, что для короткой продолжительности времени подачу топлива и/или подачу воздуха в камеру 14 сгорания/смешивания прерывают или уменьшают. После гашения пламени сгорания подачу топлива или подачу воздуха возобновляют, так что затем в камере 14 сгорания/смешивания образуется преобразуемая в риформере углеводородно-воздушная смесь в диапазоне =0,4, которая в несгоревшем состоянии попадает к материалу катализатора. Поскольку она непосредственно до этого была нагрета горячими газами сгорания до требуемых температур, начинается каталитическая реакция для получения водородов.
При осуществлении описанного выше способа, согласно изобретению, нагревательное устройство 34 можно для максимально быстрого распространения сгорания и тем самым также для максимально быстрого нагрева основных зон системы эксплуатировать до тех пор, пока по достижении заданных температур за счет описанных выше действий процесс сгорания не закончится. Само собой, когда в результате возбуждения органа 28 калильного зажигания процесс сгорания уже наступил, можно также для экономии энергии отключить нагревательное устройство 34. Также в этом случае произойдет очень быстрое распространение сгорания, поскольку прежде всего также в зоне камеры 14 сгорания/смешивания в результате сгорания возникают очень высокие температуры, поддерживающие испарение сначала еще жидкого топлива из пористой среды 24. По окончании процесса сгорания нагревательное устройство 34 преимущественно больше не включают, с тем чтобы прежде всего при использовании в транспортном средстве чрезмерно не нагружать бортовую систему энергоснабжения. Нагрев образуемой в камере 14 сгорания/смешивания смеси может быть достигнут на этой фазе, например, за счет того, что из протекающих, например, в топливном элементе процессов или из протекающих в катализаторе риформера процессов получают тепло, передаваемое затем на корпус 12 через теплопередающую жидкость или соответствующие теплообменные устройства. Само собой, можно также расположить в зоне корпуса 12 дополнительное работающее, например, от электричества нагревательное устройство, с тем чтобы, например, при очень низких наружных температурах поддержать каталитическую реакцию. При использовании в сочетании с системой отвода отработавших газов двигателя внутреннего сгорания само собой возможно, чтобы отдаваемые двигателем внутреннего сгорания отработавшие газы протекали вокруг корпуса 12, или можно отбирать от этих отработавших газов тепло и передавать его на корпус 12.
На фиг.2 изображена риформинговая система 40, в которой используется испарительное устройство 10, согласно изобретению. На фиг.2 видно также в испарительном устройстве 10 находящееся под управлением блока 42 управления нагревательное устройство 34. Находящийся также под управлением блока 42 управления насос-дозатор 44 подает испаряемое топливо или углеводород по трубопроводу 16 в камеру 14 сгорания/смешивания, причем эта подача может происходить частотно-управляемым, т.е. периодическим образом. Насосу-дозатору 44 может быть придан демпфер, т.е. промежуточный накопитель, из которого подаваемую жидкость отдают в направлении камеры 14 сгорания/смешивания более или менее непрерывным образом. Также находящаяся под управлением блока 42 управления воздуходувка 46 забирает воздух через воздушный фильтр 48 и подает его, при необходимости после прохождения через теплообменник 50, в подогретом виде в камеру 14 сгорания/смешивания для смесеобразования. Виден далее действующий в качестве органа зажигания штифт 28 калильного зажигания, который воспламеняет образованную в камере 14 сгорания/смешивания топливно-воздушную смесь. Вниз по потоку в камере 14 сгорания/смешивания находится риформинговая часть 52 риформинговой системы 40 с материалом катализатора. В этой зоне установлен также температурный датчик 36. Далее может быть установлен кислородный датчик 54, который служит для того, чтобы, как уже описано выше, устанавливать на различных фазах работы отношение топливо/воздух с возможностью получения нужного значения .
Различные, предпринимаемые блоком 42 управления меры протекают при включении различных параметров, например зарегистрированной температурным датчиком 36 температуры, исходного значения кислородного датчика 54, а также различных других датчиков, которые поставляют важные для работы системы 40 данные. Для корректного регулирования смеси это может быть, например, сенсорика 56, с помощью которой регистрируют окружающее давление и окружающую температуру при необходимости для определения плотности воздуха, и зарегистрированные ею данные вводят через систему 58 шин данных в блок 42 управления.
Изображенная на фиг.2 система может тогда эксплуатироваться для запуска, с одной стороны, и для получения водорода, с другой стороны, так, как это уже описано выше со ссылкой на фиг.1.
Благодаря данному изобретению предусмотрены испарительное устройство, способ его запуска и способ запуска риформера для получения водорода, которые при сравнительно простой конструкции обеспечивают то, что в кратчайшее время могут быть достигнуты требуемые для осуществления каталитической реакции температуры без необходимости чрезмерной нагрузки бортовой сети энергоснабжения. При этом изобретение использует, в основном, тот факт, что разлагаемая в риформере смесь сама может быть сожжена, так что за короткую продолжительность времени фазы запуска каталитической реакции не осуществляют, однако вместо этого сжигают привлекаемый собственно для получения водорода основной материал, с тем чтобы довести риформинговую систему до требуемых температур.
Формула изобретения
1. Способ запуска испарительного устройства (10) для образования углеводородно-воздушной смеси, разлагаемой в риформере для получения водорода, содержащего камеру сгорания/смешивания, в которую через устройство (16) с входными отверстиями поступает воздух, пористую испарительную среду (24) и приданное ей первое нагревательное устройство (34), орган (28) калильного зажигания для воспламенения имеющейся в камере (14) сгорания/смешивания углеводородно-воздушной смеси, включающий следующие этапы:
а) нагрев и испарение жидкого углеводорода или углеводородсодержащей жидкости;
б) смешивание полученного на этапе а) пара с воздухом;
в) воспламенение образованной на этапе б) смеси для запуска процесса сгорания смеси;
г) поддержание процесса сгорания вплоть до истечения заданной продолжительности времени и/или до тех пор, пока в одной или нескольких заданных зонах системы не будет достигнута заданная температура.
д) окончание процесса сгорания по истечении заданной продолжительности времени и/ или по достижении заданной температуры.
2. Способ по п.1, отличающийся тем, что для испарения активируют работающее преимущественно от электричества нагревательное устройство (34).
3. Способ по п.1, отличающийся тем, что нагревательное устройство (34) остается активированным, по меньшей мере, на этапах в) и г).
4. Способ по одному из пп.1-3, отличающийся тем, что на этапе д) дросселируют или прерывают подачу жидкого углеводорода или углеводородсодержащей жидкости и/или дросселируют или прерывают подачу воздуха.
5. Способ по п.4, отличающийся тем, что по окончании процесса сгорания на этапе д) продолжают или возобновляют подачу жидкого углеводорода или углеводородсодержащей жидкости и подачу воздуха для образования смеси, разлагаемой для получения водорода.
6. Способ по п.1, отличающийся тем, что на этапе д) и/или по завершении этапа д) нагревательное устройство (34), активированное, по меньшей мере, вплоть до возникновения процесса сгорания, не активируют.
7. Способ по п.1, отличающийся тем, что в качестве жидкого углеводорода или углеводородсодержащей жидкости используют ископаемое топливо, преимущественно дизельное топливо.
РИСУНКИ
|
|