|
|
(21), (22) Заявка: 2004126305/11, 30.08.2004
(24) Дата начала отсчета срока действия патента:
30.08.2004
(45) Опубликовано: 27.02.2006
(56) Список документов, цитированных в отчете о поиске:
Гониодский В.И. и др. Привод рулевых поверхностей самолетов. М., Машиностроение, 1974, с.188-191, рис.4.30а. RU 2233464 С2, 27.07.2004. RU 2191138 С2, 20.10.2002. SU 1732737 C, 20.03.1995.
Адрес для переписки:
606100, Нижегородская обл., г. Павлово, ул. Коммунистическая, 78, ОАО “ПМЗ ВОСХОД”
|
(72) Автор(ы):
Редько Павел Григорьевич (RU), Борцов Алексей Анатольевич (RU), Тычкин Олег Вячеславович (RU), Банин Юрий Михайлович (RU), Епифанов Александр Николаевич (RU)
(73) Патентообладатель(и):
Открытое акционерное общество “Павловский машиностроительный завод ВОСХОД”-ОАО “ПМЗ ВОСХОД” (RU)
|
(54) СПОСОБ РЕГУЛИРОВКИ СОВМЕЩЕНИЯ ЗОН НЕЧУВСТВИТЕЛЬНОСТИ ГИДРОРАСПРЕДЕЛИТЕЛЕЙ ДВУХКАМЕРНЫХ ГИДРОМЕХАНИЧЕСКИХ ПРИВОДОВ
(57) Реферат:
Изобретение относится к области гидромеханических приводов для систем управления летательными аппаратами. Имеются в виду приводы, работающие от двух гидросистем и выполненные с входным и выходным звеньями. Путем перемещения основных золотников гидрораспределителей относительно дублирующих золотников гидрораспределителей совмещают соответственно их распределительные бурты и окна. При этом поочередно, при работе от каждой из двух гидросистем, замеряют по входному звену привода величины зон нечувствительности от основных золотников и определяют расположение их середин относительно друг друга. Затем при работе одной из гидросистем путем перемещения основного золотника привода этой же гидросистемы совмещают середину зоны нечувствительности его с серединой зоны нечувствительности основного золотника другой гидросистемы. После этого закрепляют неподвижно входное звено привода в среднем положении и при поочередной работе от каждой гидросистемы проверяют качество регулировки совмещения середин зон нечувствительности основных золотников по отсутствию перемещения выходного звена. В случае перемещения выходного звена дополнительно производят вышеуказанную регулировку совмещения середин зон нечувствительности. Изобретение позволяет повысить качество исполнения двухкамерных гидромеханических приводов за счет исключения взаимного нагружения поршней и полостей гидродвигателя. 2 ил. 
Изобретение относится к способу и может быть использовано при производстве гидромеханических приводов для систем управления летательных аппаратов.
Известны двухкамерные гидромеханические приводы (см. книгу “Гидроусилители БУ-45А и БУ-51МС” под редакцией Ф.Ф.Куприянова, Оборонгиз, 1963 г., стр.30-49).
Известны также двухкамерные гидромеханические приводы, имеющие распределители и силовые поршни с тандемным расположением в камерах цилиндра гидродвигателя, причем каждый распределитель запитывается от одной из двух гидросистем и работает на свои камеры (каналы) (см. книгу В.И.Гониодский и др. “Привод рулевых поверхностей самолетов”. М.: Машиностроение, 1974 г., стр.188…191, рис.4.30а).
Недостатком известных приводов является взаимное нагружение каналов, которое является следствием производственных допусков на изготовление распределителей и соединяющих их элементов. Это нагружение объясняется относительным смещением нейтралей распределительных устройств, различием их зон нечувствительности. Вследствие указанных рассогласований выходные элементы – силовые поршни, стремятся занять в общем случае отличные друг от друга положения. Поскольку в известных приводах эти элементы механически соединены друг с другом, возникает взаимное нагружение каналов, величина которого зависит от величины указанных выше рассогласований.
Следует отметить, что взаимное нагружение приводит к дополнительной нагрузке на поршни и корпус гидродвигателя, кроме того, нагружается и узел крепления привода к летательному аппарату. В результате взаимного нагружения в рабочих полостях гидродвигателя привода может возникнуть, особенно в нейтральном положении распределительных устройств, значительное давление рабочей жидкости, намного превышающее величину давления нагнетания, подводимого к приводу. В конечном итоге это может привести к усталостному разрушению силовых деталей привода и снижению надежности системы управления в целом.
Причина, способствующая этому, – отсутствие при производстве известных приводов способа регулировки совмещения зон нечувствительности их распределителей и проверки качества указанной регулировки.
Технической задачей заявляемого изобретения является устранение данного недостатка.
Поставленная задача решается тем, что на указанных приводах поочередно, при работе от каждой из двух гидросистем, замеряют по их входному звену величины зон нечувствительности от основных золотников и определяют расположение их середин относительно друг друга, затем при работе одной из гидросистем путем перемещения основного золотника привода этой же гидросистемы совмещают середину зоны нечувствительности его с серединой зоны основного золотника другой гидросистемы, после этого закрепляют неподвижно входное звено привода в среднем положении и при поочередной работе от каждой гидросистемы проверяют качество регулировки совмещения середин зон нечувствительности основных золотников по отсутствию при этом перемещения выходного звена.
В случае перемещения выходного звена дополнительно проводят вышеуказанную регулировку совмещения середин зон нечувствительности.
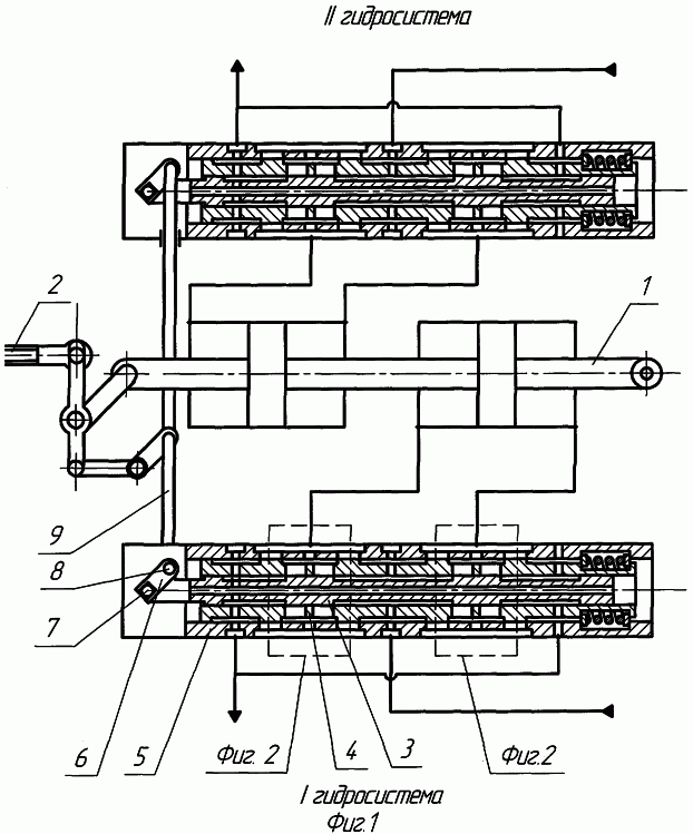
На фиг.1 представлен двухкамерный гидромеханический привод с выходным звеном 1 в виде силовых поршней, входным звеном 2, с распределителями, состоящими из основных золотников 3, дублирующих золотников 4, зафиксированных в среднем (нейтральном) относительно гильзы 5 положении пружиной. Основные золотники через качалки 6 с регулировочными элементами 7 жестко, через точку 8, траверсу 9 и качалочный механизм, соединены с входным звеном 2.
На фиг.2 представлен элемент основного золотника 3 с распределительными буртами 10 и 11, элемент дублирующего золотника 4 с распределительными окнами 12 и 13 и канавкой 14 гильзы, сообщенной с полостью гидродвигателя.
Поочередно, при наличии давления нагнетания от каждой из двух (I-й и II-й) гидросистем замеряют по входному звену 2, посредством перемещения через траверсу 9, качалку 6 и связанного с ней основного золотника 3 относительно дублирующего золотника 4, величины зон нечувствительности, как диапазон перемещения входного звена, при котором выходное звено 1 начинает двигаться в ту и другую сторону. Далее определяют расположение середин зон нечувствительности относительно друг друга.
Затем, при работе одной из гидросистем, путем перемещения основного золотника распределителя этой же гидросистемы с помощью регулировочного элемента 7 качалки 6, совмещают середину зоны нечувствительности золотника, по положению входного звена, с серединой зоны основного золотника другой гидросистемы. При этом торцы распределительных буртов 10 и 11 указанных золотников должны совпасть с прилегающими к ним кромками распределительных окон 12 и 13, соответственно, дублирующего золотника и поступление рабочей жидкости через канавки 14 гильзы в полость гидродвигателя должно прекратиться, а его выходное звено должно остановиться. После этого закрепляют неподвижно входное звено привода в среднем положении и при поочередной работе от каждой из гидросистем проверяют качество регулировки совмещения середин зон нечувствительности основных золотников по отсутствию перемещения выходного звена. В случае перемещения выходного звена дополнительно производят вышеуказанную регулировку совмещения середин зон нечувствительности.
Отсутствие указанных перемещений выходного звена будет свидетельствовать о совмещении середин зон нечувствительности, а следовательно, и об отсутствии взаимонагружений каналов.
Таким образом, при использовании предлагаемого способа повышается качество исполнения двухкамерных гидромеханических гидроприводов за счет исключения взаимного нагружения поршней и полостей гидродвигателя и, как следствие, повышение его усталостной прочности и надежности в работе системы управления в целом.
Многочисленные исследования гидромеханических приводов, при производстве которых был внедрен указанный способ регулировки, полностью подтвердили их преимущество по сравнению с производством известных приводов в повышении их надежности в работе.
Формула изобретения
Способ регулировки совмещения зон нечувствительности гидрораспределителей двухкамерных гидромеханических приводов, работающих от двух гидросистем и имеющих входное и выходное звенья, при котором путем перемещения основных золотников гидрораспределителей относительно дублирующих золотников гидрораспределителей совмещают соответственно их распределительные бурты и окна, отличающийся тем, что поочередно при работе от каждой из двух гидросистем замеряют по входному звену привода величины зон нечувствительности от основных золотников и определяют расположение их середин относительно друг друга, затем при работе одной из гидросистем путем перемещения основного золотника привода этой же гидросистемы совмещают середину зоны нечувствительности его с серединой зоны нечувствительности основного золотника другой гидросистемы, после этого закрепляют неподвижно входное звено привода в среднем положении и при поочередной работе от каждой гидросистемы проверяют качество регулировки совмещения середин зон нечувствительности основных золотников по отсутствию перемещения выходного звена, при этом в случае перемещения выходного звена дополнительно производят вышеуказанную регулировку совмещения середин зон нечувствительности.
РИСУНКИ
QB4A Регистрация лицензионного договора на использование изобретения
Лицензиар(ы): Открытое акционерное общество “Павловский машиностроительный завод Восход”
НИЛ
Лицензиат(ы): Открытое акционерное общество “Гидроагрегат”
Договор № РД0025562 зарегистрирован 17.08.2007
Извещение опубликовано: 27.09.2007 БИ: 27/2007
* ИЛ – исключительная лицензия НИЛ – неисключительная лицензия
|
|