|
|
(21), (22) Заявка: 2004126901/11, 07.09.2004
(24) Дата начала отсчета срока действия патента:
07.09.2004
(45) Опубликовано: 27.02.2006
(56) Список документов, цитированных в отчете о поиске:
ШУЛЬЖЕНКО М.Н., Конструкция Самолетов, Москва, Машиностроение, 1971, стр.189-197. RU 2023628 С1, 30.11.1994. RU 28856 U1, 20.04.2003. US 2004040252 A1, 04.03.2004.
Адрес для переписки:
347923, Ростовская обл., г. Таганрог, пл. Авиаторов, 1, ОАО ТАНТК им. Г.М. Бериева, патентный отдел
|
(72) Автор(ы):
Кобзев Виктор Анатольевич (RU), Багрыч Петр Александрович (RU), Гордеев Василий Терентьевич (RU)
(73) Патентообладатель(и):
Открытое акционерное общество Таганрогский Авиационный научно-технический комплекс им. Г.М. Бериева (RU)
|
(54) ХВОСТОВАЯ ЧАСТЬ ТРАНСПОРТНОГО САМОЛЕТА
(57) Реферат:
Изобретение относится к авиационной технике, в частности к креплению элементов хвостового оперения. Предложенное изобретение заключается в том, что подходящие к силовому шпангоуту фюзеляжа бимсы и корневая часть кессона киля являются естественными опорами для узлов навески стабилизатора и управления им. Техническим результатом изобретения является снижение веса хвостовой части самолета и уменьшение аэродинамического сопротивления. 3 ил. 
Предлагаемое изобретение относится к авиационной технике, а именно к креплению элементов хвостового оперения, и может использоваться на транспортных самолетах.
Известно техническое решение, в котором хвостовая часть самолета (Шульженко М.Н. Конструкция самолета, 1971, стр.175.), содержит силовой шпангоут фюзеляжа, на котором располагаются узлы навески и узлы управления стабилизатором, стабилизатор и киль.
Недостатком данного технического решения является низкая ремонтопригодность и затрудненный доступ к узлам навески и управления стабилизатора при эксплуатации.
Наиболее близким техническим решением является хвостовая часть транспортного самолета “Геркулес” Локхид с. Мк.3 (Техническая информация №10, 1986 г.), содержащая силовой шпангоут фюзеляжа с узлами навески стабилизатора и узлами привода управления им, стабилизатор, киль и грузовой люк фюзеляжа, окантованный по бокам бимсами, а с одной стороны силовым шпангоутом.
Особенностью формы хвостовой части самолета “Геркулес” Локхид с. Мк.3 является решение, где грузовой люк для уменьшения его габаритов и, следовательно, веса, располагают под большим углом к продольной оси самолета, при этом в месте продолжения хвостовой части после грузового люка происходит характерный излом.
Недостатком данного технического решения является невысокая культура веса, конструктивная и технологическая сложность изготовления и невысокая ремонтопригодность хвостовой части транспортного самолета как интегральной и неразъемной конструкции фюзеляжа, киля и стабилизатора, а также повышенное аэродинамическое сопротивление интерференции между килем и стабилизатором.
Задачей предлагаемого изобретения является снижение веса хвостовой части транспортного самолета, снижение эксплуатационных расходов и снижение аэродинамического сопротивления, за счет того, что подходящие к силовому шпангоуту фюзеляжа бимсы и корневая часть кессона киля являются естественными опорами для узлов навески стабилизатора и узла управления им.
Поставленная задача достигается тем, что хвостовая часть транспортного самолета содержит силовой шпангоут фюзеляжа с узлами навески стабилизатора и управления им, стабилизатор, киль и грузовой люк фюзеляжа, окантованный по бокам бимсами, а с одной стороны силовым шпангоутом, причем силовой шпангоут в месте расположения узлов навески стабилизатора подкреплен подходящими по окантовке грузового люка бимсами, а узел управления стабилизатором опирается на кессон киля.
Сущность предлагаемого изобретения поясняется чертежами, где:
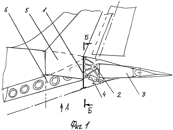
на фиг.1 – вид сбоку на хвостовую часть транспортного самолета;
на фиг.2 – вид сверху на хвостовую часть транспортного самолета;
на фиг.3 – вид сзади на хвостовую часть транспортного самолета.
Хвостовая часть транспортного самолета содержит силовой шпангоут фюзеляжа 1 с закрепленными на нем узлами навески 2 стабилизатора 3 в виде шарнира, узел управления 4 стабилизатором 3 в виде силового привода (например, гидроцилиндр), киль 5, у которого корневая часть кессона конструктивно располагается в хвостовой части фюзеляжа и сопряжена с силовым шпангоутом фюзеляжа 1 в месте расположения узла управления 4 стабилизатором 3, также содержит грузовой люк, окантованный по бокам бимсами 6, подходящими к силовому шпангоуту фюзеляжа 1 в местах, где располагаются узлы навески 2 стабилизатора 3.
При такой конструкции силовой шпангоут фюзеляжа 1 воспринимает сосредоточенные силы, приходящие от узлов навески 2 стабилизатора 3, и сосредоточенную силу, приходящую от узла управления 4 стабилизатором 3 в местах, где к силовому шпангоуту фюзеляжа 1 подходят бимсы 6 и корневая часть кессона киля 5, которые и воспринимают сосредоточенные силы. Уменьшение веса хвостовой части транспортного самолета происходит потому, что подходящие к силовому шпангоуту фюзеляжа 1 бимсы 6 и корневая часть кессона киля 5 являются естественными опорами для узлов навески 2 стабилизатора 3 и узла 4 управления им.
Формула изобретения
Хвостовая часть транспортного самолета, содержащая силовой шпангоут фюзеляжа с узлами навески стабилизатора и узлом управления им, стабилизатор, киль и грузовой люк фюзеляжа, окантованный по бокам бимсами, а с одной стороны – силовым шпангоутом, отличающаяся тем, что силовой шпангоут в месте расположения узлов навески стабилизатора подкреплен бимсами окантовки грузового люка, а в месте расположения узла управления стабилизатора силовой шпангоут сопряжен с корневой частью киля, выполненного по кессонной схеме.
РИСУНКИ
|
|