|
|
(21), (22) Заявка: 2004125463/11, 20.08.2004
(24) Дата начала отсчета срока действия патента:
20.08.2004
(45) Опубликовано: 27.02.2006
(56) Список документов, цитированных в отчете о поиске:
RU 2006400 C1, 30.01.1994. US 3763789 А, 09.10.1973. US 3469783 А, 30.09.1969. FR 2708245 A1, 03.02.1995.
Адрес для переписки:
125080, Москва, Волоколамское ш., 8, кв.38, М.М.Слесареву
|
(72) Автор(ы):
Слесарев Максим Михайлович (RU)
(73) Патентообладатель(и):
Слесарев Максим Михайлович (RU)
|
(54) РЕЛЬСОВЫЙ ПУТЬ ДЛЯ РЕЛЬСОВО-БЕЗРЕЛЬСОВОГО ТРАНСПОРТНОГО УСТРОЙСТВА С КОМБИНИРОВАННОЙ ЭНЕРГОУСТАНОВКОЙ
(57) Реферат:
Изобретение относится к области транспорта. Железная дорога предназначена для обеспечения движения транспортных средств, оборудованных рельсово-безрельсовым транспортным устройством с комбинированной энергоустановкой в сетевом режиме энергоснабжения. Она прокладывается в автодорожном полотне и состоит из металлического направляющего рельса для рельсово-безрельсового транспортного устройства с комбинированной энергоустановкой, при этом металлический направляющий рельс имеет продольный желоб, шириной и глубиной 30 мм, со стенками толщиной 5 мм, и основание шириной 100 мм и толщиной (высотой) 5 мм, металлического рельса для въезда металлических колес рельсово-безрельсового транспортного устройства с комбинированной энергоустановкой на металлический направляющий рельс для рельсово-безрельсового транспортного устройства с комбинированной энергоустановкой, при этом металлический рельс имеет продольный желоб, шириной 170 мм с постепенным сужением на конце до 30 мм и глубиной 15 мм с постепенным увеличением на конце до 30 мм, со стенками толщиной 5 мм, и основание шириной 180 мм с постепенным сужением до 100 мм и толщиной (высотой) 5 мм, и стрелки рельсового пути для рельсово-безрельсового транспортного устройства с комбинированной энергоустановкой. Стрелка содержит переводной металлический рельс стреловидной формы, приводимый в движение радиосигналом посредством радиоантенны, электронный переключатель, реверсируемый электродвигатель, реверсирование которого производится при помощи датчика, определяющего положение стрелки, шестерни и передвижной рейки, имеющей зубцы, контактирующие с шестерней, а также электронагреватель, препятствующий образованию наледи на механизме и электрооборудовании стрелки и выходу ее из строя в зимний период. В результате обеспечивается возможность работы транспортного средства данного типа в сетевом режиме энергоснабжения, а также снижаются затраты на сооружение, ремонт и обслуживание путей для него. 7 ил. 
Изобретение относится к области транспортировки и может найти применение на автомобильном, троллейбусном и трамвайном транспорте, оборудованном рельсово-безрельсовым транспортным устройством с комбинированной энергоустановкой при выполнении перевозок пассажиров и грузов по автомобильному полотну. Рельсовый путь для рельсово-безрельсового транспортного устройства с комбинированной энергоустановкой позволяет осуществлять работу последнего в сетевом режиме энергоснабжения.
Цель изобретения заключается в обеспечении полноценной работы рельсово-безрельсового транспортного устройства с комбинированной энергоустановкой и оборудованного им транспортного средства.
Заявляемое изобретение отличается от существующих аналогов, в частности от пути обычной железной дороги, отсутствием шпал, наличием только одного металлического направляющего рельса, имеющего посередине продольный желоб, шириной и глубиной 30 мм и с толщиной стенок 5 мм, плоское основание шириной 10 мм и толщиной 5 мм, а также наличием упрощенной стрелки и металлического рельса для въезда металлических колес рельсово-безрельсового транспортного устройства с комбинированной энергоустановкой на металлический направляющий рельс для рельсово-безрельсового транспортного устройства с комбинированной энергоустановкой, располагающегося с интервалом 300-1000 метров на трассе следования транспортного средства, оборудованного рельсово-безрельсовым транспортным устройством с комбинированной энергоустановкой.
Технические результаты, на достижение которых направлено заявляемое изобретение, состоят в обеспечении возможности работы рельсово-безрельсового транспортного устройства с комбинированной энергоустановкой в сетевом режиме энергоснабжения и обеспечении возможности движения транспортного средства, оборудованного рельсово-безрельсовым транспортным устройством с комбинированной энергоустановкой, по фиксированной траектории, а также в снижении к минимуму затрат на сооружение, ремонт и обслуживание путей для него.
Для достижения указанных технических результатов рельсовый путь включает в себя металлический направляющий рельс для рельсово-безрельсового транспортного устройства с комбинированной энергоустановкой, имеющий посередине продольный желоб, прокладываемый посередине автодорожной полосы с верхней границей на одном уровне с асфальтовым покрытием, металлический рельс для въезда металлических колес рельсово-безрельсового транспортного устройства с комбинированной энергоустановкой на металлический направляющий рельс для рельсово-безрельсового транспортного устройства с комбинированной энергоустановкой и стрелку рельсового пути для рельсово-безрельсового транспортного устройства с комбинированной энергоустановкой. Ремонт рельсового пути для рельсово-безрельсового транспортного устройства с комбинированной энергоустановкой осуществляется по более простой технологии, чем ремонт трамвайного пути: для замены одного легкого рельса требуется меньше технических средств и меньшая площадь вскрытия и последующей по завершении работ укладки асфальтового полотна, чем это требуется для замены двух тяжелых рельсов и шпал.
Предлагаемый рельсовый путь для рельсово-безрельсового транспортного устройства с комбинированной энергоустановкой иллюстрируется чертежами, представленными на фиг.1-7.
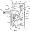
На фиг.1 показан поперечный разрез металлического направляющего рельса для рельсово-безрельсового транспортного устройства с комбинированной энергоустановкой, на фиг.2 – вид секции металлического направляющего рельса для рельсово-безрельсового транспортного устройства с комбинированной энергоустановкой сверху, на фиг.3 – вид крепления секций металлического направляющего рельса для рельсово-безрельсового транспортного устройства с комбинированной энергоустановкой снизу, на фиг.4 – поперечный разрез металлического рельса для въезда металлических колес рельсово-безрельсового транспортного устройства с комбинированной энергоустановкой на металлический направляющий рельс для рельсово-безрельсового транспортного устройства с комбинированной энергоустановкой, на фиг.5 – вид его сверху, на фиг.6 – вид стрелки рельсового пути для рельсово-безрельсового транспортного устройства с комбинированной энергоустановкой, на фиг.7 – горизонтальный разрез стрелочного механизма рельсового пути для рельсово-безрельсового транспортного устройства с комбинированной энергоустановкой.
Металлический направляющий рельс для рельсово-безрельсового транспортного устройства с комбинированной энергоустановкой (фиг.1, 2) состоит из стенок 1, толщиной 5 мм, желоба 2, шириной и глубиной 30 мм, слитых с основанием 3, шириной 100 мм и толщиной (высотой) 5 мм. По концам каждой секции рельса имеются отверстия в основании 3 для болтов 4. С помощью болтов 4 и гаек 5 осуществляется соединение соседствующих друг с другом секций с креплением 6 (фиг.3).
Металлический рельс для въезда металлических колес рельсово-безрельсового транспортного устройства с комбинированной энергоустановкой на металлический направляющий рельс для рельсово-безрельсового транспортного устройства с комбинированной энергоустановкой (фиг.4, 5) состоит из стенок 7, толщиной 5 мм, желоба 8, шириной 170 мм с постепенным сужением на конце до 30 мм и глубиной 15 мм с постепенным увеличением на конце до 30 мм, слитых с основанием 9, шириной 180 мм с постепенным сужением на конце до 100 мм и толщиной (высотой) 5 мм. В основании 9 на узком конце рельса имеются отверстия для соединения этого рельса с направляющим металлическим рельсом для рельсово-безрельсового транспортного устройства с комбинированной энергоустановкой посредством болтов 4, гаек 5 и крепления 6.
Стрелка рельсового пути для рельсово-безрельсового транспортного устройства (фиг.6) представляет собой равнобедренное треугольное соединение металлических направляющих рельсов для рельсово-безрельсового транспортного устройства с комбинированной энергоустановкой, оснащенного переводным металлическим рельсом 9, имеющим стреловидную форму.
Переводной металлический рельс 10 прикрепляется к металлическому основанию 11 посредством вращаемой оси 12 и имеет в месте крепления полукруглый изгиб, соединяющий его наземную и подземную части. Подземная часть располагается в металлической коробке 13 (фиг.7), предназначенной для размещения в ней стрелочного механизма, и имеет на конце овальное отверстие 14, через которое проходит штырь 15, имеющий возможность перемещения по овальному отверстию 14 относительно переводного металлического рельса 10. Штырь 15 крепится к подвижной рейке 16, имеющей овальные отверстия 17, через которые проходят штыри 18, имеющие возможность перемещения относительно рейки 16 и прикрепленные ко дну подземной металлической коробки 13. Подвижная рейка 16 снабжена зубцами 19, контактирующими с шестерней 20, связанной осью с реверсируемым электродвигателем 21. Последний связан посредством проводов с электронным переключателем 22, соединенным с проводами с разъемами 23, с радиоантенной 24, размещаемой под отверстием 25 в выступе металлической коробки 13, датчиком 26 и электронагревателем 27.
Работа элементов рельсового пути для рельсово-безрельсового транспортного устройства с комбинированной энергоустановкой осуществляется следующим образом.
Металлический направляющий рельс для рельсово-безрельсового транспортного устройства с комбинированной энергоустановкой обеспечивает работу устройства и оборудованного им транспортного средства в сетевом режиме энергоснабжения, снабжая устройство электрическим током отрицательного заряда через металлические колеса и корпус колесной тележки и направляя транспортное средство по определенной фиксированной траектории. При этом боковые выступы каждого металлического колеса конусообразной формы ложатся на стенки 1 желоба 2, а обод колеса – на основание 3.
При переходе рельсово-безрельсового транспортного устройства с комбинированной энергоустановкой из автономного или топливного режима энергоснабжения в сетевой производится остановка транспортного средства таким образом, чтобы колесная тележка рельсово-безрельсового транспортного устройства с комбинированной энергоустановкой оказалась над металлическим рельсом для въезда металлических колес рельсово-безрельсового транспортного устройства с комбинированной энергоустановкой на металлический направляющий рельс для рельсово-безрельсового транспортного устройства с комбинированной энергоустановкой. Далее производится спуск металлических колес устройства в желоб 8, что становится возможным благодаря его достаточной для легкого прицеливания и попадания ширине. Затем металлические колеса транспортного средства, продолжающего движение еще в автономном или топливном режиме энергоснабжения, перемещаются через сужение рельса для въезда на направляющий рельс. При этом боковые выступы металлических колес конусообразной формы попадают на стенки 1 желоба 2, а низ колес – на основание 3. После этого транспортное средство перемещается через стрелку на основной направляющий рельс и под контактную сеть, поднимает пантограф и полностью переходит в сетевой режим энергоснабжения.
Стрелка рельсового пути для рельсово-безрельсового транспортного устройства с комбинированной энергоустановкой обеспечивает поворот металлических колес рельсово-безрельсового транспортного устройства с комбинированной энергоустановкой в одном из двух направлений при помощи переводного металлического рельса 10, приводимого в движение реверсируемым электродвигателем 21 посредством шестерни 20, зубцов 19, передвижной рейки 16, штыря 15 и овального отверстия переводного металлического рельса 10. Штыри 18, исходящие из дна металлической коробки 13, при помощи отверстий 17 ограничивают траекторию движения передвижной рейки 16, исключая ее смещение вбок. Приведение реверсируемого электродвигателя 21 в движение осуществляется электронным переключателем 22 при приеме радиоантенной 24 радиосигнала, исходящего на определенной частоте от радиопульта, установленного на транспортном средстве, оборудованном рельсово-безрельсовым транспортным устройством с комбинированной энергоустановкой, при его подъезде к стрелке, либо с диспетчерского пункта. Направление вращения реверсируемого электродвигателя 21 задается при помощи датчика 26, определяющего положение перевода стрелки. При соприкосновении с концом передвижной рейки 16 датчик 26 подает сигнал на электронный переключатель 22, и направление вращения электродвигателя 21 реверсируется. При прекращении соприкосновения датчика 26 с концом передвижной рейки 16 сигнал исчезает, и в следующий раз электродвигатель 21 осуществляет вращение в первоначальном направлении. Для обеспечения информирования человека, управляющего транспортным средством, оборудованным рельсово-безрельсовым транспортным устройством с комбинированной энергоустановкой, приближающегося к стрелке, или диспетчера о положении перевода стрелки подаваемый датчиком 26 сигнал передается от электронного переключателя 22 через радиоантенну 24 радиопульту, установленному на этом транспортном средстве, и отображается на индикаторе в форме стрелы, соответствующей направлению поворота стрелки или на диспетчерский пункт. При отсутствии сигнала с датчика 26 на радиопульте транспортного средства загорается другой индикатор в форме стрелы, ориентированной в противоположную сторону. Электронагреватель 27, устанавливаемый в металлической коробке 13, предназначен для обогрева стрелочного механизма в зимнее время, что поможет предотвратить образование наледи и вывода из строя элементов механизма и электрооборудования. Электронагреватель 27 приводится в действие с помощью радиосигнала, поступающего с диспетчерского пункта на определенной частоте, отличной от частоты, подаваемой для перевода стрелки, на радиоантенну 24, а с нее на электронный переключатель 22, обеспечивающий подачу электрического тока электронагревателю 27. Питание электронного переключателя 22, электродвигателя 21 и электронагревателя 27 осуществляется переменным током от электрической сети, подключение к которой осуществляется через разъемы 23.
Металлический направляющий рельс для рельсово-безрельсового транспортного устройства с комбинированной энергоустановкой, металлический рельс для въезда металлических колес рельсово-безрельсового транспортного устройства с комбинированной энергоустановкой на металлический направляющий рельс для рельсово-безрельсового транспортного устройства с комбинированной энергоустановкой и стрелка рельсового пути для рельсово-безрельсового транспортного устройства с комбинированной энергоустановкой служат одной цели: обеспечению возможности работы рельсово-безрельсового транспортного устройства с комбинированной энергоустановкой в сетевом режиме энергоснабжения и обеспечении возможности движения транспортного средства, оборудованного рельсово-безрельсовым транспортным устройством с комбинированной энергоустановкой, по фиксированной траектории, а также в снижении к минимуму затрат на сооружение, ремонт и обслуживание путей для него. При этом каждое из перечисленных выше изобретений способствует обеспечению работы другого. Осуществление технического результата, на который они направлены, не представляется возможным при использовании этих элементов по отдельности. Оно возможно лишь при реализации изобретений в едином комплексе, образующим единый изобретательский замысел, которым и является рельсовый путь для рельсово-безрельсового транспортного устройства с комбинированной энергоустановкой – новый тип железной дороги (МПК7 В 61 В 13/00).
Формула изобретения
Железная дорога, отличающаяся тем, что она предназначена для обеспечения движения транспортных средств, оборудованных рельсово-безрельсовым транспортным устройством с комбинированной энергоустановкой в сетевом режиме энергоснабжения, прокладывается в автодорожном полотне и состоит из металлического направляющего рельса для рельсово-безрельсового транспортного устройства с комбинированной энергоустановкой, при этом металлический направляющий рельс имеет продольный желоб шириной и глубиной 30 мм со стенками толщиной 5 мм и основание шириной 100 мм и толщиной (высотой) 5 мм металлического рельса для въезда металлических колес рельсово-безрельсового транспортного устройства с комбинированной энергоустановкой на металлический направляющий рельс для рельсово-безрельсового транспортного устройства с комбинированной энергоустановкой, при этом металлический рельс имеет продольный желоб шириной 170 мм с постепенным сужением на конце до 30 мм и глубиной 15 мм с постепенным увеличением на конце до 30 мм, со стенками толщиной 5 мм и основание шириной 180 мм с постепенным сужением до 100 мм и толщиной (высотой) 5 мм, и стрелки рельсового пути для рельсово-безрельсового транспортного устройства с комбинированной энергоустановкой, при этом стрелка содержит переводной металлический рельс стреловидной формы, приводимый в движение радиосигналом посредством радиоантенны, электронный переключатель, реверсируемый электродвигатель, реверсирование которого производится при помощи датчика, определяющего положение стрелки, шестерни и передвижной рейки, имеющей зубцы, контактирующие с шестерней, а также электронагреватель, препятствующий образованию наледи на механизме и электрооборудовании стрелки и выходу ее из строя в зимний период.
РИСУНКИ
|
|