|
|
(21), (22) Заявка: 2003102381/02, 27.06.2001
(24) Дата начала отсчета срока действия патента:
27.06.2001
(30) Конвенционный приоритет:
28.06.2000 CH 20001277/00
(43) Дата публикации заявки: 27.07.2004
(45) Опубликовано: 27.02.2006
(56) Список документов, цитированных в отчете о поиске:
JP 1228649 А, 12.09.1989. SU 499038 А, 08.06.1974. US 5733469 А, 31.03.1998. RU 2000166 С, 07.09.1993. JP 60021171 А, 02.02.1985.
(85) Дата перевода заявки PCT на национальную фазу:
28.01.2003
(86) Заявка PCT:
EP 01/07351 (27.06.2001)
(87) Публикация PCT:
WO 02/00372 (03.01.2002)
Адрес для переписки:
129010, Москва, ул. Б. Спасская, 25, стр.3, ООО “Юридическая фирма Городисский и Партнеры”, пат.пов. Ю.Д.Кузнецову, рег.№ 595
|
(72) Автор(ы):
МАРТИ Хайнрих (CH), БАРБЕ Жак (FR)
(73) Патентообладатель(и):
СМС ДЕМАГ АГ (DE), МЕЙН МЕНЕДЖМЕНТ ИНСПИРЕЙШН АГ (CH)
|
(54) ОГНЕУПОРНЫЙ БЛОК ЛИТЕЙНОЙ ТРУБЫ, РАСПОЛАГАЕМЫЙ НА СТАКАНЕ ЕМКОСТИ, СОДЕРЖАЩЕЙ РАСПЛАВ МЕТАЛЛА, В ЧАСТНОСТИ ПРОМЕЖУТОЧНОЙ ЕМКОСТИ ЛЕНТОЧНОЙ РАЗЛИВОЧНОЙ УСТАНОВКИ
(57) Реферат:
Изобретение относится к металлургии, конкретнее к огнеупорному блоку литейной трубы, располагаемому на стакане емкости, содержащей расплав металла. Огнеупорный блок содержит, по меньшей мере, одну присоединяемую к промежуточной емкости вертикальную огнеупорную часть и отходящую от нее горизонтальную огнеупорную часть. В горизонтальной огнеупорной части выполнены одно или несколько распределенных по длине отверстий. Горизонтальная огнеупорная часть разделена перегородкой на верхнюю и нижнюю камеры. Стакан вертикальной части литейной трубы заканчивается в нижней камере. В перегородке выполнены отверстия для подъема расплава из нижней камеры в верхнюю. В стенке верхней камеры выполнены отверстия, через которые вытекает расплав. Изобретение обеспечивает равномерное распределение расплава по всей длине литейных роликов. 5 з.п. ф-лы, 9 ил. 
Изобретение относится к огнеупорному блоку литейной трубы, располагаемому на стакане емкости, содержащей расплав металла, в частности, на стакане промежуточной емкости ленточной разливочной установки, причем блок литейной трубы содержит, по меньшей мере, одну присоединяемую к промежуточной емкости вертикальную огнеупорную часть и отходящую от нее, горизонтально расположенную, также огнеупорную часть, которая снабжена одним или несколькими распределенными по длине отверстиями.
В известной из FR-A-2753402 ленточной разливочной машине над литейными роликами расположена распределительная емкость, а над ней – ковш. Литейная труба на стакане ковша входит при этом в распределительную емкость, которая, в свою очередь, содержит стакан и проходящее между литейными роликами сопло. Кроме того, в ковше предусмотрен стопорный затвор для управляемой разливки расплава. Недостаток при этом в том, что в распределительной емкости в заполненном состоянии имеется относительно большая ферростатическая высота, что вызывает соответственно высокую выходную скорость. Таким образом, расплав протекает между литейными роликами с неравномерной скоростью, вследствие чего между литейными роликами возникает соответственно неспокойная ванна.
Из публикации JP-A-01228649 (реферат и чертежи) известен огнеупорный блок литейной трубы, который расположен на промежуточной емкости и в который погружена находящаяся между литейными роликами ванна расплава. Блок литейной трубы состоит из стакана, соединенного с промежуточной емкостью, и погружной трубы, охватывающей стакан. Погружная труба состоит из горизонтально расположенной части, которая снабжена распределенными по длине отверстиями для расплава. Погружная труба содержит внутри удлиненную камеру, а под камерой – два удлиненных распределительных отверстия, которые через отверстия для расплава связаны между собой. От удлиненных отверстий отходят направленные под углом вверх прорези, из которых введенный через стакан в погружную трубу расплав попадает в ванну расплава между литейными роликами. Недостатком этого блока литейной трубы является то, что из-за выбранной конструкции расплав выходит с относительно высокой кинетической энергией и должен быть направлен к поверхности литейных роликов, а оттуда отклоняется в ванну расплава, в результате чего могут произойти повреждения затвердевшей оболочки отливаемой ленты.
С учетом этого уровня техники в основу настоящего изобретения была положена задача создания блока литейной трубы таким образом, чтобы затекание расплава между литейными роликами происходило с как можно меньшей кинетической энергией с ламинарным равномерным течением, а образующееся зеркало ванны между этими литейными роликами оставалось как можно более плоским. Кроме того, с помощью блока литейной трубы достигается более равномерное распределение расплава по всей длине литейных роликов и образование оболочки стальной ленты на обоих роликах по всей их ширине с постоянной толщиной.
Эта задача решается, согласно изобретению, за счет того, что несколько распределенных по длине отверстий горизонтальной части литейной трубы расположены на расстоянии от нижнего конца вверх, так что в этой части литейной трубы образуется отстойник.
Благодаря этому блок литейной трубы, согласно изобретению, обеспечивает равномерное распределение расплава между литейными роликами с таким медленным течением, что поверхность ванны остается спокойной. Это в значительной степени способствует безупречной разливке на этой ленточной разливочной машине.
Предпочтительно при этом, что горизонтальная часть литейной трубы имеет, приблизительно, прямоугольное, треугольное или многоугольное, круглое, полукруглое или аналогичное сечение, от которого в обе стороны, как и преимущественно от торца, ведут отверстия.
В одном выполнении блока литейной трубы предусмотрено, что удлиненная часть литейной трубы удерживается независимо от вертикальной части литейной трубы на отдельной подвеске и эта часть литейной трубы проходит при этом в другую часть литейной трубы.
Еще одно предпочтительное выполнение блока литейной трубы отличается тем, что на нижней стороне трубы выполнено одно или несколько сливных отверстий для разливки расплава на литейном конце. Предпочтительным образом также боковые замыкающие элементы блока литейной трубы могут быть снабжены сливными отверстиями.
Примеры выполнения изобретения и другие его преимущества более подробно поясняются ниже с помощью чертежей, на которых изображено:
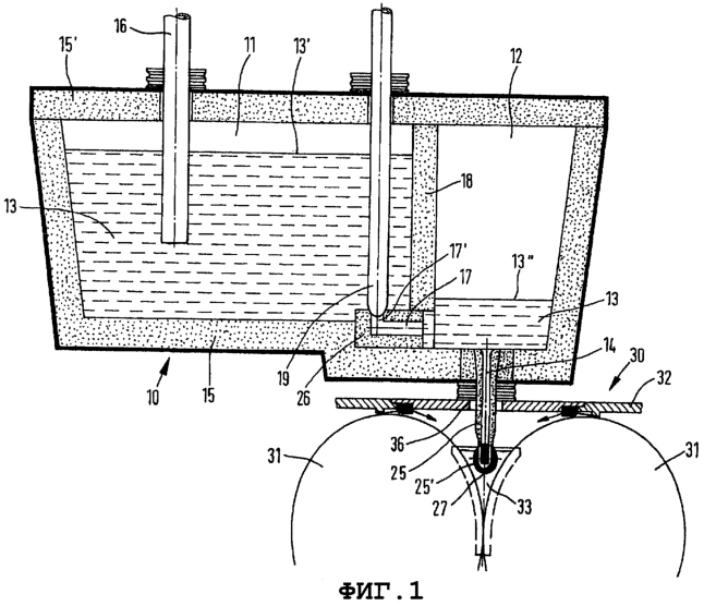
на фиг.1 представлена в продольном разрезе промежуточная емкость и блок литейной трубы, согласно изобретению;
фиг.2 – разрез блока литейной трубы между литейными роликами;
фиг.3 – вид сбоку блока литейной трубы по фиг.2;
фиг.4 – в разрезе вариант блока литейной трубы между литейными роликами;
фиг.5 – вид сбоку блока литейной трубы по фиг.4;
фиг.6 и 7 – в разрезе другие варианты блока литейной трубы;
фиг.8 – продольный разрез блока литейной трубы по фиг.2 по линии I/I;
фиг.9 – продольный разрез блока литейной трубы со схематично изображенными литейными роликами и боковыми уплотнениями и отдельной подвеской удлиненной и вертикальной частей литейной трубы.
На фиг.1 изображена промежуточная емкость 10 с огнеупорной облицовкой 15 для разливки расплава металла в известную саму по себе ленточную разливочную машину 30 с двумя литейными роликами 31, посредством которых получают, в частности, тонкие стальные ленты толщиной несколько миллиметров и шириной до 2 метров. Из лишь частично схематично обозначенной ленточной разливочной машины 30 показаны литейные ролики 31 и охватывающий их кожух 32.
Промежуточная емкость 10 содержит крышку 15′, внутреннюю полость, принимающую расплав, 13 и расположенный в ее дне стакан 14. Расплав 13 заливают через проходящую в емкость 10 погружную трубу 16, которая присоединена к стакану ковша (не показан). Образующая стакан 14 литейная труба 21 входит в ванну 33 расплава между вращающимися литейными роликами 31. Внутренняя полость емкости 10 заполнена при этом предпочтительно инертным газом. Между емкостью 10 и крышкой 32 кожуха предусмотрен далее охватывающий литейную трубу 21 сильфон 36.
Внутренняя полость емкости разделена, по меньшей мере, на две связанные между собой сквозным отверстием 17 камеры 11, 12, из которых камеру 11 заполняют расплавом 13, тогда как камера 12 снабжена стаканом 14, причем текущее из камеры 11 в камеру 12 количество расплава регулируют посредством управляющего клапана 19 в сквозном отверстии 17.
Целесообразно во внутренней полости емкости предусмотреть перегородку 18, расположенную предпочтительно внецентренно, так что наполняемая камера 11 по объему в 2-30 раз больше камеры 12 со стаканом.
Особенно предпочтительно, чтобы при разливке зеркало 13” ванны в камере 12 со стаканом 14 лежало по сравнению с зеркалом 13′ ванны в камере 11 ниже преимущественно на 10-50% высоты ванны. Таким образом, именно в нижней зоне литейной трубы могут быть достигнуты низкая кинетическая энергия протекающего расплава и в соответствии с этим постоянный характер ламинарного течения.
Является целесообразным, чтобы этот выполненный в виде стопорного затвора управляющий клапан 19 срабатывал с возможностью соблюдения в камере 12 со стаканом 14 во время разливки постоянной высоты ванны расплава, которую регулируют предпочтительно посредством управляющего органа и прибора измерения высоты ванны. Для управляющего клапана может быть предусмотрен также поворотный затвор, шиберный затвор и т.п.
Вход 17′ образующего сквозное отверстие 17 сопла 26 расположен со смещением вверх относительно дна емкости в наполняемой камере 11. Это дает то преимущество, что, возможно, попадающие из ковша в эту камеру включения осаждаются на дне и не попадают в следующую камеру 12.
Изобретение отличается огнеупорным блоком 21, 21′ литейной трубы, некоторые конструктивные подробности которого поясняются ниже. Этот блок литейной трубы состоит, по меньшей мере, из одной установленной на дне емкости вертикальной части 21 и отдельной, отходящей от нее, горизонтально расположенной удлиненной части 90. Эта выполненная трубчатой часть 90 снабжена несколькими распределенными по длине отверстиями 96 и равноудалена от литейных роликов 31, располагаясь, приблизительно, по их длине.
На фиг.2 и 3 изображен огнеупорный блок литейной трубы, который содержит отстоящую вниз от дна емкости вертикальную часть 21 с внутренним соплом 23 Метеринга и закрепленную на ней коробчатую часть 22. Последняя имеет предпочтительно достаточную длину для снабжения ванны 33 расплава, приблизительно, наружу до боковых уплотнений так называемым горячим расплавом и для предотвращения паразитных затвердеваний. Эта часть 22 литейной трубы по технологическим причинам выполнена из двух частей, а именно верхней части 24 в виде крышки, снабженной фланцем 24′ для закрепления на части 21, и нижней чашеобразной части 29, прикрепленной штифтами 28, в частности огнеупорными болтами, к части 24.
Эта часть 22 литейной трубы образует связанный с центральным впускным отверстием 39 удлиненный канал 38 и отходящие от него с обеих сторон, а также с торца пазообразные отверстия 34, 37. Несколько этих равномерно распределенных по длине отверстий 34 в рамках изобретения расположены на расстоянии вверх от нижнего конца, так что, во-первых, выходящий из этих отверстий 34 поток расплава направлен под углом вверх, а, во-вторых, канал 38 образует род отстойника, в котором осаждаются, возможно, содержащиеся в расплаве частицы твердых веществ. Возникает дополнительное преимущество, заключающееся в том, что затекающий в этот канал 38 расплав распределяется прежде всего в нем по всей его длине, а затем выходит из отверстий 34, приблизительно, равными количествами.
На фиг.4 и 5 изображен блок литейной трубы, аналогичный блоку литейной трубы на фиг.2. Ниже поясняются их отличия. У этого блока литейной трубы части 40 соответствуют верхний 44 и нижний 45 продольные каналы, которые связаны между собой распределенными по длине вертикальными отверстиями 46, причем отверстия 46 увеличиваются по диаметру в направлении к наружной стенке. Этот первый продольный канал 44 вызывает дросселирование течения расплава, прежде чем расплав вытечет через второй канал 45 и также смещенные вверх выходные отверстия 42.
На фиг.6 часть 70 литейной трубы, также состоящая из двух частей, имеет полукруглое сечение. Отверстия 71 расположены сбоку со смещением вверх, так что возникает такое же предпочтительное действие, как и описанное выше.
В принципе, отверстия 71 могут быть расположены только вертикально вниз или дополнительно к боковым. Существенно при этом, что притекающий заново материал не вызывает местного воздействия на образующуюся оболочку ленты.
На фиг.7 и 8 изображен блок литейной трубы, согласно изобретению, у которого удлиненная часть 90 состоит из проходящей горизонтально огнеупорной трубы 91 с обеих сторон от замыкающего элемента 92 и перегородки 95. Расположенная, приблизительно, в центре трубы 91 перегородка 95 разделяет ее на верхнюю 93 и нижнюю 94 камеры, которые связаны между собой отверстиями 97, просверленными или прорезанными и т.п., расположенными в ряд по всей длине перегородки. Приблизительно, посередине трубы 91 часть 21 проходит через нее и перегородку 95 и заканчивается, тем самым, в нижней камере 94.
Принцип действия этого блока литейной трубы состоит в том, что расплав из промежуточной емкости через сквозное отверстие 14 части 21 литейной трубы затекает в нижнюю камеру 94, пока эта камера 94 не будет заполнена расплавом. Затем расплав поднимается через отверстия 97 в верхнюю камеру 93, а из нее – через отверстия 96 в ограничивающей верхнюю камеру стенке, так что этот расплав может целенаправленно вытекать между обоими литейными роликами.
Для того чтобы образующийся в камере 94 отстойник для разливаемого расплава снова можно было опорожнить на литейном конце, на нижней стороне трубы 91 предусмотрено предпочтительно одно или несколько отверстий. Также замыкающие элементы 92 могут быть снабжены соответствующими отверстиями.
На фиг.9 изображен вариант блока литейной трубы, у которого в отличие от вышеприведенного примера удлиненная часть 80 удерживается не на вертикальной части 81, а на отдельной подвеске. Эта подвеска 85 закреплена при этом на дне промежуточной емкости 10. Кроме того, предусмотрены две выполненные обычным образом, вертикально расположенные литейные трубы 81, которые на определенном расстоянии друг от друга заделаны в промежуточной емкости 10 и доходят до горизонтальной части 80. В случае лент меньшей ширины можно работать также только с одной литейной трубой.
Выполненная трубчатой часть 80 имеет несколько боковых отверстий 83, а на торцах – по одной замыкающей крышке 86, с отверстиями, в которые входит подвеска 85. Часть 80 литейной трубы имеет, приблизительно, такую же длину, что и литейные ролики 31, из которых на фиг.4 показаны боковые уплотнения. Таким образом, этот блок литейной трубы может быть изготовлен очень просто без необходимости принятия во внимание технических недостатков.
Изобретение достаточно раскрыто в приведенных выше примерах выполнения. Однако оно может быть представлено и в других вариантах.
Части литейной трубы могут быть выполнены из двух и более частей также в том смысле, что части трубы могут быть составлены из соответствующих отрезков трубы.
Формула изобретения
1. Огнеупорный блок литейной трубы, располагаемый на стакане емкости, содержащей расплав металла, в частности на стакане (14) промежуточной емкости (10) ленточной разливочной установки, причем блок литейной трубы содержит, по меньшей мере, одну присоединяемую к промежуточной емкости вертикальную огнеупорную часть (21, 81) и отходящую от нее, горизонтально проходящую также огнеупорную часть (80, 90), которая снабжена одним или несколькими распределенными по длине отверстиями (83, 96), отличающийся тем, что горизонтально проходящая часть (80, 90) литейной трубы разделена перегородкой (95) на верхнюю и нижнюю камеры (93, 94), причем стакан вертикальной части (21, 81) литейной трубы заканчивается в нижней камере (94), а в перегородке (95) выполнены отверстия (97), через которые затекающий в нижнюю камеру (94) расплав может подниматься в верхнюю камеру (93) и вытекать из нее через отверстия (83, 96) в ограничивающей верхнюю камеру (93) стенке.
2. Блок по п.1, отличающийся тем, что несколько распределенных по длине отверстий (83, 96) горизонтальной части (80, 90) литейной трубы расположены на расстоянии от нижнего конца вверх с образованием отстойника в этой части литейной трубы.
3. Блок по любому из пп.1 и 2, отличающийся тем, что горизонтальная часть (80, 90) литейной трубы имеет приблизительно прямоугольное, треугольное или многоугольное, круглое или полукруглое сечение, от которого в обе стороны, как и преимущественно от торца, ведут отверстия (83, 96).
4. Блок по любому из пп.1-3, отличающийся тем, что горизонтально проходящая часть (80, 90) литейной трубы расположена на отдельной подвеске (85) независимо от вертикальной части (21, 81), при этом вертикальная часть (21, 81) литейной трубы входит в горизонтальную часть (80, 90) литейной трубы.
5. Блок по любому из пп.1-4, отличающийся тем, что на нижней стороне трубы (91) предусмотрено одно или несколько сливных отверстий для опорожнения нижней камеры (94) по окончании разливки.
6. Блок по любому из пп.1-5, отличающийся тем, что замыкающие элементы (92) горизонтально проходящей части (90) литейной трубы в зоне трубы (91) снабжены сливными отверстиями для опорожнения нижней камеры (94) по окончании разливки.
РИСУНКИ
|
|