|
|
(21), (22) Заявка: 2004106131/15, 03.03.2004
(24) Дата начала отсчета срока действия патента:
03.03.2004
(43) Дата публикации заявки: 10.08.2005
(45) Опубликовано: 27.02.2006
(56) Список документов, цитированных в отчете о поиске:
RU 2069189 C1, 20.11.1996. SU 1479701 A1, 15.05.1989. RU 2205797 С1, 10.06.2003. SU 808097 A, 28.02.1981. RU 2137881 C1, 20.09.1999. RU 2142415 C1, 10.12.1999. RU 861328 A, 07.09.1981. WO 95/24280 A1, 14.09.1995.
Адрес для переписки:
119602, Москва, а/я 343, пат. пов. Н.В. Панфилову, рег.№683
|
(72) Автор(ы):
Буглов Сергей Владимирович (RU)
(73) Патентообладатель(и):
Общество с ограниченной ответственностью Зерновая компания “Настюша” (ООО Зерновая компания “Настюша”) (RU)
|
(54) СПОСОБ ОЧИСТКИ ВОДЫ И ГРУНТА ОТ ЗАГРЯЗНЕНИЯ
(57) Реферат:
Изобретение относится к области охраны окружающей среды, может быть использовано при очистке подземных пластов воды и грунта от техногенных скоплений жидких углеводородов. В зоне пятна загрязнения бурят скважину, создают и поддерживают в ней отрицательное давление в пределах от – 2 кГс/см2 до – 0,8 кГс/см2, при этом одновременно производят извлечение продукта загрязнения из скважины. Технический эффект – увеличение количества извлеченного продукта загрязнения в единицу времени. 4 з.п. ф-лы, 1 ил. 
Изобретение относится к области охраны окружающей среды и сохранения экологии и может быть использовано при очистке подземных пластов воды и грунта от загрязнения, в частности от техногенных скоплений жидких углеводородов (нефти, керосина, дизельного топлива, бензина и т.д.), образующихся в результате проливов и аварий в районах нефтепроводов, нефтехранилищ, баз ГСМ и им подобных, особенно в условиях размещения населенных пунктов на территории, находящейся в контуре распространения скоплений нефтепродуктов.
Известен способ очистки поверхности водоема от нефтяных пятен, при котором погружают в воду емкость, в нее через горизонтальные патрубки закачивают загрязненную нефтью воду и разделяют смесь на нефть и воду.
Недостатком аналога является небольшая скорость забора загрязненной жидкости из-за малого размера приемного отверстия и невозможность очистки подземных пластов воды и грунта, загрязненных нефтепродуктами. A.с. СССР №1599313, С 02 F 1/40, 1990 г.
Также известен способ очистки воды от нефтепродуктов. Он включает подачу загрязненной воды в емкость, сообщенную с резервуаром для сбора нефтепродуктов. А.с. СССР №212464, С 02 F 1/40, 1986 г.
Недостатком способа является низкая пропускная способность и невозможность очистки подземных пластов воды и грунта, загрязненных нефтепродуктами.
Также известен способ экологической защиты территорий от загрязнения нефтепродуктами, в соответствии с которым бурят группу скважин, отбор воды ведут до образования депрессионной воронки, накапливают нефтепродукты в воронке, а затем извлекают их. Упомянутый способ является наиболее близким аналогом А.с. СССР №861328, С 02 F 1/00, 1981 г. Недостатком указанного способа является невысокая эффективность извлечения нефтепродукта и вероятность разрыва линзы.
Решаемая техническая задача заключается в разработке способа, позволяющего производить очистку подземных пластов воды и грунта с наименьшими временными и финансовыми затратами.
При этом достигаемый технический результат заключается в обеспечении максимальной производительности извлечения продукта загрязнения.
Технический результат достигается тем, что в зоне пятна загрязнения бурят, по крайней мере, одну скважину, создают и поддерживают в ней отрицательное давление, при этом одновременно производят извлечение продукта загрязнения из скважины, а также тем, что продукт загрязнения извлекают путем откачки с помощью погружного насоса, а также тем, что в качестве продукта загрязнения откачивают нефтепродукт, а также тем, что откачку нефтепродукта производят в стационарном или изменяющемся режиме, а также тем, что отрицательное давление поддерживают в пределах от – 2 кГс/см2 до – 0,8 кГс/см2, а также тем, что отрицательное давление создают и поддерживают с помощью вакуумного насоса и гравитационного сепаратора.
Таким образом, заявленное техническое решение соответствует критерию охраноспособности “новизна”.
Сравнение заявленного технического решения не только с наиболее близким аналогом, но и с другими техническими решениями в данной области не позволило выявить существенные признаки, сходные с признаками известных технических решений, что дает основания считать, заявленное техническое решение соответствующим критерию охраноспособности “изобретательский уровень”.
Способ может быть эффективно применен при проникновении жидких углеводородов (нефтепродуктов) в пласты воды и грунта, при этом очистка воды и грунта может осуществляться на глубину до 100 м и глубже.
На одной из нефтебаз Воронежской области в результате разрыва стального магистрального трубопровода произошла утечка более 500 т нефтепродукта. После проведения геологоразведочных работ было установлено, что пролитый нефтепродукт осел над водным горизонтом (насыщенный водой песок), образовав над ним слой загрязненного грунта толщиной 0,5-0,9 м, при этом глубина залегания составила 36 м.
Для того чтобы извлечь продукт загрязнения, в районе утечки была пробурена и установлена скважина глубиной 37,2 м с диаметром 219 мм и длиной фильтра 4 м. После этого в скважину был опущен погружной насос, а оголовок (верх) скважины закрыт герметично. В оголовок монтируют патрубок для подсоединения вакуумной магистрали, в результате чего создают в скважине отрицательное давление, что стимулирует приток нефтепродукта; дополнительно на поверхности в вакуумную магистраль монтируют гравитационный сепаратор, к которому подсоединена и магистраль откачки нефтепродукта, а также магистраль от вакуумного узла, что позволило выровнять давление в скважине и в рабочей части погружного насоса.
Таким образом, в предложенном способе сочетается создание отрицательного давления в скважине для цели увеличения скорости и объема притока нефтепродукта с одновременной работой вакуумного и погружного насоса.
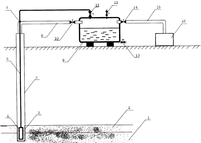
В качестве примера реализации способа на чертеже представлено устройство, где изображены: водный горизонт 1, грунт 2, пропитанный нефтепродуктом, фильтр 3, надетый на нижний конец скважины, погружной насос 4, размещенный в скважине 5 и соединенный откачивающей магистралью 6 через вентиль 11 с гравитационным сепаратором 9, который через вентиль 10 и вакуумную магистраль 8 соединен со скважиной 5, эластичная муфта 7, обеспечивающая герметизацию отверстия, через которое проходит откачивающая магистраль 6, вентиль 12, вмонтированный в гравитационный сепаратор 9 и предназначенный для выравнивания давления при сливе содержимого через вентиль 13, вакуумный узел 16 через вакуумную магистраль 15 и вентиль 14 подсоединяется к гравитационному сепаратору 9.
Способ очистки воды и грунта осуществляется следующим образом.
В пробуренную и оснащенную скважину опускают погружной насос 4, затем с помощью узла 16 (вакуумного насоса) и вакуумной магистрали 15, 8, включая гравитационный сепаратор 9, создают в скважине 5 отрицательное давление, в результате чего происходит постепенное подтягивание пролитого нефтепродукта без разрыва линзы и откачивание его по магистрали 6 с помощью погружного насоса 4 в резервуар 9, функционирование которого основано на принципе гравитационного отстоя. При накоплении в нем жидкости, она, отстаиваясь, располагается в два слоя, которые поочередно через вентиль 13 сливаются. Во время слива необходимые для этого вентили 12, 13 открываются, а другие 10, 11, 14 – закрываются. Далее нефтепродукт идет на переработку и очистку, вода сливается или очищается дополнительно и также сливается. Затем описанный процесс повторяется.
Приведенный пример реализации способа не ограничивает объема притязаний заявителя, представленных в формуле, а служит пояснением к осуществлению изобретения.
В зависимости от пятна загрязнения бурят несколько скважин, а выбор типа вакуумного насоса для поддержания вакуума при обеспечении заданного процесса определяется рабочим диапазоном давления насоса и его предельным давлением, быстротой откачки насоса в заданном диапазоне. Способ может быть реализован в подвижном варианте устройства, а также в зимнем варианте.
Формула изобретения
1. Способ очистки воды и грунта от загрязнения, заключающийся в том, что в зоне пятна загрязнения бурят, по крайней мере, одну скважину, создают и поддерживают в ней отрицательное давление, при этом одновременно производят извлечение продукта загрязнения из скважины, а отрицательное давление поддерживают в пределах от – 2 до – 0,8 кгс/см2.
2. Способ по п.1, отличающийся тем, что в качестве продукта загрязнения извлекают нефтепродукт.
3. Способ по п.2, отличающийся тем, что нефтепродукт извлекают путем откачки с помощью погружного насоса.
4. Способ по п.1, отличающийся тем, что отрицательное давление создают и поддерживают с помощью вакуумного насоса и гравитационного сепаратора.
5. Способ по п.3, отличающийся тем, что откачку производят в стационарном или изменяющемся режиме.
РИСУНКИ
|
|