|
|
(21), (22) Заявка: 2004114681/03, 13.05.2004
(24) Дата начала отсчета срока действия патента:
13.05.2004
(43) Дата публикации заявки: 27.10.2005
(45) Опубликовано: 27.02.2006
(56) Список документов, цитированных в отчете о поиске:
RU 2001118532 A, 10.06.2003. SU 895515 A1, 07.01.1982. SU 561573 A1, 15.06.1977. SU 655432 A1, 05.04.1979. RU 2116137 C1, 27.07.1998.
Адрес для переписки:
300903, г.Тула, п. Косая Гора, ул. Горшкова, 20, кв.5, Е.Ф.Лингарту
|
(72) Автор(ы):
Лингарт Евгений Федорович (RU), Паршиков Михаил Иванович (RU), Чернов Евгений Анатольевич (RU)
(73) Патентообладатель(и):
Лингарт Евгений Федорович (RU)
|
(54) ПЫЛЕУЛОВИТЕЛЬ
(57) Реферат:
Изобретение относится к черной металлургии, в частности к устройствам очистки доменного газа. Позволяет повысить эффективность очистки и получить сухую пыль. Пылеуловитель включает цилиндроконический корпус с патрубками для подвода пылегазовой смеси, отвода очищенного газа и выпуска пыли, электромагнитную систему бегущего магнитного поля, спиральную направляющую движения газа, запирающий стакан и ячеистый сердечник. На внутренней поверхности корпуса в зоне действия бегущего магнитного поля установлены опоры из неферромагнитных полос, а ячеистый сердечник установлен между опорами и спиральной направляющей. 3 ил. 
Изобретение относится к черной металлургии, в частности к устройствам очистки доменного газа.
Известен пылеуловитель полутонкой очистки, включающий цилиндроконический корпус с патрубками для подвода пылегазовой смеси, отвода очищенного газа, форсунок для подачи распыленной воды, патрубок для отвода пульпы через водяной затвор [1]. Недостаток этого пылеуловителя в образовании переувлажненного шлама, непригодного к утилизации без подготовки.
Известен циклонный электромагнитный сепаратор, включающий цилиндроконический корпус, расположенную снаружи электромагнитную систему бегущего магнитного поля с магнитопроводами, внутренняя поверхность корпуса выполнена гофрированной, на разгрузочном патрубке расположена спиральная направляющая движения газа, а в нижней части установлен запирающий стакан [2].
Недостатком этого устройства является исполнение внутренней поверхности корпуса гофрированной для улучшения улавливания и удержания пыли. Такое исполнение возможно на малогабаритных установках. На крупных промышленных пылеуловителях это практически невозможно.
Наиболее близким к предложенному пылеуловителю является циклонный электромагнитный сепаратор для разделения смесей материалов в газовой среде, включающий цилиндроконический корпус с патрубками для подвода пылегазовой смеси, отвода очищенного газа и выпуска пыли, электромагнитную систему бегущего магнитного поля, спиральную направляющую движения газа, запирающий стакан и установленный между внутренней поверхностью корпуса и спиральной направляющей ячеистый сердечник [3].
Недостаток этого устройства заключается в том, что выполнить внутреннюю поверхность цилиндроконического корпуса промышленного сепаратора-пылеуловителя гофрированной очень сложно, а исполнение ее плоской снижает эффективность пылеулавливания, так как остается возможность выдувания пыли газовым потоком из зоны пылеулавливания.
Технической задачей предлагаемого изобретения является повышение эффективности очистки газа и получение сухой пыли, пригодной к немедленной утилизации.
Техническое решение заключается в том, что в известном циклонном электромагнитном сепараторе-пылеуловителе, включающем цилиндроконический корпус с патрубками для подвода пылегазовой смеси, отводов очищенного газа и выпуска пыли, электромагнитную систему бегущего магнитного поля, спиральную направляющую движения среды, запирающий стакан и установленный между внутренней поверхностью корпуса и спиральной направляющей ячеистый сердечник, на внутренней поверхности корпуса в зоне действия бегущего магнитного поля установлены опоры из полос. Ячеистый сердечник установлен между опорами и спиральной направляющей. Причем цилиндроконический корпус в зоне действия магнитного поля и опоры ячеистого сердечника выполнены из неферромагнитного материала.
Опоры ячеистого сердечника имеют техническое назначение как фиксаторы оптимального положения ячеистого сердечника с магнитным полем относительно корпуса и системы бегущего магнитного поля и технологическое назначение, так как создают вертикальные полости, в которые магнитным полем вовлекается пыль и исключается влияние на нее пылегазового потока, что повышает эффективность пылеулавливания. Исполнение опор из ферромагнитного металла неприемлемо, так как опоры в этом случае превращаются в магнитопроводы, что искажает магнитное поле и резко снижает эффективность пылеулавливания.
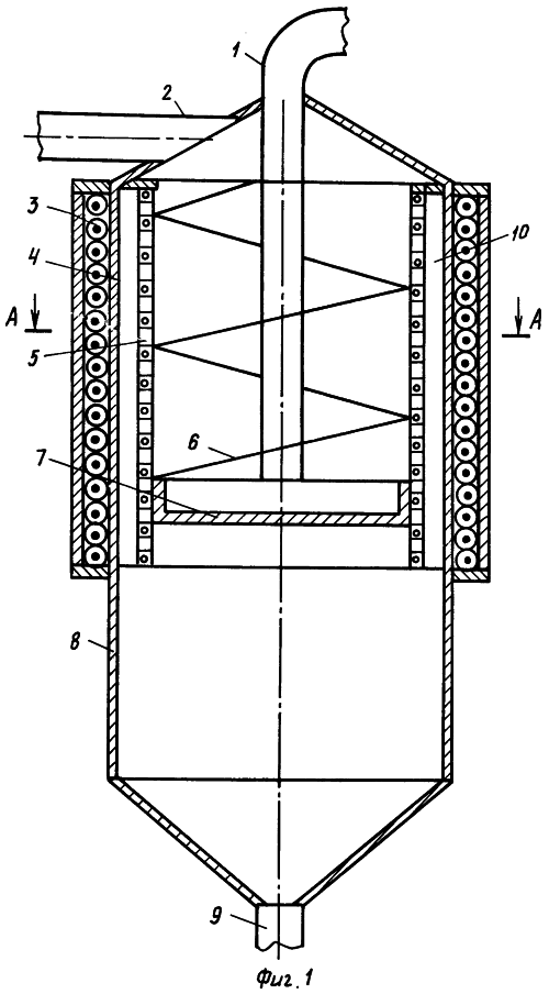
Предлагаемое устройство в общем виде показано на фиг.1, 2 и 3 и состоит из цилиндроконического корпуса, в зоне действия электромагнитной системы бегущего магнитного поля 4, изготовленного из неферромагнитного материала 8 и изготовленного из рядовой стали, патрубков 1 для отвода очищенного газа, 2 для подачи пылегазовой смеси и 9 для выпуска осажденной пыли электромагнитной системы бегущего магнитного поля 3, ячеистого сердечника 5, установленного между опорами 10, фиксирующими положения сердечника и создающими вертикальные полости, и спиральной направляющей 6, запирающего стакана 7.
Пылеуловитель действует следующим образом.
Пылегазовая смесь поступает через патрубок 2 внутрь корпуса и направляемая спиральной направляющей 6 совершает вращательное движение. Пыль под действием центробежных сил отбрасывается к ячеистому сердечнику 5, магнитным полем втягивается в вертикальные полости, созданные опорами, и перемещается по ним к патрубку 9 выпуска пыли.
Использование ячеистого сердечника позволяет замкнуть магнитное поле и создать повышенную напряженность между корпусом и ячеистым сердечником, использование опор для ячеистого сердечника позволяет создать вертикальные полости, в которые попадает пыль, что исключает влияние на нее движения пылегазового потока, тем самым повысить извлечение пыли из газа. Очищенный газ попадает в запирающий стакан 7 и направляется в патрубок 1.
Источники информации
1. Справочник “Доменное производство под редакцией ак. И.П.Бардина, Москва, Металлургиздат., 1963 г., т.II, стр.219.
2. Патент РФ № 2116137, кл B 03 C 1/24.
3. Заявка RU № 2001118532, кл. B 03 C 1/24, опубл. 10.06.2003.
Формула изобретения
Пылеуловитель, включающий цилиндроконический корпус с патрубками для подвода пылегазовой смеси, отвода очищенного газа и выпуска пыли, электромагнитную систему бегущего магнитного поля, спиральную направляющую движения газа, запирающий стакан и ячеистый сердечник, отличающийся тем, что на внутренней поверхности корпуса в зоне действия бегущего магнитного поля установлены опоры из неферромагнитных полос, а ячеистый сердечник установлен между опорами и спиральной направляющей.
РИСУНКИ
|
|