|
(21), (22) Заявка: 2000117635/13, 05.10.1999
(24) Дата начала отсчета срока действия патента:
05.10.1999
(30) Конвенционный приоритет:
06.10.1998 FR 98/12492
(43) Дата публикации заявки: 27.01.2005
(45) Опубликовано: 27.02.2006
(56) Список документов, цитированных в отчете о поиске:
DE 4240280 А, 09.06.1994. US 5441702 A, 15.08.1995. DE 4436473 А, 14.03.1996. WO 95/33564 А, 14.12.1995. SU 406782 А, 21.11.1973.
(85) Дата перевода заявки PCT на национальную фазу:
06.07.2000
(86) Заявка PCT:
FR 99/02374 (05.10.1999)
(87) Публикация PCT:
WO 00/20118 (13.04.2000)
Адрес для переписки:
129010, Москва, ул. Б. Спасская, 25, стр.3, ООО “Юридическая фирма Городисский и Партнеры”, пат.пов. Ю.Д.Кузнецову, рег.№ 595
|
(72) Автор(ы):
ВИО Франсуа (FR), ВЕКШИО Жоселин (FR)
(73) Патентообладатель(и):
ЖИЛЬСОН САС (FR)
|
(54) КОНСТРУКЦИЯ, СОДЕРЖАЩАЯ УЛОЖЕННЫЕ В ШТАБЕЛЬ СМЕННЫЕ МОДУЛИ ДЛЯ КОНУСОВ ПИПЕТОК
(57) Реферат:
Конструкция для конусов пипеток содержит, по меньшей мере, два сменных модуля, способных сформировать штабель, удерживая на себе упомянутые элементы, средства загрузки, предназначенные для приема штабеля и отделения одного из сменных модулей от оставшейся части этого штабеля, и средства крепления сменных модулей друг к другу в штабеле. Это обеспечивает упрощение пользования конструкцией и снижение габаритных размеров. 2 н. и 35 з.п. ф-лы, 30 ил. 
Настоящее изобретение касается конструкций, имеющих в своем составе уложенные в штабель сменные модули, содержащие элементы типа конусов пипеток.
Известен лоток для хранения и транспортирования сыпучих материалов (см., например, авторское свидетельство СССР 406782, 1974 г.), содержащий днище, продольные и торцовые наклонные стенки с ребрами жесткости и угловые опоры, две из которых расположены на одной из торцевых стенок, а две другие – на продольных стенках, при этом для повышения устойчивости штабеля каждая угловая опора выполнена в виде пары соприкасающихся полых усеченных пирамид, перевернутых одна относительно другой на 180°.
Известна конструкция подобного типа, содержащая множество уложенных в штабель платформ, на каждой из которых размещены конусы пипеток, причем эти платформы заключены в оболочку из прозрачного материала, имеющую форму башни и закрытую на верхнем конце. Эта башня может иметь загрузочное устройство на нижнем конце, что временно обеспечивает фиксацию платформ штабеля друг относительно друга. Поскольку платформы в штабеле размещены друг на друге, необходимо перевернуть башню, чтобы загрузочное устройство находилось на ее верхнем конце, чтобы исключить разъединение платформ и конусов. Только после этого башня может быть установлена так, как надо.
В свою очередь, загрузочное устройство монтируется на подставке или стойке. Поскольку штабель и загрузочное устройство оказываются размещенными на подставке, конструкция выполнена так, что давление в направлении вниз на штабель вызывает его опускание и перегрузку одной платформы на подставку.
После этого снимают подставку загрузочного устройства и штабель, чтобы получить доступ к конусам пипеток на платформе, установленной на подставке.
Преимуществами этого типа башенной конструкции является то, что обращение с ней оказывается относительно простым, она позволяет обеспечить экономию места для упорядоченного размещения платформ и, соответственно, конусов пипеток, а также то, что эта конструкция позволяет исключить непосредственный контакт пользователя с платформами и конусами и исключить опасность их загрязнения.
Указанная конструкция достаточно громоздкая и манипуляции с ней являются относительно сложными.
Задачей настоящего изобретения является разработка конструкции со сменными модулями, манипуляции с которой были бы более простыми и которая обладала бы уменьшенными габаритными размерами.
Поставленная задача решается в соответствии с изобретением тем, что предложена конструкция для конусов пипеток, содержащая, по меньшей мере, два сменных модуля для формирования штабеля, конуса пипеток и средства загрузки, предназначенные для приема штабеля и отделения одного из сменных модулей от остальной части штабеля, при этом, по меньшей мере, один из сменных модулей содержит средства крепления сменных модулей друг к другу в штабеле.
Поскольку сменные модули оказываются непосредственно скрепленными друг с другом, можно отказаться от использования жесткой оболочки, содержащей штабель сменных модулей.
При отсутствии оболочки высота штабеля уменьшается по мере расходования составляющих его сменных модулей. Следствием является существенная экономия места. При этом манипуляции с данной конструкцией достаточно просты.
Средства крепления содержат элементы крепления, которые могут быть вставлены друг в друга по типу соединения охватываемого и охватывающего элементов. Эти средства крепления имеют сравнительно небольшие габаритные размеры.
Средства загрузки способны механически воздействовать на части крепления для их разъединения.
Средства крепления содержат на каждом сменном модуле отверстие и выступ, способный входить в зацепление с аналогичным отверстием, расположенным на другом сменном модуле.
Средства загрузки содержат орган, способный механически воздействовать на выступ с той стороны отверстия, которая противоположна этому выступу.
Средства загрузки удерживают штабель перед разблокировкой средств крепления.
Таким образом, штабель удерживается средствами загрузки перед тем, как пользователь освободит один сменный модуль из штабеля.
Средства загрузки могут нести на себе оставшуюся часть штабеля после разблокировки средств крепления.
Таким образом, оставшаяся часть штабеля удерживается отдельно от освобожденного сменного модуля.
Средства загрузки могут нести на себе штабель или оставшуюся часть штабеля посредством одного единственного сменного модуля.
Предлагаемая конструкция содержит средства крепления штабеля к средствам загрузки, в частности, перед разблокированием средств крепления сменных модулей. Таким образом, можно легко перемещать данную конструкцию без опасения ее расчленения.
Средства крепления штабеля могут обеспечить крепление к средствам загрузки только одного сменного модуля из штабеля.
Предлагаемая конструкция содержит средства крепления оставшейся части штабеля к средствам загрузки, в частности, после разблокирования средств крепления сменных модулей.
Таким образом, в данном случае легко получить доступ к освобожденному сменному модулю без разъединения оставшейся части штабеля.
Средства крепления оставшейся части штабеля могут обеспечить крепление к средствам загрузки только одного сменного модуля из оставшейся части штабеля.
Предлагаемая конструкция содержит средства центрирования штабеля на средствах загрузки, что позволяет облегчить и упростить процесс их соединения.
Средства загрузки содержат, по меньшей мере, один рельефный участок, подвижный в диапазоне между положением блокировки, в котором он блокирует относительное перемещение одного из сменных модулей, и положением прохождения, в котором он допускает его перемещение.
Предлагаемая конструкция содержит средства возврата упомянутого рельефного участка в положение блокировки.
Рельефный участок может быть перемещен из положения блокировки в положение прохождения под влиянием воздействия на этот рельефный участок со стороны сменного модуля.
Таким образом, сменный модуль освобождается под влиянием механического воздействия на предлагаемую конструкцию со стороны пользователя, что уменьшает опасность несвоевременного освобождения сменного модуля.
Средства загрузки могут разблокировать средства крепления сменных модулей в том случае, когда данный сменный модуль расположен в положении использования его элементов.
Таким образом, разблокирование средств крепления для отделения одного сменного модуля осуществляется автоматически. При этом крепление сменных модулей непосредственно друг к другу не мешает тому, чтобы обеспечить простоту манипуляций с предлагаемой конструкцией.
Средства загрузки могут разблокировать средства крепления сменных модулей под действием перемещения штабеля по отношению к средствам загрузки.
Средства загрузки содержат приемную емкость, способную принимать один из сменных модулей в положение использования его элементов после его отделения от штабеля.
Предлагаемая конструкция содержит средства центрирования одного из сменных модулей на приемной емкости. Тем самым удается облегчить перемещение сменного модуля в приемную емкость.
Средства загрузки содержат загрузочное устройство, способное принимать штабель, и приемную емкость, способную принимать из этого загрузочного устройства один из сменных модулей в положение использования его элементов.
Предлагаемая конструкция содержит средства центрирования загрузочного устройства на приемной емкости.
Приемная емкость способна принимать сменный модуль из загрузочного устройства при перемещении штабеля по отношению к загрузочному устройству, смонтированному на этой приемной емкости.
В предлагаемой конструкции штабель обладает более высокой устойчивостью при перемещении в том случае, когда загрузочное устройство демонтировано с приемной емкости, чем в том случае, когда это устройство установлено на этой приемной емкости.
Таким образом, снижается опасность несвоевременного освобождения одного из сменных модулей штабеля в том случае, когда загрузочное устройство не установлено на приемную емкость.
Приемная емкость может разблокировать средства крепления.
Поскольку упомянутый рельефный участок принадлежит загрузочному устройству, приемная емкость может устанавливать этот рельефный участок в промежуточное положение между положением блокировки и положением прохождения или в положение прохождения в том случае, когда загрузочное устройство установлено на приемную емкость.
Таким образом, размещение загрузочного устройства на приемной емкости делает более простым освобождение данного сменного модуля. Тем самым снижается опасность его освобождения за пределами приемной емкости без нежелательного влияния на освобождение сменного модуля на приемной емкости.
Предлагаемая конструкция выполнена таким образом, что в том случае, когда загрузочное устройство не установлено на приемную емкость, один из сменных модулей взаимодействует при помощи эффекта наклонной плоскости с устройством загрузки, чтобы удержать рельефный участок в положении блокировки в том случае, когда штабель подвергается механическому перемещению.
Рельефный участок жестко связан с лапкой, проходящей через отверстие в стенке средств загрузки, в частности загрузочного устройства.
Рельефный участок присоединен к гибкой стенке средств загрузки, в частности загрузочного устройства.
Каждый сменный модуль содержит одну платформу и, по меньшей мере, один элемент жесткости, параллельный этой платформе, выступая над боковой поверхностью сменного модуля.
Этот элемент жесткости может взаимодействовать с упомянутым рельефным участком для обеспечения крепления и/или освобождения сменного модуля.
Каждый сменный модуль содержит платформу и соединительные стойки, способные удерживать эту платформу на плоском основании и на некотором расстоянии от него.
Таким образом, сменный модуль, отделенный от штабеля, может быть непосредственно использован в качестве подставки, не будучи при этом связанным со специально предусмотренной подставкой, например, в приемной емкости, как это имеет место в известных аналогичных устройствах. Благодаря этому решается проблема, которая состояла в том, чтобы обеспечить удовлетворительное центрирование между подлежащим освобождению сменным модулем и подставкой для реализации точного совпадения соответствующих отверстий этих элементов, расположенных в виде матрицы, при отсутствии которого освобождение может не состояться или даже могут рассыпаться конусы.
Кроме того, приемная емкость, освобожденная от необходимости в исходном состоянии удерживать подставку, может служить последовательно для приема сменных модулей, несущих на себе элементы различных размеров.
И, наконец, упомянутые подставки могут быть предусмотрены такими, чтобы из них можно было сформировать штабель, по меньшей мере, частично закрытый и изолирующий от внешнего пространства элементы, располагающиеся на, по меньшей мере, некоторых из этих подставок. Таким образом, упомянутые элементы оказываются защищенными от воздействия окружающей среды.
Один из элементов, который представляет собой отверстие и выступ, размещен смежно с краем платформы.
Предлагаемая конструкция выполнена таким образом, что сменный модуль в положении использования в приемной емкости имеет жесткую фиксацию в приемной емкости.
Каждый сменный модуль содержит, по меньшей мере, один выступ, взаимодействующий с рельефным участком приемной емкости для жесткой фиксации.
Предлагаемая конструкция содержит основание, способное непосредственно удерживать штабель в том случае, когда загрузочное устройство принимает штабель, но оно не установлено на приемную емкость.
Приемная емкость содержит крышку и подкладку, проходящую напротив элементов, расположенных на подставке, установленной в приемной емкости, для предотвращения выхода этих элементов из подставки в том случае, когда крышка закрыта, причем подкладка и крышка содержат средства съемного крепления подкладки к крышке.
В соответствии с предлагаемым изобретением предусматривается также конструкция для конусов пипеток, содержащая, по меньшей мере, один сменный модуль, несущий конуса пипеток и образующий штабель с другим идентичным сменным модулем, средства загрузки, предназначенные для приема штабеля и отделения сменного модуля от остальной части этого штабеля, и средства крепления данного сменного модуля к другому идентичному сменному модулю в штабеле, причем сменный модуль содержит средства крепления.
Другие характеристики и преимущества предлагаемого изобретения будут лучше поняты из приведенного ниже описания двух предпочтительных вариантов его реализации, со ссылками на сопровождающие чертежи, на которых:
фиг.1 изображает общий вид первого предпочтительного варианта выполнения конструкции перед загрузкой подставки в кожух (частичный вырез) согласно изобретению;
фиг.2 и 3 – общие виды двух деталей конструкции (частичный вырыв) согласно изобретению;
фиг.4 и 5 – продольный и поперечный разрезы устройства загрузки согласно изобретению;
фиг.6 – слева – продольной разрез и справа – вид спереди конструкции согласно изобретению;
фиг.7 – деформированные элементы конструкции (продольный разрез, вырыв) согласно изобретению;
фиг.8 и 9 – виды, аналогичные показанным на фиг.6 и 7, но после загрузки подставки в кожух согласно изобретению;
фиг.10 – слева – вид сбоку и справа – поперечный разрез конструкции согласно изобретению;
фиг.11 – то же, что на фиг.10, но после загрузки подставки согласно изобретению;
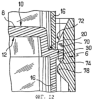
фиг.12 – элементы соединения конструкции на фиг.10 и 11 согласно изобретению;
фиг.13 и 14 – общие виды кожуха соответственно с подставкой и без подставки согласно изобретению;
фиг.15 – слева – вид спереди и справа – поперечный разрез кожуха согласно изобретению;
фиг.16 – слева – поперечный разрез и справа – вид сбоку кожуха согласно изобретению;
фиг.17 – общий вид снизу подставки в соответствии со вторым способом реализации изобретения;
фиг.18 – общий вид сверху кожуха в соответствии со вторым способом реализации, взаимодействующего с подставкой;
фиг.19-21 – общие виды с вырывом и в продольном разрезе кожуха, подставки и кожуха, принимающего подставку согласно изобретению;
фиг.22-24 – общий вид кожуха с частичными вырывами, вид спереди и общий вид кожуха, показанного на фиг.18, второй способ реализации в закрытом положении принимающего подставку с подкладкой;
фиг.25 – общий вид конструкции, показанный на фиг.24, с открытым кожухом;
фиг.26 – общий вид только одной крышки кожуха, показанного на фиг.22, согласно изобретению;
фиг.27 – общий вид подкладки, показанный на фиг.22, согласно изобретению;
фиг.28 – общий вид основания в соответствии со вторым вариантом реализации изобретения;
фиг.29 – общий вид конструкции в соответствии со вторым вариантом реализации, установленной на основании, показанном на фиг.28;
фиг.30 – общий вид, аналогичный показанному на фиг.29, с частичным вырезом согласно изобретению.
В соответствии с первым вариантом реализации изобретения конструкция (фиг.1) предназначена для размещения в ней конусов 3 или наконечников пипеток. Эта конструкция содержит несколько сменных модулей 2, аналогичных друг другу и выполненных в виде подставок или держателей.
Конструкция содержит также приемную емкость, выполненную в виде кожуха 4, и загрузочное устройство 6. Кожух и загрузочное устройство образуют средства загрузки.
Прежде всего будут описаны подставки 2. Каждая подставка содержит в основном плоскую платформу 8 прямоугольной формы. В платформе 8 выполнены отверстия 14, располагающиеся упорядоченно в виде матрицы, имеющей строки и столбцы и предназначенные для приема конусов 3 пипеток и их удержания.
Платформа 8 имеет соответственно слегка выпуклую верхнюю поверхность 10 и слегка вогнутую нижнюю поверхность 12. Таким образом, обеспечивается облегчение захвата конусов 3 пипеток при помощи многоканальной пипетки, способствующее последовательному вхождению конусов одного ряда в соответствующие каналы пипетки в результате вращательного движения руки пользователя.
Подставка 2 содержит две продольные стенки 16 и две боковые стенки 18, проходящие перпендикулярно по отношению к основной плоскости платформы 8 и с одной стороны от нее, начиная с кромок, придавая этой подставке в целом форму прямоугольного параллелепипеда.
На стыке каждой продольной и боковой стенки с платформой подставка имеет профилированный выступ 20, способный принимать свободные нижние кромки продольных и боковых стенок другой подставки 2 в том случае, когда две такие подставки 2 непосредственно устанавливаются друг на друга в одинаковых положениях, причем платформы 8 двух подставок параллельны между собой.
Таким образом, платформа 8 нижней подставки в штабеле слегка входит в пространство между стенками 16, 18 той подставки, которая располагается сверху. Вследствие этого обеспечивается центрирование и регулировка положения одной подставки по отношению к другой.
Кроме того, продольные стенки 16 и боковые стенки 18 двух подставок 2 в этом случае проходят, продолжая друг друга, и реализуется определенная изоляция конусов 3 от окружающей среды.
Подставки 2 могут быть уложены друг на друга так, чтобы образовать штабель в форме башни, который будет, например, перед началом расходования конусов пипеток, содержать от десяти до двенадцати подставок.
Для большей ясности на фиг.1 показано, что штабель содержит только четыре подставки 2. Стенки каждой подставки 2 образуют несущие стойки, предназначенные для удержания подставки на плоском основании, на некотором расстоянии от которого проходит платформа 8 подставки.
Подставки 2 содержат средства крепления подставок в штабеле непосредственно друг к другу, образованные крепежными частями, способными реализовать соединение, путем вставления охватываемой части в охватывающую часть, для фиксации подставок.
Каждая подставка содержит два прямоугольных отверстия 22 (фиг.2, 3 и 13), выполненных в платформе 8 в середине ее боковых кромок и примыкающих к уступу 20. Кроме того, каждая боковая стенка 18 имеет в своей средней части на нижней свободной кромке выступ 24, ориентированный в направлении внутрь подставки и способный входить в зацепление с отверстием 22 нижней подставки штабеля.
Этот выступ имеет плоскую нижнюю направляющую поверхность 26, наклоненную к стенке 18, на которой расположен выступ, и к платформе 8, и ориентированную в направлении нижней подставки штабеля. Отверстие 22 имеет верхнюю кромку, предназначенную для вхождения в контакт с этой направляющей поверхностью 26 и содержащую верхнюю направляющую грань 24, наклоненную по отношению к платформе 8 и по отношению к смежной боковой поверхности 18 так, что она параллельна направляющей поверхности 26 выступа 24.
В том случае, когда устанавливают друг на друга две подставки 2, направляющая поверхность 26 каждого выступа 24 входит в поверхностный контакт с гранью 28 соответствующего отверстия 22, что обеспечивает механическое воздействие в направлении наружу на каждую боковую стенку 18, содержащую выступ 24, чтобы этот выступ 24 смог преодолеть кромку отверстия 22. Вследствие упругости материала, из которого изготовлена стенка 18, выступ 24 возвращается затем в направлении отверстия 22 и располагается в нем.
Кромка отверстия 22, примыкающая к нижней поверхности 12 платформы, имеет охватываемое острое ребро. Выступ 24 содержит на своем верхнем конце охватывающий профилированный верхний уступ, способный принимать это ребро. Ребро и уступ выполнены таким образом, что в том случае, когда выступ 24 входит в зацепление с отверстием 22, подставки могут быть отделены друг от друга только в результате механического воздействия на выступ 24 в направлении наружу.
Каждая подставка 2 содержит прямолинейный элемент жесткости 30, параллельный платформе 8 и выступающий на наружной поверхности каждой продольной стенки 16 смежно с уступом 20, и прямолинейный элемент жесткости 32, параллельный платформе и выступающим на наружной поверхности каждой боковой стенки 18, смежно с нижней свободной кромкой этой стенки.
Элементы жесткости 30, 32 взаимодействуют с устройством загрузки и с кожухом, как указано ниже. Каждая подставка 2 представляет собой цельную деталь, изготовленную из пластического материала.
Кожух 4 (фиг.1) содержит плоскую нижнюю стенку 36, две продольные стенки 38 и две боковые стенки 40, проходящие перпендикулярно от нижней стенки так, чтобы придать кожуху в целом форму прямоугольного параллелепипеда. На верхних свободных краях продольные стенки 38 содержат закругленные вырезы 42, облегчающие взятие руками подставки 2, установленной в кожух, для извлечения из кожуха.
Кожух 4 содержит крышку 44, имеющую форму параллелепипеда и связанную при помощи шарниров с задней продольной стенкой 38. В закрытом положении крышки кожух обеспечивает изоляцию содержащейся в нем подставки от воздействия окружающей среды.
Кожух 4 содержит стойки 46, 47, проходящие параллельно друг другу и параллельно стенкам 38, 40 и выступающие от дна 36 кожуха до уровня, близкого к уровню верхних свободных краев стенок. Шесть стоек 46 расположены рядом с центром кожуха (в последующем изложении они будут называться центральными) и шесть других стоек 47 (которые в последующем изложении будут называться периферийными) проходят рядом с боковыми стенками 40, причем две из них проходят в непосредственной близости от вертикальных кромок каждой стенки и одна средняя стойка проходит в непосредственной близости от центра стенки 40.
Центральные стойки 46 выполняют, в частности, функцию удержания платформы 8 подставки при помощи ее нижней поверхности 12, опирающейся на эти стойки в том случае, когда подставка располагается в кожухе. Периферийные стойки 47 входят в контакт с внутренними сторонами боковых стенок 18 и продольных стенок 16 подставки, чтобы обеспечить ее центрирование по отношению к кожуху. Две средние периферийные стойки слегка входят в соответствующие отверстия 22 для завершения центрирования.
Это загрузочное устройство 6 (фиг.4 и 5) содержит две продольные стенки 50 и две боковые стенки 52, попарно параллельные друг другу, придающие ему форму прямоугольного параллелепипеда и определяющие два отверстия.
На нижней свободной кромке продольные стенки 50 содержат вырез 54. Устройство имеет главную среднюю плоскость, перпендикулярную стенкам 50, 52 и его высоте и разделяющую устройство 6 на две части – верхнюю и нижнюю таким образом, что длина и ширина его верхней части имеют величину, меньшую, чем соответственно длина и ширина его нижней части. Это различие размеров обеспечивается при помощи S-образной формы профиля каждой из упомянутых стенок 50, 52.
На наружных сторонах стенок переход между двумя частями, верхней и нижней, подчеркивается наклонной гранью 56, тогда как на их внутренних сторонах этот переход обеспечивается при помощи уступа, образующего плоскую грань 58, перпендикулярную стенкам и ориентированную в направлении вниз.
Длина и ширина внутреннего объема нижней части загрузочного устройства являются достаточно большими, чтобы обеспечить возможность ее надевания на кожух 4, в отличие от размеров его верхней части. В том случае, когда загрузочное устройство 6 установлено на открытый кожух 4, внутренние поверхности стенок 50, 52 его нижней части располагаются против наружных поверхностей стенок 38, 40 кожуха. При этом загрузочное устройство опирается на верхнюю свободную кромку стенок кожуха гранью 58 или, альтернативно, на выступающие из него стойки.
Внутренние поверхности нижней части содержат элементы жесткости 60, параллельные высоте загрузочного устройства и предназначенные для обеспечения упора в наружные поверхности стенок 38, 40 кожуха с тем, чтобы содействовать центрированию устройства загрузки на кожухе. Элементы жесткости 60 содержат фаски на нижнем конце, чтобы облегчить надевание устройства 6 на кожух.
Каждая продольная стенка 50 устройства загрузки содержит выступы 70 (в описываемом варианте имеется два выступа), отходящие от внутренней поверхности стенки.
Каждый выступ 70 имеет вершину, обращенную вниз, и предназначен для перемещения подставки 2 в направлении вниз по отношению к загрузочному устройству 6, препятствуя затем ее перемещению в направлении вверх. Каждый выступ 70 содержит плоскую верхнюю поверхность 72, наклоненную в направлении вверх и начинающуюся на верхней кромке внутренней поверхности, удаляясь от нее в направлении вниз и внутрь устройства загрузки. Этот выступ продолжается в направлении вниз нижней плоской поверхностью 74, перпендикулярной внутренней продольной поверхности. Каждый выступ 70 примыкает к верхней кромке стенки 50 и проходит на половине расстояния между продольной серединой этой кромки и одним из ее концов.
В том случае, когда вводят штабель подставок 2 в верхнее отверстие загрузочного устройства 6, продольные элементы 30 жесткости подставки, располагающейся на нижнем конце штабеля, входят в контакт с верхними наклонными поверхностями 72 выступов 70. Четыре выступа 70 способны удерживать штабель в этом положении, которое в последующем изложении будет называться “предельно высоким положением” или “верхним нефиксированным положением”, причем подставка или штабель на этой стадии могут быть извлечены из устройства 6 через верхнюю часть.
Каждая из боковых стенок 52 в верхней части устройства 6 содержит два вертикальных элемента 76 жесткости, выступающих на внутренней поверхности этой стенки. Элементы 76 жесткости содействуют заклиниванию и центрированию нижней подставки штабеля в устройстве 6, входя в контакт с боковыми элементами жесткости 32 этой подставки. Элементы 76 жесткости имеют верхний конец, скошенный таким образом, чтобы облегчить вставление подставки 2 или штабеля в загрузочное устройство 6.
Каждая из продольных стенок 50 в верхней части устройства 6 содержит прямолинейный элемент 78 жесткости треугольного профиля, горизонтально выступающий от внутренней поверхности ниже, чем выступы 70, против пространства, расположенного между ними, но не против них непосредственно. Этот элемент 78 жесткости содержит верхнюю и нижнюю поверхности, наклоненные соответственно в направлении вверх и вниз.
Каждая из боковых стенок 52 в нижней части устройства 6 содержит два отверстия или выреза 80 прямоугольной формы, в которых проходят лапки 82, соответственно, имеющие аналогичную форму. Каждая лапка 82 связана с соответствующей стенкой 52 только одним верхним краем, что делает эту лапку 82 подвижной с точки зрения упругого изгиба через отверстие 80 как во внутреннюю сторону, так и в наружную сторону от устройства 6. В положении, соответствующем отсутствию внешних воздействий, каждая лапка 82 проходит в толще стенки. Наружная поверхность этой лапки имеет S-образую форму, идентичную форме стенки.
Каждая лапка 82 содержит выступ 84, ориентированный в направлении внутрь устройства загрузки и выступающий от внутренней поверхности боковой стенки 52 в положении отсутствия внешних воздействий на эту лапку. Выступ 84 содержит два верхних элемента 86 жесткости, расположенных на одной и той же высоте друг против друга и на некотором расстоянии друг от друга, причем каждый из элементов жесткости имеет верхнюю скошенную кромку.
Два элемента жесткости могут быть заменены на скошенную грань и вертикальную поверхность, что сводится к заполнению материалом свободного пространства между двумя элементами жесткости. Выступ 84 содержит также вершину 88, профилированную в горизонтальном направлении и проходящую в направлении внутрь, выступая от элементов 86 жесткости и будучи слегка ориентированной в направлении вверх при отсутствии механического воздействия на лапку.
Начиная от предельного верхнего положения небольшое механическое воздействие на штабель подставок в направлении вниз вызывает опускание подставок 2 вплоть до так называемого верхнего или фиксированного верхнего положения. В процессе опускания продольные элементы 30 жесткости нижней подставки в штабеле воздействуют на продольные выступы 70 устройства 6 в направлении наружу и заставляет продольные стенки 50 с выступами упруго деформироваться в направлении наружу для пропускания элементов 30 жесткости.
После прохождения продольные элементы 30 жесткости подставки входят в упорный контакт с двумя продольными элементами 78 жесткости устройства 6 и в результате взаимодействия с ними осуществляют центрирование, а боковые элементы 32 жесткости подставки входят в контакт с вершинами 88 выступов 84.
Продольные элементы 78 жесткости подставки и вершины 88 выступов при отсутствии механического воздействия со стороны пользователя блокируют опускание штабеля. Кроме того, продольные выступы 70 блокируют продольные элементы 30 жесткости подставки от поднятия подставки по отношению к загрузочному устройству 6. Таким образом, штабель подставок 2 оказывается зафиксированным в устройстве 6 посредством одной единственной подставки, располагающейся на нижнем конце штабеля. Вследствие этого данной конструкцией можно свободно манипулировать в любом направлении без опасения разъединения подставок.
Конструкция в соответствии с изобретением содержит крышку 90 подставки, идентичную подставкам 2 за исключением того, что ее платформа 8 не содержит отверстий 14 для размещения конусов и отверстий 22 крепления. Закрепленная выступами 24 на верхней подставке штабеля, эта крышка 90 позволяет защитить конусы подставки и сделать их неподвижными в отверстиях 14.
В том случае, когда конструкция содержит крышку 90, она может быть перевернута в любом направлении без опасения потерять какой-либо конус. Это положение показано на фиг.1, 2, 3, 6, 7, 10 и 12. В верхнем фиксированном положении конструкция с загрузочным устройством может быть снята с кожуха 4 или заменена на нем.
Ниже описан вариант, когда упомянутая конструкция с загрузочным устройством установлена в верхнем положении на кожухе без подставки (фиг.1). Лапки 82 устройства 6 имеют на нижних концах скошенные грани 91, ориентированные в направлении вниз и определяемые либо поверхностью лапки, либо элементами жесткости этой лапки, выступающими от внутренней поверхности боковой стенки 52 в положении отсутствия механического воздействия на лапку. Скошенные грани 91 показаны на фиг.4, 5, 7 и 9.
В том случае, когда загрузочное устройство вставляется в кожух 4, скошенные грани 91 входят в контакт с верхними свободными кромками боковых стенок 38, 40 кожуха и служат наклонной плоскостью для отведения каждой лапки 82 в направлении наружу. Посредством этого вершины 88 выступа 84 отводятся от подставки, которая всегда поддерживается внутренними продольными элементами 78 жесткости устройства 6, а удерживание нижней подставки выступами 84 прекращается. Кроме того, положение выступа обеспечивает возможность опускания штабеля при механическом воздействии существенно меньше, чем при отсутствии кожуха.
С этой точки зрения следует уточнить, что на фиг.2 показаны детали, соединенные друг с другом, но не деформированные, тогда как лапка в этом положении обычно деформирована, чтобы выступ 88 оставлял свободной траекторию движения подставки 2. Кроме того, в этом положении центральные стойки 46 и периферийные стойки 47 кожуха уже слегка проходят между стенками нижней подставки. В частности, средние периферийные стойки 47 входят в упор своим верхним концом в нижнюю наклонную поверхность 26 боковых выступов 24 подставки, чтобы инициировать их взаимное разведение, то есть их перемещение в направлении наружу (фиг.2). Элементы 60 жесткости обеспечивают центрирование загрузочного устройства 6 (и, соответственно, башни подставок) по отношению к кожуху 4.
В том случае, когда пользователь оказывает механическое воздействие на штабель подставок в направлении вниз, например, на верхнюю часть этого штабеля, продольные элементы 30 жесткости нижней подставки заставляют продольные элементы 78 жесткости устройства 6 отдаляться от стенок 50, с которыми они связаны, что обеспечивает возможность перемещения подставки 2 вниз вплоть до ее приема в кожухе.
В процессе этого перемещения средние периферийные стойки 47 перемещаются дальше, чем выступы 24 нижней подставки, в направлении наружу по наклонной плоскости конца стойки на поверхность 26 выступа. Точно перед приемом нижней подставки на упор в центральные стойки 46 кожуха верхние концы средних периферийных стоек 47 входят в упор при помощи внутренней части нижней подставки, через каждое отверстие 22, с соответствующим выступом 24 подставки, располагающейся непосредственно выше в штабеле.
Стойка 47 воздействует на этот выступ своей нижней поверхностью 26, что приводит к его перемещению в направлении наружу по наклонной поверхности. Это перемещение достаточно для того, чтобы освободить выступ 24 непосредственно верхней подставки от отверстия 22 подставки в момент ее приема в кожухе. Таким образом осуществляется разблокирование средств крепления подставок.
При опускании штабеля верхняя подставка устанавливается в верхнее фиксированное положение. Как только это опускание завершено, центральные стойки 46 блокируют всякое новое опускание штабеля. При этом можно снять с кожуха 4 конструкцию, содержащую оставшуюся часть штабеля, и устройство 6, закрепленное на нем. Эта операция обеспечивает доступ к подставке 2, принятой в кожухе, и, в частности, к ее конусам 3, которые в этом случае доступны для использования.
После расходования этих конусов достаточно снять подставку 2 с кожуха, снова установить упомянутую конструкцию на кожух и загрузить новую полную подставку в этот кожух путем выполнения тех же самых операций, оказывая механическое воздействие на штабель в направлении вниз. Эти операции могут повторяться до тех пор, пока последняя подставка из штабеля, оказавшись в кожухе, оставит в загрузочном устройстве 6 одну только крышку 90.
Каждая подставка 2 (фиг.2) может иметь на нижней кромке, предназначенной для расположения против выступа 88, нижнюю наклонную поверхность 91, наклоненную и ориентированную в направлении внутрь данной подставки и способную входить в поверхностный контакт с верхней наклонной поверхностью 93 соответствующего выступа 88, наклоненной и ориентированной в направлении боковой стенки 52 загрузочного устройства, на которой размещается лапка 82.
В том случае, когда устройство 6 удерживает штабель подставок и не установлено на кожух, но лежит на рабочей плоскости, две наклонные поверхности 91 и 93 входят во взаимный контакт друг с другом.
В том случае, когда под действием сил тяжести или в результате несвоевременного механического воздействия со стороны пользователя штабель подставок стремится опуститься, взаимодействие двух наклонных поверхностей 91 и 93 стремится сместить выступ 88 в направлении внутрь подставки, то есть в направлении, противоположном тому направлению перемещения, которое обеспечивает возможность освобождения подставки, когда загрузочное устройство установлено на кожух.
Таким образом, предлагается предохранительное устройство, блокирующее штабель подставок от его опускания в загрузочное устройство в случае, когда это устройство не установлено на кожух.
Кожух предлагаемой конструкции, размеры которого не связаны с размерами конусов 3, может быть использован совместно со штабелями подставок 2, содержащих конусы различных диаметров.
По мере расходования упомянутых подставок высота конструкции уменьшается, что обеспечивает выигрыш занимаемого ею места.
Ниже со ссылками на фиг.17-30 описан второй вариант реализации предлагаемого изобретения. В этом случае конструкция весьма близка к конструкции, соответствующей первому варианту реализации. Однако она содержит некоторое количество элементов, которые могут быть использованы независимо один от другого.
В конструкции в соответствии с первым вариантом реализации изобретения было указано, что подставка 2 в положении использования в кожухе 4 жестко зафиксирована в этом кожухе при помощи сил трения, в частности, в результате контакта средних стоек 47 с боковыми выступами 24. Таким образом, подставка оказывается зажатой в кожухе.
Желательно, чтобы такая конструкция в этой конфигурации могла быть подвергнута термической обработке в автоклаве. Обычно термическая обработка в автоклаве включает этап выдерживания при температуре 121°С в течение 20 минут. Под действием высокой температуры пластический материал подставки размягчается, вследствие этого подставка деформируется, и ее обжатие сводится к нулю.
После термической обработки в автоклаве конструкция охлаждается, но ее детали сохраняют полученную тепловую деформацию, в результате чего упомянутого обжатия больше не существует. Вследствие этого подставка уже не фиксируется в кожухе, возникают проблемы в том случае, когда пользователи вынимают конусы из подставки или переворачивают кожух.
Желательно устранить этот недостаток. Во втором варианте каждая подставка 2 содержит над каждым выступом 24 другой выступ 101, как и выступ 24, выступающий в направлении внутрь. Средние стойки 47, служащие для разблокирования, содержат на периферийных плоскостях полости 100, в которых размещаются соответствующие выступы 101 после того, как подставка 2 устанавливается в кожух 4 в положение использования.
Выступ 101 размещается в этой полости вследствие упругости стенки 18, которая подвергается упругой деформации точно перед приемом подставки в кожухе. Полость 100 формирует ребро, с которым выступ 101 входит в зацепление, чтобы предотвратить отделение подставки 2 от кожуха за исключением случая, когда со стороны пользователя оказывается особенно мощное механическое воздействие в этом направлении. Таким образом обеспечивается их жесткая взаимная фиксация.
В этом положении выступ 101 в случае необходимости может входить в полость без создания механического напряжения в средней стойке.
Благодаря такой фиксации, конструкция может подвергаться последовательным операциям термической обработки в автоклаве без ущерба креплению подставки к кожуху. Кроме того, когда выступ 101 входит без механического воздействия на подставку 2, термическая обработка в автоклаве не вызывает никаких деформаций. Конструкция может подвергаться повторяющимся термическим обработкам в автоклаве.
Другой вариант состоит в наличии, по меньшей мере, одного плоского элемента 102 жесткости, параллельного стойкам кожуха и связывающего некоторые из них для подкрепления. В данном случае элемент 102 жесткости проходит в средней продольной плоскости кожуха и связывает друг с другом средние периферийные стойки 47.
В том случае, когда устройство 6 удерживает штабель подставок 2, находясь при этом вне кожуха 4, этот штабель подставок лежит на выступах 88, а значит и на гибких лапках 82. Однако может случиться так, что под действием удара штабель подставок создает на этих лапках такое механическое напряжение, которое приводит к разрушению, по меньшей мере, одной из них.
Желательно устранить этот недостаток. Для этого конструкция содержит основание 106 (фиг.28-30). Основание 106 выполнено в виде единой детали и содержит центральный корпус 108, имеющий форму и размеры, близкие к формам и размерам подставки 2, с той лишь разницей, что он не содержит платформы между верхними краями стенок, но зато содержит днище 110 между их нижними краями.
Верхняя прямоугольная кромка 112 центрального корпуса способна непосредственно удерживать нижнюю кромку самой нижней подставки 2 в штабеле. Для этой цели в ней выполнены вырезы, предназначенные для того, чтобы сформировать элемент, принимающий выступы 24 подставки.
Кроме того, основание 106 содержит прямоугольный периферийный воротник 112, охватывающий центральный корпус 108 на некотором расстоянии от него и обладающий несколько меньшей, чем у него, высотой. Центральный корпус 108 поднимается слегка сходясь кверху, тогда как воротник 112 поднимается слегка расходясь кверху.
Основание 106 предназначено для приема и способно принимать загрузочное устройство 6, несущее штабель подставок, в случае, когда устройство 6 снято с кожуха 4 (фиг.29-30). Для этого устройство 6 устанавливают на основание 106, вводя его стенки между центральным корпусом 108 и воротником 112.
Центральный корпус, попадающий в устройство 6, входит в контакт с нижней кромкой нижней подставки 2 содержащегося в нем штабеля. С этого момента лапки 82 устройства загрузки больше не удерживают штабель подставок. Штабель подставок может выдержать значительные удары без риска повреждения устройства 6. Затем можно свободно снять устройство 6 и штабель подставок с основания 106 для перестановки их на кожух 4.
Для скрепления основания 106 с загрузочным устройством 6 в положении, показанном на фиг.29, на воротнике 112 выполнены овальные выпуклости 114, которые образуют на внутренней поверхности воротника элементы жесткости с поперечным профилем в виде полуокружности. В том случае, когда устройство 6 устанавливают на основание 106, стенки устройства 6 защемляются между этими овальными выпуклостями 114 и центральным корпусом 108. Таким образом обеспечивается фрикционная фиксация устройства 6 на основании. Некоторые из упомянутых овальных выпуклостей расположены так, чтобы проходить против лапок 82.
Указанные конструкции выполнены таким образом, чтобы они имели возможность принимать различные модели конусов пипеток, в частности конусы, высота ободков которых может быть различной, причем ободок представляет собой наиболее широкую часть конуса, располагающуюся выше платформы подставки в том случае, когда данный конус установлен в эту подставку.
В соответствии с описанным вариантом реализации для размещения конусов с высоким ободком в кожух необходимо сформировать достаточно большое пространство между выпуклой поверхностью подставки (на которую опираются эти ободки) и донной частью крышки. Однако в таком решении в том случае, когда размещают конусы с маленькими ободками в кожухе и если по тем или иным соображениям пользователь переворачивает кожух (например, в процессе его размещения в автоклаве), конусы выходят из своих гнезд. В такой ситуации при открытии кожуха пользователь получает в свое распоряжение неупорядоченную груду конусов, которые оказываются непригодными для использования.
Как можно видеть на фиг.22-27, конструкция предлагаемого изобретения содержит прокладку 120, представляющую собой плоское прямоугольное и ажурное тело, содержащее отверстия 122. Упомянутое тело имеет ту же форму и те же размеры, что и верхняя платформа 8 подставок 2.
Прокладка 120 содержит несколько боковых лапок 124, например две лапки, способные входить в отверстия 126, не являющиеся сквозными, боковых стенок крышки 44 для фиксации прокладки на крышке с возможностью съема. Отверстия 126 в данном случае проходят рядом с нижней кромкой крышки в закрытом положении. Лапки 124 имеют наклонную форму.
Кроме того, прокладка содержит опорные стойки 128 в форме пальцев, проходящие от плоской поверхности тела 121 в направлении донной части крышки 44, чтобы поддерживать минимальное расстояние между телом 121 и донной частью крышки.
В том случае, когда в кожухе размещают конусы с малой высотой ободка, прокладку 120 устанавливают в крышку 44. После закрытия крышки тело 121 оказывается расположенным против ободков и в непосредственной близости от них, препятствуя тем самым их выходу из подставки даже в том случае, когда кожух переворачивают. Если же в кожухе размещают конусы с более значительной высотой ободка, достаточно снять прокладку 120 с крышки перед ее закрытием. Можно использовать кожух с прокладкой независимо от характеристик штабеля подставок и даже независимо от наличия этого штабеля.
Можно предусмотреть, чтобы сменные модули представляли собой платформы, снабженные опорными основаниями и содержащие лапки взаимного крепления.
Каждый из таких элементов, как загрузочное устройство, кожух и его крышка, может быть реализован в виде единой сплошной детали, например, из пластичного материала.
Конструкция может быть предназначена для размещения элементов типа стеклянных рожков или конусов.
Формула изобретения
1. Конструкция для элементов, в частности для конусов пипеток, характеризующаяся тем, что она содержит, по меньшей мере, два сменных модуля (2) для формирования штабеля конусов (3) пипеток и средства (4, 6) загрузки, предназначенные для принятия штабеля и отделения одного из сменных модулей (2) от остальной части этого штабеля, при этом, по меньшей мере, один из сменных модулей (2) содержит средства (22, 24) крепления сменных модулей (2) друг к другу в штабеле.
2. Конструкция по п.1, отличающаяся тем, что средства крепления содержат части крепления, выполненные с возможностью вставляться друг в друга для соединения.
3. Конструкция по п.2, отличающаяся тем, что средства (4, 6) загрузки выполнены с возможностью воздействовать на части средств крепления для разъединения.
4. Конструкция по любому из пп.1-3, отличающаяся тем, что средства крепления содержат на каждом сменном модуле (2) отверстие (22) и выступ (24), выполненный с возможностью входить в зацепление с отверстием другого сменного модуля.
5. Конструкция по п.4, отличающаяся тем, что средства (4, 6) загрузки содержат элемент (47), воздействующий на выступ (24) с той стороны отверстия (22), которая противоположна выступу.
6. Конструкция по любому из пп.1-5, отличающаяся тем, что средства (4, 6) загрузки выполнены с возможностью удерживать на себе штабель перед разблокированием средств крепления.
7. Конструкция по любому из пп.1-6, отличающаяся тем, что средства (4, 6) загрузки выполнены с возможностью нести на себе оставшуюся часть штабеля после разблокирования средств крепления.
8. Конструкция по любому из пп.1-7, отличающаяся тем, что средства (4, 6) загрузки выполнены с возможностью нести на себе штабель или оставшуюся часть штабеля посредством одного сменного модуля (2).
9. Конструкция по любому из пп.1-8, отличающаяся тем, что она содержит средства (30, 70, 78, 32, 82) крепления штабеля к средствам (4,6) загрузки перед разблокированием средств крепления сменных модулей.
10. Конструкция по п.9, отличающаяся тем, что средства (30, 70, 78, 32, 82) крепления штабеля выполнены с возможностью фиксировать на средствах (4, 6) загрузки один сменный модуль из штабеля.
11. Конструкция по любому из пп.1-10, отличающаяся тем, что содержит средства (30, 70, 78, 32, 82) крепления оставшейся части штабеля к средствам (4, 6) загрузки после разблокирования средств крепления сменных модулей.
12. Конструкция по п.11, отличающаяся тем, что средства (30, 70, 78, 32, 82) крепления оставшейся части штабеля выполнены с возможностью фиксировать на средствах (4,6) загрузки один сменный модуль (2) из оставшейся части штабеля.
13. Конструкция по любому из пп.1-12, отличающаяся тем, что содержит средства (70, 76) центрирования штабеля на средствах (4, 6) загрузки.
14. Конструкция по любому из пп.1-13, отличающаяся тем, что средства (4, 6) загрузки содержат, по меньшей мере, один рельефный участок (70, 78, 88), подвижный между положением блокировки, в котором он блокирует относительное перемещение одного из сменных модулей (2), и положением прохождения, в котором он допускает такое перемещение.
15. Конструкция по п.14, отличающаяся тем, что содержит средства (50, 82) возврата рельефного участка (70, 78, 88) в положение блокировки.
16. Конструкция по любому из п.14 или 15, отличающаяся тем, что рельефный участок (70, 78, 88) выполнен с возможностью перемещения из положения блокировки в положение прохождения под действием на этот рельефный участок сменного модуля (2).
17. Конструкция по любому из пп.1-16, отличающаяся тем, что средства (4, 6) загрузки выполнены с возможностью разблокировать средства крепления сменных модулей в том случае, когда сменный модуль (2) расположен в положении использования элементов.
18. Конструкция по любому из пп.1-17, отличающаяся тем, что средства (4,6) загрузки выполнены с возможностью разблокировать средства крепления сменных модулей при перемещении штабеля по отношению к этим средствам загрузки.
19. Конструкция по любому из пп.1-18, отличающаяся тем, что средства (4,6) загрузки содержат приемную емкость, выполненную с возможностью принимать один из сменных модулей (2) в положение использования конусов (3) после его отделения от штабеля.
20. Конструкция по п.19, отличающаяся тем, что содержит средство (47) центрирования одного из сменных модулей (2) на приемной емкости.
21. Конструкция по любому из пп.1-20, отличающаяся тем, что средства (4, 6) загрузки содержат загрузочное устройство, выполненное с возможностью принимать штабель, и приемную емкость, выполненную с возможностью принимать из загрузочного устройства один из сменных модулей (2) в положение использования элементов.
22. Конструкция по п.21, отличающаяся тем, что содержит средство (60) центрирования загрузочного устройства на приемной емкости.
23. Конструкция по любому из пп.21 и 22, отличающаяся тем, что приемная емкость выполнена с возможностью принимать сменный модуль (2) из загрузочного устройства при перемещении штабеля по отношению к загрузочному устройству, установленному на приемную емкость.
24. Конструкция по п.23, отличающаяся тем, что штабель обладает устойчивостью к перемещению более высокой в том случае, когда загрузочное устройство демонтировано с приемной емкости, чем в том случае, когда оно смонтировано на приемной емкости.
25. Конструкция по любому из пп.21-24, отличающаяся тем, что приемная емкость способна разблокировать средства крепления.
26. Конструкция по любому из пп.14-16, 21-25, отличающаяся тем, что рельефный участок (70, 78, 88) принадлежит загрузочному устройству, при этом приемная емкость выполнена с возможностью устанавливать рельефный участок в промежуточное положение между положением блокировки и положением прохождения или в положение прохождения в том случае, когда загрузочное устройство установлено на приемную емкость.
27. Конструкция по любому из пп.14-16, 21-26, отличающаяся тем, что в случае, когда загрузочное устройство не установлено на приемную емкость, один из сменных модулей (2) взаимодействует по наклонной плоскости с этим загрузочным устройством для удержания рельефного участка (88) в положении блокировки в том случае, когда штабель подвергается воздействию для перемещения.
28. Конструкция по любому из пп.14-16, 21-27, отличающаяся тем, что рельефный участок (88) жестко связан с лапкой (82), проходящей через отверстие (80) в стенке (52) средств загрузки, в частности, загрузочного устройства.
29. Конструкция по любому из пп.14-16, 21-28, отличающаяся тем, что рельефный участок (70, 78) жестко связан с гибкой стенкой (50) средств загрузки, в частности, загрузочного устройства.
30. Конструкция по любому из пп.1-29, отличающаяся тем, что каждый сменный модуль (2) содержит платформу (8) и, по меньшей мере, один элемент (30, 32) жесткости, параллельный платформе и выступающий от боковой поверхности (16, 18) сменного модуля.
31. Конструкция по любому из пп.1-30, отличающаяся тем, что каждый сменный модуль (2) содержит платформу (8) и стойки (16, 18), выполненные с возможностью удерживать платформу на плоском основании на некотором расстоянии от него.
32. Конструкция по любому из пп.4-5, 31, отличающаяся тем, что один из элементов, которые представляют собой отверстие (22) и выступ (34), расположен смежно с краем платформы (8).
33. Конструкция по любому из пп.19-29, отличающаяся тем, что прием сменного модуля (2) в положение использования на приемной емкости осуществляется при жесткой фиксации сменного модуля (2) на приемной емкости.
34. Конструкция по п.33, отличающаяся тем, что каждый сменный модуль (2) содержит, по меньшей мере, один выступ (101), взаимодействующий с рельефным участком (100) приемной емкости для обеспечения жесткой фиксации.
35. Конструкция по любому из пп.19-29, 33, 34, отличающаяся тем, что содержит основание (106), непосредственно удерживающее штабель в случае, когда загрузочное устройство принимает этот штабель, а приемная емкость не принимает загрузочное устройство.
36. Конструкция по любому из пп.19-29, 33-35, отличающаяся тем, что приемная емкость содержит крышку (44) и прокладку (120), размещенную напротив конусов (3) модуля (2), который размещен в приемной емкости, для предотвращения выхода этих конусов из модуля в случае, когда крышка закрывает приемную емкость, причем прокладка и крышка содержат средства (124, 126) съемного крепления прокладки к крышке.
37. Конструкция для элементов, в частности для конусов пипеток, характеризующаяся тем, что содержит по меньшей мере один сменный модуль (2) для размещения элементов с образованием штабеля с идентичным сменным модулем (2), средства (4, 6) загрузки, предназначенные для приема штабеля и отделения сменного модуля (2) от оставшейся части этого штабеля, и средства крепления сменного модуля (2) к идентичному сменному модулю (2) в штабеле, при этом сменный модуль (2) содержит средства (22, 24) крепления.
РИСУНКИ
|