|
|
(21), (22) Заявка: 2004115413/15, 21.05.2004
(24) Дата начала отсчета срока действия патента:
21.05.2004
(43) Дата публикации заявки: 01.01.2000
(45) Опубликовано: 27.02.2006
(56) Список документов, цитированных в отчете о поиске:
GB 2308076 А, 18.06.1997. SU 288887 A, 02.11.1971. SU 710573 A, 25.01.1980. RU 2149680 C1, 27.05.2000. RU 2031847 C1, 27.03.1995. SU 381331 A, 20.08.1973. SU 1194470 A, 30.11.1985.
Адрес для переписки:
127106, Москва, Гостиничный пр-д, 6, корп.2, оф.5, “Компания Зета”, отдел промышленной собственности, пат.пов. В.Я.Никулину, рег.№135
|
(72) Автор(ы):
Александров Константин Александрович (RU), Барзов Александр Александрович (RU), Галиновский Андрей Леонидович (RU), Дмитров Александр Леонтьевич (RU), Корнеев Сергей Сергеевич (RU), Литвин Николай Константинович (RU), Никулин Валерий Яковлевич (RU), Пузаков Вячеслав Сергеевич (RU), Сидельников Константин Евгеньевич (RU), Сысоев Николай Николаевич (RU)
(73) Патентообладатель(и):
Барзов Александр Александрович (RU)
|
(54) СПОСОБ ОБРАБОТКИ ЖИДКОСТИ
(57) Реферат:
Изобретение относится к активации жидкостей и может быть использовано в различных отраслях промышленности, в частности в сельском хозяйстве, биологии, медицине, пищевой промышленности, при приготовлении различных растворов, эмульсий, суспензий. Способ включает сжатие жидкости с последующим ее вытеснением через, по крайней мере, одно сопло со сверхзвуковой скоростью на выходе и торможением выходящей струи жидкости о преграду. Сжатие и вытеснение жидкости осуществляют путем ее вращения в быстро вращающемся полом роторе при движении через его, по крайней мере, один идущий от центра вращения к периферии полнопрофильный канал, на выходе которого установлено сопло. Технический результат состоит в повышении степени активации жидкости при снижении энергетических затрат. 18 з.п. ф-лы, 12 ил., 2 табл. 
Изобретение относится к активации жидкостей и может быть использовано в различных отраслях промышленности, в частности в сельском хозяйстве, биологии, медицине, пищевой промышленности, при приготовлении различных растворов, эмульсий, суспензий.
Известен способ обработки жидкости, включающий сжатие жидкости с последующим ее вытеснением через сопло со сверхзвуковой скоростью на выходе и торможением выходящей струи жидкости о преграду (RU 2031847 С1, С 02 F 1/00, 1990).
Недостаток известного способа заключается в недостаточной степени активации жидкости и ее загрязнение при обработке из-за проникновения микрообъемов инородных рабочих жидкостей, использующихся при сжатии обрабатываемой жидкости в гидроцилиндрах, попадания в обрабатываемую жидкость продуктов износа уплотнений, значительными потерями затрачиваемой на процесс активации энергии в гидравлической системе, обеспечивающей сжатие жидкости, малой производительности, обусловленной наличием одного рабочего сопла.
Задачей изобретения является получение чистой незагрязненной жидкости с большей степенью активности и снижение энергетических потерь на ее получение.
Указанная задача достигается тем, что в способе обработки жидкости, включающем сжатие жидкости с последующим ее вытеснением через, по крайней мере, одно сопло с требуемой для активации скоростью на выходе и торможением выходящей струи жидкости о преграду, сжатие и вытеснение подаваемой жидкости осуществляют путем ее вращения в быстро вращающемся полом роторе при движении через его, по крайней мере, один идущий от центра вращения к периферии полнопрофильный канал, на выходе которого установлено указанное сопло.
А также тем, что движение жидкости осуществляют через указанный канал ротора, заполненный пористым наполнителем.
А также тем, что торможение выходящей струи жидкости осуществляют о неподвижную преграду.
А также тем, что торможение выходящей струи жидкости осуществляют о вращающуюся преграду.
А также тем, что движение жидкости осуществляют через указанный канал, выполненный сужающимся от центра вращения к периферии.
А также тем, что движение жидкости осуществляют через указанный канал, расположенный по спирали Архимеда.
А также тем, что преграду вращают в одинаковую вращению ротора сторону.
А также тем, что преграду вращают в противоположную вращению ротора сторону.
А также тем, что преграду вращают с одинаковой угловой скоростью с ротором.
А также тем, что в качестве преграды используют струю жидкости, направленную навстречу струе жидкости, выходящей из сопла.
А также тем, что струя обрабатываемой жидкости имеет сверхзвуковую результирующую скорость.
А также тем, что струя жидкости, использующаяся в качестве преграды, имеет сверхзвуковую скорость.
А также тем, что на ротор вдоль его оси воздействуют реактивной силой струи жидкости.
А также тем, что на ротор перпендикулярно его оси воздействуют реактивной силой струи жидкости.
А также тем, что на ротор вдоль его оси воздействуют аэродинамической подъемной силой, образующейся при вращении ротора.
А также тем, что на ротор перпендикулярно его оси воздействуют аэродинамической силой, образующейся при вращении ротора и направленной к оси его вращения.
А также тем, что при вытеснении жидкости через сопло осуществляют инжекцию воздуха или газа в поток вытесняемой жидкости.
А также тем, что ротор вращают в противоположных угловых направлениях, причем после вращения ротора в каждом направлении осуществляют определение параметров обрабатываемой жидкости.
А также тем, что в качестве одного из параметров жидкости определяют ее рН.
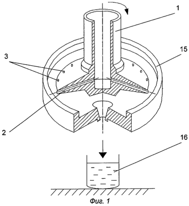
На фиг.1 изображена общая схема реализации способа и устройства для его осуществления.
На фиг.2 изображена схема осуществления способа с торможением выходящей из сопла жидкости о преграду, которая может быть неподвижной, может вращаться в ту же сторону, что и ротор, может вращаться в противоположную вращению ротора сторону. Ротор может вращаться в противоположных угловых направлениях.
На фиг.3-5 изображены схемы осуществления способа с торможением выходящей из сопла жидкости о преграду, которая вращается в ту же сторону, что и ротор, с одинаковой с ним угловой скоростью за счет того, что преграда крепится к ротору при различных формах выполнения канала и места крепления преграды.
На фиг.6 изображена схема осуществления способа с торможением выходящей из сопла жидкости о преграду, в качестве которой используют струю этой же или другой жидкости, направленную навстречу выходящей из сопла жидкости.
На фиг.7 изображена схема осуществления способа с воздействием на ротор вдоль его оси реактивной силой струи жидкости.
На фиг.8 изображена схема осуществления способа с воздействием на ротор перпендикулярно его оси реактивной силой струи жидкости.
На фиг.9-10 изображена схема осуществления способа с воздействием на ротор вдоль его оси аэродинамической подъемной силой, образующейся при вращении ротора, за счет различного выполнения ротора.
На фиг.11 изображена схема осуществления способа с воздействием на вращающийся ротор аэродинамической силой, направленной к оси вращения.
На фиг.12 изображена схема осуществления способа с инжекцией воздуха (газа) в поток вытесняемой жидкости.
Способ обработки жидкости осуществляется следующим образом.
Во вращающийся с большой угловой скоростью полый ротор 1 (фиг.3), например, с сужающимися к периферии двумя полнопрофильными каналами 2, имеющими форму спирали Архимеда и на выходе которых установлены сопла 3, подается обрабатываемая жидкость 4, которая при прохождении по каналам 2 ротора 1 приобретает вращение, сжимается под действием центробежных сил и вытесняется через сопла малого диаметра 3, установленные на выходе из каналов 2 ротора 1. Результирующая скорость истекающей из сопла 3 струи обрабатываемой жидкости (V) векторно складывается из двух составляющих: Vr – радиальной составляющей, обусловленной сжатием жидкости под действием центробежных сил и V – окружной, тангенциальной составляющей, направленной по касательной к траектории вращения струеформирующего сопла Величина результирующей скорости V превышает скорость звука в воздухе. Внутренний профиль канала 2 и диаметр сопла 3 подобраны таким образом, чтобы обеспечить неразрывность потока обрабатываемой жидкости. Выходящая из сопла 3 жидкость 4 тормозится о преграду 5. Скорость вращения ротора 1 подобрана таким образом, что выходящая из сопла 3 жидкость движется с большой, например со сверхзвуковой, скоростью, а направление вращения ротора 1 выбирается предварительно. В результате жидкость активируется. Воздействие на жидкость дополнительно вращения способствует повышению степени активирования жидкости. Влияние вращения на свойства воды было исследовано, в частности, в работе М.В.Курик и др. Влияние вращения на свойства воды, «Сознание – физическая реальность», 2000 г., №6, т.5.
Для придания потоку обрабатываемой жидкости ламинарного характера движения (без разрыва сплошности потока) полнопрофильный канал 2 ротора 1 заполняют пористым наполнителем. Это способствует капельному вытеканию жидкости 4 из сопла 3, что усиливает воздействие на жидкость и приводит к ее большей активации.
Преграда 5, о которую осуществляется торможение активируемой жидкости, может быть выполнена неподвижной, вращающейся в одну или другую с ротором 1 сторону (направление), причем с одинаковой или разной скоростью с ротором 1. При одинаковой скорости движения преграды и ротора преграда может быть установлена на самом роторе. Величина и направление угловой скорости вращения и его радиус определяются предварительно путем определения их влияния на требуемую степень активации жидкости.
В качестве преграды 5 может быть использована, например, сверхзвуковая струя жидкости 6, направленная навстречу струе жидкости 4, выходящей из сопла 3. Для этого, например, соосно с ротором 1 устанавливают аналогичный ротор 7 с каналами 8, оканчивающимися соплами 9, аналогичными соплам 3. Из сопел 9 выходит струя жидкости, направленная навстречу струе жидкости, выходящей из сопел 3. При соударении струй жидкостей происходит их активация.
На ротор 1 вдоль его оси воздействуют реактивной силой струи жидкости 4 и силой, образующейся в результате воздействия на нижнюю поверхность 10 вращающегося ротора 1 струи жидкости 6. Это способствует разгрузке подшипников ротора. В качестве преграды 5 могут использовать взаимонаправленные поверхности роторов 10 и 11.
На ротор 1 вдоль и перпендикулярно его оси воздействуют аэродинамическими силами, возникающими при вращении ротора. Для этого на роторе 1 на его поверхности выполняют аэродинамические крылья 12, 13, на которых создаются аэродинамические силы R1 и R2. Осевая сила R1 воздействует на ротор вдоль его оси и разгружает подшипники ротора 1. Тангенциальная сила R2 направлена к оси вращения ротора и частично разгружает его конструкцию от действия центробежных сил. Создание подъемной аэродинамической силы R1 возможно за счет конструкции самого ротора, имеющего аэродинамическое качество. Например, верхняя поверхность ротора выполнена выпуклой 17, а нижняя – плоской 18.
При вытеснении жидкости через сопло осуществляют инжекцию воздуха или газа 19 в поток вытесняемой жидкости. Наличие воздуха в потоке жидкости способствует повышению силы воздействия на жидкость в результате возникающих импульсных воздействий на нее в результате возникающих кавитаций.
Эффективность активирующих воздействий на обрабатываемую жидкость показана в таблице 1, из которой следует, что вышеперечисленные факторы воздействия обеспечивают значительное повышение потребительских свойств жидкостей.
Основное отличие данного метода от известного показано в таблице 2, из которой следует, что в обрабатываемой жидкости отсутствуют микрозагрязнения.
Предварительно, до начала обработки жидкости, осуществляют исследования режимов обработки. Для этого ротор вращают некоторое время в противоположных угловых направлениях и после вращения ротора в каждом направлении в течение определенного времени (как правило до установившегося режима) с определенной скоростью осуществляют определение параметров обработанной жидкости. В качестве параметра жидкости определяют, например, рН жидкости.
Таблица 1 Сравнительная оценка известного струйного и предлагаемого роторно-струйного способа активации жидкостей (воды и ее производных) |
| Вид обработки |
Рабочее давление сжатия жидкости, МПа |
Бактерицидность обработки. Исходное микробное число воды 95-100 |
Сравнительная оценка противовоспалительного действия ортофена, % к контролю |
Влияние на развитие пшеницы, % к контролю |
Влияние на митотическое деление клеток |
| зеленая масса |
корни |
Хромосомные аберрации, М± |
Митотический индекс в долях, М± |
| Струйная по прототипу |
100 в цилиндре высокого давления |
5-7 |
42,8 |
107,1 |
90,4 |
0,255±0,027 |
0,349±0,008 |
| Предлагаемая роторно-струйная |
100 при частоте вращения ротора =18700 рад/с и радиус R=0,25 м |
2-3 |
58 |
120,4 |
102,8 |
0,198±0,052 |
0,315±0,016 |
| Результаты сравнительных испытаний и выводы |
Увеличение антибактериальной активности роторно-струйной обработанной (РСО) воды |
Рост противовоспалительного действия (уменьшение отека стопы у лабораторных крыс) при использовании РСО |
Увеличение массы надземной части и корней растений через 20 дней |
Струйная и РСО воды не обладает выраженным мутагенным ни антимутагенным действием |
Таблица 2 Сравнительная оценка чистоты обрабатываемой жидкости по известному и предлагаемому роторно-струйной обработки способу |
| Рабочее давление воды, МПа |
50 |
100 |
150 |
200 |
250 |
| Известный способ (Патент РФ №2031847) |
– |
– |
+ |
+ |
+ |
| Предлагаемый способ РСО |
– |
– |
– |
– |
– |
Примечание: + визуально обнаруживаемая масляная пленка и микроосадок – изменения качества обработанной воды не зафиксированы |
Формула изобретения
1. Способ активации жидкости, включающий сжатие жидкости с последующим ее вытеснением через, по крайней мере, одно сопло со сверхзвуковой скоростью на выходе и торможением выходящей струи жидкости о преграду, отличающийся тем, что сжатие и вытеснение подаваемой жидкости осуществляют путем ее вращения в быстро вращающемся полом роторе при движении через его, по крайней мере, один идущий от центра вращения к периферии полнопрофильный канал, на выходе которого установлено указанное сопло.
2. Способ по п.1, отличающийся тем, что движение жидкости осуществляют через указанный канал ротора, заполненный пористым наполнителем.
3. Способ по п.1, отличающийся тем, что торможение выходящей струи жидкости осуществляют о неподвижную преграду.
4. Способ по п.1, отличающийся тем, что торможение выходящей струи жидкости осуществляют о вращающуюся преграду.
5. Способ по п.1, отличающийся тем, что движение жидкости осуществляют через указанный канал, выполненный сужающимся от центра вращения к периферии.
6. Способ по п.1, отличающийся тем, что движение жидкости осуществляют через указанный канал, расположенный по спирали Архимеда.
7. Способ по п.4, отличающийся тем, что преграду вращают в одинаковую вращению ротора сторону.
8. Способ по п.4, отличающийся тем, что преграду вращают в противоположную вращению ротора сторону.
9. Способ по п.4, отличающийся тем, что преграду вращают с одинаковой угловой скоростью с ротором.
10. Способ по п.1, отличающийся тем, что в качестве преграды используют струю жидкости, направленную навстречу струе жидкости, выходящей из сопла.
11. Способ по п.1, отличающийся тем, что струя обрабатываемой жидкости имеет сверхзвуковую результирующую скорость.
12. Способ по п.10, отличающийся тем, что струя жидкости, использующаяся в качестве преграды, имеет сверхзвуковую скорость.
13. Способ по п.1, отличающийся тем, что на ротор вдоль его оси воздействуют реактивной силой струи жидкости.
14. Способ по п.1, отличающийся тем, что на ротор перпендикулярно его оси воздействуют реактивной силой струи жидкости.
15. Способ по п.1, отличающийся тем, что на ротор вдоль его оси воздействуют аэродинамической подъемной силой, образующейся при вращении ротора.
16. Способ по п.1, отличающийся тем, что на ротор перпендикулярно его оси воздействуют аэродинамической силой, образующейся при вращении ротора и направленной к оси его вращения.
17. Способ по п.1, отличающийся тем, что при вытеснении жидкости через сопло осуществляют инжекцию воздуха или газа в поток вытесняемой жидкости.
18. Способ по п.1, отличающийся тем, что ротор вращают в противоположных угловых направлениях, причем после вращения ротора в каждом направлении осуществляют определение параметров обрабатываемой жидкости.
19. Способ по п.1, отличающийся тем, что в качестве одного из параметров жидкости определяют ее рН.
РИСУНКИ
MM4A – Досрочное прекращение действия патента СССР или патента Российской Федерации на изобретение из-за неуплаты в установленный срок пошлины за поддержание патента в силе
Дата прекращения действия патента: 22.05.2008
Извещение опубликовано: 20.06.2010 БИ: 17/2010
|
|