|
|
(21), (22) Заявка: 2003101107/14, 16.07.2001
(24) Дата начала отсчета срока действия патента:
16.07.2001
(30) Конвенционный приоритет:
17.07.2000 SE 0002678-1
(43) Дата публикации заявки: 20.07.2004
(45) Опубликовано: 27.02.2006
(56) Список документов, цитированных в отчете о поиске:
ЕР 0872262 А2, 21.10.1998. US 5526814 А, 18.06.1996. US 5769790 А, 23.06.1998. US 6021343 А, 01.02.2000. RU 2061408 C1, 10.06.1996.
(85) Дата перевода заявки PCT на национальную фазу:
14.02.2003
(86) Заявка PCT:
SE 01/01626 (16.07.2001)
(87) Публикация PCT:
WO 02/05897 (24.01.2002)
Адрес для переписки:
191036, Санкт-Петербург, а/я 24, НЕВИНПАТ, пат.пов. А.В.Поликарпову
|
(72) Автор(ы):
ЛИДГРЕН Ларс Оке Альвар (SE)
(73) Патентообладатель(и):
Ультразоникс ДНТ АБ (SE)
|
(54) УСТРОЙСТВО ДЛЯ МИНИИНВАЗИВНОГО УЛЬТРАЗВУКОВОГО ЛЕЧЕНИЯ БОЛЕЗНИ ДИСКА
(57) Реферат:
Изобретение относится к медицинской технике, а именно к устройствам для лечения заболеваний межпозвонкового диска. Устройство содержит терапевтический ультразвуковой преобразователь, создающий ультразвуковое поле, температурный фокус которого располагается в диске для его нагревания, оптическое навигационное устройство и опорное устройство. Терапевтический ультразвуковой преобразователь приспособлен для введения через кожу пациента и взаимодействия с диском, предпочтительно с фиброзным кольцом, и имеет гибкую стенку с ультразвуковым излучающим элементом, находящимся внутри гибкой стенки, для измерения температуры в диске, предпочтительно фиброзном кольце, предусмотрен датчик температуры. Использование изобретения позволяет облегчить установку температурного фокуса ультразвукового поля ультразвукового преобразователя на требуемую точку в диске. 18 з.п. ф-лы, 3 ил. 
Настоящее изобретение относится к устройству для миниинвазивного ультразвукового лечения болезни диска, в котором для лечения диска, предпочтительно студенистого ядра, пациента, имеется, по меньшей мере, один терапевтический ультразвуковой преобразователь, создающий ультразвуковое поле, температурный фокус которого расположен в диске, предпочтительно в студенистом ядре, для нагревания последнего.
Межпозвоночный диск состоит из внешнего кольца из волокнистой ткани, или фиброзного кольца, и внутренней, более вязкой части, студенистого ядра. Диск выполняет функцию поглотителя ударов, и если фиброзное кольцо повреждается, например, получает небольшую трещину, вещество диска может выйти наружу и вызвать сжатие нервных корешков и воспалительную реакцию.
Выпадение межпозвоночных дисков с тридцатых годов лечили хирургически путем удаления смещенного вещества диска и/или части разбухшего диска. Позднее хирургическое лечение развивалось в направлении меньшего оперативного вмешательства, и теперь при удалении вещества диска используются микроскопы и чрескожная техника. Альтернативным способом по отношению к хирургическому лечению является хемонуклеолиз, при котором энзим химопапаин вводится в студенистое ядро – центральную часть диска. Энзим полимеризует длинные протеогликановые цепи в студенистом ядре с последующей утратой гигроскопичности. Это уменьшает объем и давление в студенистом ядре и разбухшей части диска, что объясняет облегчение болей у пациентов с невралгией седалищного нерва после химонуклеолиза. Способ показал уменьшение болей в 75% случаев и имеет хорошо документированную экономическую эффективность. К сожалению, способ вызывает серьезные аллергические реакции примерно в 1% случаев. Следующим шагом в развитии могло бы стать неинвазивное лечение или терапия выпадения межпозвоночных дисков, которое предпочтительно должно быть безболезненным, избегать риска инфекций и должно выполняться амбулаторно.
Способ термотерапии и коагуляции ткани включает использование сфокусированного ультразвука высокой интенсивности. Ультразвук хорошо проходит через мягкие ткани и может быть сфокусирован в удаленных точках на поверхности размером в несколько миллиметров. Поглощение энергии в ткани повышает температуру при резком температурном градиенте так, что границы обрабатываемого объема четко выделены, и не причиняется вреда окружающим тканям (документы US 5291890 и US 5501655). Ультразвуковое лечение или терапия выпадения межпозвоночных дисков известны из более раннего источника ЕР 0872262.
Лечение теплом, или термотерапия дисков, оказалось успешным в способе, названном IDET (документы US 6073051, US 6007570, US 5980504). Целью способа является введение катетера в диск с помощью канюли. На дальнем конце катетера находится катушка, которая нагревается путем приложения к ней напряжения радиочастоты (документ US 5785705). В студенистом ядре, где расположен нагревательный элемент катетера, температура повышается примерно до 90°С. Лечение или терапию проводят в течение примерно 15 минут.
Хирургия со сфокусированным ультразвуком имеет несколько преимуществ по сравнению с другими термическими технологиями. Во-первых, она является не инвазивной, во-вторых, фокус может быть сделан подвижным, и в-третьих, энергия может быть подана в течение нескольких секунд. Ограничением для ультразвука является его поглощение в костях и плохое прохождение через заполненные газом проходы. Клинические приложения ультразвуковой хирургии в настоящее время более всего известны в офтальмологической хирургии, урологии и онкологии. Результат воздействия ультразвука можно разделить на термические и нетермические эффекты.
Термические эффекты ультразвука вызваны поглощением ультразвука в тканях. Это приводит к росту температуры, который зависит от параметров ультразвука (частоты и интенсивности) и акустических свойств ткани. Поглощение ультразвука в тканях скелетных мышц возрастает с ростом содержания апатита и протеина, что означает высокое поглощение в костях, хрящах, сухожилиях и связках. Вода, однако, обладает низкой способностью поглощения ультразвука и может по этой причине использоваться как акустическая среда между ультразвуковым преобразователем и тканью. Можно ожидать более высокого поглощения в фиброзном кольце (высокое содержание коллагена), нежели в студенистом ядре (высокое содержание воды). Это приведет к более высоким температурам во внешней части межпозвоночного диска, чем в центральной части. Чтобы избежать превышения температурой в фиброзном кольце уровня вредного воздействия при достижении температурой в студенистом ядре достаточного уровня, ультразвук можно излучать несколькими источниками ультразвука. Таким образом поля будут перекрывать друг друга и усиливать эффект в студенистом ядре, в то время как интенсивность в окружающих тканях, включая фиброзное кольцо, может оставаться низкой.
Целью данного изобретения является облегчение, в случае вышеупомянутых устройств, установки температурного фокуса ультразвукового поля ультразвукового преобразователя на требуемую точку в диске, предпочтительно в студенистом ядре. Это достигается согласно изобретению посредством устройства, имеющего отличительные признаки, указанные в п.1 формулы изобретения.
Посредством устройства, описанного в формуле изобретения, можно добиться установки и поддержания температурного фокуса ультразвукового поля терапевтического ультразвукового преобразователя в требуемой точке диска, предпочтительно в студенистом ядре.
Изобретение описано ниже со ссылкой на сопровождающие чертежи, на которых:
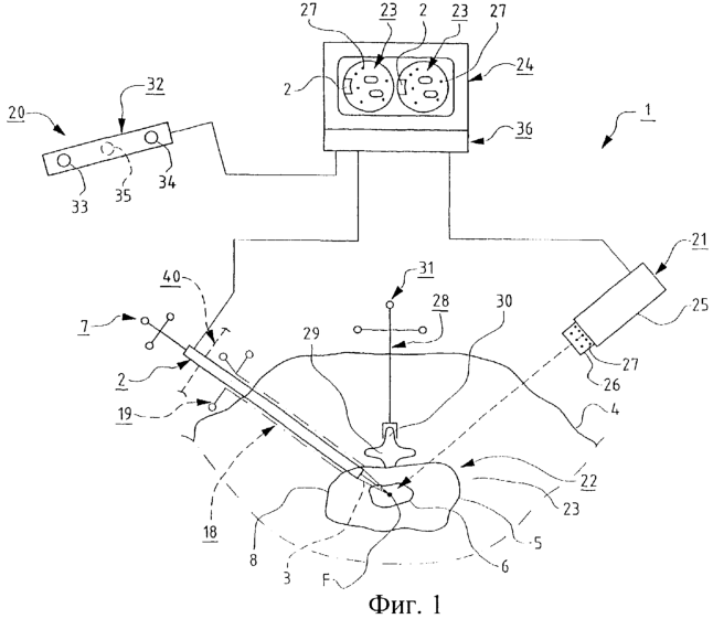
фиг.1 схематически иллюстрирует конструктивный вариант устройства согласно изобретению;
фиг.2 схематически иллюстрирует терапевтический ультразвуковой преобразователь, образующий часть устройства, приведенного на фиг.1; и
фиг.3 схематически иллюстрирует калибровочное устройство, которое может составлять часть устройства, приведенного на фиг.1.
Устройство 1 для лечения, схематически показанное на фиг.1, выполнено с возможностью создания, посредством терапевтического ультразвукового преобразователя 2 (так называемого терапевтического преобразователя), ультразвукового поля 3, температурный фокус F которого должен располагаться в межпозвоночном диске 5, предпочтительно в студенистом ядре 6, пациента 4 для его лечения. Терапевтический ультразвуковой преобразователь 2 содержит датчики 7 положения, предпочтительно по меньшей мере три датчика, для определения его положения.
Терапевтический ультразвуковой преобразователь 2 выполнен с возможностью введения его через кожу пациента 4 и взаимодействия с диском 5, предпочтительно с фиброзным кольцом 8, для обеспечения локального повышения температуры в студенистом ядре 6, так чтобы энзимы, например коллагеназа, присутствующие в диске, активировались и вызвали разложение коллагена и протеоглюканов, результатом чего является усадка студенистого ядра 6, главным образом, из-за меньшей гигроскопичности. Терапевтический ультразвуковой преобразователь 2 может быть помещен против диска 5 без перфорации фиброзного кольца 8, и таким образом излучать ультразвуковое поле 3, сфокусированное в температурном фокусе F, в направлении обрабатываемого объема. Излучающий элемент 9 терапевтического ультразвукового преобразователя 2, например пьезоэлектрический элемент, может охлаждаться водой для охлаждения кристалла и тканей, расположенных наиболее близко к терапевтическому ультразвуковому преобразователю 2, так же, как это делается при микроволновой терапии рака простаты (документ US 5964791).
Чтобы обеспечить охлаждение, терапевтический ультразвуковой преобразователь 2 снабжен на своем дистальном конце 10 по меньшей мере одной охлаждающей камерой 11 с охлаждающей жидкостью 12. Эта охлаждающая камера 11 расположена между излучающим элементом 9 и мембранной стенкой 13, выполненной из такого гибкого материала, что она способна прилегать к поверхности фиброзного кольца 8, когда она приведена в контакт с ним.
Терапевтический ультразвуковой преобразователь 2, кроме того, содержит, по меньшей мере, один температурный датчик 14 для измерения температуры до и/или во время лечения. Чтобы увеличить объем терапии или лечения, направление или установку терапевтического ультразвукового преобразователя 2 можно изменять так, чтобы сканирование температурного фокуса F осуществлялось по большей площади. Для измерения температуры на внутренней стороне гибкой стенки 13 предусмотрен температурный датчик 14, который в предпочтительном варианте присоединен к стенке 13, так что он следует за стенкой 13, когда она деформируется, вступая в контакт с поверхностью фиброзного кольца 8.
Охлаждающей жидкостью 12 в предпочтительном варианте является вода, которая подается к охлаждающей камере 11 через впускной канал 15, а через выпускной канал 16 выводится из нее, так что вода может циркулировать через охлаждающую камеру 11. Для предотвращения выхода охлаждающей жидкости 12 из охлаждающей камеры 11 в излучающем элементе 9 предусмотрено герметизирующее средство 17.
Если рассматривать более подробно, то терапевтический ультразвуковой преобразователь 2 выполнен с возможностью вызывать локальное повышение температуры в студенистом ядре 6, так что энзимы, например коллагеназа, присутствующие в диске 5, активируются и вызывают разложение коллагена и протеогликанов, результатом чего является усадка студенистого ядра 6, главным образом, из-за меньшей гигроскопичности.
Устройство 1 для лечения может содержать жесткую трубку 18 с присоединенной внутренней частью и несколько датчиков 19 положения. Трубку 18 можно, посредством оптического навигационного оборудования, вводить дорсолатерально в направлении диска 5. Внутренняя часть трубки 18, схематически показанной на фиг.1 штриховой линией, затем заменяется терапевтическим ультразвуковым преобразователем 2.
Устройство 1 для лечения также содержит оптическое навигационное устройство 20 для наведения терапевтического ультразвукового преобразователя 2 (документ US 5772594). Это оптическое навигационное устройство 20 содержит, по меньшей мере, одну диагностическую камеру 21, выполненную с возможностью получения на мониторе 24, по меньшей мере, одного снимка или изображения анатомической структуры 23 области 22 лечения. Диагностическая камера 21 может быть рентгеновской камерой 25, делающей два снимка анатомической структуры 23 области 22 лечения с различных направлений, предпочтительно с углом 90° между ними, и показывающей или отображающей их на мониторе 24. В оптическом навигационном устройстве 20 рентгеновская камера 25 используется совместно с оптическим аналого-цифровым преобразователем для получения или создания на мониторе 24 в реальном времени изображения или снимка положения и направления терапевтического ультразвукового преобразователя 2 (документы US 6021343, US 5834759, US 5383454).
Рентгеновская камера 25 содержит калибровочное устройство 26, например, калибровочный колпак, который располагается перед объективом рентгеновской камеры 25 и имеет маркеры 27, взаимные расстояния между которыми известны. Маркеры 27 могут быть круглыми и состоять, например, из тантала.
Оптическое навигационное устройство 20, кроме того, содержит опорное устройство 28, которое выполнено с возможностью его присоединения к остистому отростку 30 позвонка 29 или в соответствующем положении, так что оно занимает определенное или фиксированное положение относительно области 22 лечения. Опорное устройство 28 имеет несколько датчиков 31 положения, предпочтительно, по меньшей мере, три, которые могут состоять из металла, например, тантала.
Кроме того, оптическое навигационное устройство 20 содержит принимающий и/или посылающий сигналы блок 32. Он включает необходимое количество приемников 33, 34 сигнала для приема отраженных или других сигналов от датчиков 7 и 31 положения терапевтического ультразвукового преобразователя 2 и опорного устройства 28, соответственно. Принимающий и/или посылающий сигналы блок 32 может содержать по меньшей мере один передатчик 35 для посылки или передачи сигналов к указанным датчикам 7 и 31 положения, которые предусмотрены для приема этих сигналов.
Сигналы, передаваемые датчиками 7 и 31 положения, могут, например, быть в виде инфракрасного излучения, а приемники 33, 34 сигналов могут в таком случае быть приемниками инфракрасного излучения.
В устройство 1 для лечения может быть также включен калибровочный блок 37 для калибровки температурного эффекта температурного фокуса F терапевтического ультразвукового преобразователя 2. Калибровочный блок 37 имеет по меньшей мере один термоэлемент 38, посредством которого может быть измерен эффект температурного фокуса F для осуществления калибровки. Термоэлементы 38 присоединены к схематически показанному измерительному устройству 39.
До начала лечения диска 5, в предпочтительном случае студенистого ядра 6, опорное устройство 28 размещают на позвонке 29 пациента 4, и терапевтический ультразвуковой преобразователь 2 калибруют в калибровочном блоке 37.
Делают два рентгеновских снимка анатомической структуры 23 диска 5 пациента 4, и эти рентгеновские снимки воспроизводят на мониторе 24. Положение опорного устройства 28 относительно диска 5 может быть затем определено на этих рентгеновских снимках посредством маркеров 27 калибровочного устройства 26.
Во время лечения диска 5, в предпочтительном случае студенистого ядра 6, терапевтический ультразвуковой преобразователь 2 наводится посредством принимающего или посылающего сигналы блока 32, благодаря чему наведение представлено на рентгеновских снимках или изображениях на мониторе 24. Это происходит, пока датчики 7 положения терапевтического ультразвукового преобразователя 2 взаимодействуют через сигналы с передатчиками 33, 34 сигналов принимающего или посылающего сигналы блока 32. Посредством этой навигации терапевтический ультразвуковой преобразователь 2 может быть установлен так, что температурный фокус F его ультразвукового поля 3 будет лежать в диске 5, предпочтительно, в студенистом ядре 6. Температура в температурном фокусе F предпочтительно превышает 45°С.
Лечение может быть автоматически прервано, если пациент 4 займет неправильное положение относительно терапевтического ультразвукового преобразователя 2, или наоборот.
Изобретение не ограничивается вариантом, описанным выше, но может изменяться в пределах приведенной далее формулы изобретения. Так, диск 5, подлежащий лечению, может, например, быть любым диском в теле.
Диагностическая камера 21 может быть компьютеризированным томографическим сканером, который предназначен для создания изображений анатомической структуры 23, и эти изображения могут обрабатываться компьютерной программой или комплексом программ для получения трехмерного изображения на мониторе 24.
Терапевтический ультразвуковой преобразователь 2 может быть приспособлен для установки вручную или быть расположенным на позиционирующем устройстве 40 для установки его относительно диска 5, подлежащего лечению.
Формула изобретения
1. Устройство для миниинвазивного ультразвукового лечения диска, содержащее, по меньшей мере, один терапевтический ультразвуковой преобразователь (2), установленный с возможностью образования температурного фокуса (F) ультразвукового поля в диске (5) и снабженный на дистальном конце (10) стенкой (13), внутри которой помещен, по меньшей мере, один ультразвуковой излучающий элемент (9), отличающееся тем, что указанная стенка (13) выполнена гибкой и установлена с возможностью прилегания к фиброзному кольцу (8) и имеется, по меньшей мере, один температурный датчик (14) для измерения температуры в диске (5).
2. Устройство по п.1, отличающееся тем, что оптическое навигационное устройство (20) содержит, по меньшей мере, одну диагностическую камеру (21), выполненную с возможностью создания, по меньшей мере, одного снимка или изображения анатомической структуры (23) области (22) лечения, в которой расположен подвергаемый лечению диск, оптическое навигационное устройство (20) дополнительно содержит, по меньшей мере, один принимающий или посылающий сигналы блок (32), который выполнен с возможностью посылки сигналов к датчикам (31, 7) положения и/или приема отраженных или других сигналов от этих датчиков (31, 7) на а) опорном устройстве (28), которое имеет неизменное положение относительно диска (5), и b) терапевтическом ультразвуковом преобразователе (2) так, что может быть определено его положение относительно области (22) лечения.
3. Устройство по п.1 или 2, отличающееся тем, что терапевтический ультразвуковой преобразователь (2) выполнен с возможностью введения через кожу пациента (4) и взаимодействия с диском (5).
4. Устройство по п.1 или 2, отличающееся тем, что между гибкой стенкой (13) и ультразвуковым излучающим элементом (9) расположена, по меньшей мере, одна охлаждающая камера (11) с охлаждающей жидкостью (12) для охлаждения ультразвукового излучающего элемента (9) и тканей, ближайших к терапевтическому ультразвуковому преобразователю (2).
5. Устройство по п.4, отличающееся тем, что охлаждающая жидкость (12) циркулирует через охлаждающую камеру (11).
6. Устройство по п.5, отличающееся тем, что охлаждающая жидкость (12) является водой.
7. Устройство по п.1 или 2, отличающееся тем, что температурный датчик (14) выполнен с возможностью измерения температуры на внутренней стороне гибкой стенки (13).
8. Устройство по п.7, отличающееся тем, что температурный датчик (14) присоединен к гибкой стенке (13) так, что он прилегает к гибкой стенке (13) во время ее деформации, когда стенка вступает в контакт с диском (5).
9. Устройство по п.2, отличающееся тем, что дополнительно содержит трубку (18), которая имеет внутреннюю часть, и может вставляться дорсолатерально в направлении к диску (5) и наводиться посредством оптического навигационного устройства (20), при этом внутренняя часть выполнена с возможностью замены ее на терапевтический ультразвуковой преобразователь (2).
10. Устройство по п.2, отличающееся тем, что диагностическая камера (21) является рентгеновской камерой (25).
11. Устройство по п.10, отличающееся тем, что рентгеновская камера (25) содержит калибровочное устройство (26) с маркерами (27), которые выполнены с возможностью определения положения анатомической структуры (23), отображенной на мониторе (24) и присутствующей в диске (5) пациента (4).
12. Устройство по п.11, отличающееся тем, что монитор (24) выполнен с возможностью отображения двух рентгеновских снимков анатомической структуры (23), сделанных рентгеновской камерой (25) из двух различных положений.
13. Устройство по п.2, отличающееся тем, что диагностическая камера (21) является компьютеризированным томографическим сканером, который выполнен с возможностью создания изображений анатомической структуры (23) в диске (5) пациента (4), которые обрабатываются компьютерной программой (комплексом программ) для получения трехмерного изображения на мониторе (24).
14. Устройство по п.2, отличающееся тем, что принимающий или посылающий сигналы блок (32) выполнен с возможностью приема или посылки сигналов в форме инфракрасного излучения, а датчики (7, 31) положения выполнены с возможностью посылки или приема сигналов в форме инфракрасного излучения.
15. Устройство по п.1 или 2, отличающееся тем, что температура в температурном фокусе (F) терапевтического ультразвукового преобразователя (2) превышает 45°С.
16. Устройство по п.1 или 2, отличающееся тем, что для калибровки температуры, обеспечиваемой терапевтическим ультразвуковым преобразователем (2) в температурном фокусе (F) терапевтического ультразвукового преобразователя (2), и/или положения температурного фокуса (F) относительно ультразвукового излучающего элемента (9) терапевтического ультразвукового преобразователя (2), применяется калибровочное устройство (26).
17. Устройство по п.2, отличающееся тем, что опорное устройство (28) прикрепляется к позвонку (29) в позвоночном столбе пациента, предпочтительно к остистому отростку 30 позвонка 29.
18. Устройство по п.2, отличающееся тем, что опорное устройство (28) содержит датчики (31) положения, состоящие из металлических шариков, предпочтительно шариков из тантала.
19. Устройство по п.18, отличающееся тем, что принимающий или посылающий сигналы блок (32) оптического навигационного устройства (20) состоит из, по меньшей мере, одного рентгеновского устройства.
РИСУНКИ
|
|