|
|
(21), (22) Заявка: 2003119454/14, 30.11.2001
(24) Дата начала отсчета срока действия патента:
30.11.2001
(30) Конвенционный приоритет:
01.12.2000 AU PR1845
(43) Дата публикации заявки: 27.10.2004
(45) Опубликовано: 27.02.2006
(56) Список документов, цитированных в отчете о поиске:
ЕР 0918570 А1, 02.06.1999. GB 2316451 A1, 25.02.1998. ЕР 0644785 B1, 29.03.1995. WO 98/06502 A1, 19.02.1998. US 4344573 A, 17.08.1982. WO 93/24164 A1, 09.12.1993. DE 19809514 C1, 23.12.1999. RU 95113092 A, 27.07.1997.
(85) Дата перевода заявки PCT на национальную фазу:
01.07.2003
(86) Заявка PCT:
AU 01/01560 (30.11.2001)
(87) Публикация PCT:
WO 02/43611 (06.06.2002)
Адрес для переписки:
129010, Москва, ул. Б.Спасская, 25, стр.3, ООО “Юридическая фирма Городисский и Партнеры”, пат.пов. Ю.Д.Кузнецову
|
(72) Автор(ы):
ВОНГ Кон Еуан (AU), БЭЙЛИ Марк Саймон (AU)
(73) Патентообладатель(и):
ЭКРУКС ДДС ПТИ ЛТД (AU)
|
(54) ДОЗИРУЮЩЕЕ УСТРОЙСТВО (ВАРИАНТЫ)
(57) Реферат:
Изобретение относится к медицине и используется для выдачи измеренного количества вещества, такого как фармацевтическое, лечебное или терапевтическое вещество, и нанесения этого вещества на кожу пользователя. Устройство содержит полый корпус и капсулу для вещества, установленную в этом корпусе. Капсула включает в себя контейнер (5) для вещества и распылитель, через который выдается определенное количество вещества, возможно, в форме распыленной струи. Колпак имеет открытый расширяющийся раструб на наружном конце устройства для ограничения пространства для приема вещества из выпускного канала распылителя. Закрывающее средство включает крышку, расположенную на колпаке и предназначенную для управления выходом вещества из капсулы. Второй вариант ручного дозирующего устройства дополнительно включает насос для выдачи измеренного количества вещества через распылитель и абсорбирующее средство для абсорбирования предварительного количества вещества. Технический результат заключается в повышении точности дозирования вещества для трансдермального применения с минимальными потерями. 2 н. и 30 з.п. ф-лы, 9 ил. 
Область техники, к которой относится изобретение
Настоящее изобретение относится к устройству для дозирования вещества, такого как фармацевтическое, лечебное или терапевтическое вещество, и нанесения этого вещества на кожу пользователя. Изобретение, в частности, относится к устройству, которым манипулируют для выдачи измеренного количества вещества в форме распыленной струи или тумана. Более конкретно изобретение относится к трансдермальной и/или подкожной доставке веществ и, в частности, жидкостей, содержащих физиологически активное вещество.
Предпосылки изобретения
Доставка лекарственных средств – это процесс придания лекарственному средству дозированной формы для того, чтобы оно могло достигать района предназначения в теле, доставляться с эффективными концентрациями, своевременно абсорбироваться, не производить токсических побочных эффектов и иметь удобную для пациента форму. Трансдермальный путь доставки лекарственных средств широко используют как средство эффективной доставки лекарственных средств.
Традиционно в трансдермальных системах доставки лекарственных средств используют локализующие пластыри, которые приклеивают к коже на продолжительные периоды времени для доставки лекарственного средства сквозь кожу и в кровообращение с эффективными концентрациями. Однако трансдермальные пластыри имеют серьезные недостатки. Эти недостатки включают раздражение кожи в районе применения, ограниченную приемлемость пользователем с косметической точки зрения, сложные производственные процессы и ограничения изменения применяемой дозы. Клейкие трансдермальные матричные пластыри требуют сложных и критических производственных операций, включающих приготовление лекарственного раствора, тепловое примешивание клейкого вещества, точное нанесение на снимаемую подложку, контролируемую сушку пластыря (требует много тестов в ходе процесса), ламинирование подложки пластыря, вырезка пластырей разных размеров, завершающее запечатывание в облицованную фольгой блистерную упаковку. (Jenkins A.W. Developing the fematrix transdermal patch. Pharm.J. 1995 Vol 255 Aug 5 pp. 179-181).
Были предприняты попытки преодоления этих проблем посредством возвращения к использованию традиционных нелокализующих местных носителей, таких как гели, кремы и лосьоны, однако использование этих носителей для трансдермальной доставки лекарственных средств сдерживается их ограниченным применением во всем диапазоне вариантов трансдермальных лечебных средств вследствие слабого трансдермального потока. Гели, кремы и лосьоны также имеют такие недостатки, как загрязняющие способы нанесения, затрудненный контроль дозирования при нанесении, неприемлемо длительные периоды времени высыхания на коже и существенная вероятность переноса лекарственного средства с кожи пациента другому человеку. Вследствие этого патент США №6299900, озаглавленный “Средства усиления проникновения сквозь кожу и включающая их система доставки лекарственных средств” (Dermal Penetration Enhancers and Drug Delivery System Involving Same), (Reed и др.) предлагает усовершенствованную нелокализующую систему доставки нелетучих/летучих трансдермальных лекарственных средств, которая преодолевает указанные выше недостатки традиционных трансдермальных систем доставки лекарственных средств (например, пластырей, гелей, кремов, лосьонов).
Указанные проблемы привели к разработке устройств для контролируемого нанесения летучих/нелетучих жидких составов на кожу, например, таких как описанное в патенте США №6113008, которое является устройством для нанесения на кожу напрыскиваемого локализующего бандажа. Это устройство страдает недостатком, состоящим в том, что оно не имеет средства для предотвращения закупоривания распылителя исполнительного механизма предпочтительными пленкообразующими аэрозолями при его нормальном использовании, а также ограничено из-за осевой ориентации распылителя практическим применением только на предплечье. То есть исключая те случаи, когда пациент хочет лежать при применении устройства для применения в других традиционных местах, таких как живот, верхняя часть ягодиц и бедро. Такой подход может создавать дополнительную проблему отсутствия погружаемой трубки для забора жидкости из резервуара, решение которой возможно, например, как описано в патенте США №5624060, но которое может существенно повысить стоимость и сложность использования устройства, описанного в патенте США №6113008. Это устройство также предусматривает наличие вентиляционного отверстия в дозирующем колпаке, которое открыто в окружающую среду для предотвращения возрастания давления при использовании предпочтительных аэрозолей под давлением, и это ведет к отклонению распыленной струи со следующей из этого потерей части выдаваемого вещества.
Патент США №6261274 описывает другое дозирующее устройство, которое предусматривает использование средства для задания расстояния, обеспечивающего контроль расстояния и ориентации распылителя исполнительного средства относительно кожи. Это устройство страдает недостатком ограниченной возможности использования изменяемого угла распылителя исполнительного средства и/или изменяемого расстояния относительно кожи несмотря на использование плоской поверхности на конце средства для задания расстояния, которое прижимают к коже при применении. Это происходит из-за того, что на практике площадь поверхности этого средства должна быть ограничена для исключения его вторжения в струю выдаваемого вещества при нормальном применении устройства. Типичная длина, требуемая для средства для задания расстояния, может означать, что при нормальном использовании будет достигаться небольшой (если будет вообще) эффект стабилизации, поскольку угол ориентации средства для задания расстояния может быть подвержен изменениям вследствие нормальной податливости поверхности кожи, при этом проблема усложняется наличием лишь ограниченной площади поверхности контакта для средства для задания расстояния, а также эффект рычага, который даже небольшое изменение угла средства для задания расстояния оказывает на расстояние и угол распылителя исполнительного средства относительно кожи. Устройство, соответствующее патенту США №6261274, также страдает недостатком, заключающимся в том, что пациент должен быть способен оценить реальное место, на которое должно наноситься дозируемое вещество, что составляет особую проблему при нанесении на предплечье, где распорная ножка может помещаться на кожу, но вещество затем распыляется в воздух, не попадая целиком на кожу. Таким образом, устройство страдает от высокой вероятности изменения площади поверхности, на которую наносится выдаваемое вещество, и возможности непопадания в район предназначения.
Устройства для дозирования веществ указанного выше типа имеют тенденцию приведения к недопустимым потерям вещества в период между применениями устройства. Эта потеря особенно очевидна при использовании летучего вещества. Непреднамеренные потери расточительны и могут также препятствовать способности устройства выдавать точно дозированное количество каждый раз при работе устройства. В этом отношении в некоторых обстоятельствах точное дозирование может быть очень важным.
Существует необходимость в устройстве, способном обеспечивать точное и воспроизводимое нанесение летучих/нелетучих жидких составов, таких как описанные в патенте США №6299900, на уровне малых объемов, в типичном случае – от 1 до 10 мкл на квадратный сантиметр площади нанесения. Также существует необходимость в дозирующем устройстве, имеющем средство для предотвращения потери эффективности первого срабатывания (или потери остаточной дозы).
Сущность изобретения
Задачей настоящего изобретения является получение устройства для дозирования вещества, имеющего средство для предотвращения или сведения к минимуму непреднамеренных потерь вещества. Другой задачей изобретения является получение устройства для дозирования вещества, которое способно выдавать точно отмеренное количество вещества в ходе нормального использования. Еще одной задачей изобретения является получение устройства для дозирования вещества, имеющего средство, позволяющее подготовить всю заправку вещества предварительно перед нормальным использованием устройства. Еще одной задачей изобретения является получение дозирующего устройства, которое особенно пригодно для использования для трансдермального применения веществ.
Согласно одному аспекту изобретения, получено ручное устройство для дозирования вещества и нанесения этого вещества на кожу пользователя, причем указанное устройство включает в себя полый корпус, капсулу для вещества, установленную внутри указанного корпуса, контейнер для вещества, формирующий часть указанной капсулы, распылитель, имеющий выпускной канал, исполнительное средство, соединенное с внутренним пространством указанного контейнера и приводимое в действие для выдачи измеренного количества указанного вещества через указанный выпускной канал распылителя, колпак, ограничивающий пространство для приема вещества, исходящего из указанного выпускного канала, и закрывающее средство, включающее в себя крышку, с возможностью отсоединения расположенную на колпаке и избирательно приводимую в действие для закрывания или открывания указанного распылителя и таким образом управления выходом указанного вещества из указанной капсулы.
Устройство для трансдермального применения вещества напылением, соответствующее настоящему изобретению, можно заправлять веществом в форме однофазной летучей/нелетучей жидкости, расположенной внутри стандартного пластмассового и/или стеклянного контейнера (в зависимости от характеристик активного ингредиента).
Устройство в одной из предпочтительных форм относительно просто в производстве, допускает простое увеличение его масштаба, и для его первичной фармацевтической упаковки используют уже имеющиеся в наличии “взятые с полки” компоненты. Это контрастирует со сложностями, связанными с описанным выше производством локализующих пластырей.
В предпочтительной форме устройства выпускной канал распылителя сообщается с пространством, образованным внутри колпака пригодной конфигурации и размеров. Такой колпак особенно пригоден в обстоятельствах, предусматривающих трансдермальное применение вещества, поскольку он может способствовать тому, что выдаваемое вещество будет локализовано в заданном районе предназначения. Предпочтительно то, что колпак образует сплошное, невентилируемое ограждение над районом предназначения и таким образом уменьшает риск отклонения распыленной струи и потерю вследствие этого выдаваемого вещества. Кроме того, колпак может функционировать как средство для регулирования расстояния. То есть, когда открытый раструб колпака входит в контакт с поверхностью, окружающей заданный район предназначения, расстояние между районом предназначения и выпускным каналом распылителя предпочтительно по существу равно идеальному расстоянию, с которого следует распылять вещество на район предназначения.
Используемый здесь термин “невентилируемый” не следует понимать как требующий полного отсутствия контакта с атмосферой. Предпочтительный колпак является “невентилируемым” в том смысле, что он не имеет отверстий, специально сделанных в боковой стенке (например, как в устройстве по патенту США №6113008), или в наружной кромке, предназначенной для вхождения в контакт с поверхностью, окружающей район предназначения.
Средство для закрывания распылителя может быть сформировано или расположено на крышке, которая приспособлена для закрывания открытого раструба колпака, когда устройство не используют. Для примера, закрывающее средство может включать в себя удлиненный стержень, который отступает наружу от стенки крышки. Устройство таково, что конец стержня, удаленный от стенки крышки, входит в выпускной канал распылителя и/или входит в контакт с распылителем вокруг выпускного канала, когда крышка установлена на колпак. Предпочтительно, чтобы стенка крышки была гибкой и подвергалась упругой деформации, когда крышка установлена на колпак. Напряжение, создаваемое таким образом в стенке крышки, стремится толкать закрывающий стержень к выпускному каналу распылителя и таким образом поддерживать необходимое закрывающее усилие между стержнем и выпускным каналом.
Состояние, названное “потерей эффективности первого применения” может возникать в дозирующей системе, когда устройство не используют. Одной причиной такой потери эффективности первого применения является испарение, в частности, когда используют летучие вещества. В результате воздух занимает пространство в дозирующей системе, которое предназначалось для вещества. Таким образом, когда устройством после этого манипулируют для выдачи вещества, выданное количество будет меньше назначенного измеренного количества.
Термин “полная заправка” следует понимать как содержание количества вещества, по существу равного измеренному количеству, назначенному для выдачи из устройства при работе надлежащим образом.
Для обеспечения выдачи полной заправки вещества устройство, соответствующее второму аспекту изобретения, может снабжаться средством для абсорбирования предварительного количества вещества. Перед нормальным использованием устройства абсорбирующее средство располагают в положении, выровненном относительно выпускного канала распылителя, и устройство приводят в действие для того, чтобы предварительное количество вещества было направлено на абсорбирующее средство. Дозирующая система устройства таким образом будет прокачана в том смысле, что после этого она содержит полную заправку вещества. После удаления абсорбирующего средства от выпускного канала распылителя устройство можно приводить в действие для выдачи заданного измеренного количества вещества.
Указанное выше абсорбирующее средство может заменять закрывающее средство, соответствующее описанному первому аспекту изобретения. То есть может не быть необходимости снабжать устройство и средством для закрывания распылителя и описанным выше средством предварительной подготовки. Каждое из этих средств имеет способность контролировать потерю первоначального заполнения, чтобы таким образом повысить надежность и эффективность устройств для дозирования вещества и, следовательно, применимо само по себе. С другой стороны, если необходимо, устройство может содержать и закрывающее средство и средство для предварительной подготовки.
Устройство, соответствующее обоим описанным выше аспектам изобретения, может быть устройством одноразового применения или заправляемым. То есть в одной форме все устройство можно выбрасывать, когда содержимое капсулы выпущено, тогда как в другой форме капсула может устанавливаться в полый корпус устройства с возможностью извлечения таким образом, чтобы обеспечивать ее извлечение и замену на полностью заправленную капсулу.
Кроме того, в устройстве, соответствующем любому из двух описанных аспектов изобретения, форма исполнительного средства может отличаться в соответствии с тем, выдается ли вещество при помощи приводимого вручную насоса или способом аэрозольного типа. В первом случае насос может формировать часть исполнительного средства. В последнем случае исполнительное средство может иметь клапан, приводимый в действие для соединения распылителя с содержимым контейнера с веществом под давлением.
Подробное описание предпочтительного варианта осуществления изобретения
Варианты осуществления изобретения описаны подробно в нижеследующем описании со ссылками на прилагаемые чертежи. Однако чертежи являются только иллюстрацией того, как может осуществляться изобретение, и, таким образом, конкретную форму и устройство показанных различных признаков не следует понимать как ограничивающие изобретение.
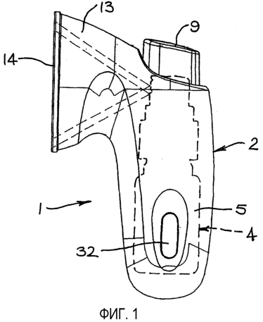
На чертежах:
Фиг.1 – вертикальный вид сбоку одной формы дозирующего устройства, включающей пример осуществления изобретения;
фиг.2 – вертикальный вид сзади устройства, показанного на фиг.1;
фиг.3 – сечение, выполненное по линии III-III на фиг.2;
фиг.4 – вид с пространственным разделением деталей устройства, показанного на фиг.3;
фиг.5 – вид, подобный показанному на фиг.3, но показывающий пылезащитную крышку; расположенную поверх выходного отверстия устройства;
фиг.6 – вертикальный вид сбоку устройства, показанного на фиг.5;
фиг.7 – сечение пылезащитной крышки, показанной на фиг.5;
фиг.8 – вид в увеличенном масштабе оконечности стержня пылезащитной крышки; показанной на фиг.7, и поверхности, с которой взаимодействует эта оконечность;
фиг.9 – сечение другой формы пылезащитной крышки, которая может использоваться с устройством, показанным на фиг.1-3.
Пример дозирующего устройства 1, показанный на прилагаемых чертежах, включает в себя полый корпус 2, имеющий камеру 3 (фиг.3) для приема капсулы 4, которая может быть заменяемой в некоторых обстоятельствах. Содержимое (вещество) капсулы 4 будет подобрано в соответствии с заданным предназначением устройства 1. В показанном примере капсула 4 включает в себя контейнер 5 для вещества и приводимый в действие вручную насос 6 (фиг.3) для выдачи измеренного количества вещества. Могут быть приняты другие устройства, такие как дозатор аэрозольного типа, и в этом случае внутри верхней части или какой-либо другой удобной части капсулы 4 мог бы применяться пригодный регулирующий клапан (не показан).
В предпочтительном варианте применения устройства 1 вещество, содержащееся в контейнере 5, содержит физиологически активное вещество в жидком растворе и носитель, подобранный для содействия абсорбции активного вещества сквозь кожу использователя. Жидкий раствор предпочтительно включает в себя летучий растворитель, тогда как носитель предпочтительно является нелетучим. В одном варианте выполнения устройства носителем может быть октилсалицилат.
Как бы ни направлялось вещество из устройства, предпочтительно оно наносится в район предназначения в относительно низких объемах. Для примера, вещество может осаждаться в пределах от 1 до 10 мкл на квадратный сантиметр района предназначения.
Предпочтительно, как показано на фиг.4, чтобы корпус 2 был сформирован из двух отделяемых друг от друга частей 2а и 2b. Эти части формируют камеру 3, когда их соединяют друг с другом, как показано на фиг.1 и 6, при этом для соединения с возможностью разъединения этих двух частей 2а и 2b может быть применено любое пригодное средство. В показанном устройстве штифты 7, расположенные на части 2а, приспособлены для посадки в соответствующие им отверстия 8, расположенные на части 2b (фиг.4). Штифты 7 и отверстия 8 взаимодействуют таким образом, чтобы предотвращать непреднамеренное разделение частей 2а и 2b.
В показанном конкретном устройстве на корпусе 2 подвижно установлена кнопка 9 исполнительного средства таким образом, чтобы она была доступна на верхнем конце корпуса 2 (фиг.1, 5 и 6). Кнопка 9 взаимодействует с насосом 6 так, что нажатие на кнопку 9 вызывает срабатывание насоса 6. Когда насос 6 приводят в действие, определенное количество вещества отводится из контейнера 5 и вытесняется через выпускной распылитель 10, соединенный с насосом 6, возможно, в форме распыленной струи. В показанном устройстве кнопка 9 расположена над выпускным распылителем 10 и имеет отверстие 11, выровненное относительно выпускного канала 12 распылителя 10 таким образом, чтобы обеспечивать выход выдаваемого вещества. Насос 6 работает известным способом для сжатия содержимого контейнера 5 для вещества и таким образом для вытеснения измеренного количества вещества через распылитель 10.
Колпак 13, предпочтительно имеющий коническую форму, выполнен с возможностью соединения со стороной корпуса 2, прилегающей к распылителю 10. Колпак 13 выполнен так, чтобы окружать распыленную струю вещества, исходящую из распылителя 10, и служить ограждением для этой распыленной струи таким образом, чтобы все или максимальное количество вещества осаждалось на заданном районе назначения. В этом отношении колпак 13 предпочтительно является невентилируемым, как было определено выше. Колпак 13 может также функционировать как регулятор расстояния. То есть расстояние между распылителем 10 и внешней кромкой 14 колпака 13 может по существу соответствовать идеальному расстоянию, с которого вещество должно распыляться на район предназначения. Такое регулирование расстояния может быть особенно пригодным в обстоятельствах, когда устройство используют для трансдермального применения вещества.
Как показано на фиг.5 и 6, к внешнему концу колпака 13 может прикрепляться с возможностью отсоединения защитная крышка 15 таким образом, чтобы закрывать открытый раструб 16 (фиг.3) колпака 13. Крышку 15 удаляют, когда должен приводиться в действие насос 6, и возвращают на место, когда насос 6 не используют. Для обеспечения съемного прикрепления крышки 15 можно использовать любое пригодное средство. Одним возможным вариантом является применение защелкивающегося зацепления между крышкой 15 и колпаком 13. Для примера, кольцевое ребро 17 или выступы, сформированные на внутренней поверхности боковой стенки 21 крышки 15, выполнены с возможностью с защелкиванием входить в зацепление с внешним кольцевым ребром 19, сформированным на колпаке 13 (фиг.3).
В устройстве, показанном на фиг.4-6, дозирующее устройство 1 снабжено средством для закрывания распылителя 10, когда устройство не используют. Для этой цели может использоваться любое пригодное средство. Однако в устройстве, показанном на фиг.4, 5 и 6, средство для закрывания распылителя содержит элемент 20, прикрепленный к торцевой стенке 21 крышки 15. Предпочтительно, как показано, элемент 20 выполнен в форме удлиненного стержня, проходящего вдоль оси крышки 15 и прикрепленного к торцевой стенке 21. Длина элемента 20 такова, чтобы обеспечивать вхождение в контакт оконечности 22 вокруг и/или внутри выпускного канала распылителя 10, когда крышка 15 надлежащим образом установлена на место на колпаке 13.
В соответствии с показанным предпочтительным вариантом осуществления изобретения торцевая стенка 21 крышки 15 гибкая и длина элемента 20 такова, чтобы вызывать изгибание стенки 21 наружу, когда крышка 15 надлежащим образом установлена на колпаке 13. То есть когда оконечность 22 стержня входит в контакт с распылителем 10 внутри или вокруг выпускного канала, надлежащее взаимодействующее зацепление между ребрами 17 и 19 не может быть достигнуто, пока стенка 21 не будет выгнута наружу. Это выгибание наружу показано, возможно, в преувеличенной форме, прерывистой линией на фиг.7. Когда стенка выгибается наружу, она подвергается упругой деформации таким образом, что внутри стенки 21 создается внутреннее напряжение. Упругость стенки 21 такова, что она стремится вернуться в недеформированное состояние и таким образом ослабить внутреннее напряжение, но такое восстановление предотвращается прочностью элемента 20. Элемент 20, таким образом, находится в сжатом состоянии и в результате создает закрывающее усилие между оконечностью 22 элемента 20 и распылителем 10. Степень упругости предпочтительно задается так, чтобы сообщать закрывающее усилие между оконечностью 22 элемента 20 и распылителем 10.
На фиг.7 показана торцевая стенка 21, имеющая выгнутую наружу конфигурацию, когда она находится в ненапряженном состоянии. Это не является существенным признаком. Для примера, стенка 21 могла бы быть плоской, как показано на фиг.9, когда она находится в ненапряженном состоянии.
Эффективность уплотнения между оконечностью 22 стержня и распылителем 10 может быть усилена посредством применения уплотнительного средства, такого как эластичное уплотнительное средство на оконечности 22. В альтернативном варианте, как показано на фиг.7 и 8, уплотнительное средство может содержать относительно тонкое упругое кольцевое уплотнительное ребро 23, проходящее в целом в осевом направлении элемента 20. Могут применяться другие типы уплотнительных средств. Кроме того, уплотнительное средство может быть расположено на распылителе 10, а не на элементе 20, или оно может применяться и на элементе 20 и на распылителе 10.
На фиг.8 показано устройство уплотнения между элементом 20 и распылителем 10, которое было на практике признано удовлетворительным. Как показано, оконечность 22 элемента 20 конфигурирована так, что она образует уплотнительное ребро 23. Радиально-внутренняя поверхность 24 ребра 23 наклонена внутрь и назад для получения уплотнительной поверхности, которая действует, как описано ниже. Сразу после ребра 23 в элементе 20 сформирована выемка 25, которая действует, как описано ниже.
Как показано на фиг.8, канал 12 распылителя выходит на поверхность 26 распылителя 10, которая расположена против оконечности элемента 20. Поверхность 26 окружена конической поверхностью 27, которая по существу соответствует поверхности 24 уплотнительного ребра 23. Между конической поверхностью 27 и окружающей ее цилиндрической поверхностью 29 образован вырез 28 для приема уплотнительного ребра 23. Предпочтительно диаметр поверхности 29 таков, что между этой поверхностью и оконечностью 22 стержня существует зазор, когда оконечность 22 стержня находится внутри выреза 28.
Закрывание распылителя 10 происходит, когда поверхность 24 уплотнительного ребра 23 прижимается к поверхности 27 распылителя. Как было указано выше, уплотнительное ребро 23 обладает определенной эластичностью и это служит для обеспечения удовлетворительного уплотняющего контакта между поверхностями 24 и 27.
Выемка 25 была признана полезной, поскольку она создает воздушное пространство за поверхностью 26 распылителя. Было обнаружено, что при отсутствии такого воздушного пространства, хранящееся в устройстве вещество стремится просачиваться из выходного конца канала 12 распылителя, возможно, вследствие капиллярного эффекта. Будет понятно, что для противодействия такой потере вещества могут применяться другие приспособления. Кроме того, могут применяться другие конфигурации уплотнения, отличные от показанной на фиг.8. Для направления оконечности 23 элемента 20 в правильное положение вхождения в контакт с распылителем 10 может применяться направляющее средство. Такое направляющее средство может также служить для сведения к минимуму вероятности повреждения уплотнительного ребра 23, когда крышку 15 помещают на колпак 13. Согласно показанному примеру выполнения устройства, направляющее средство включает в себя конический направляющий канал 30, который отступает наружу от выпускного отверстия 11 кнопки 9 исполнительного средства и окружает его (фиг.3 и 4). Как лучше видно на фиг.3, площадь поперечного сечения канала 30 увеличивается по направлению от отверстия 11.
Вместо использования описанного выше средства для закрывания распылителя устройство 1 может быть снабжено средством для прокачки подающей системы насоса 6 при подготовке к использованию устройства для выдачи измеренного количества вещества. Одна возможная форма средства для прокачки показана на фиг.9. В этом примере применена подушечка или тампон 31 из абсорбирующего материала, расположенная на внутренней поверхности торцевой стенки 21 крышки, в изгибании которой наружу, как показано на фиг.7, в данном случае нет необходимости. Прокачка насоса 6 достигается посредством приведения его в действие для распыления некоторого количества содержащегося в устройстве вещества на тампон 31, когда крышка 15 расположена на открытом раструбе колпака 13. Обычно необходимо полностью нажать на кнопку 9 по меньшей мере один раз для достижения удовлетворительной прокачки, хотя могут потребоваться два или более полных нажатий. Операция прокачки может осуществляться, когда крышка 15 прикреплена к колпаку 13, или когда ее удерживают снятой с колпака 13. Однако в последнем случае крышку 15 предпочтительно удерживают относительно близко к наружному концу колпака 13. Тампон 31 может быть извлекаемым из крышки 15, чтобы иметь возможность его замены на свежий тампон, если необходимо и когда необходимо.
Если необходимо, в стенке корпуса 2 может быть выполнено смотровое окно 32 для предоставления пользователю возможности видеть, когда количество вещества в капсуле 4 становится малым (фиг.4 и 6).
Из приведенного выше описания понятно, что дозирующее устройство, соответствующее изобретению, способно обеспечивать выдачу полной измеренной дозы вещества каждый раз, когда устройство приводят в действие. Согласно одному аспекту изобретения, этот результат достигается благодаря эффективному закрыванию выпускного распылителя, когда устройство не используют. Согласно другому аспекту, этот результат достигается посредством применения средства, благодаря которому насос можно прокачивать перед нормальным использованием.
В конструкции и компоновки описанных выше деталей могут быть внесены различные изменения, модификации и/или дополнения без отхода от сущности или объема изобретения, определенного прилагаемой формулой изобретения.
Формула изобретения
1. Ручное дозирующее устройство для дозирования вещества и нанесения этого вещества на кожу пользователя, содержащее полый корпус, капсулу для вещества, установленную внутри корпуса, контейнер для вещества, формирующий часть указанной капсулы, распылитель, имеющий выпускной канал, исполнительное средство, соединенное с внутренним пространством указанного контейнера и приводимое в действие для выдачи измеренного количества указанного вещества через выпускной канал распылителя, колпак с открытым расширяющимся раструбом на наружном конце для ограничения пространства для приема указанного вещества, исходящего из выпускного канала распылителя, и закрывающее средство, включающее в себя крышку, расположенную на колпаке и имеющую возможность закрывать или открывать распылитель для управления выходом указанного вещества из капсулы.
2. Дозирующее устройство по п.1, в котором закрывающее средство содержит закрывающий элемент, имеющий возможность входить в контакт с поверхностью, окружающей выходной конец выпускного канала для закрывания выпускного канала.
3. Дозирующее устройство по п.2, содержащее средство для приложения закрывающего усилия к закрывающему элементу при вхождении этого элемента в контакте с указанной поверхностью.
4. Дозирующее устройство по п.1, в котором указанная крышка прикреплена к наружному концу раструба, проходит в поперечном направлении и закрывает указанный открытый раструб, когда указанное закрывающее средство закрывает указанный распылитель, при этом крышка выполнена с возможностью отделения от наружного конца раструба без прохождения поперек открытого раструба при манипулировании указанным закрывающим средством для открывания указанного распылителя.
5. Дозирующее устройство по п.4, в котором распылитель включает в себя выпускной канал, имеющий выходной конец, причем указанное закрывающее средство содержит удлиненный закрывающий элемент, имеющий первый конец, соединенный с крышкой, и второй конец, который входит в контакт с поверхностью распылителя с возможностью закрывания распылителя.
6. Дозирующее устройство по п.5, содержащее средство для приложения закрывающего усилия к закрывающему элементу при вхождении этого элемента в контакт с поверхностью распылителя.
7. Дозирующее устройство по п.6, в котором средство для приложения усилия включает в себя гибкую торцевую стенку крышки, при этом первый конец закрывающего элемента соединен с центральным участком торцевой стенки, а торцевая стенка выполнена с возможностью упругого деформирования для передачи сжатия закрывающему элементу, когда крышка прикреплена к указанному наружному концу колпака и закрывающий элемент входит в контакт с поверхностью распылителя.
8. Дозирующее устройство по п.7, в котором крышка выполнена с возможностью отсоединения и вхождения в защелкивающееся зацепление с наружным концом колпака.
9. Дозирующее устройство по любому из пп.4-8, в котором расстояние между распылителем и наружным концом колпака обеспечивает регулировку при помощи колпака расстояния между распылителем и областью, на которую осаждается указанное вещество.
10. Дозирующее устройство по п.9, в котором размер открытого раструба равен размеру области, на которую осаждается вещество.
11. Дозирующее устройство по любому из пп.2 и 3 и 5-8, в котором вблизи распылителя расположено направляющее средство для приема, по меньшей мере, части указанного закрывающего элемента и направления этого элемента в положение контакта с поверхностью распылителя при манипулировании закрывающим средством для закрывания распылителя.
12. Дозирующее устройство по любому из пп.2 и 3, 5-8, в котором закрывающий элемент снабжен гибким уплотнительным средством, входящим в контакт с поверхностью распылителя при манипулировании закрывающим элементом для закрывания распылителя.
13. Дозирующее устройство по п.12, в котором уплотнительное средство содержит гибкое кольцевое уплотнительное ребро, окружающее выходной конец канала, когда оно входит в контакт с поверхностью распылителя.
14. Дозирующее устройство по п.13, в котором в закрывающем элементе выполнена выемка, сообщающаяся с выходным концом, когда уплотнительное средство и поверхность распылителя входят в контакт друг с другом.
15. Дозирующее устройство по любому из пп.1-3, содержащее абсорбирующее средство, располагаемое вровень с распылителем и имеющее возможность абсорбирования предварительного количества указанного вещества, подаваемого через распылитель в ходе, по меньшей мере, первого из серии действий исполнительного средства, причем абсорбирующее средство выполнено с возможностью удаления от положения, выровненного относительно распылителя, для обеспечения выдачи полной заправки указанного вещества через распылитель в ходе последующего одного из серии действий исполнительного средства.
16. Дозирующее устройство по п.15, в котором абсорбирующее средство включает в себя подушечку из абсорбирующего материала, прикрепленную к указанной крышке, а крышка имеет возможность отсоединения и соединения с частью устройства таким образом, что подушечка располагается на пути движения указанного вещества, выдаваемого через указанный распылитель.
17. Дозирующее устройство по п.16, в котором подушечка с возможностью отсоединения прикреплена к крышке.
18. Дозирующее устройство по любому из пп.3-8, в котором колпак образует невентилируемую стенку вокруг пространства, в которое подается вещество.
19. Ручное дозирующее устройство для дозирования вещества и нанесения этого вещества на кожу пользователя, содержащее полый корпус, капсулу для вещества, установленную внутри корпуса, контейнер для указанного вещества, формирующий часть капсулы, распылитель, насос, соединенный с внутренним пространством контейнера для выдачи измеренного количества указанного вещества через распылитель в форме распыленной струи, исполнительное средство, установленное на корпусе и имеющее возможность приводить в действие насос, и абсорбирующее средство, располагаемое вровень с распылителем и имеющее возможность абсорбирования предварительного количества указанного вещества, выдаваемого через распылитель в ходе, по меньшей мере, первого из серии действий исполнительного средства, причем абсорбирующее средство выполнено с возможностью удаления от положения, выровненного относительно распылителя, для обеспечения выдачи полной заправки указанного вещества через распылитель в ходе последующего одного из серии действий исполнительного средства.
20. Дозирующее устройство по п.19, включающее в себя крышку, причем указанное абсорбирующее средство содержит подушечку из абсорбирующего материала, прикрепленную к крышке, а крышка выполнена с возможностью отсоединения и соединения с частью устройства таким образом, что подушечка располагается на пути движения указанного вещества, выдаваемого через распылитель.
21. Дозирующее устройство по п.20, в котором указанной частью устройства является колпак, проходящий вокруг пространства, в которое выдается указанное вещество распылителем, причем колпак имеет открытый раструб на наружном конце, отнесенном наружу от распылителя, а крышка имеет возможность отсоединения и соединения с наружным концом раструба.
22. Дозирующее устройство по любому из пп.19-21, в котором капсула с возможностью извлечения установлена внутри полого корпуса.
23. Дозирующее устройство по п.22, в котором корпус включает в себя две разделяемые части, каждая из которых образует часть камеры, внутри которой установлена капсула.
24. Дозирующее устройство по любому из пп.19-23, в котором насос входит в исполнительное средство и соединен с распылителем и с внутренним пространством контейнера с возможностью приведения в действие для забора указанного вещества из контейнера и вытеснения забранного вещества через распылитель в форме распыленной струи.
25. Дозирующее устройство по п.19, в котором исполнительное средство содержит кнопку, подвижно установленную на корпусе и приводимую в действие для приведения в действие насоса.
26. Дозирующее устройство по любому из пп.19-23 в котором указанное исполнительное средство включает в себя клапан, при этом вещество внутри указанного контейнера находится под давлением, а клапан имеет возможность приведения в действие для соединения внутреннего пространства контейнера с распылителем и выдачи указанного вещества в форме аэрозоля.
27. Дозирующее устройство по п.26, в котором исполнительное средство содержит кнопку, подвижно установленную на корпусе и приводимую в действие для открывания клапана.
28. Дозирующее устройство по любому из пп.19-25 в котором указанное вещество включает в себя лекарственное вещество в растворе и носитель, имеющий возможность содействовать абсорбции лекарственного вещества сквозь кожу пользователя.
29. Дозирующее устройство по п.28, в котором раствор включает в себя летучий растворитель.
30. Дозирующее устройство по п.28, в котором указанный носитель нелетучий.
31. Дозирующее устройство по п.30, в котором носителем является октилсалицилат.
32. Дозирующее устройство по п.19, в котором корпус приспособлен для захвата рукой пользователя, а распылитель приспособлен для выдачи указанного вещества в боковом направлении относительно главной оси корпуса, поперечной пальцам пользователя при его захвате.
РИСУНКИ
|
|