|
|
(21), (22) Заявка: 2003101065/14, 15.06.2001
(24) Дата начала отсчета срока действия патента:
15.06.2001
(30) Конвенционный приоритет:
16.06.2000 (пп1, 2, 4) DK PA200000932 07.03.2001 (п.3) DK PA200100372
(43) Дата публикации заявки: 27.07.2004
(45) Опубликовано: 27.02.2006
(56) Список документов, цитированных в отчете о поиске:
US 5112317 А, 12.05.1992. WO 9114467 А1, 03.10.1991. FR 2767479 A1, 26.02.1999. RU 2111019 C1, 20.05.1998.
(85) Дата перевода заявки PCT на национальную фазу:
16.01.2003
(86) Заявка PCT:
DK 01/00418 (15.06.2001)
(87) Публикация PCT:
WO 01/95959 (20.12.2001)
Адрес для переписки:
129010, Москва, ул. Б.Спасская, 25, стр.3, ООО “Юридическая фирма Городисский и Партнеры”, пат.пов. Г.Б. Егоровой
|
(72) Автор(ы):
МЕЛЛЕР Клаус Шмидт (DK)
(73) Патентообладатель(и):
НОВО НОРДИСК А/С (DK)
|
(54) ИНЪЕКЦИОННОЕ УСТРОЙСТВО С РЕДУКТОРОМ
(57) Реферат:
Изобретение относится к медицинской технике, а именно к шприцам, с помощью которых дозу можно задавать поворотом задающего дозу элемента, и в которых инъекционная кнопка поднимается от конца шприца на расстояние, пропорциональное заданной дозе, и в которых заданную дозу можно ввести нажатием до нужного положения инъекционной кнопки до ее неподнятого положения. Инъекционное устройство содержит корпус, гайку и задающий дозу барабан. Корпус имеет шток поршня с резьбой с первым шагом, выполненный без возможности поворота, но с возможностью направляемого перемещения в продольном направлении. Гайка, зацепляющая резьбу штока поршня, выполнена с возможностью перемещения винтовым движением по резьбовому штоку поршня от определенного положения в корпусе, чтобы задавать дозу, и отжимания назад в указанное определенное положение, перемещая собой шток поршня для осуществления инъекции заданной дозы. Задающий дозу барабан выполнен с возможностью во время задания дозы перемещения винтовым движением в наружном направлении в корпусе по резьбе со вторым шагом, который больше указанного первого шага. Обеспечено съемное соединение, соединяющее задающий дозу барабан с инъекционной кнопкой для поворота указанной кнопки и подъема ее от конца корпуса во время задания дозы и отсоединяющее задающий дозу барабан от инъекционной кнопки при нажатии этой кнопки для инъекции дозы. Между инъекционной кнопкой и гайкой обеспечен редуктор, имеющий зубчатые колеса и зубчатые рейки в постоянном зацеплении. Редуктор выполнен с возможностью передачи поворота инъекционной кнопки непосредственно на гайку и передачи осевого перемещения инъекционной кнопки относительно корпуса на гайку с передаточным числом, соответствующим отношению указанного второго и первого шагов. Технический результат – простота, надежность и легкость в использовании. 3 з.п. ф-лы, 5 ил. 
Устройство относится к шприцам, с помощью которых дозу можно задавать поворотом задающего дозу элемента, и в которых инъекционная кнопка поднимается от конца шприца на расстояние, пропорциональное заданной дозе, и в которых заданную дозу можно ввести нажатием до нужного положения инъекционной кнопки до ее неподнятого положения.
Почти классический шприц этого типа в виде ручки описан в документе ЕР 327910.
При задании дозы в этом шприце в виде ручки трубчатый элемент, формирующий инъекционную кнопку, винтовым движением перемещают вверх по резьбовому штоку поршня на расстояние, соответствующее тому расстоянию, на которое указанный шток поршня должен переместиться для инъекции заданной дозы. Трубчатый элемент просто формирует гайку, которую во время задания дозы винтовым движением перемещают от стопора и которую во время инъекции отжимают назад до упора с указанным стопором, и при этом оказываемое на кнопку усилие непосредственно передают поршню, закрывая один конец ампулы в шприце, при этом указанная ампула содержит вводимое лекарственное средство. При вжатии поршня в ампулу лекарственное средство выдавливают через иглу, установленную в укупорочном средстве на другом конце ампулы.
К настоящему времени появилась необходимость хранения в ампулах большего количества лекарственного средства, обычно 3 мл вместо 1,5 мл. Поскольку удлинение шприца было сочтено нецелесообразным, вместо этого увеличили диаметр ампулы, т.е. увеличили вдвое площадь поршня, обращенного к лекарственному средству в ампуле, и поэтому пришлось удвоить прежнее усилие, оказываемое на поршень для обеспечения прежнего давления внутри ампулы. При этом расстояние, которое должен проходить поршень для инъекции единицы лекарственного средства, наполовину уменьшилось.
Это обстоятельство не является особо благоприятным, т.к. пользователям со слабыми пальцами трудно нажимать на инъекционную кнопку; причем эта проблема усугубляется тем, что для уменьшения болезненности инъекции используют еще более тонкие иглы. При этом ввиду довольно небольших перемещений кнопки трудно понять, двигается ли кнопка вообще; и при инъекции одной единицы из ампулы емкостью в 3 мл инъекционную кнопку нужно переместить только на 0,1 мм.
Вследствие этого возникла необходимость обеспечения зубчатой передачи между инъекционной кнопкой и поршнем, в результате чего кнопка имеет более длинный ход, чем поршень. За счет такой зубчатой передачи перемещение инъекционной кнопки увеличено и, соответственно, уменьшено усилие, которое нужно прилагать на инъекционную кнопку.
Согласно документу ЕР 608343 зубчатую передачу обеспечивают за счет того, что задающий дозу элемент винтовым движением перемещают вверх по резьбовому стержню с большим шагом. При отжатии указанного задающего дозу элемента назад в его осевом направлении резьба обуславливает поворот указанного задающего дозу элемента, и указанный поворот через соединение передается приводной гайке с мелкой резьбой, и указанная приводная гайка будет принудительно перемещать вперед резьбовой, но не поворотный, шток поршня.
Аналогичный зубчатый механизм раскрыт в документе WO 99/38554, и в нем резьба с большим шагом выполнена на наружной поверхности определяющего дозу барабана, и ее зацепляет соответствующая ей резьба на внутренней стороне цилиндрического корпуса. Но при такой зубчатой передаче относительно крупные поверхности скользят друг по другу, и поэтому основная часть преобразованного усилия теряется из-за трения между скользящими поверхностями. Поэтому предпочтительной является обычная зубчатая передача, использующая зубчатые колеса и зубчатые рейки взаимного зацепления.
Из документа WO 96/26754 известно инъекционное устройство, в котором два интегрированных зубчатых колеса зацепляют установленную в корпусе зубчатую рейку и зубчатую рейку внутри плунжера соответственно. Во время осевого перемещения плунжера в корпусе зубчатая рейка внутри этого плунжера может приводить в действие первое зубчатое колесо, чтобы заставить другое интегрированное зубчатое колесо перемещаться по неподвижной зубчатой рейке в корпусе. В результате этого зубчатое колесо перемещается в направлении перемещения плунжера, но на более короткое расстояние, чем длина этого плунжера; и это осевое перемещение интегрированных зубчатых колес через окружающий эти колеса корпус передается на шток поршня, который нажимает на поршень ампулы дальше в эту ампулу. Но зубчатая рейка внутри плунжера является одной из осевых зубчатых реек, имеющихся внутри указанного плунжера. Эти зубчатые рейки чередуются не имеющими зубцов углублениями, которые обеспечивают возможность осевого перемещения плунжера без зацепления первого зубчатого колеса с зубчатой рейкой в этом плунжере. За счет этого решения плунжер может перемещаться из корпуса, когда задают дозу. При повороте плунжера для задания дозы его перемещают в наружном направлении на расстояние, соответствующее одной единице, за счет выполнения той части поворота, когда первое зубчатое колесо проходит не имеющее зубцов углубление, и затем первое зубчатое колесо зацепляет одну из зубчатых реек, чтобы обеспечить возможность инъекции этой заданной дозы; либо поворот можно продолжать, чтобы первое зубчатое колесо прошло следующее углубление, и чтобы во время этого прохождения заданная доза увеличилась еще на одну единицу, и так далее до определения нужного числа единиц.
Недостаток этой конструкции заключается в том, что зубцы зубчатых реек и зубчатые колеса нужно попеременно приводить в зацепление друг с другом и выводить из него, что сопровождается риском столкновения зубцов. Поскольку только несколько зубчатых реек, отделенных промежуточными не имеющими зубцов углублениями, можно разместить на внутренней поверхности плунжера, поэтому при повороте на 360° можно выполнить только несколько приращений.
Задача данного изобретения заключается в обеспечении инъекционного устройства, которое сочетает в себе преимущества устройств известного уровня техники и не имеет их недостатков, и в обеспечении устройства с прямой зубчатой передачей, т.е. с зубчатой передачей, в которой исключено большее число преобразований вращательного движения в линейное, и линейного движения во вращательное между инъекционной кнопкой и штоком поршня.
Указанную задачу можно решить за счет инъекционного устройства, содержащего корпус, в котором шток поршня с резьбой первого шага выполнен без возможности поворота, но с возможностью направляемого перемещения в продольном направлении, гайку, зацепляющую резьбу штока поршня и выполненную с возможностью перемещения винтовым движением по резьбовому штоку поршня от определенного положения в корпусе, чтобы задавать дозу, и отжимания назад в указанное определенное положение, перемещая собой шток поршня для осуществления инъекции заданной дозы, задающий дозу барабан, выполненный с возможностью во время задания дозы перемещения винтовым движением в наружном направлении в корпусе по резьбе со вторым шагом, который больше указанного первого шага, при этом в соответствии с изобретением инъекционное устройство отличается тем, что обеспечено съемное соединение, соединяющее задающий дозу барабан с инъекционной кнопкой для поворота указанной кнопки и подъема ее от конца корпуса во время задания дозы и отсоединяющее задающий дозу барабан от инъекционной кнопки при нажатии этой кнопки для инъекции дозы, и тем, что между инъекционной кнопкой и гайкой обеспечен редуктор, имеющий зубчатые колеса и зубчатые рейки в постоянном зацеплении, причем редуктор выполнен с возможностью передачи поворота инъекционной кнопки непосредственно на гайку, и передачи осевого перемещения инъекционной кнопки относительно корпуса на гайку с передаточным числом, соответствующим отношению указанного второго и первого шагов.
Согласно предпочтительному осуществлению изобретения зубчатую передачу между перемещениями инъекционной кнопки и гайки обеспечивают редуктором, который содержит, по меньшей мере, одно зубчатое колесо, установленное на соединителе, который выступает из редуктора и выполнен с возможностью смещения в продольном направлении, но без возможности поворота относительно указанного редуктора, и выполнен заодно с гайкой, первую зубчатую рейку, выполненную заодно с первым элементом редуктора, при этом указанный элемент выполнен с возможностью поворота, но без возможности продольного смещения относительно корпуса, и второй элемент, на котором установлена вторая зубчатая рейка, выступающая из указанного редуктора, выполненная с возможностью продольного смещения, но без возможности поворота относительно указанного первого элемента, и соединенная с инъекционной кнопкой, чтобы следовать продольным перемещениям указанной кнопки, при этом, по меньшей мере, одно зубчатое колесо зацепляет первую и вторую зубчатые рейки соответственно, и его размеры обеспечивают зубчатую передачу, при которой продольное перемещение второй зубчатой рейки преобразуют в продольное перемещение соединителя с передаточным числом для указанных продольных перемещений второй зубчатой рейки и соединителя относительно корпуса, причем указанное передаточное число соответствует отношению указанного второго шага и указанного первого шага.
В этом устройстве резьба с большим шагом преобразует только усилия, необходимые для приведения в действие определяющего дозу барабана, а усилия для перемещения поршня при инъекции передают указанному поршню с помощью обычной зубчатой передачи с постоянным зацеплением зубчатых колес и зубчатых реек.
Поршневой шток имеет стопор перемещения гайки по резьбе указанного штока поршня. Таким обычным способом обеспечивают ограничитель задания дозы: отсутствуют обычные элементы, препятствующие заданию дозы свыше количества жидкости, остающейся в ампуле.
Далее изобретение описано более подробно со ссылкой на прилагаемые чертежи, на которых:
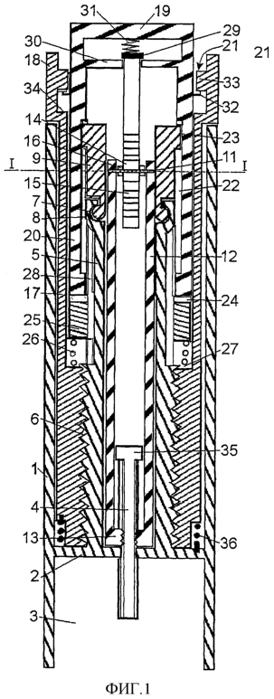
фиг.1 – схематическое изображение сечения инъекционного устройства согласно данному изобретению,
фиг.2 – схематическое изображение сечения редуктора по линии I-I фиг.1,
фиг.3 – продольное сечение задающей дозу детали еще одного осуществления инъекционного устройства согласно данному изобретению,
фиг.4 – продольное сечение, перпендикулярное изображаемому на фиг.3 виду,
фиг.5 – изображение иллюстрируемого на фиг.3 и 4 устройства с пространственным разнесением деталей.
В изображаемом на фиг.1 устройстве удлиненный цилиндрический корпус 1 имеет перегородку 2, которая разделяет корпус на отсек, содержащий задающий дозу механизм, и на отсек 3, который вмещает ампулу (не изображена). Резьбовой шток 4 поршня имеет некруглое поперечное сечение, которое соответствует центральному отверстию в перегородке 2, в результате чего шток 4 поршня может смещаться в продольном направлении через центральное отверстие в перегородке 2, но не будет поворачиваться относительно этой перегородки.
Концентрично с корпусом 1, на той стороне перегородки 2, которая обращена от отсека 3, расположен трубчатый элемент 5, который на его части, которая прилегает к перегородке 2, имеет внешнюю резьбу 6, и который на своем свободном конце имеет круговое углубление 7. Кольцеобразный элемент 8 соединения на редукторе 9 зацепляет углубление 7. За счет этого соединения редуктор фиксируется в корпусе 1 таким образом, что обеспечивает редуктору 9 возможность поворота в корпусе, но не позволяет его осевое смещение относительно указанного корпуса.
В редукторе 9 узел зубчатого колеса, содержащий два выполненных заодно зубчатых колеса, шарнирно соединен с валом 11, который проходит перпендикулярно продольной оси устройства между двумя осевыми соединительными стержнями 12. Соединительные стержни 12 выступают из редуктора в сторону перегородки 2 и соединены с гайкой 13, которая вблизи перегородки 2 зацепляет резьбу штока 4 поршня. Узел зубчатого колеса содержит зубчатое колесо 14 большого диаметра, зацепляющего зубцы зубчатой рейки 15, которая выполнена с возможностью направляемого смещения в редукторе в продольном направлении устройства, и зубчатое колесо 16 меньшего диаметра, зацепляющее изображаемую на фиг.2 зубчатую рейку 10, проходящую в продольном направлении устройства на внутренней стенке редуктора 9. Зубчатое колесо 16 меньшего диаметра может подразделяться на два зубчатых колеса, расположенные на каждой стороне зубчатого колеса 14, и зубчатая рейка на внутренней стенке редуктора 9 может иметь продольное углубление без зубцов, чтобы обеспечивать место для зубчатого колеса 14.
Трубчатый задающий дозу барабан 17, установленный в корпусе 2, на своем конце имеет внутреннюю резьбу, соответствующую наружной резьбе 6 трубчатого элемента 5 и зацепляющуюся с ней, и на своем другом конце имеет часть более крупного диаметра, формирующую задающую дозу кнопку 18. Благодаря зацеплению с резьбой 6 задающий дозу барабан 17 можно винтовым движением вводить в корпус и выводить из него согласно номерам (не изображены) на спиральной шкале на его внешней поверхности в окне (не изображено) корпуса 1.
Дно 19 в элементе в виде глубокой чашки, который имеет трубчатую часть 20, входящую в задающий дозу барабан 17 и охватывающую редуктор 9, образует инъекционную кнопку. Средство соединения между задающим дозу барабаном 17 и чашеобразным элементом обеспечивает передачу поворота задающего дозу барабана 17 на чашеобразный элемент. Внутренняя стенка трубчатой части 20 имеет продольные углубления 22, которые зацепляются выступами 23 на редукторе 9 для передачи поворота задающего дозу барабана 17 через чашеобразный элемент на редуктор 9.
На кромке открытого конца чашеобразного элемента расположен венец V-образных зубцов, которые зацепляют соответствующий венец V-образных зубцов 24 на кольце 25, который прижат к кромке чашеобразного элемента пружиной 26, сжатой между не имеющей зубцов стороной кольца 25 и скругленным плечом 27 на внутренней стенке задающего дозу барабана 17 на внутреннем конце внутренней резьбы этого барабана. Кольцо имеет внутреннее углубление, которое зацепляется продольным ребром 28 на трубчатом элементе 5, в результате чего кольцо 25 может смещаться в осевом направлении устройства, но не может поворачиваться относительно корпуса 1. Таким образом сформировано защелкивающееся соединение, которое защелкивается, когда V-образные зубцы на кромке чашеобразного элемента при повороте этого элемента проходят по V-образным зубцам кольца 25.
Головка 29 на выступающем конце зубчатой рейки 15, с некоторым люфтом, зафиксирована на дне чашеобразного элемента между дном 19, формирующим инъекционную кнопку, и внутренней стенкой 30 вблизи этого дна. Зубчатая рейка зафиксирована в положении, при котором ее головка прижата к стенке 30 пружиной 31 между дном 19 и головкой 29.
Для задания дозы задающую дозу кнопку 18 поворачивают для создания винтового перемещения задающего дозу барабана 17 вверх по резьбе 6. С помощью соединения 21 чашеобразный элемент будет следовать повороту задающего дозу барабана 17 и будет поднят с этим барабаном от конца корпуса 1. За счет поворота чашеобразного элемента V-образные зубцы 24 на кромке его открытого конца будут проходить по V-образным зубцам неповоротного кольца 25, чтобы защелкиваться при каждой единице изменяемой дозы. Слишком большую заданную дозу можно уменьшить поворотом задающей дозу кнопки 18 в направлении, противоположном направлению увеличения дозы. При вращении определяющего дозу барабана по резьбе на трубчатом элементе 5 кольцо 25 будет следовать задающему дозу барабану при его осевом перемещении, так как пружина 26 опирается на плечо 27. Пружина будет удерживать V-образные зубцы кольца 25 и чашеобразный элемент в зацеплении и удерживать в зацеплении соединение 21, которое может содержать -образные выступы 32 на чашеобразном элементе, зацепляя -образные углубления во внутреннем кольце 33 в задающей дозу кнопке 18.
Поворот задающей дозу кнопки 18 и чашеобразного элемента также передается на редуктор 9 посредством выступов 23 на этом редукторе, зацепляя продольные углубления 22 во внутренней стенке трубчатой части 20 указанного чашеобразного элемента. Поворот редуктора 25 через соединительные стержни 12 передается на гайку 13, которая таким образом винтовым движением перемещается вверх по резьбе штока 4 поршня и поднимается от своего примыкания к перегородке 2, когда задают дозу. Поскольку дозу задают перемещением гайки 13 на самом штоке поршня, который приводит в действие поршень в ампуле (не показана) в отсеке 3, ограничитель задания дозы, который не дает величине заданной дозы превысить количество оставшегося в ампуле лекарственного средства, можно удобным образом создать за счет обеспечения штока 4 поршня стопором 35, который ограничивает перемещение гайки 13 вверх по штоку 4 поршня.
Поскольку головка 29 заключена в пространстве между дном 19 и стенкой 30 чашеобразного элемента, зубчатую рейку 15 перемещают в наружном направлении с помощью инъекционной кнопки. Осевое перемещение гайки 13 относительно корпуса 1 также будет передаваться узлу зубчатого колеса по соединительным стержням 12, и это перемещение с помощью редуктора обусловит перемещение зубчатой рейки 15 в наружном направлении. Это обусловленное перемещение в наружном направлении будет аналогичным перемещению в наружном направлении, обусловленному перемещением в наружном направлении инъекционной кнопки. Это обстоятельство обеспечивают за счет подбора размера зубчатых колес редуктора 9 таким, чтобы передаточное число для перемещений соединительных стержней 12 и зубчатой рейки 15 относительно корпуса соответствовало отношению шагов резьбы на штоке поршня и резьбы 6 продольного перемещения задающего дозу барабана 17.
Для инъекции заданной дозы инъекционную кнопку нажимают путем нажатия на дно 19. В первоначальной фазе нажатия пружина 31 сжимается и при этом сжимающее усилие непосредственно передается головке 29 зубчатой рейки 15 и таким образом самой зубчатой рейке 15. С помощью редуктора 9 усилие преобразуется и передается по соединительным стержням 12 на гайку 13, которая будет нажимать на шток 4 поршня в отсеке 3, пока задающий дозу барабан 17 не упрется в стенку 2.
Во время первоначальной фазы перемещения инъекционной кнопки -образные выступы 32 на чашеобразном элементе будут выходить из своего зацепления с -образными углублениями в кольце 33. Теперь задающий дозу барабан 17 можно поворачивать относительно инъекционной кнопки, и он поворачивается, когда -образные выступы 32 прижимаются к плечу 34 на дне задающей дозу кнопки 18. Необходимо только усилие, достаточное для винтового перемещения вниз, определяющего дозу самого барабана по резьбе 6, поскольку усилие, необходимое для осуществления инъекции, передается штоку 4 поршня через редуктор 9. Спиральная пружина 36 возврата, концентрическая с задающим дозу барабаном, может быть установлена на нижнем конце этого барабана, и один ее конец может быть закреплен в задающем дозу барабане 17, а другой – в перегородке 2. Во время задания дозы эту пружину можно сжать сильнее, чтобы она придавала задающему дозу барабану крутящий момент, приблизительно соответствующий крутящему моменту, необходимому для преодоления трения при перемещении задающего дозу барабана по резьбе 6, чтобы усилие, которое пользователь должен прилагать на инъекционную кнопку, было только усилием, необходимым для введения штока поршня в ампулу для инъекции заданной дозы.
Нужно отметить, что использованная зубчатая передача между перемещениями инъекционной кнопки и гайки имеет передаточное число 2:1, получаемое одним и тем же зубчатым колесом, зацепляющим и первую и вторую зубчатые рейки.
Фиг.3 и 4 иллюстрируют предпочтительное осуществление изобретения, согласно которому используют зубчатое колесо только одного размера, и элементы, соответствующие элементам фиг.1 и 2, имеют те же обозначения с индексом «1».
Незначительные изменения сделаны исходя из производственных соображений. Так, перегородка 102 и трубчатый элемент 105 выполнены в виде двух деталей, которые во время сборки соединяют друг с другом, чтобы в сборе они составляли одно целое. Таким же образом задающий дозу барабан 117 и задающую дозу кнопку 118 выполняют в виде двух деталей, которые прочно прикреплены друг к другу.
Круговое углубление 107 обеспечивают в качестве внешнего углубления на свободном конце трубчатого элемента 105, и кольцеобразное соединение обеспечивают в виде внутреннего буртика 108 на редукторном элементе 109; при этом указанный буртик зацепляет углубление 107 с обеспечением поворотного, но не смещаемого по оси соединения между трубчатой частью 105 и редуктором.
Трубчатый элемент 120 с гребнями 122, которые зацепляют углубления 123 на редукторе, в его верхнем конце закрыт кнопкой 119, от которой усилие нажатия этой кнопки передается трубчатому элементу 120.
Редуктор состоит из двух половин, которые вместе образуют цилиндр, вставленный в трубчатый элемент, при этом указанные половины направляют за счет зацепления между гребнями 122 и углублениями 123. Зубчатые рейки 110 и 115 расположены по краям обращенных друг к другу половин. Одна половина, образующая редуктор 109, имеет внутренний буртик 108, который зацепляет круговое углубление 107 на конце центральной трубчатой части 105 и на котором находится зубчатая рейка 110. Другая половина выполнена с возможностью своего осевого смещения в трубчатом элементе 120 и образует зубчатую рейку 115. Половина с расположенной на ней зубчатой рейкой 115 на своем внешнем конце, выступающем из редуктора, имеет фланец 140, который установлен в вырезе 141 в конце трубчатого элемента 120 с кнопкой 119, в результате чего эта кнопка и трубчатый элемент 120 могут перемещаться внутрь устройства, пока зацепление зубцов 132 и 133 не будет разъединено до того, как кнопка 119 упрется во фланец 140.
Трубчатый соединительный элемент 112 соединяет резьбовой шток 104 поршня с редуктором. Соединительный элемент на своем конце, зацепляющем шток 104 поршня, имеет гайку 113 с внутренней резьбой, соответствующей наружной резьбе штока поршня. Конец соединительного элемента, зацепляющий редуктор, имеет два штыря 111, выступающие перпендикулярно продольной оси соединительного элемента 112 на каждой стороне этого элемента. На каждом штыре 111 установлено зубчатое колесо 114, которое расположено между двумя зубчатыми рейками 110 и 115 и зацепляется с ними. За счет этого соединительный элемент 112 будет поворачиваться редуктором, но не сможет перемещаться в осевом направлении относительно указанного редуктора, когда зубчатые рейки 110 и 115 перемещаются относительно друг друга. Практически именно зубчатая рейка 115 перемещается относительно редукторного элемента 109 и корпуса, и с помощью этой конструкции будет обеспечено перемещение соединительного элемента 112 относительно корпуса на расстояние, составляющее половину расстояния перемещения зубчатой рейки 115.
Кольцо 125, которое по своей окружности имеет венец зубцов 124 и центральное отверстие, установлено на центральной трубке в корпусе 101, в результате чего это кольцо 125 может смещаться в осевом направлении по указанной центральной трубке 105, но внутренние гребни 128 в центральном отверстии кольца 125 зацепляют продольные углубления 137 в центральной трубке и тем самым исключают возможность поворота кольца в корпусе, в результате чего венец зубцов на кромке трубчатого элемента 120 может защелкиваться на зубцах 124 кольца, когда указанный трубчатый элемент поворачивается вместе с задающим дозу барабаном 117. Пружина 126, действующая между кольцом 125 и внутренним плечом 127 в задающем дозу барабане 117, принуждает кольцо следовать трубчатому элементу 120, когда этот элемент с задающим дозу барабаном перемещается в продольном направлении в корпусе. Для облегчения поворота задающего дозу барабана, особенно когда указанный задающий дозу барабан прижимается внутрь корпуса, обеспечивают роликоподшипник, имеющий внешнее кольцо 142, опирающееся на плечо 127, и внутренне кольцо 143, на которое опирается нажимная втулка 144, на которую опирается пружина 126. За счет обеспечения этой плавно действующей опоры требуются только небольшие осевые усилия, чтобы поворачивать задающий дозу барабан 117 назад в нулевое положение, когда делают инъекцию заданной дозы. Это решение заменяет использование изображаемой на фиг.1 возвратной пружины 36. Подшипник изображен как радиальный подшипник, но также может использоваться и осевой подшипник.
Формула изобретения
1. Инъекционное устройство, содержащее корпус, в котором шток поршня с резьбой с первым шагом выполнен без возможности поворота, но с возможностью направляемого перемещения в продольном направлении, гайку, зацепляющую резьбу штока поршня, причем указанная гайка выполнена с возможностью перемещения винтовым движением по резьбовому штоку поршня от определенного положения в корпусе, чтобы задавать дозу, и отжимания назад в указанное определенное положение, перемещая собой шток поршня для осуществления инъекции заданной дозы, задающий дозу барабан, выполненный с возможностью во время задания дозы перемещения винтовым движением в наружном направлении в корпусе по резьбе со вторым шагом, который больше указанного первого шага, отличающееся тем, что обеспечено съемное соединение, соединяющее задающий дозу барабан с инъекционной кнопкой для поворота указанной кнопки и подъема ее от конца корпуса во время задания дозы и отсоединяющее задающий дозу барабан от инъекционной кнопки при нажатии этой кнопки для инъекции дозы, между инъекционной кнопкой и гайкой обеспечен редуктор, имеющий зубчатые колеса и зубчатые рейки в постоянном зацеплении, причем редуктор выполнен с возможностью передачи поворота инъекционной кнопки непосредственно на гайку и передачи осевого перемещения инъекционной кнопки относительно корпуса на гайку с передаточным числом, соответствующим отношению указанного второго и первого шагов.
2. Устройство по п.1, отличающееся тем, что редуктор содержит, по меньшей мере, одно зубчатое колесо, установленное на соединителе, который выступает из редуктора и выполнен с возможностью смещения в продольном направлении без возможности поворота относительно указанного редуктора и выполнен заодно с гайкой, первую зубчатую рейку, выполненную заодно с первым элементом редуктора, при этом указанный элемент выполнен с возможностью поворота, но без возможности продольного смещения относительно корпуса, и второй элемент, на котором установлена вторая зубчатая рейка, выступающая из указанного редуктора, выполненная с возможностью продольного смещения, но без возможности поворота относительно указанного первого элемента, и соединенная с инъекционной кнопкой, чтобы следовать продольным перемещениям указанной кнопки, при этом, по меньшей мере, одно зубчатое колесо выполнено с возможностью зацепления первой и второй зубчатых реек соответственно и его размеры обеспечивают зубчатую передачу, при которой продольное перемещение второй зубчатой рейки преобразуют в продольное перемещение соединителя с передаточным числом для указанных продольных перемещений второй зубчатой рейки и соединителя относительно корпуса, причем указанное передаточное число соответствует отношению указанного второго шага и указанного первого шага.
3. Устройство по п.2, отличающееся тем, что зубчатая передача между перемещениями инъекционной кнопки и гайки имеет передаточное число 2:1, получаемое одним и тем же зубчатым колесом, зацепляющим и первую и вторую зубчатые рейки.
4. Устройство по любому из пп.1, 2 или 3, отличающееся тем, что шток поршня имеет стопор для перемещения гайки по резьбе указанного штока поршня.
РИСУНКИ
|
|