|
|
(21), (22) Заявка: 2004106727/15, 02.03.2004
(24) Дата начала отсчета срока действия патента:
02.03.2004
(43) Дата публикации заявки: 10.08.2005
(45) Опубликовано: 27.02.2006
(56) Список документов, цитированных в отчете о поиске:
RU 2095087 С1, 10.11.1997. RU 2058156 C1, 20.04.1996. RU 2092191 C1, 10.10.1997. GB 2189232 A, 21.10.1987. US 5225158 A, 06.07.1993.
Адрес для переписки:
199106, Санкт-Петербург, ул. Гаванская, 18, кв.36, В.П. Фоканову
|
(72) Автор(ы):
Фоканов Валерий Петрович (RU), Шалларь Александр Владимирович (RU)
(73) Патентообладатель(и):
Фоканов Валерий Петрович (RU), Шалларь Александр Владимирович (RU)
|
(54) УСТРОЙСТВО ДЛЯ ОБЕЗЗАРАЖИВАНИЯ И ДЕЗОДОРАЦИИ ВОЗДУХА И ПОВЕРХНОСТЕЙ ПОМЕЩЕНИЙ
(57) Реферат:
Изобретение относится к области медицинской техники и предназначено для уничтожения микроорганизмов любого вида, в том числе бактерий, вирусов, включая споровые формы, плесени, дрожжевых, и иной микрофлоры. Изобретение может применяться также во всех помещениях, в которых необходима микробиологическая чистота. Устройство для обеззараживания и дезодорации воздуха и поверхностей помещений состоит из корпуса, бактерицидной лампы, излучающей спектр ртути, в том числе 254 нм и 185 нм, противоозонного каталитического фильтра, вентилятора и блоков управления и электропитания, причем в устройстве выбран режим работы вентилятора, удовлетворяющий формуле: L=(dm)3·n·(sf·pf)/(sv·pv). Технический результат заключается в создании устройства для эффективного обеззараживания и дезодорации воздуха и поверхностей в помещениях в присутствии людей, в котором были бы применены в закрытом корпусе озонообразующие УФ лампы и два взаимосвязанных элемента: противоозонный каталитический фильтр (ПКФ) с большим газодинамическим сопротивлением и высоконапорный осевой вентилятор. Применяемый вентилятор должен иметь (по паспорту) напор не менее 150 Па и расход не менее 50 куб.м/час, причем такой вентилятор предлагается использовать в режиме, который обеспечивал бы оптимальный процесс обеззараживания и к тому же значительно (на порядок) увеличивал бы срок службы вентилятора. 5 з.п.ф-лы, 1 ил. 
Изобретение относится к области медицинской техники и предназначено для уничтожения микроорганизмов любого вида, в том числе бактерий, вирусов, включая споровые формы, плесени, дрожжевых, и иной микрофлоры. Изобретение может применяться также во всех помещениях, в которых необходима микробиологическая чистота (в пищевой промышленности, на предприятиях, производящих микроэлектронику, в хранилищах денег, а также любых помещениях, в которых находятся люди).
Известно устройство, содержащее в закрытом корпусе некоторое число бактерицидных ламп, вентиляторы и газодинамические элементы для формирования воздушного потока через устройство. Число ламп определено эмпирической формулой (патент РФ № 2058156, A 61 L 9/20, опубл. 20.04.96).
Недостатком этого решения является то, что в нем не отражена особенность устройства при использовании озонообразующих ламп, а именно не предусмотрены меры по снижению концентрации озона в воздухе помещения вне устройства. Это приводит к значительному уменьшению времени использования устройства в присутствии людей, так как при его работе образуется повышенная концентрация озона в воздухе помещения.
Известно устройство – фотоозонатор для стерилизации и дезодорации воздуха и помещений, содержащее в закрытом корпусе озонообразующую УФ лампу, вентилятор, реакционный объем для воздушно-озоновой смеси и деструктор озона, установленный между реакционным объемом и выходом устройства (патент РФ № 2095087, A 61 L 9/015, опубл. 10.11.97).
Недостатком указанного устройства является наличие реакционного объема, который сильно снижает производительность устройства, но при этом, как следует из теории и практики газодинамических устройств, не повышает эффективности обеззараживания воздуха.
В основу предлагаемого изобретения положена задача создания устройства для эффективного обеззараживания и дезодорации воздуха и поверхностей в помещениях в присутствии людей, в котором были бы применены в закрытом корпусе озонообразующие УФ лампы и два взаимосвязанных элемента: противоозонный каталитический фильтр (ПКФ) с большим газодинамическим сопротивлением и высоконапорный осевой вентилятор. Применяемый вентилятор должен иметь (по паспорту) напор не менее 150 Па и расход не менее 50 куб.м/час. Причем такой вентилятор предлагается использовать в режиме, который обеспечивал бы оптимальный процесс обеззараживания и к тому же значительно (на порядок) увеличивал бы срок службы вентилятора.
Вышеуказанный технический результат достигается за счет того, что в устройстве для обеззараживания и дезодорации воздуха и поверхностей в помещениях, состоящем из корпуса, бактерицидной лампы, излучающей спектральные линии ртути, в том числе 254 нм и 185 нм, противоозонного каталитического фильтра, вентилятора и других частей, электропитание осевого высоконапорного вентилятора выполнено таким образом, чтобы обеспечивался режим работы устройства, удовлетворяющий формуле:
L=(dm)3·n·(sf·pf)/(sv·pv),
где L – расход воздуха через устройство, куб.м/сек;
dm – диаметр круга, площадь которого равна площади проходного сечения вентилятора, м;
n – число оборотов вентилятора, сек-1;
sf – площадь противоозонного каталитического фильтра, кв.м;
pf – перепад давления на противоозонном каталитическом фильтре, Па;
sv – площадь вентилятора, кв.м;
pv – напор вентилятора, Па,
при этом значение величины sf/sv=7÷10.
Поперечное сечение корпуса может быть выполнено прямоугольным или круглым. Противоозонный каталитический фильтр может быть выполнен перекрывающим сечение корпуса и имеющим специальный механизм фиксации в корпусе и выемки из него. Вентилятор может быть высоконапорным осевым. Другими частями устройства являются: блок питания лампы, блок питания вентилятора, пульт управления, входные и выходные жалюзи, антипылевой фильтр. Элементы устройства расположены в направлении потока воздуха в следующем порядке: входные жалюзи, антипылевой фильтр, бактерицидная озонообразующая лампа, противоозонный каталитический фильтр, высоконапорный осевой вентилятор, выходные жалюзи. Выходные жалюзи направлены под углом к оси вентилятора.
Для расширения области применения устройства к устройству прилагается сменный воздушный фильтр с таким же высоким газодинамическим сопротивлением, как у ПКФ. Замена противоозонного каталитического фильтра на сменный воздушный фильтр при работе устройства в отсутствии людей повышает эффективность обработки за счет повышении концентрации озона в помещении.
Для решения поставленной задачи нужно выполнить два взаимосвязанных условия. С одной стороны, время прохода воздуха вдоль бактерицидной лампы должно быть достаточным для того, чтобы обеспечить достаточную величину дезинфицирующей дозы. Воздух должен находиться внутри устройства определенное время. С другой стороны, время обработки помещения при помощи устройства до заданной степени микробиологической чистоты должно быть минимальным. Например, при использовании в устройстве безозонной бактерицидной лампы количество бактерий типа “золотистый стафилококк” в прошедшем воздухе уменьшится примерно в десять раз, если время пребывания воздуха в устройстве составит одну секунду. С другой стороны, эксперимент показал, чтобы на 80% уменьшилась количество “золотистого стафилококка” в обрабатываемом помещении, время обработки должно составлять t=3(V/Q)час, где V – объем помещения, куб. м., Q – производительность устройства, (куб.м)/час. Для V=50, Q=20 время обработки составляет 7,5 часов. Предлагаемое устройство с озонообразующей бактерицидной лампой внутри, эффективность которой благодаря совместному воздействию УФ облучения и озона в 5-7 раз выше, позволяет уменьшить время пребывания воздуха в устройстве и, соответственно, время обработки помещения в 5-7 раз, то есть до одного часа.
Однако концентрация озона внутри устройства уже за минуты работы значительно превышает предельно допустимую концентрацию озона в воздухе в присутствии людей. Чтобы увеличить микробиологическую чистоту помещений, не подвергая риску здоровье людей, на выходе устройства ставится противоозонный каталитический фильтр. Чем больше газодинамическое сопротивление фильтра, тем выше его противоозоновая эффективность. При эффективности снижения концентрации озона на выходе фильтра более чем в пять раз сопротивление противоозонного каталитического фильтра может составить величину более 100 Па.
Для преодоления сопротивления противоозонного каталитического фильтра вентилятор должен быть высоконапорным, а для оптимальной конструкции устройства – осевым. Частота питающего напряжения таких вентиляторов может быть 400 Гц. Величины напора и расхода таких вентиляторов могут превышать те, которые требуются для устройства. Гарантированный срок службы таких вентиляторов может составлять единицы (меньше пяти) тысяч часов. Величины напора и расхода вентилятора можно уменьшить, то есть сделать такими, которые необходимы для оптимального режима работы устройства, за счет специального выбора электропитания. Добавочное преимущество применения специального электропитания – увеличение ресурса вентилятора в несколько раз. По данным для выборки из пяти работающих устройств ресурс вентилятора увеличивается на порядок.
Поперечное сечение корпуса может быть выполнено прямоугольным или круглым, так как это не влияет существенно на работу устройства, но влияет на потребительские свойства и выгоду производства этих устройств.
Противоозонный каталитический фильтр выполнен перекрывающим сечение корпуса и имеющим специальный механизм фиксации и выемки. Первое требование очевидно. Второе требование позволяет более эффективно проводить обработку помещения в отсутствии людей, произведя замену противоозонного каталитического фильтра на обычный воздушный, имеющий такое же газодинамическое сопротивление. При этом время пребывания воздуха в устройстве сохраняется, а концентрация озона в воздухе помещения повышается. В результате повышается эффективность обработки помещения в отсутствии людей.
Порядок расположения элементов в устройстве определяется функцией элемента. Выходные жалюзи расположены под углом к оси вентилятора для уменьшения влияния стены помещения, на которой установлено устройство на расход воздуха через устройство.
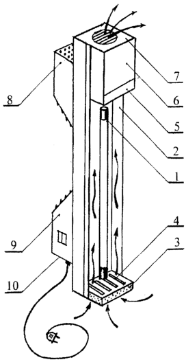
Схема установки и принцип действия представлены на чертеже. Озонообразующая бактерицидная лампа (1) установлена в защитном корпусе (2). Через светозащитные жалюзи (3) и антипылевой фильтр (4) воздух протягивается вдоль лампы (1) через противоозонный каталитический фильтр (5) с помощью вентилятора, расположенного внутри короба (6). Струя обеззараженного воздуха с малым содержанием озона выходит через направляющие жалюзи (7). Блок питания лампы и управления работой устройства (8) и блок питания вентилятора (9) могут быть смонтированы в отдельных корпусах, как на чертеже, или в одном корпусе. Рядом с сетевым проводом может располагаться держатель предохранителя (10).
Устройство работает следующим образом. Устройство (чертеже) включается в электросеть 220 В; 50 Гц через таймер. В течение времени работы устройства происходит эффективное обеззараживание помещения: обеззараживание воздуха прямым воздействием линий 254 нм и 185 нм и синергическим эффектом совместного губительного действия на микроорганизмы УФ облучения и озона – внутри корпуса устройства (чертеже), а также действием озона на воздух и поверхности вне устройства. Бактерицидное действие озона вне устройства распространяется на все поверхности – стены, пол, потолок, оборудование. Последнее обстоятельство очень важно с точки зрения сохранения полученного эффекта. При работе устройства в этом режиме постоянного включения присутствие людей в помещении запрещается. В некоторый момент времени таймер отключает устройство.
В присутствии людей в помещении устройство работает в периодическом режиме, который может обеспечивать таймер.
Пример использования формулы изобретения для устройства обеззараживания помещений объемом до 100 куб.м.
Геометрия установки выбрана из следующих критериев: интенсивность УФ излучения, время в зоне облучения, эффективность наработки озона. В рассматриваемом случае сечение устройства S=1,2 кв.дм, длина 4,6 дм. В качестве обеззараживающего элемента используется озонообразующая лампа ДРБ-40. Скорость воздушного потока внутри устройства V=0,5 м/сек. Эта величина выбрана с учетом бактерицидной мощности лампы ДРБ-40 и синергического эффекта взаимодействия УФ облучения и озона. Необходимый напор P=p·V2/2=0.0015=1,9 дин/кв.см=0,2 Па/кв.см. Общий напор равен Р·S=24 Па. На последнем этапе создания прибора была разработана конструкция фильтра и подобран газодинамический режим. Решалась комплексная задача: преодолеть сопротивление фильтра и получить необходимую скорость 0,5 м/сек. Среди известных прямоточных вентиляторов отечественного производства эту задачу решают только вентиляторы серии ЭВ. Однако, как выше отмечено, они имеют ограниченный ресурс. Увеличение ресурса вентилятора достигнуто выбором такой модификации ЭВ, которая позволяет решить поставленную задачу при пониженных значениях параметров электропитания вентилятора: частоты и величины напряжения питания. Выбор вентилятора ЭВ-1,4-3660 со следующими параметрами: величина и частота питающего напряжения 220 В и 400 Гц, соответственно, частота вращения 170 об/сек, напор 320 Па. Регулировкой частоты и амплитуды, при одновременном измерении расхода воздуха манометром Пито получаем: напряжение 150 В при частоте вращения 100 Гц.
В результате имеем:
– эквивалентный диаметр вентилятора dm=0,016 м;
– эквивалентная площадь вентилятора Sv=8·10-4 м2;
– площадь противоозонного фильтра S=1,2·10-2 м2;
– перепад давления на фильтре pf=164 Па;
– напор вентилятора pv=188 Па.
Подставив эти значения в заявленную формулу, получим величину расхода воздуха через устройство равным 20,4 м3/час.
Таким образом, для приведенного в заявке математического выражения достигается заявленный технический результат – обеспечивается оптимальный процесс обеззараживания. Увеличение срока службы вентилятора достигается за счет снижения в 1,7 раза числа оборотов вентилятора в единицу времени вследствие выбора режима его работы.
Формула изобретения
1. Устройство для обеззараживания и дезодорации воздуха и поверхностей помещений, состоящее из корпуса, бактерицидной лампы, излучающей спектр ртути, в том числе 254 нм и 185 нм, противоозонного каталитического фильтра, вентилятора и блоков управления и электропитания, отличающееся тем, что в нем выбран режим работы вентилятора, удовлетворяющий формуле:
L=(dm)3·n·(sf·pf)/(sv·pv),
где L – расход воздуха через устройство,м3/с;
dm – диаметр круга, площадь которого равна площади проходного сечения вентилятора, м;
n – число оборотов вентилятора, с-1;
sf – площадь противоозонного каталитического фильтра, м2;
pf – перепад давления на противоозонном каталитическом фильтре, Па;
sv – площадь проходного сечения вентилятора, м2;
pv – напор вентилятора, Па,
при этом значение величины sf/sv=7÷10.
2. Устройство по п.1, отличающееся тем, что сечение корпуса прямоугольное или круглое.
3. Устройство по п.1, отличающееся тем, что противоозонный каталитический фильтр выполнен перекрывающим сечение корпуса и имеющим механизм фиксации и выемки из корпуса.
4. Устройство по п.1, отличающееся тем, что вентилятор выполнен высоконапорным осевым.
5. Устройство по п.1, отличающееся тем, что его элементы расположены в направлении потока воздуха в следующем порядке: входные жалюзи, антипылевой фильтр, бактерицидная озонообразующая лампа, противоозоновый каталитический фильтр, высоконапорный осевой вентилятор, выходные жалюзи.
6. Устройство по п.1, отличающееся тем, что выходные жалюзи установлены под углом к оси вентилятора.
РИСУНКИ
MM4A – Досрочное прекращение действия патента СССР или патента Российской Федерации на изобретение из-за неуплаты в установленный срок пошлины за поддержание патента в силе
Дата прекращения действия патента: 03.03.2008
Извещение опубликовано: 10.06.2009 БИ: 16/2009
NF4A Восстановление действия патента СССР или патента Российской Федерации на изобретение
Дата, с которой действие патента восстановлено: 20.10.2009
Извещение опубликовано: 20.10.2009 БИ: 29/2009
|
|